




Gebiet der ErfindungField of the invention
Die vorliegende Erfindung bezieht sich allgemein auf das Gebiet der Telekommunikation. Im Speziellen betrifft die Erfindung die Steuerung des zentralen Knotens von Kundennetzen in seinen Betriebszuständen in Abhängigkeit von Aktivitätsinformationen mit dem Ziel der Steigerung der Energieeffizienz.The present invention relates generally to the field of telecommunications. In particular, the invention relates to the control of the central node of customer networks in its operating states as a function of activity information with the aim of increasing energy efficiency.
Hintergrund der ErfindungBackground of the invention
Der Energieverbrauch von Systemen der Informations- und Telekommunikationstechnologie steigt weltweit zur Zeit stark an. Insbesondere die Kundennetze tragen dazu sehr stark bei, da deren aktive Netzelemente sehr weit im Feld verteilt sind und sich dementsprechend durch eine große Anzahl und Heterogenität auszeichnen.The energy consumption of information and telecommunication technology systems is currently increasing worldwide. In particular, the customer networks contribute to this very strongly, since their active network elements are very widely distributed in the field and are therefore characterized by a large number and heterogeneity.
Vor diesem Hintergrund liefert das Verfahren und die Anordnung entsprechend der vorliegenden Erfindungsbeschreibung eine Möglichkeit, den Energiebedarf in Privatkundennetzen gegenüber dem gegenwärtigen Stand der Technik signifikant zu senken. Es leistet damit einen Beitrag zu einer ökologischeren IT-Struktur (Green IT), welche insgesamt zu einer verbesserten CO2-Bilanz führt.Against this background, the method and the arrangement according to the present invention description provides a possibility to significantly reduce the energy consumption in private customer networks compared to the current state of the art. It thus contributes to a greener IT structure (Green IT), which leads to an improved CO2 balance overall.
Stand der TechnikState of the art
Derzeitige Heimnetze verfügen über Zentralelemente, sogenannte Home Gateways (HGW), die einerseits über eine Anschlussleitungsverbindung mit dem Telekommunikationsnetz des Betreibers verbunden sind und andererseits im Heimnetz unterschiedlichen Geräten einen Anschluss bieten: Dazu zählen Rechner, Telefon(e) und NAS (Network Attached Storage) oder Set-Top-Boxen (STB) für IPTV ebenso wie Laptops, Tablet-PCs oder Smartphones. Diese Geräte können über leitungsgebundene, wie auch über Funkverbindungen an das HGW angeschlossen sein.
Es wird üblicherweise vorausgesetzt, dass das HGW immer eingeschaltet sein muss und entweder gar keinen Standby-Modus beinhaltet oder – falls doch vorhanden – dieser nicht genutzt werden kann, da der Dauerbetrieb des HGW vorausgesetzt wird – um z. B. eingehende VoIP-Anrufe entgegennehmen zu können. Hier wird von der Prämisse ausgegangen, dass Telefonie in naher Zukunft nur noch über Breitbandnetze abgewickelt wird und nicht über ein separates Telefonnetz, das parallel zum Breitbandnetz betrieben wird.It is usually assumed that the HGW must always be turned on and either does not include a standby mode or - if it does exist - this can not be used, since the continuous operation of the HGW is required -. B. to be able to receive incoming VoIP calls. This is based on the premise that in the near future telephony will only be handled via broadband networks and not via a separate telephone network that runs parallel to the broadband network.
Da das HGW ein zentrales Netzelement ist, wird es darüber hinaus auch zunehmend in weitere Steuerungen mit einbezogen, die nicht originär der Telekommunikationswelt zuzuordnen sind, wie z. B. zur Heimautomation, die u. a. die Steuerung von Heizungen, Fensterläden usw. beinhalten kann. Auch dieses wird als Argument verwendet, das HGW immer eingeschaltet zu lassen. Jedoch gibt es derzeit einerseits eine Vielzahl von Heimnetzen, die ausschließlich der Telekommunikation dienen (und keine Heimautomatisierung mit unterstützen) und andererseits benötigen nicht alle Heimautomatisierungsfunktionen permanent ein HGW im Normalbetriebszustand.Since the HGW is a central network element, it is also increasingly included in other controls that are not originally assigned to the telecommunications world, such. B. for home automation, the u. a. may include the control of heaters, shutters, etc. Again, this is used as an argument to keep the HGW always on. However, on the one hand, there are currently a variety of home networks dedicated exclusively to telecommunications (and not supporting home automation), and on the other hand, not all home automation functions permanently require a HGW in normal mode.
Da derzeit HGWs aus den genannten Gründen nicht in einen energiesparenden Zustand versetzt werden (können), verbraucht das HGW unabhängig von der wirklichen Aktivität dauernd – und zum Teil unnötig – die Energie, die es im vollen Betriebszustand benötigt, auch wenn z. B. zu Nachtzeiten keine Aktivität zu beobachten ist.Since currently HGWs for the above reasons are not put into an energy-saving state (can), the HGW consumes regardless of the actual activity continuously - and sometimes unnecessary - the energy that it needs in full operating condition, even if z. B. no activity is observed at night.
Überblick über die Erfindung:Overview of the invention:
Die vorliegende Erfindungsbeschreibung hat das Ziel, den oben beschriebenen momentanen Stand der Technik mit geeigneten Verfahren signifikant zu verbessern, so dass es möglich wird, den Betriebszustand eines Home-Gateways entsprechend der vorliegenden Rahmenbedingungen adaptiv zu gestalten.The present invention description has the aim of significantly improving the above-described current state of the art with suitable methods, so that it becomes possible to adapt the operating state of a home gateway according to the prevailing conditions.
Gelegentlich wird auch der Normalbetriebsmodus als „Standby”-Modus bezeichnet, nämlich dann, wenn das HGW eingeschaltet ist, jedoch keine Datenübertragung erfolgt. Dieses ist hier ausdrücklich nicht gemeint – dies entspräche in der vorliegenden Nomenklatur dem „Normalbetriebsmodus”, aber ohne tatsächlichem Verkehr. Beim Standby-Betrieb werden nicht aktive Ports deaktiviert, die Übertragungsraten reduziert, – soweit vorhanden – Lüfter und Kühler heruntergefahren sowie ggf. WLAN-Schnittstellen deaktiviert. So können z. B. geringere Übertragungs-Frequenzen oder Übertragungsraten gewählt werden, indem von 1 GBit/s auf 100 MBit/s oder 10 Mbit/s im Heimnetzwerk heruntergeschaltet wird, ähnliche Ansätze können auch im DSL-Netzwerk verfolgt werden. Es ist auch denkbar die Ports vollständig abzuschalten bzw. bestimmte Pakete nicht weiterzuleiten, die keine hohe Relevanz haben bzw. nicht zum Aufwecken eines Gerätes führen.Occasionally, the normal operating mode is referred to as a "standby" mode, namely, when the HGW is turned on, but no data transmission takes place. This is explicitly not meant here - this would correspond in the present nomenclature to the "normal operating mode", but without actual traffic. In standby mode, non-active ports are deactivated, the transmission rates are reduced, - if available - the fans and coolers are shut down and, if necessary, WLAN interfaces deactivated. So z. For example, lower transmission frequencies or transmission rates can be selected by switching from 1 Gbps to 100 Mbps or 10 Mbps in the home network, similar approaches can also be followed in the DSL network. It is also conceivable to completely switch off the ports or not to forward certain packets which have no high relevance or do not lead to the waking up of a device.
Im Einzelnen handelt es sich um Verfahren zur Steuerung des Energieverbrauchs eines Home Gateways (HGW), der eine Verbindung zwischen einem lokalen Netzwerk, insbesondere einem Heimnetzwerk (LAN, WLAN, Bluetooth etc.), und einem Telekommunikationsnetzwerk eines Netzwerkbetreibers herstellt, wobei das Home Gateway in einen Standby Betrieb schaltbar ist, um weniger Energie zu verbrauchen. Das HGW weist eine Auswerte- und Steuereinheit auf, die das Umschalten zwischen Standby und Normal-Betrieb vornimmt. Das Verfahren erlaubt das Umschalten auf der Basis von unterschiedlichen Ansätzen. In detail, there are methods for controlling the energy consumption of a home gateway (HGW), which establishes a connection between a local network, in particular a home network (LAN, WLAN, Bluetooth, etc.), and a telecommunications network of a network operator, the home gateway switchable to standby mode to consume less energy. The HGW has an evaluation and control unit, which performs the switching between standby and normal operation. The method allows switching based on different approaches.
So erfolgt ein Überwachen von voreingestellten, statischen Zeiträumen, dynamischen Bewegungsprofilen von Endnutzern und/oder Netzwerkaktivitäten in den angeschlossenen Netzwerken, um den Standby Betrieb anzuschalten. Hierbei werden Uhrzeit und/oder Datum berücksichtigt und/oder die Entfernung vom Endnutzer vom HGW. Dies kann z. B. durch die Verbindung eines mobilen Endgerätes, wie einem Smartphone, mit dem HGW bestimmt werden. Sollte z. B. das Smartphone eine WLAN-Verbindung zum HGW aufbauen, so befindet sich der Endnutzer in der Umgebung, wodurch vom Standby-Betrieb in den Normalbetrieb geschaltet wird.Thus, preset preset static periods, dynamic motion profiles of end users, and / or network activities in the connected networks are monitored to turn on standby. The time and / or date are taken into account and / or the distance from the end user to the HGW. This can be z. B. be determined by the connection of a mobile device, such as a smartphone, with the HGW. Should z. B. the smartphone to establish a wireless connection to the HGW, so is the end user in the area, which is switched from standby mode to normal operation.
Auf der gleichen Basis kann ein Umschalten in den Normal-Betrieb erfolgen.On the same basis, a switch to normal operation can take place.
Ferner können Netzwerkaktivitäten in den angeschlossenen Netzwerken überprüft werden, wobei beim Überschreiten oder Unterschreiten einer bestimmten Menge an Daten über einen bestimmten Zeitraum in den Normal-Betrieb oder den Standby-Betrieb geschaltet wird. Hierbei können z. B. Megabyte pro Minute ausgewertet werden. Ebenfalls ist es denkbar, die maximale Bandbreite des aktuellen Netzwerkmodus als Grenzwert zu bestimmen. Sollte z. B. eine 10-Mbit/s-Netzwerkgeschwindigkeit ausreichen, um die Daten ausreichend schnell zu übertragen, so wird dieser Modus beibehalten. Sollte hingegen eine höhere Geschwindigkeit notwendig sein, da die maximale Netzwerkgeschwindigkeit ausgenutzt wird, so kann entsprechend hochgeschaltet werden.Furthermore, network activities in the connected networks can be checked, whereby when exceeding or falling below a certain amount of data over a certain period in the normal mode or the standby mode is switched. This z. B. megabytes per minute are evaluated. It is also conceivable to determine the maximum bandwidth of the current network mode as the limit value. Should z. For example, if a 10 Mbps network speed is sufficient to transmit the data fast enough, this mode is maintained. If, on the other hand, a higher speed is necessary, since the maximum network speed is utilized, then it can be switched up accordingly.
In einer weiteren vorteilhaften Ausführungsform wird durch einen Prioritätsmechanismus erkannt, ob wichtige Ereignisse im Netzwerk auftreten, insbesondere der Verbindungsaubau durch VoIP, um dann vom Standby-Betrieb in den Normalbetrieb zu schalten. So werden im Standby-Betrieb durch die Auswerte- und Steuereinheit alle Schnittstellen des Home Gateways überprüft, um im Falle eines VoIP-Verbindungsaufbaus durch eine SIP-invite-Nachricht in den Normalbetrieb zu schalten.In a further advantageous embodiment, it is detected by a priority mechanism whether important events occur in the network, in particular the Verbindungsaubau by VoIP, and then switch from standby mode to normal operation. Thus, all interfaces of the home gateway are checked in standby mode by the evaluation and control unit to switch in the case of a VoIP connection setup by a SIP-invite message in normal operation.
Ein weiterer Bestandteil der Erfindung ist eine Vorrichtung, die das entsprechende Verfahren umsetzt.Another component of the invention is a device that implements the corresponding method.
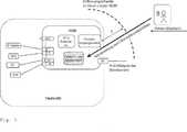
Das HGW wird somit mit einer Standby-Funktionalität und einer Auswerte- und Steuereinheit ausgestattet. Diese Auswerte- und Steuereinheit (
Wird durch die Auswerte- und Steuereinheit weder im Heimnetz noch in Richtung des Betreibernetzes (kommend oder gehend) über eine bestimmte Zeit keine Aktivität beobachtet, wird das HGW in den Standby-Modus geschaltet. Dazu werden in der vorliegenden Erfindung sogenannte „Standby-Trigger” genutzt.If no activity is observed by the evaluation and control unit neither in the home network nor in the direction of the operator network (incoming or outgoing) for a certain time, the HGW is switched to standby mode. For this purpose, so-called "standby triggers" are used in the present invention.
Zur Umschaltung vom Standby- in den Normal-Modus werden sogenannte „WakeUp-Trigger” verwendet. Das bedeutet, dass die Auswerte- und Steuereinheit des HGW Aktivitäten entweder im Heimnetz oder in Richtung des Betreibernetzes (kommend oder gehend), erkennt, so dass das HGW in den Normalbetriebsmodus geschaltet werden kann.To switch from standby mode to normal mode, so-called "wakeup triggers" are used. This means that the evaluation and control unit of the HGW recognizes activities either in the home network or in the direction of the operator network (incoming or outgoing), so that the HGW can be switched to the normal operating mode.
Als „Standby-Trigger” dienen folgende statische und dynamische Ereignisse und Kriterien:The following static and dynamic events and criteria serve as "standby triggers":
StatischStatic
DynamischDynamic
GemischtMixed
DynamischDynamic
GemischtMixed
Zusätzlich wird für den Wechsel vom Standby- in den Normalmodus (Aufwecken) ein Prioritätsmechanismus definiert. Dieser Prioritätsmechanismus bestimmt, welche Ereignisse in welcher Gewichtung zu einem Aufwecken führen
Eine weitere Eigenschaft der Auswerte- und Steuereinheit ist es, den jeweiligen Zustand, dessen Dauer und den resultierenden Leistungs- und Energieverbrauch zu speichern und so für spätere Auswertungen (und ggf. darauf basierende Optimierungen) zugänglich zu halten.A further property of the evaluation and control unit is to store the respective state, its duration and the resulting power and energy consumption and thus to keep it accessible for later evaluations (and possibly optimizations based thereon).
Eine Steuerung entsprechend der vorliegenden Erfindung verspricht dem momentanen Stand der Technik, d. h. dem dauerhaften ,Always-On'-Zustand von Home-Gateways, Abhilfe zu schaffen und eine intelligente Steuerung so zu ermöglichen, dass das HGW in einen Standby-Modus geschaltet werden kann, wenn keine Aktivität vorliegt und entsprechend wieder rechtzeitig in den normalen Betriebszustand geschaltet wird, wenn die beobachtete oder prädizierte Aktivität dies erfordert. Der Standby-Modus, der in dem hier vorgeschlagenen Verfahren genutzt werden soll, beinhaltet das Abschalten von Komponenten des HGW für den Fall, dass kein Kommunikationsbedarf besteht – so dass eine signifikante Energieeinsparung im Standby-Modus gegenüber dem Normalbetriebszustand erzielt werden kann. Die Aktivität kann dabei sowohl reine Kommunikationsbedürfnisse (z. B. Telefonie, Breitbandkommunikation) umfassen, als auch Kommunikationsbedarfe, die durch Heimautomation entstehen (z. B. Signalisierung zur Heizungssteuerung). Es wird erwartet, dass dadurch eine signifikante Steigerung der Energieeffizienz von HGWs erzielt werden kann, die insbesondere in der volkswirtschaftlichen Gesamtsicht – auf Grund der Vielzahl der HGWs in typischen Telekommunikationsnetzen – zu erheblichen Einsparungen bei Energie und damit einhergehend beim CO2-Ausstoß führt.A controller in accordance with the present invention promises to remedy the current state of the art, ie, the persistent, always-on state of home gateways, and to provide intelligent control so that the HGW can be switched to a standby mode if there is no activity and is accordingly switched back to the normal operating state in due time, if the observed or predicted activity requires it. The standby mode to be used in the method proposed here involves switching off components of the HGW in the event that there is no need for communication - so that a significant energy saving in the standby mode compared to the normal operating state can be achieved. The activity may include both pure communication needs (eg telephony, broadband communication) as well as communication needs arising from home automation (eg signaling to the heating control). It is expected that this will lead to a significant increase in the energy efficiency of HGWs Especially in the overall economic perspective - due to the large number of HGWs in typical telecommunications networks - leads to significant savings in energy and concomitant CO2 emissions.
Figuren BeschreibungFigures Description
Detaillierte Beschreibung von Ausführungsformen:Detailed description of embodiments:
Entsprechend der zuvor diskutierten Steuermöglichkeiten
Werden Ausführungsbeispiele angegeben und Details dazu diskutiert.Embodiments are given and details discussed.
In
Es lassen sich, ähnlich einer kalenderorientierten Darstellung, die Zeiten für den Moduswechsel einstellen. Dabei gibt es folgende Optionen:
In
Ist demgegenüber im umgekehrten Fall das HGW in einem Standby-Modus und der Nutzer außerhalb des Kreises um den HGW-Standort mit dem Radius d, so wird bei unterschreiten der Distanz d zwischen HGW und Standort des Nutzers (des Mobiltelefons) dieses an Auswerte- und Steuereinheit signalisiert und das HGW in den Normalbetriebsmodus geschaltet („Wakup-Trigger”). Dieses Verhalten ist in
Unter Aktivitätsdetektion wird verstanden, dass die Auswerte- und Steuereinheit permanent im Standby-Modus die einzelnen Schnittstellen (Interfaces, IF) des HGWs „beobachtet” und das HGW immer dann in den Normalbetriebszustand schaltet, wenn sich dort irgendeine Aktivität ankündigt. Dies ist insbesondere dann wichtig, wenn sich das HGW durch die zeitliche Steuerung in einem Standby-Modus befindet, jedoch während dieser Zeit z. B. ein Notruf abgesetzt werden soll oder eine wichtige Nachricht eingeht.Activity detection is understood to mean that the evaluation and control unit permanently "monitors" the individual interfaces (IFs) of the HGW in standby mode and always switches the HGW to the normal operating state whenever any activity announces itself there. This is particularly important if the HGW is in a standby mode due to the timing, but during this time z. B. an emergency call is to be placed or receives an important message.
Die Pfeile in
Als Standby-Trigger können hier verschiedene Kriterien genutzt werden: Bei einer Verkehrsmengenvorgabe wird dann wieder in den Standby-Modus zurückgeschaltet, wenn die beobachtete Verkehrsmenge unter eine bestimmte vorgebbare Schwelle fällt (für eine ebenso vorgebbare Zeitdauer); bei einer reinen zeitlichen Vorgabe kann eine vorgebbare Zeitdauer abgewartet werden – unabhängig von der Verkehrsmenge –, bis wieder in den Standby-Modus geschaltet wird.As a standby trigger, various criteria can be used here: In the case of a traffic volume specification, the system switches back to standby mode when the observed traffic volume drops below a certain predefinable threshold (for an equally specifiable period of time); in the case of a purely temporal specification, a predefinable period of time can be waited for - irrespective of the traffic volume - until it is switched back to standby mode.
Als Beispiel sei ein Voice-over-IP-Telefonat angeführt, das während einer vorkonfigurierten Standby-Phase (also z. B. zwischen 23:00 Uhr und 06:00) geführt werden soll: Handelt es sich um einen externen kommenden Anruf, so wird ein entsprechend des genutzten Kommunikationsprotokolls definiertes Signalisierungskommando dem eigentlich Anruf vorausgehen – hier z. B. eine SIP-invite-Nachricht. Diese Nachricht wird von der Auswerte- und Steuereinheit auf der NT-Schnittstelle detektiert und entsprechend das HGW in den Normalbetriebsmodus geschaltet. Soll das Voice-over-IP-Telefonat aus dem Heimnetz gehend initiiert werden, werden sich vorstehend beschriebene Vorgänge sinngemäß genauso abspielen – mit der Änderung, dass die SIP-invite-Nachricht von der Auswerte- und Steuereinheit auf der dem Voice-over-IP-Telefon zugeordneten Schnittstelle (IF) des HGW detektiert wird und nicht auf der NT-Schnittstelle. Nach Beendigung dieses Telefonats wird dann wieder in den Standby-Modus geschaltet.An example of this is a voice-over-IP call that is to be made during a preconfigured standby phase (ie between 11:00 pm and 6:00 am): If it is an external incoming call, then a defined according to the communication protocol used signaling command the actual call precede - here z. B. a SIP-invite message. This message is detected by the evaluation and control unit on the NT interface and switched according to the HGW in the normal operation mode. If the voice-over-IP call is initiated from the home network, the processes described above will play the same way - with the change that the SIP-invite message from the evaluation and control unit on the voice-over IP Telephone associated interface (IF) of the HGW is detected and not on the NT interface. After completing this call, it will switch back to standby mode.
Vorstehend voneinander isoliert beschriebene Steuerungsmöglichkeiten können in der Praxis auch in Kombination auftreten. Ein Beispiel, bei dem eine Kombination aus zeitbasierter Steuerung und Aktivitätsdetektion auftritt, ist mit dem Voice-over-IP-Beispiel bereits angegeben worden.Control options described above isolated from each other can in practice also occur in combination. An example in which a combination of time-based control and activity detection occurs has already been indicated with the Voice-over-IP example.
Wenn diese Kombinationen auftreten, entscheidet eine einstellbare Priorisierung über die tatsächliche Ausführung der Aktion.When these combinations occur, an adjustable prioritization decides the actual execution of the action.
Beispielsweise kann eine Kombination aus zeit- und ereignisbasierter Steuerung dann auftreten, wenn sich ein Nutzer in einer vordefinierten Standby-Zeit (also z. B. nachts) seinem HGW nähert und damit den zugehörigen Wakeup-Trigger aktiviert: Hier ist es denkbar, dass ein Nutzertyp diesem Trigger Priorität gegenüber dem vordefinierten zeitlichen Standby-Modus einräumt, während ein anderer Nutzertyp dieses ggf. nicht möchte: Deshalb ist diese Prioritätsfrage als einstellbar vorzusehen. Es erscheint jedoch sinnvoll, dass der Aktivitätsdetektion gegenüber einer vordefinierten Standby-Phase in jedem Fall Priorität eingeräumt wird, um den im Beispiel des Voice-over-IP-Telefonats oben beschriebenen Aufweck-Mechanismus nutzen zu können.For example, a combination of time-based and event-based control can occur when a user approaches his HGW in a predefined standby time (eg, at night) and thus activates the associated wakeup trigger: Here, it is conceivable that a User type grants this trigger priority over the predefined time standby mode, while another type of user may not want it: Therefore this priority question should be set as adjustable. However, it makes sense that prior to a predefined standby phase, priority is always given to activity detection in order to be able to use the wake-up mechanism described above in the example of the voice-over-IP telephone call.
| Application Number | Priority Date | Filing Date | Title | 
|---|---|---|---|
| DE201210101908DE102012101908A1 (en) | 2012-03-07 | 2012-03-07 | Method for controlling power consumption of home gateway, involves monitoring preset static periods, dynamic motion profiles of end-users and/or network activity in connected network to turn to normal operation | 
| Application Number | Priority Date | Filing Date | Title | 
|---|---|---|---|
| DE201210101908DE102012101908A1 (en) | 2012-03-07 | 2012-03-07 | Method for controlling power consumption of home gateway, involves monitoring preset static periods, dynamic motion profiles of end-users and/or network activity in connected network to turn to normal operation | 
| Publication Number | Publication Date | 
|---|---|
| DE102012101908A1true DE102012101908A1 (en) | 2013-09-12 | 
| Application Number | Title | Priority Date | Filing Date | 
|---|---|---|---|
| DE201210101908CeasedDE102012101908A1 (en) | 2012-03-07 | 2012-03-07 | Method for controlling power consumption of home gateway, involves monitoring preset static periods, dynamic motion profiles of end-users and/or network activity in connected network to turn to normal operation | 
| Country | Link | 
|---|---|
| DE (1) | DE102012101908A1 (en) | 
| Publication number | Priority date | Publication date | Assignee | Title | 
|---|---|---|---|---|
| US20040254683A1 (en)* | 2003-03-07 | 2004-12-16 | Samsung Electronics Co., Ltd. | Home gateway system with power management function | 
| US20080139117A1 (en)* | 2006-12-11 | 2008-06-12 | General Instrument Corporation | Power Control Apparatus and Method for Supporting Seamless Mobility | 
| US20090147696A1 (en)* | 2007-12-10 | 2009-06-11 | Electronics And Telecommunications Research Institute | Apparatus and control method for energy-aware home gateway based on network | 
| WO2011012543A1 (en)* | 2009-07-27 | 2011-02-03 | Sagem Communications Sas | Method for placing in standby and waking up a residential gateway according to programmable time slots | 
| Publication number | Priority date | Publication date | Assignee | Title | 
|---|---|---|---|---|
| US20040254683A1 (en)* | 2003-03-07 | 2004-12-16 | Samsung Electronics Co., Ltd. | Home gateway system with power management function | 
| US20080139117A1 (en)* | 2006-12-11 | 2008-06-12 | General Instrument Corporation | Power Control Apparatus and Method for Supporting Seamless Mobility | 
| US20090147696A1 (en)* | 2007-12-10 | 2009-06-11 | Electronics And Telecommunications Research Institute | Apparatus and control method for energy-aware home gateway based on network | 
| WO2011012543A1 (en)* | 2009-07-27 | 2011-02-03 | Sagem Communications Sas | Method for placing in standby and waking up a residential gateway according to programmable time slots | 
| Publication | Publication Date | Title | 
|---|---|---|
| EP2540030B1 (en) | Method for activating a network component of a vehicle network system | |
| DE102009052955B4 (en) | Base station, method for operating a base station and communication system | |
| DE112006001227B4 (en) | Method and apparatus for network node power management | |
| DE69925606T2 (en) | METHOD FOR SAVING ENERGY IN A MOBILE RADIO DEVICE WITH EXISTING CONNECTION | |
| DE102004047658B3 (en) | Control method for regulating data communication between at least two processors in a multi-processor system, e.g. a mobile phone, whereby the second processor can detect whether a first processor is communication active or not | |
| WO2010034436A1 (en) | Method, telephone, telecommunication system and device for controlling power consumption of a telephone | |
| DE102007060522B4 (en) | Maintaining communication between network nodes experiencing a packet attack | |
| DE102004040405B4 (en) | Method for optimizing the energy consumption of a station in a wireless network | |
| WO2013026857A1 (en) | Method for transmitting messages in a communications network | |
| DE102005040027B4 (en) | Method for controlling communication with mobile stations via a wireless network | |
| DE102011116987B4 (en) | Merging data for Bluetooth devices | |
| EP2002677B1 (en) | Method for power-saving operation of communication terminals in a communication system | |
| DE102012101908A1 (en) | Method for controlling power consumption of home gateway, involves monitoring preset static periods, dynamic motion profiles of end-users and/or network activity in connected network to turn to normal operation | |
| DE602004011662T2 (en) | Network with bridged connections connectable subnets | |
| EP2938004B1 (en) | Headend and system and method for failure-tolerant connection of broadband power line end devices by means of this headend to a backbone network | |
| DE102005027387A1 (en) | Network connection switch unit and network station | |
| EP2874350B1 (en) | Dynamic allocation and virtualisation of network resources in the access network and in customer networks | |
| DE102005046253A1 (en) | Controlling, monitoring service quality in wireless network involves controlling, monitoring quality of service for services relating to non-running connections and/or connection establishment in addition to services on running connections | |
| EP2563075B1 (en) | Method and device for load-adaptive, comprehensive control of operational states in convergent fixed and mobile wireless networks with the aim of improving energy efficiency | |
| EP2798897B1 (en) | Communications system with control of access to a shared communications medium | |
| EP1836865A1 (en) | Method and system for transmitting data in mobile network nodes | |
| EP2512069B1 (en) | Building communication system with at least one door station and at least two residence stations | |
| DE19722478C2 (en) | communication system | |
| EP3598802B1 (en) | Method for operating a wireless mesh network with a controlling entity | |
| EP2684348B1 (en) | Method for operating a dsl line in a telecommunication network, access node device and connection device | 
| Date | Code | Title | Description | 
|---|---|---|---|
| R012 | Request for examination validly filed | ||
| R016 | Response to examination communication | ||
| R002 | Refusal decision in examination/registration proceedings | ||
| R003 | Refusal decision now final | Effective date:20130625 |