




Die Erfindung betrifft ein Verfahren zur Steuerung einer einen Drehratensensor aufweisenden elektronischen Vorrichtung sowie eine elektronische Vorrichtung.The invention relates to a method for controlling an electronic device having a rotation rate sensor and to an electronic device.
Stand der TechnikState of the art
Die Übersetzung
Die Übersetzung
Es ist bekannt, in elektronischen Vorrichtungen wie beispielsweise Mobiltelefonen oder Multimediaabspieleinrichtungen Beschleunigungssensoren zur Steuerung der elektronischen Vorrichtung einzusetzen. Hierbei detektieren die Beschleunigungssensoren eine lineare Bewegung der elektronischen Vorrichtung und geben ein entsprechendes Signal aus, welches dann zur Steuerung der Vorrichtung oder eines auf der Vorrichtung ausgeführten Computerprogramms verwendet wird. Beispielsweise kann im Fall einer Multimediaabspieleinrichtung mittels eines Rechtsschwenkens der Vorrichtung das nachfolgende bzw. mittels eines Linksschwenkens der Vorrichtung das vorherige Lied abgespielt werden. Eine Steuerung der Vorrichtung bzw. des Computerprogramms kann somit erreicht werden, ohne dass zusätzlich Tasten an der Vorrichtung gedrückt werden müssen. Diese Form der Steuerung wird auch „shake control“ genannt.It is known to use acceleration sensors in electronic devices such as mobile phones or multimedia players to control the electronic device. The acceleration sensors detect a linear movement of the electronic device and output a corresponding signal, which is then used to control the device or a computer program running on the device. For example, in the case of a multimedia player, the next song can be played by swiveling the device to the right or the previous song can be played by swiveling the device to the left. The device or the computer program can thus be controlled without having to press additional buttons on the device. This form of control is also called "shake control".
Nachteilig hieran ist aber, dass für die Bewegungsdetektion Beschleunigungssensoren benutzt werden, welche gegenüber linearen Bewegungen empfindlich sind, jedoch nicht gegenüber Rotationsbewegungen. Rotationsbewegungen sind aber bevorzugt solche Bewegungen, welche ein Handgelenk eines Nutzers beim Schwenken ausführt. Dadurch ist die Empfindlichkeit in den bekannten Vorrichtungen erheblich reduziert.The disadvantage of this, however, is that acceleration sensors are used to detect movement, which are sensitive to linear movements but not to rotational movements. Rotational movements are preferably those movements that a user's wrist makes when swiveling. This significantly reduces the sensitivity in the known devices.
Offenbarung der Erfindungdisclosure of the invention
Die der Erfindung zugrunde liegende Aufgabe kann daher darin gesehen werden, ein Verfahren zur Steuerung einer elektronischen Vorrichtung und eine elektronische Vorrichtung anzugeben, welche gegenüber den bekannten Vorrichtungen eine erhöhte Empfindlichkeit aufweist, insbesondere bei einer Rotationsbewegung.The object underlying the invention can therefore be seen in specifying a method for controlling an electronic device and an electronic device which has an increased sensitivity compared to the known devices, in particular during a rotational movement.
Die Aufgabe wird mittels eines Verfahrens zur Steuerung einer einen Drehratensensor aufweisenden elektronischen Vorrichtung nach dem Anspruch 1 sowie mittels einer elektronischen Vorrichtung nach Anspruch 5 gelöst. Vorteilhafte Ausgestaltungen der Erfindung sind Gegenstand von jeweils abhängigen Unteransprüchen.The object is achieved by means of a method for controlling an electronic device having a rotation rate sensor according to claim 1 and by means of an electronic device according to
Die Erfindung umfasst den Gedanken, dass eine Schwenkbewegung der elektronischen Vorrichtung mittels eines Drehratensensors detektiert wird. Der Drehratensensor erzeugt entsprechend der detektierten Schwenkbewegung ein Schwenksignal. Sobald das Schwenksignal einen ersten Schwellwert überschreitet, wird ein Unterbrechungsanforderungssignal erzeugt und ausgegeben. Es wird signalisiert, ob ein Schwenken der Vorrichtung stattgefunden hat und in welche Richtung die Vorrichtung geschwenkt wurde. Der erste Schwellwert ist bevorzugterweise in dem Drehratensensor abgespeichert, beispielsweise in einer Schwellwertlogikeinrichtung. Insbesondere ist der erste Schwellwert einstellbar. Dadurch, dass der erste Schwellwert sozusagen in dem Drehratensensor integriert ist, ist die Implementierung des Drehratensensors in der elektronischen Vorrichtung besonders vereinfacht.The invention includes the idea that a swivel movement of the electronic device is detected by means of a rotation rate sensor. The rotation rate sensor generates a swivel signal in accordance with the detected swivel movement. As soon as the swivel signal exceeds a first threshold value, an interrupt request signal is generated and output. It signals whether the device has swiveled and in which direction the device has swiveled. The first threshold value is preferably stored in the rotation rate sensor, for example in a threshold logic device. In particular, the first threshold value is adjustable. Because the first threshold value is integrated in the rotation rate sensor, so to speak, the implementation of the rotation rate sensor in the electronic device is particularly simplified.
Im Sinne der Erfindung bedeutet ein Überschreiten eines Schwellwertes, wenn der Absolutwert der Amplitude des Schwenksignals größer als der Absolutwert des Schwellwertes wird.In the sense of the invention, exceeding a threshold value means when the absolute value of the amplitude of the swivel signal becomes greater than the absolute value of the threshold value.
Ein Drehratensensor im Sinne der Erfindung ist insbesondere derart gebildet, eine Rotationsgeschwindigkeit eines Körpers, insbesondere einer elektronischen Vorrichtung, zu messen. Durch eine Integration der Rotationsgeschwindigkeit lässt sich ableiten, um welchen Winkel sich der Körper bzw. die Vorrichtung innerhalb einer bestimmten Zeit gedreht hat. Die Drehraten um die drei Raumachsen werden hierbei als:
Der Drehratensensor misst insofern die Winkelgeschwindigkeit entlang einer Drehachse. Gemäß einer bevorzugten Ausgestaltung der Erfindung kann der Drehratensensor ein mikromechanischer Drehratensensor sein. Hierbei kann insbesondere eine elektronische Auswerteschaltung, beispielsweise eine Schwellwertlogikeinrichtung, und ein MEMS-(Micro-Electro-Mechanical System)-Sensorkern in einem Chip integriert sein. Es kann aber auch vorgesehen sein, dass der MEMS-Sensorkern und die Schwellwertlogikeinrichtung als zwei separate Chips gebildet werden. Ein solcher Drehratensensor kann auch als ein diskreter Sensor bezeichnet werden. Beispielsweise umfasst der Drehratensensor eine anwendungsspezifisch integrierte Schaltung (ASIC, „Application Specific Integrated Circuit“). Eine solche anwendungsspezifisch integrierte Schaltung ist eine elektronische Schaltung, welche als ein integrierter Schaltkreis realisiert ist. Hierbei kann auch vorgesehen sein, dass beispielsweise Mikroprozessoren oder Signalprozessoren integriert sind. Eine solche Schaltung kann auch als ein System-on-a-chip bezeichnet werden.The yaw rate sensor measures the angular velocity along a rotation axis. According to a preferred embodiment of the invention, the yaw rate sensor can be a micromechanical yaw rate sensor. In particular, an electronic evaluation circuit, for example a threshold logic device, and a MEMS (Micro-Electro-Mechanical System) sensor core can be integrated in one chip. However, it can also be provided that the MEMS sensor core and the threshold logic device are formed as two separate chips. Such a yaw rate sensor can also be referred to as a discrete sensor. For example, the yaw rate sensor comprises an application-specific integrated circuit (ASIC). Such an application-specific integrated circuit is an electronic circuit that is implemented as an integrated circuit. It can also be provided that, for example, microprocessors or signal processors are integrated. Such a circuit can also be referred to as a system-on-a-chip.
Wenn nun ein Nutzer die elektronische Vorrichtung schwenkt, beispielsweise nach links oder nach rechts, so wird diese Schwenkbewegung mittels des Drehratensensors detektiert. Der Drehratensensor erzeugt entsprechend der Schwenkbewegung ein Schwenksignal. Das erzeugte Schwenksignal wird bei einer Schwenkbewegung nach rechts ein positives Vorzeichen und bei einer Schwenkbewegung nach links ein negatives Vorzeichen haben, wobei auch der umgekehrte Fall vorgesehen sein kann. Insofern wird zur Ermittlung, in welche Richtung die Vorrichtung geschwenkt wurde, das Vorzeichen des Schwenksignals erfasst.If a user now swivels the electronic device, for example to the left or to the right, this swivel movement is detected by the yaw rate sensor. The yaw rate sensor generates a swivel signal in accordance with the swivel movement. The swivel signal generated will have a positive sign for a swivel movement to the right and a negative sign for a swivel movement to the left, although the opposite case can also be provided. In this respect, the sign of the swivel signal is recorded to determine in which direction the device was swiveled.
Wenn die Vorrichtung geschwenkt wird, wird das Unterbrechungsanforderungssignal erst erzeugt, wenn das Schwenksignal den ersten Schwellwert überschritten hat. Somit wird in vorteilhafter Weise vermieden, dass eine nur kleine Schwenkbewegung, beispielsweise eine unbeabsichtigte Schwenkbewegung, zu einer Steuerung der Vorrichtung führt. Der Schwellwert ist insbesondere einstellbar, so dass unterschiedliche Empfindlichkeiten der Vorrichtung realisiert werden können. Der Schwellwert kann insbesondere ein positives Vorzeichen haben, so dass bei einer Schwenkbewegung nach rechts der positive erste Schwellwert überschritten werden muss, um das Unterbrechungsanforderungssignal zu erzeugen. Der erste Schwellwert kann aber auch ein negatives Vorzeichen haben, so dass das Unterbrechungsanforderungssignal erzeugt wird, wenn die Vorrichtung nach links geschwenkt wird. Es kann hierbei aber auch der umgekehrte Fall vorgesehen sein. Insbesondere kann auch vorgesehen sein, dass der Schwellwert bezüglich einer Linksbewegung unterschiedlich von dem Schwellwert bezüglich einer Rechtsbewegung ist. Hier soll angemerkt sein, dass Schwellwerte für eine Schwenkbewegung um jede der drei Raumachsen vorgesehen sein können, so dass die eben gemachte Ausführung bezüglich einer Links- und einer Rechtsbewegung nur als Beispiel verstanden sein soll.When the device is swiveled, the interruption request signal is only generated when the swivel signal has exceeded the first threshold value. This advantageously prevents a situation in which a small swivel movement, for example an unintentional swivel movement, leads to a control of the device. The threshold value is in particular adjustable so that different sensitivities of the device can be realized. The threshold value can in particular have a positive sign so that in the case of a swivel movement to the right the positive first threshold value must be exceeded in order to generate the interruption request signal. The first threshold value can also have a negative sign so that the interruption request signal is generated when the device is swiveled to the left. However, the opposite case can also be provided here. In particular, it can also be provided that the threshold value with regard to a left movement is different from the threshold value with regard to a right movement. It should be noted here that threshold values can be provided for a swivel movement about each of the three spatial axes, so that the above explanation regarding a left and a right movement should only be understood as an example.
Das Unterbrechungsanforderungssignal, welches über den Signalausgang des Drehratensensors ausgegeben wird, signalisiert der elektronischen Vorrichtung, dass eine Schwenkbewegung stattgefunden hat. In der Regel löst ein Unterbrechungsanforderungssignal eine Unterbrechung (Interrupt) einer Prozessbearbeitung eines Prozessors in der elektronischen Vorrichtung aus. Ein solches Unterbrechungsanforderungssignal kann auch als ein Interrupt Request (IRQ) bezeichnet werden. Bevorzugterweise reagiert der Prozessor dann mit einer Programmumschaltung oder engl. „context switch“ und führt eine Unterbrechungsroutine aus. Insbesondere ist eine Unterbrechungsroutine ein Programm, welches von dem Prozessor ausgeführt wird, wenn der Prozessor durch den Interrupt bzw. das Unterbrechungsanforderungssignal gezwungen wird oder der Prozessor es selbstständig entscheidet, den normalen Programmablauf zu unterbrechen, um das Programm auszuführen. Beispielsweise wird ein Abspielen eines Liedes unterbrochen und bei einer Schwenkbewegung nach rechts das nachfolgende Lied abgespielt bzw. bei einer Schwenkbewegung nach links das vorhergehende Lied abgespielt. Bevorzugterweise umfasst der Signalausgang des Drehratensensors einen oder mehrere Pins.The interrupt request signal, which is output via the signal output of the yaw rate sensor, signals to the electronic device that a swivel movement has taken place. As a rule, an interrupt request signal triggers an interruption of a process processing of a processor in the electronic device. Such an interrupt request signal can also be referred to as an interrupt request (IRQ). The processor then preferably reacts with a program switch or “context switch” and executes an interrupt routine. In particular, an interrupt routine is a program that is executed by the processor when the processor is forced by the interrupt or the interrupt request signal or the processor independently decides to interrupt the normal program flow in order to execute the program. For example, the playback of a song is interrupted and when the rotation movement to the right the next song is played or when the rotation movement to the left the previous song is played. The signal output of the yaw rate sensor preferably comprises one or more pins.
Gemäß einer bevorzugten Ausgestaltung der Erfindung kann vorgesehen sein, dass das Unterbrechungsanforderungssignal, welches ausgegeben wird, wenn das Gerät nach rechts geschwenkt wird, auf einen anderen Signalausgang ausgegeben wird, als das Unterbrechungsanforderungssignal, welches erzeugt wird, wenn eine Linksbewegung detektiert wird. Somit kann die Vorrichtung in vorteilhafter Weise erfassen, in welche Richtung die Vorrichtung geschwenkt wurde. Es kann aber auch vorgesehen sein, dass das Unterbrechungsanforderungssignal über einen Signalausgang ausgegeben wird unabhängig von der Schwenkrichtung und das Vorzeichen des Schwenksignals zur Ermittlung, in welche Richtung die Vorrichtung geschwenkt wurde, aus einem ASIC-Register ausgelesen wird.According to a preferred embodiment of the invention, it can be provided that the interrupt request signal which is output when the device is swiveled to the right is output to a different signal output than the interrupt request signal which is generated when a leftward movement is detected. The device can thus advantageously detect in which direction the device was swiveled. However, it can also be provided that the interrupt request signal is output via a signal output independently of the swivel direction and the sign of the swivel signal is read from an ASIC register to determine in which direction the device was swiveled.
Erfindungsgemäß wird das Unterbrechungsanforderungssignal erzeugt, wenn das Schwenksignal den ersten Schwellwert innerhalb einer vorbestimmten Zeit mindestens zweimal überschreitet. Es wird hier also zweimal ein Schwenken detektiert, bis das Unterbrechungsanforderungssignal erzeugt und ausgegeben wird. Hierdurch wird in vorteilhafter Weise eine Robustheit der Vorrichtung oder des Computerprogramms gesteigert, da selbst eine etwas stärkere Schwenkbewegung eines Nutzers keine Steuerung der Vorrichtung auslöst. Beispielsweise kann eine solche zweimalige Schwenkdetektion auch als ein Doppelklick analog zum Doppelklick einer Computermaus interpretiert werden.According to the invention, the interruption request signal is generated when the swivel signal exceeds the first threshold value at least twice within a predetermined time. Swiveling is therefore detected twice before the interruption request signal is generated and output. This advantageously increases the robustness of the device or the computer program, since even a somewhat stronger swiveling movement by a user does not trigger control of the device. For example, such a double swivel detection can also be interpreted as a double click, analogous to the double click of a computer mouse.
Nach noch einer anderen bevorzugten Ausführungsform der Erfindung kann vorgesehen sein, dass das Unterbrechungsanforderungssignal erzeugt wird, wenn das Schwenksignal innerhalb einer vorbestimmten Zeit einen zweiten Schwellwert und den ersten Schwellwert überschreitet. Bevorzugterweise weist der zweite Schwellwert das entgegengesetzte Vorzeichen von dem ersten Schwellwert auf. Das heißt, wenn der erste Schwellwert ein positives Vorzeichen hat, weist der zweite Schwellwert ein negatives Vorzeichen auf. Somit kann insbesondere ein Ausholen in eine Richtung detektiert werden und ein darauf folgendes Schwenken in die entgegengesetzte Richtung detektiert werden. Ein solches Ausholen wird häufig von einem Nutzer der elektronischen Vorrichtung ausgeführt, wenn er das Gerät zur Steuerung schwenken will. Beispielsweise ist es so auch möglich, ein Bewegungsmuster für eine Steuerung, beispielsweise eine Menüsteuerung, zuzuordnen.According to yet another preferred embodiment of the invention, it can be provided that the interruption request signal is generated when the swivel signal is within a predetermined time exceeds a second threshold value and the first threshold value. Preferably, the second threshold value has the opposite sign to the first threshold value. This means that if the first threshold value has a positive sign, the second threshold value has a negative sign. In particular, a swing in one direction can be detected and a subsequent swivel in the opposite direction can be detected. Such a swing is often carried out by a user of the electronic device when he wants to swivel the device for control. For example, it is also possible to assign a movement pattern for a control, for example a menu control.
Gemäß einer weiteren bevorzugten Ausführungsform der Erfindung umfasst das Schwenksignal ein Achsschwenksignal. Es kann so insbesondere detektiert werden, um welche der drei Raumachsen die elektronische Vorrichtung geschwenkt wurde. Insbesondere wird jede Drehratensensorachse über einen separaten Signalausgang ausgewertet. Beispielsweise kann so eine zweidimensionale Menüsteuerung der elektronischen Vorrichtung oder eines Computerprogramms, welches auf der Vorrichtung ausgeführt wird, realisiert werden. Hierbei kann insbesondere eine horizontale Steuerung des Menüs mittels einer Detektion einer Schwenkbewegung bezüglich einer Drehung um die Hochachse („yaw“) und eine vertikale Steuerung des Menüs mittels einer Detektion der Schwenkbewegung bezüglich der Drehung um die Querachse („pitch“) realisiert werden.According to a further preferred embodiment of the invention, the swivel signal comprises an axis swivel signal. In this way, it can be detected in particular around which of the three spatial axes the electronic device has been swiveled. In particular, each rotation rate sensor axis is evaluated via a separate signal output. For example, a two-dimensional menu control of the electronic device or a computer program that is executed on the device can be implemented in this way. In particular, a horizontal control of the menu can be implemented by detecting a swivel movement with respect to a rotation around the vertical axis (“yaw”) and a vertical control of the menu can be implemented by detecting the swivel movement with respect to the rotation around the transverse axis (“pitch”).
Gemäß einer beispielhaften Ausführungsform der Erfindung kann weiterhin vorgesehen sein, dass die elektronische Vorrichtung einen Beschleunigungssensor umfasst. Somit können in vorteilhafter Weise auch lineare Bewegungen der Vorrichtung besonders empfindlich detektiert werden.According to an exemplary embodiment of the invention, it can further be provided that the electronic device comprises an acceleration sensor. In this way, linear movements of the device can also be detected particularly sensitively.
Die elektronische Vorrichtung kann insbesondere ein Mobiltelefon, eine Multimediaabspieleinrichtung, eine Digitalkamera, ein mobiler Computer, beispielsweise ein Netbook oder ein Notebook oder eine Multimediaabspieleinrichtung sein.The electronic device can in particular be a mobile phone, a multimedia player, a digital camera, a mobile computer, for example a netbook or a notebook, or a multimedia player.
Die Erfindung wird im Folgenden anhand von bevorzugten Ausführungsformen unter Bezugnahme auf Figuren näher erläutert. Hierbei zeigen
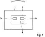
Der in
Das Unterbrechungsanforderungssignal wird dann über den Signalausgang 3a ausgegeben werden, was in dem in
Die
Somit führen unterschiedliche Schwenkbewegungen zu einer Ausgabe von Unterbrechungsanforderungssignalen an unterschiedlichen Signalausgängen 3a, 3b des Drehratensensors 2, wodurch in vorteilhafter Weise die Richtung der Schwenkbewegung erfasst und ausgewertet werden kann. Es wird also zur Richtungsdetektion insbesondere das Vorzeichen der Amplitude des Schwenksignals erfasst und ausgewertet. In einer nicht gezeigten Ausführungsform kann das Vorzeichen auch direkt aus der Schwellwertlogikeinrichtung 4 ausgelesen werden. Somit kann in vorteilhafter Weise nur ein Signalausgang zur Ausgabe des Unterbrechungsanforderungssignals verwendet werden. Beispielsweise kann in einer nicht gezeigten Ausführungsform die Schwellwertlogikeinrichtung 4 ein ASIC-Register umfassen, aus welchem das Vorzeichen abgelesen wird.Thus, different swivel movements lead to an output of interrupt request signals at
Wenn der erste Schwellwert ein positives Vorzeichen hat, kann er auch als eine so genannte positive High-Rate-Schwelle bezeichnet werden. Wenn der erste Schwellwert ein negatives Vorzeichen hat, kann er insbesondere auch als eine so genannte Low-Rate-Schwelle bezeichnet werden. Hierbei kann dann insbesondere das jeweilige Unterbrechungsanforderungssignal ein High- bzw. ein Low-digitales Signal sein. Bevorzugterweise sind die High-Rate-Schwelle und die Low-Rate-Schwelle, welche Schwellwerte bezüglich der Rechts- respektive der Linksbewegung sind, in der Schwellwertlogikeinrichtung 4 gespeichert. Insbesondere können die Absolutwerte der beiden Schwellen unterschiedlich sein.If the first threshold value has a positive sign, it can also be referred to as a so-called positive high-rate threshold. If the first threshold value has a negative sign, it can also be referred to as a so-called low-rate threshold. In this case, the respective interruption request signal can then be a high or a low digital signal. Preferably, the high-rate threshold and the low-rate threshold, which are threshold values with respect to the right or left movement, are stored in the
Üblicherweise kommt es beim Schwenken der elektronischen Vorrichtung 1 dazu, dass der Nutzer zunächst nur kurz in eine Richtung ausholt, um dann aber in die entgegengesetzte Richtung zu schwenken. Beispielsweise kann ein Nutzer zunächst kurz nach links ausholen, um dann nach rechts zu schwenken. Der Verlauf eines entsprechenden Schwenksignals ist in dem Graphen der
In
Die vorgenannten Ausführungsbeispiele wurden beschrieben mit einem Drehratensensor bzw. einem Beschleunigungssensor. Es kann aber auch vorgesehen sein, dass die elektronische Vorrichtung 1, 7, das Mobiltelefon 12 oder die Multimediaabspieleinrichtung 16 mehrere Drehratensensoren und/oder mehrere Beschleunigungssensoren aufweisen. Insbesondere kann vorgesehen sein, dass für jede Raumachse ein Drehratensensor bzw. ein Beschleunigungssensor vorgesehen ist.The aforementioned embodiments were described with a rotation rate sensor or an acceleration sensor. However, it can also be provided that the
| Application Number | Priority Date | Filing Date | Title |
|---|---|---|---|
| DE102010029734.8ADE102010029734B4 (en) | 2010-06-07 | 2010-06-07 | Method for controlling an electronic device and electronic device |
| Application Number | Priority Date | Filing Date | Title |
|---|---|---|---|
| DE102010029734.8ADE102010029734B4 (en) | 2010-06-07 | 2010-06-07 | Method for controlling an electronic device and electronic device |
| Publication Number | Publication Date |
|---|---|
| DE102010029734A1 DE102010029734A1 (en) | 2011-12-08 |
| DE102010029734B4true DE102010029734B4 (en) | 2024-11-21 |
| Application Number | Title | Priority Date | Filing Date |
|---|---|---|---|
| DE102010029734.8AActiveDE102010029734B4 (en) | 2010-06-07 | 2010-06-07 | Method for controlling an electronic device and electronic device |
| Country | Link |
|---|---|
| DE (1) | DE102010029734B4 (en) |
| Publication number | Priority date | Publication date | Assignee | Title |
|---|---|---|---|---|
| EP0886769B1 (en) | 1995-06-07 | 2002-08-28 | Spacetec Imc Corporation | Detecting a sensor signal with a drive and a measuring phase |
| EP1290672B1 (en) | 2000-04-05 | 2008-01-02 | David Y. Feinstein | View navigation and magnification of a hand-held device with a display |
| Publication number | Priority date | Publication date | Assignee | Title |
|---|---|---|---|---|
| EP0886769B1 (en) | 1995-06-07 | 2002-08-28 | Spacetec Imc Corporation | Detecting a sensor signal with a drive and a measuring phase |
| DE69623339T2 (en) | 1995-06-07 | 2003-04-17 | Spacetec Imc Corp Lowell | Determination of a sensor signal with driver phase and measuring phase |
| EP1290672B1 (en) | 2000-04-05 | 2008-01-02 | David Y. Feinstein | View navigation and magnification of a hand-held device with a display |
| DE60132201T2 (en) | 2000-04-05 | 2008-12-24 | David Y. Houston Feinstein | VIEW NAVIGATION AND MAGNIFICATION OF A PORTABLE UNIT WITH A DISPLAY |
| Publication number | Publication date |
|---|---|
| DE102010029734A1 (en) | 2011-12-08 |
| Publication | Publication Date | Title |
|---|---|---|
| EP2755876B1 (en) | Method for estimating tire parameters for a vehicle | |
| DE102016118680A1 (en) | Situation-dependent cancellation of a wake-up word to activate a voice command input | |
| DE112014000771B4 (en) | Method and device for determining a state of motion of a vehicle by means of a rotation rate sensor | |
| DE102015012232A1 (en) | Robotic system collaborating with humans | |
| DE102015102113A1 (en) | PROCEDURE FOR WARNING A USER ABOUT A DISTANCE BETWEEN EYES OF THE USER AND A SCREEN | |
| DE102013100080A1 (en) | An information processing apparatus and method for switching the password input mode | |
| DE102012005800A1 (en) | input device | |
| DE102014012563A1 (en) | Proximity sensor system for a robot | |
| WO2014095558A2 (en) | Method for providing a gnss signal | |
| DE112018001528T5 (en) | CONTROL DEVICE FOR TRACKING SYSTEM, VEHICLE AND TRACKING CONTROL METHOD | |
| EP1836681B1 (en) | Method for determining the displacement of a vehicle | |
| DE102015217449B3 (en) | Sensor combination method for determining the orientation of an object | |
| EP2318893A1 (en) | Method for providing a pilot warning signal for a pilot of an aircraft, computer program product, and warning device | |
| WO2004045911A1 (en) | Image generator | |
| DE102014008808A1 (en) | Method for securing the transmission of safety-related camera images | |
| DE102010029734B4 (en) | Method for controlling an electronic device and electronic device | |
| WO2020052874A1 (en) | Calibration system and calibration method for a detection device of a vehicle | |
| DE112016007128T5 (en) | Display control device, moving object display device and display method | |
| DE102011075067A1 (en) | Touch screen unit used in portable electronic device such as mobile phone, has approach detection unit which detects selection area on surface of touch panel unit, that is located under object | |
| DE102022209393A1 (en) | Method for evaluating sensor data, computing unit for evaluating sensor data and sensor system | |
| DE102012224109A1 (en) | Device for locating a vehicle | |
| DE102016014308A1 (en) | Safety input signal generating switching device and numerical control system | |
| DE102020208283A1 (en) | Method for calibrating an orientation sensor device of an earphone and earphone system | |
| WO2015024035A2 (en) | Method for detecting errors for at least one image processing system | |
| EP1015960A1 (en) | Computer control system |
| Date | Code | Title | Description |
|---|---|---|---|
| R012 | Request for examination validly filed | ||
| R079 | Amendment of ipc main class | Free format text:PREVIOUS MAIN CLASS: G01P0015080000 Ipc:G06F0003010000 | |
| R016 | Response to examination communication | ||
| R018 | Grant decision by examination section/examining division | ||
| R084 | Declaration of willingness to licence | ||
| R020 | Patent grant now final |