Movatterモバイル変換


[0]ホーム

URL:


DE102007035178A1 - Tomography system i.e. x-ray computer tomography system, for imaging analysis of patient, has patient table movable by motor e.g. electric linear motor, or hand parallel to system axis, where motor is designed as driving device for table - Google Patents

Tomography system i.e. x-ray computer tomography system, for imaging analysis of patient, has patient table movable by motor e.g. electric linear motor, or hand parallel to system axis, where motor is designed as driving device for table
Download PDF

Info

Publication number
DE102007035178A1
DE102007035178A1DE102007035178ADE102007035178ADE102007035178A1DE 102007035178 A1DE102007035178 A1DE 102007035178A1DE 102007035178 ADE102007035178 ADE 102007035178ADE 102007035178 ADE102007035178 ADE 102007035178ADE 102007035178 A1DE102007035178 A1DE 102007035178A1
Authority
DE
Germany
Prior art keywords
patient table
tomography system
motor
patient
linear motor
Prior art date
Legal status (The legal status is an assumption and is not a legal conclusion. Google has not performed a legal analysis and makes no representation as to the accuracy of the status listed.)
Ceased
Application number
DE102007035178A
Other languages
German (de)
Inventor
Peter Aulbach
Current Assignee (The listed assignees may be inaccurate. Google has not performed a legal analysis and makes no representation or warranty as to the accuracy of the list.)
Siemens Corp
Original Assignee
Siemens Corp
Priority date (The priority date is an assumption and is not a legal conclusion. Google has not performed a legal analysis and makes no representation as to the accuracy of the date listed.)
Filing date
Publication date
Application filed by Siemens CorpfiledCriticalSiemens Corp
Priority to DE102007035178ApriorityCriticalpatent/DE102007035178A1/en
Publication of DE102007035178A1publicationCriticalpatent/DE102007035178A1/en
Ceasedlegal-statusCriticalCurrent

Links

Classifications

Landscapes

Abstract

Translated fromGerman

DieErfindung betrifft ein Tomographiesystem (1) zur bildgebenden Untersuchungeines Patienten (5), mit einem Aufnahmesystem (2) und einem verschiebbarenPatiententisch (4), wobei der Patiententisch (4), bevorzugt wahlweise,motorisch oder von Hand parallel zu einer Systemachse (6) und relativzu einer Tragvorrichtung (3) bewegbar an der Tragvorrichtung (3) gelagertist, wobei als Antriebsvorrichtung mindestens ein elektrischer Linearmotor(= Wanderfeldmaschine) (8, 9) angeordnet ist.TheThe invention relates to a tomography system (1) for imaginga patient (5), with a recording system (2) and a displaceablePatient table (4), wherein the patient table (4), preferably optionally,motor or by hand parallel to a system axis (6) and relativeto a support device (3) movably mounted on the support device (3)is, as a drive device at least one electric linear motor(= Traveling field machine) (8, 9) is arranged.

Figure 00000001
Figure 00000001

Description

Translated fromGerman

DieErfindung betrifft ein Tomographiesystem zur bildgebenden Untersuchungeines Patienten, mit einem Aufnahmesystem und einem verschiebbarenPatiententisch, wobei der Patiententisch, bevorzugt wahlweise, motorischoder von Hand parallel zu einer Systemachse und relativ zu einerTragvorrichtung bewegbar an der Tragvorrichtung gelagert ist.TheThe invention relates to a tomography system for imagingof a patient, with a recording system and a sliding onePatient table, wherein the patient table, preferably optionally, motoror by hand parallel to a system axis and relative to oneCarrying device is movably mounted on the support device.

DerAntrieb solcher Patiententische erfolgt heute durch elektromechanischeKomponenten, wie Elektromotore, Kupplungen, Getriebe, Spindelantrieb,Riemenantrieb, Umlenkrollen, Kugellagerung etc. Diese Baugruppensind miteinander verbunden und es addieren sich die Nachgiebigkeitender einzelnen Elemente. Am Ende ist der Antrieb schwergängig, nachgiebig,weist Schlupf auf oder er hat nur begrenzte dynamische Fähigkeiten.Of theDrive such patient tables is done today by electromechanicalComponents such as electric motors, clutches, gears, spindle drive,Belt drive, pulleys, ball bearings, etc. These assembliesare connected with each other and the compliances add upthe individual elements. In the end, the drive is stiff, yielding,Has slippage or he has limited dynamic abilities.

DieLagerung dieser Tische ist dabei verschleißanfällig und wartungsintensiv,da hierfüreine Kugel- oder Rollenlagerung verwendet wird. Damit eine solcheLagerung ein geringes mechanisches Spiel aufweist, wird die Lagerungmechanisch stark vorgespannt, wodurch allerdings die für den Beginn einerBewegung zu überwindendenKräfterelativ groß werden.TheStorage of these tables is susceptible to wear and maintenance,because of thisa ball or roller bearing is used. With it oneStorage has a slight mechanical play, the storagemechanically strongly biased, which, however, for the beginning of aTo overcome movementpersonnelbe relatively large.

Diesist besonders dann nachteilig, wenn ein Patiententisch beispielsweisebei einer Durchleuchtung manuell vom Bedienpersonal bewegt werden soll.Hierbei hat der Bediener besonders mit dem Stick-Slip-Effekt zukämpfen.Hierdurch lassen sich nur sehr schwer kurze präzise Bewegungen feinfühlig vomBedienungspersonal durchführen.Thisis particularly disadvantageous when a patient table, for exampleshould be manually moved by the operator during a fluoroscopy.Here, the operator has especially with the stick-slip effect toofight.As a result, only very short, short, precise movements can be sensitively controlledOperate the operating personnel.

Einweiteres Problem besteht bei schnellen, kurz aufeinander folgendenScans, wie Interventions-Spiralen für Neuro-Perfusions-Messungen,in der Fachsprache auch „HelicalShuttle" oder umgangssprachlich „Zick-zack"-Spiralen genannt.Hierbei kommt es auf eine hohe Präzision der Bewegung besondersim Umkehrpunkt an. Jedoch genau in diesem Umkehrpunkten addiertsich das Spiel der einzelnen Komponenten, was zu unpräzisen Bewegungenund somit zu Bildqualitätsproblemenbei dem oben genannten Scan-Mode führt.OneAnother problem is fast, short successiveScans, such as intervention spirals for neuro-perfusion measurements,in the jargon also "HelicalShuttle "or colloquially called" zig-zag "spirals.Here it depends on a high precision of movement especiallyat the turning point. However, exactly in this reversal points addedthe game of individual components, resulting in imprecise movementsand thus image quality problemsin the above scan mode leads.

Esist Aufgabe der Erfindung ein Tomographiesystem mit einem Patiententischzur Verfügung zustellen, welcher gegenüberdem Stand der Technik eine verbesserte Führung und eine präzisiereBewegung ermöglicht.ItThe object of the invention is a tomography system with a patient tableavailable tooput, which oppositeIn the prior art, an improved guidance and a preciseMovement allows.

DieseAufgabe wird durch die Merkmale der unabhängigen Patentansprüche gelöst. Vorteilhafte Weiterbildungender Erfindung sind Gegenstand untergeordneter Ansprüche.TheseThe object is solved by the features of the independent claims. Advantageous developmentsThe invention are subject matter of the subordinate claims.

DerErfinder hat erkannt, dass sich das oben geschilderte Problem durchden Einsatz einer Wandfeldmaschine löst, wobei insbesondere derzusätzlicheEinsatz einer Lagerung durch ein Luftpolster eine besonders präzise undleichtgängigeBewegung ermöglicht.Mit Hilfe eines solchen elektrischen Linearmotors lässt sicheine sehr hohe Dynamik der Bewegung bei gleichzeitig präziser Wegführung erreichen, wobeizusätzlichdurch die Luftpolsterlagerung auch eine nahezu haftreibungsloseBewegungsinitierung möglichist, was insbesondere bei der manuellen Betätigung des Patiententischesvon Vorteil ist. Eingesetzt werden kann ein solcher Patiententischbei allen tomographischen Systemen, bei denen der Patient für einenScan durch ein Messfeld bewegt werden soll, also insbesondere imBereich der Röntgen-Computertomographie,insbesondere auch bei C-Bogensystemen, der Magnetresonanz-Tomographie,der Positronen-Emissions-Tomographie und der Röntgen-Angiographie.Of theInventor has recognized that the problem described abovesolves the use of a wall panel machine, in particular theadditionalUse of a storage by an air cushion a particularly precise andsmoothMovement allows.With the help of such an electric linear motor can beAchieve a very high dynamics of the movement with simultaneous precise routing, whereadditionallyby the air cushion storage and a virtually no-frictionMotion initiation possibleis, especially when manually operating the patient tableis beneficial. Can be used such a patient tablein all tomographic systems where the patient is for oneScan to be moved through a measuring field, ie in particularRange of X-ray computed tomography,especially in C-arm systems, magnetic resonance tomography,positron emission tomography and X-ray angiography.

Entsprechenddem Grundgedanken des Erfinders schlägt dieser ein Tomographiesystemzur bildgebenden Untersuchung eines Patienten, mit einem Aufnahmesystemund einem verschiebbaren Patiententisch vor, wobei der Patiententisch,bevorzugt wahlweise, motorisch oder von Hand parallel zu einer Systemachseund relativ zu einer Tragvorrichtung bewegbar an der Tragvor richtunggelagert ist. Die erfindungsgemäße Verbesserungdieses Patiententisches des Tomographiesystems besteht darin, dassals Antriebsvorrichtung mindestens ein elektrischer Linearmotor,also eine Wanderfeldmaschine, verwendet wird.Correspondingthe basic idea of the inventor suggests this a tomography systemfor imaging examination of a patient with a recording systemand a movable patient table, wherein the patient table,preferably, optionally, by hand or by hand, parallel to a system axisand movable relative to a support device on the Tragvor directionis stored. The improvement according to the inventionthis patient table of the tomography system is thatas drive device at least one electric linear motor,So a traveling field machine is used.

Einsolcher elektrischer Linearmotor weist einen Stator und einen Läufer auf,wobei in einer ersten Ausführungsvarianteder Stator am Tragrahmen und der Läufer am Patiententisch befestigtwerden kann. Der Vorteil einer solchen Ausführung liegt darin, dass dieträge Masseaufgrund des relativ leichten Läufers amzu bewegenden Patiententisch relativ gering bleibt, wobei allerdingsentsprechend elektrische Verbindungen geschaffen werden müssen, dieder Bewegung des Patiententisches folgen.Onesuch linear electric motor has a stator and a rotor,wherein in a first embodimentthe stator is attached to the support frame and the runner to the patient tablecan be. The advantage of such an embodiment is that theinert massdue to the relatively easy runner on theto moving patient table remains relatively low, althoughcorresponding electrical connections must be created, theFollow the movement of the patient table.

Eineandere Ausführungdes erfindungsgemäßen Tomographiesystemsmit einem Patiententisch besteht darin, dass der Läufer amTragrahmen und der Stator am Patiententisch befestigt wird. Hierdurchist es möglich,die elektrischen Verbindungen besonders einfach zu gestalten, dader Läuferrelativ zum Tragrahmen stationärangeordnet ist und sich der Patiententisch mit dem Stator bewegt.Es wird hierdurch zwar erkauft, dass ein etwas höheres Gewicht im Bereich desPatiententisches angeordnet ist, jedoch ist die elektrische Verbindungzum Läufer wesentlichweniger anfällig.Aother designof the tomography system according to the inventionwith a patient table is that the runner onSupport frame and the stator is attached to the patient table. herebyIs it possible,to make the electrical connections very easy becausethe runnerstationary relative to the support frameis arranged and moves the patient table with the stator.It is thereby bought, that a slightly higher weight in the range ofPatient table is arranged, however, is the electrical connectionessential to the runnerless vulnerable.

Beispielhaftkann bei Verwendung eines einzigen Linearmotors, dieser mittig amPatiententisch angeordnet werden, oder falls zwei Linearmotoren verwendetwerden sollen, könnendiese seitlich des Patiententisches angeordnet werden, um diesen möglichstgleichmäßig antreibenzu können.By way of example, when using a zigen linear motor, this center are arranged on the patient table, or if two linear motors are to be used, they can be arranged laterally of the patient table in order to drive this as evenly as possible.

DerErfinder schlägtweiterhin zur reibungsarmen Lagerung des Patiententisches vor, einLuftpolster zwischen Tragvorrichtung und Patiententisch vorzusehen.Vorteilhaft ist hierbei, dass nahezu keine statische Haftreibungmehr entsteht und die Bewegungsinitierung eines derart gelagertenPatiententisches sehr einfach ist, da lediglich die Massenträgheit überwunden werdenmuss und ein so genannter Stick-Slip-Effekt nicht mehr auftritt.Of theInventor proposescontinue for low-friction storage of the patient table before, aProvide air cushion between support and patient table.The advantage here is that almost no static stictionmore arises and the movement initiation of such a storedPatient table is very simple, since only the inertia can be overcomemust and a so-called stick-slip effect no longer occurs.

ZurLuftversorgung kann ein Kompressor vorgesehen werden, welcher Druckluftzur Erzeugung des Luftpolsters im Bereich des Tragrahmens zur Verfügung stellt.Andererseits besteht jedoch auch die Möglichkeit, den Patiententischmit einem Druckluftanschluss zu versehen, der an eine externe Druckluftversorgungangeschlossen werden kann.toAir supply, a compressor can be provided, which compressed airprovides for the production of the air cushion in the region of the support frame.On the other hand, there is also the possibility of the patient tableprovided with a compressed air connection to an external compressed air supplycan be connected.

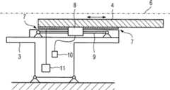
ImFolgenden wird die Erfindung anhand eines bevorzugten Ausführungsbeispielesmit Hilfe der Figuren näherbeschrieben, wobei nur die zum Verständnis der Erfindung notwendigenMerkmale dargestellt sind. Hierbei werden die folgenden Bezugszeichenverwendet:1: Röntgen-Tomographiesystem;2:Gantrygehäuse;3:Tragrahmen;4: Patiententisch;5: Patient;6:Systemachse;7: Luftpolster;8: Läufer;9:Stator;10: Steuerung;11: Kompressor;12:Messfeld.In the following the invention with reference to a preferred embodiment with reference to the figures will be described in more detail, with only the necessary features for understanding the invention features are shown. The following reference numbers are used here: 1 : X-ray tomography system; 2 : Gantry housing; 3 : Supporting frame; 4 : Patient table; 5 : Patient; 6 : System axis; 7 : Air cushion; 8th : Runner; 9 : Stator; 10 : Control; 11 : Compressor; 12 : Measuring field.

Eszeigen im Einzelnen:Itshow in detail:

1 Erfindungsgemäßes Röntgen-Computertomographie-System mit einemPatiententisch, angetrieben mit elektrischem Linearmotor und Luftpolsterlagerung,und 1 Inventive X-ray computed tomography system with a patient table, powered by electric linear motor and air cushion storage, and

2 Detaildarstellungeines luftpolstergelagerten Patiententisches mit Linearmotorantrieb. 2 Detail of an air-cushioned patient table with linear motor drive.

Die1 zeigteinen erfindungsgemäßen Röntgen-Computertomographen1,mit einem Gantrygehäuse2 undeinem Patiententisch4, der auf einem Tragrahmen3 verschiebbarin Richtung der Systemachse6 gelagert ist. Mit Hilfe diesesverschiebbaren Patiententisches4 wird ein Patient5 in eingestrichelt angedeutetes Messfeld12 zur Abtastung geschoben,wobei diese Bewegung sowohl manuell als auch mit Hilfe eines Linearantriebesgeschehen kann.The 1 shows an X-ray computed tomography according to the invention 1 , with a gantry housing 2 and a patient table 4 standing on a support frame 3 displaceable in the direction of the system axis 6 is stored. With the help of this movable patient table 4 becomes a patient 5 in a dashed line indicated measuring field 12 pushed to scan, this movement can be done both manually and by means of a linear drive.

Die2 zeigteine Detaildarstellung der Lagerung des Antriebes eines solchenPatiententisches4 zur Bewegung in Richtung der Systemachse6.Der Patiententisch4 ist mit einem elektrischen Linearmotor,bestehend aus einem Läufer8 undeinem Stator9 gekoppelt, wobei der Läufer8 in dem hiergezeigten Beispiel direkt am Patiententisch befestigt, während derStator am Tragrahmen3 angeordnet ist. Zur Lagerung desPatiententisches4 ist eine Luftpolsterlagerung mit einemLuftpolster7 vorgesehen, die eine möglichst haftreibungsfreie Bewegbarkeit desPatiententisches4 gegenüber dem Tragrahmen3 bewirkt.Die Steuerung des Linearmotors kann über eine handelsübliche Steuerung10 erfolgen.Zur Druckluftversorgung des Luftpolsters7 ist hier ein Kompressor11 vorgesehen,der übereine Leitung mit dem Luftpolster7 verbunden ist.The 2 shows a detailed representation of the storage of the drive of such a patient table 4 to move in the direction of the system axis 6 , The patient table 4 is with a linear electric motor, consisting of a rotor 8th and a stator 9 coupled, the runner 8th in the example shown here attached directly to the patient table, while the stator on the support frame 3 is arranged. For storage of the patient table 4 is an air cushion storage with an air cushion 7 provided that a possible friction-free mobility of the patient table 4 opposite the support frame 3 causes. The control of the linear motor can be controlled by a commercially available controller 10 respectively. For compressed air supply of the air cushion 7 Here is a compressor 11 provided, via a pipe with the air cushion 7 connected is.

DerVorteil einer solchen Ausführungeines Patiententisches mit einer hydrostatischen Luftlagerung undeinem elektrischen Linearantrieb besteht im Wesentlichen aus derWartungsfreiheit, der Reibungs- und Verschleißfreiheit und dem Wegfall so genannterStick-Slip-Effekte, wodurch mit geringsten Handkräften einfeinfühligesVerfahren des Patiententisches, insbesondere bei interventionellenAnwendungen, insbesondere bei fluoroskopischen Anwendungen, ermöglicht wird.Of theAdvantage of such an embodimenta patient table with a hydrostatic air bearing andan electric linear drive consists essentially of theFreedom from maintenance, freedom from friction and wear and the omission of the so-calledStick-slip effects, resulting in the lowest hand forcessensitiveMethod of the patient table, especially in interventionalApplications, especially in fluoroscopic applications, is made possible.

Esversteht sich, dass die vorstehend genannten Merkmale der Erfindungnicht nur in der jeweils angegebenen Kombination, sondern auch in anderenKombinationen oder in Alleinstellung verwendbar sind, ohne den Rahmender Erfindung zu verlassen.Itit is understood that the above features of the inventionnot only in the specified combination, but also in othersCombinations or alone, without the frameto leave the invention.

Claims (8)

Translated fromGerman
Tomographiesystem (1) zur bildgebendenUntersuchung eines Patienten (5), mit einem Aufnahmesystem(2) und einem verschiebbaren Patiententisch (4),wobei der Patiententisch (4), bevorzugt wahlweise, motorischoder von Hand parallel zu einer Systemachse (6) und relativzu einer Tragvorrichtung (3) bewegbar an der Tragvorrichtung(3) gelagert ist,dadurch gekennzeichnet, dass alsAntriebsvorrichtung mindestens ein elektrischer Linearmotor (= Wanderfeldmaschine)(8,9) angeordnet ist.Tomography system ( 1 ) for imaging examination of a patient ( 5 ), with a recording system ( 2 ) and a movable patient table ( 4 ), wherein the patient table ( 4 ), preferably optionally, by motor or by hand parallel to a system axis ( 6 ) and relative to a carrying device ( 3 ) movable on the carrying device ( 3 ) is mounted,characterized in that at least one electric linear motor (= traveling field machine) ( 8th . 9 ) is arranged.Tomographiesystem gemäß dem voranstehenden Patentanspruch1, dadurch gekennzeichnet, dass der Linearmotor einen Stator (9)und einen Läufer(8) aufweist, wobei der Stator (9) am Tragrahmen (3)und der Läufer(8) am Patiententisch (4) befestigt ist.Tomography system according to the preceding patent claim 1, characterized in that the linear motor is a stator ( 9 ) and a runner ( 8th ), wherein the stator ( 9 ) on the support frame ( 3 ) and the runner ( 8th ) at the patient table ( 4 ) is attached.Tomographiesystem gemäß dem voranstehenden Patentanspruch1, dadurch gekennzeichnet, dass der Linearmotor einen Stator (9)und einen Läufer(8) aufweist, wobei der Läufer (8) am Tragrahmen (3)und der Stator (9) am Patiententisch (4) befestigt ist.Tomography system according to the preceding patent claim 1, characterized in that the linear motor is a stator ( 9 ) and a runner ( 8th ), wherein the runner ( 8th ) on the support frame ( 3 ) and the stator ( 9 ) at the patient table ( 4 ) is attached.Tomographiesystem gemäß einem der voranstehendenPatentansprüche1 bis 3, dadurch gekennzeichnet, dass ein mittig angeordneter Linearmotor(8,9) zur Bewegung des Patiententisches (4) vorgesehenist.Tomography system according to one of the preceding dependent claims 1 to 3, characterized in that a centrally arranged linear motor ( 8th . 9 ) for moving the patient table ( 4 ) is provided.Tomographiesystem gemäß einem der voranstehendenPatentansprüche1 bis 3, dadurch gekennzeichnet, dass zwei seitlich angeordneteLinearmotoren (8,9) zur Bewegung des Patiententisches (4)vorgesehen sind.Tomography system according to one of the preceding claims 1 to 3, characterized in that two laterally arranged linear motors ( 8th . 9 ) for moving the patient table ( 4 ) are provided.Tomographiesystem gemäß einem der voranstehendenPatentansprüche1 bis 5, dadurch gekennzeich net, dass zur reibungsarmen Lagerungdes Patiententisches (4) ein Luftpolster (7) zwischen Tragvorrichtung(3) und Patiententisch (4) vorgesehen ist.Tomography system according to one of the preceding claims 1 to 5, characterized in that for low-friction storage of the patient table ( 4 ) an air cushion ( 7 ) between carrying device ( 3 ) and patient table ( 4 ) is provided.Tomographiesystem gemäß dem voranstehenden Patentanspruch6, dadurch gekennzeichnet, dass ein Kompressor (11) vorgesehenist, welcher Druckluft zur Erzeugung des Luftpolsters (7)zwischen Tragrahmen (3) und Patiententisch (4)erzeugt.Tomography system according to the preceding claim 6, characterized in that a compressor ( 11 ) is provided, which compressed air for generating the air cushion ( 7 ) between support frames ( 3 ) and patient table ( 4 ) generated.Tomographiesystem gemäß dem voranstehenden Patentanspruch6, dadurch gekennzeichnet, dass ein Druckluftanschluss an eine externeDruckluftversorgung vorgesehen ist, um Druckluft zur Erzeugung desLuftpolsters (7) bereitzustellen.Tomography system according to the preceding claim 6, characterized in that a compressed air connection to an external compressed air supply is provided to compressed air for generating the air cushion ( 7 ).
DE102007035178A2007-07-272007-07-27Tomography system i.e. x-ray computer tomography system, for imaging analysis of patient, has patient table movable by motor e.g. electric linear motor, or hand parallel to system axis, where motor is designed as driving device for tableCeasedDE102007035178A1 (en)

Priority Applications (1)

Application NumberPriority DateFiling DateTitle
DE102007035178ADE102007035178A1 (en)2007-07-272007-07-27Tomography system i.e. x-ray computer tomography system, for imaging analysis of patient, has patient table movable by motor e.g. electric linear motor, or hand parallel to system axis, where motor is designed as driving device for table

Applications Claiming Priority (1)

Application NumberPriority DateFiling DateTitle
DE102007035178ADE102007035178A1 (en)2007-07-272007-07-27Tomography system i.e. x-ray computer tomography system, for imaging analysis of patient, has patient table movable by motor e.g. electric linear motor, or hand parallel to system axis, where motor is designed as driving device for table

Publications (1)

Publication NumberPublication Date
DE102007035178A1true DE102007035178A1 (en)2009-02-05

Family

ID=40175643

Family Applications (1)

Application NumberTitlePriority DateFiling Date
DE102007035178ACeasedDE102007035178A1 (en)2007-07-272007-07-27Tomography system i.e. x-ray computer tomography system, for imaging analysis of patient, has patient table movable by motor e.g. electric linear motor, or hand parallel to system axis, where motor is designed as driving device for table

Country Status (1)

CountryLink
DE (1)DE102007035178A1 (en)

Cited By (3)

* Cited by examiner, † Cited by third party
Publication numberPriority datePublication dateAssigneeTitle
CN103033847A (en)*2012-12-192013-04-10中国人民解放军第四军医大学Device and method for sliding type multi-layer magnetic induction tomography
DE102015222643B3 (en)*2015-11-172017-04-27Siemens Healthcare Gmbh Magnetic resonance tomography system and method for operating a patient positioning device in a magnetic resonance tomography system
CN114052768A (en)*2020-08-062022-02-18佳能医疗系统株式会社 Medical diagnosis bed device and medical image diagnosis device

Citations (2)

* Cited by examiner, † Cited by third party
Publication numberPriority datePublication dateAssigneeTitle
DE19749942B4 (en)*1997-11-112004-04-15Siemens Ag Patient support device
US6885165B2 (en)*2001-05-312005-04-26Cti Pet Systems, Inc.Patient bed for multiple position emission scans

Patent Citations (2)

* Cited by examiner, † Cited by third party
Publication numberPriority datePublication dateAssigneeTitle
DE19749942B4 (en)*1997-11-112004-04-15Siemens Ag Patient support device
US6885165B2 (en)*2001-05-312005-04-26Cti Pet Systems, Inc.Patient bed for multiple position emission scans

Cited By (5)

* Cited by examiner, † Cited by third party
Publication numberPriority datePublication dateAssigneeTitle
CN103033847A (en)*2012-12-192013-04-10中国人民解放军第四军医大学Device and method for sliding type multi-layer magnetic induction tomography
CN103033847B (en)*2012-12-192015-10-28中国人民解放军第四军医大学A kind of slidingtype multilayer magnetic induction tomography device and method
DE102015222643B3 (en)*2015-11-172017-04-27Siemens Healthcare Gmbh Magnetic resonance tomography system and method for operating a patient positioning device in a magnetic resonance tomography system
WO2017084784A1 (en)2015-11-172017-05-26Siemens Healthcare GmbhMagnetic resonance tomography apparatus and method for operating a patient support in a magnetic resonance tomography apparatus
CN114052768A (en)*2020-08-062022-02-18佳能医疗系统株式会社 Medical diagnosis bed device and medical image diagnosis device

Similar Documents

PublicationPublication DateTitle
DE102010025275B4 (en) Hexapod
DE19581543C2 (en) X-ray tomography system with portal swivel and translation control
DE102010015062B4 (en) Device for storing and driving a tiltable part of a gantry of a computed tomography device and computed tomography device
DE102007014648B4 (en) Patient storage device for a magnetic resonance device
DE19936408B4 (en) Mobile X-ray machine
EP3379237A1 (en)Sample manipulator for rotating tensile or compressive stress and corresponding method
DE102013220392A1 (en) Material testing machine with a spindle nut fixedly mounted spindle drive
DE102007021770A1 (en) Medical diagnostic and / or intervention system
DE102013226289A1 (en) X-ray device with an adjustment
DE102010035395B4 (en) Medical examination or treatment facility
DE112008000864T5 (en) Spindle drive mechanism for a machine tool
DE10140862B4 (en) Medical X-ray examination device
DE102010035394B4 (en) Medical examination or treatment facility
WO2006106073A1 (en)Patient-supporting device for a diagnostic and/or therapeutic appliance
DE102009020400B4 (en) Method and apparatus for image determination from x-ray projections taken when traversing a trajectory
DE102007035178A1 (en)Tomography system i.e. x-ray computer tomography system, for imaging analysis of patient, has patient table movable by motor e.g. electric linear motor, or hand parallel to system axis, where motor is designed as driving device for table
DE102010064209B4 (en) Mobile examination table
DE102019115790A1 (en) Drive device and method for linear or rotary positioning
DE102004047615B3 (en) Apparatus and method for motor assisting a patient positioning device
DE102014218514A1 (en) Medical imaging device with a movably mounted couch table
DE102012213062B4 (en) Chain or belt drive
DE102004042314A1 (en) Apparatus for medical imaging, in particular magnetic resonance system, or therapy
DE102008061637A1 (en)Biplane X-ray device for use in e.g. neuroradiology field, has recording systems with respective C-arms, which are connected with each other such that c-arms include scissor joint with common rotational axis
DE69306422T2 (en) Gear with variable mechanical preload
DE102007032088A1 (en) Feed device for a multi-coordinate measuring table and method for controlling such a feed device

Legal Events

DateCodeTitleDescription
OP8Request for examination as to paragraph 44 patent law
8120Willingness to grant licences paragraph 23
R002Refusal decision in examination/registration proceedings
R003Refusal decision now final

Effective date:20110415


[8]ページ先頭

©2009-2025 Movatter.jp