
Die Erfindung betrifft eine Verbindungsklemme für elektrische Leiter mit einem Klemmengehäuse aus Isolierstoff und mit einem Kontakteinsatz, der mehrere in einer Reihe nebeneinander angeordnete Klemmstellen aufweist, in die die abisolierten Enden der elektr. Leiter von derselben Seite des Klemmgehäuses parallel zueinander einsteckbar sind (sogenannte Verbindungsdosenklemme).The invention relates to a connection terminal for electrical conductors with a terminal housing made of insulating material and having a contact insert having a plurality of juxtaposed in a row terminal points, in which the stripped ends of the electr. Ladder from the same side of the terminal housing parallel to each other can be inserted (so-called connection socket terminal).
Der Kontakteinsatz solcher Klemmen besteht üblicherweise aus einem Stück Federstahlblech und einer allen Klemmstellen gemeinsamen Stromschiene, die aus einem elektrisch gut leitfähigen Material gefertigt ist. Aus dem Stück Federstahlblech sind entsprechend der Anzahl der Klemmstellen mehrere Blattfedern in der Form von Blattfederzungen freigeschnitten (oder freigestanzt) derart, daß ihre Zungenwurzeln mit dem oberen Randbereich des Federstahlbleches verbunden sind. Die freien Enden der Blattfederzungen erstrecken sich in Richtung des unteren Randes des Federstahlbleches und sind jeweils gegen die Stromschiene gerichtet. Sie bilden mit der Stromschiene jeweils eine Klemmstelle zum elektrischen und mechanischen Klemmen eines in die Verbindungsklemme eingesteckten elektrischen LeitersThe contact insert such terminals usually consists of a piece of spring steel plate and a common terminal points busbar, which is made of a highly electrically conductive material. From the piece of spring steel sheet a plurality of leaf springs in the form of leaf spring tongues are cut free (or punched) according to the number of clamping points such that their tongue roots are connected to the upper edge region of the spring steel sheet. The free ends of the leaf spring tongues extend in the direction of the lower edge of the spring steel sheet and are each directed against the busbar. They form with the busbar each a terminal point for the electrical and mechanical terminals of an inserted into the connection terminal electrical conductor
Die Urform solcher Verbindungsklemmen ist seit 1973 bekannt (
Die vorgenannte Urform der Verbindungsdosenklemmen ist im Laufe der Jahre vielfach modifiziert worden. So ist z. B. in der
Klemmen des vorgenannten Typs werden auch heute noch in großem Umfang in der Gebäudeinstallation verwendet. Jedoch, auch ein erfolgreiches Produkt ist den Forderungen des Marktes unterworfen. Diese Forderungen sind (wie meist immer) darauf gerichtet, kostengünstiger zu produzieren (= Kostenreduzierung) und möglichst auch noch kleiner zu bauen (= Bauhöhenreduzierung)Clamps of the aforementioned type are still widely used in building installations today. However, even a successful product is subject to the demands of the market. These requirements are (as always always) aimed at producing more cost-effectively (= cost reduction) and, if possible, even smaller in size (= height reduction)
Um die ersten Forderung der Kostenreduzierung zu erfüllen, ist ausgehend von den vorgenannten Urformen ein Nachfolgetyp entwickelt worden, bei dem die aus dem relativ teuren Kupfermaterial gefertigten massiven (dicken) Kontaktplatten/Kontaktkörper ersetzt sind durch eine im Querschnitt sehr viel kleinere Stromschiene, die sich in Art einer Stromschienenleiste oder eines Stromschienenstabes quer zu den Blattfederzungen erstreckt. Solche leisten- oder stabförmigen Stromschienen sind hinsichtlich der Verwendung des teuren Kupfer-Materials auf das jeweilige Minimum der Stromleitungsquerschnitte beschränkt. Diese Stromschienen haben (bezogen auf den Kontakteinsatz) nicht mehr die Funktion eines tragenden Elementes, und sie sind mittels des unteren Randbereiches des Federstahlbleches lagefixiert gehalten. Die Fensterausnehmungen befinden sich nunmehr in dem Federstahlblech (siehe
Die vorliegende Erfindung geht von dem Klemmentyp gemäß dem vorgenannten
Die Aufgabe der Erfindung besteht darin, eine Verbindungsklemme mit reduzierter Bauhöhe zu schaffen, bei der eine flache und in ihrer Wanddicke vorzugsweise dünne Stromschiene mittels des unteren Randbereiches des Federstahlbleches lagefixiert gehalten wird, und zwar ohne zusätzliche Befestigungshilfen (wie z. B. Punktschweißung, Vernietungen oder Verstemmungen).The object of the invention is to provide a connection clamp of reduced overall height, in which a flat and in its wall thickness preferably thin busbar is held fixed in position by means of the lower edge region of the spring steel sheet, without additional fastening aids (such., Spot welding, riveting or caulking).
Diese Aufgabe wird durch die Verbindungsklemme mit den Merkmalen des Anspruchs 1 gelöst. Die Haupterstreckungsrichtung der Fensterausnehmungen in dem Federstahlblech schneiden die Achsen der geklemmten elektrischen Leiter unter einem maximal flachen Anstellwinkel resultierend daraus, dass sowohl der obere Randbereich des Federstahlbleches mit den Zungenwurzeln der Blattfederzungen als auch der untere Randbereich des Federstahlbleches mit der lagefixiert gehaltenen Stromschiene jeweils eng benachbart zu den abisolierten Enden der geklemmten elektrischen Leiter positionier sind.This object is achieved by the connection terminal with the features of claim 1. The main extension direction of the window recesses in the spring steel sheet cut the Axes of the clamped electrical conductors at a maximum flat angle of attack resulting from the fact that both the upper edge region of the spring steel sheet with the tongue roots of the leaf spring tongues and the lower edge region of the spring steel sheet with the position fixated busbar are each positioned closely adjacent to the stripped ends of the clamped electrical conductors ,
Zum Zwecke der Lagefixierung der Stromschiene ist der untere Randbereich des Federstahlbleches mit einem Teilstück der dort endenden Fensterausnehmungen gegen die Leitereinsteckrichtung zurückgebogen, wodurch ein gegen die Leitereinsteckrichtung offener und an seinen anderen Seiten metallgefasster V-förmiger Aufnahmeraum gebildet ist. In den V-förmigen Aufnahmeraum ist die im Querschnitt flache und in ihrer Wanddicke dünne Stromschiene eingesetzt, wobei die Längen der Blattfederzungen so bemessen sind, dass ihre Zungenenden bei unbelegter, geschlossener Klemmstelle die Fensterausnehmungen des Federstahlbleches durchgreifen und an der Unterseite der Stromschiene anliegen und diese fixieren.For the purpose of fixing the position of the busbar, the lower edge region of the spring steel sheet is bent back with a portion of the window recesses there ending against the Leiterereinsteckrichtung, creating a against the Leiterereinsteckrichtung open and on its other sides metallgefasster V-shaped receiving space is formed. In the V-shaped receiving space in the cross-sectional flat and thin in its wall thickness busbar is used, the lengths of the leaf spring tongues are dimensioned so that their tongue ends pass through the window recesses of the spring steel sheet at unoccupied, closed terminal point and rest against the underside of the busbar and this fix.
Diese Methode der Lagefixierung einer leistenförmigen Stromschiene (oder gewünschtenfalls auch einer stabförmigen Stromschiene) am bzw. im unteren Randbereich des Federstahlbleches hat auch für die Montage der neuen Klemme per Fertigungsautomaten erheblich Vorteile. Die Stromschiene kann in den V-förmigen Aufnahmeraum des Federstahlbleches problemlos und ohne weitere Hilfsvorrichtungen eingeschoben werden. hierbei werden die Blattfederzungen aus ihrer Ruhelage zurückgedrückt und fixieren sodann die Stromschiene in dem V-förmigen Aufnahmeraum (= Vorfixierung). Der vorfixierte Kontakteinsatz kann in seiner Gesamtheit ebenfalls vollautomatisch in ein Isolierstoffgehäuse eingesetzt werden.This method of fixing the position of a strip-shaped busbar (or, if desired, a rod-shaped busbar) on or in the lower edge region of the spring steel sheet has considerable advantages for the assembly of the new terminal by automatic manufacturing machine. The busbar can be easily inserted into the V-shaped receiving space of the spring steel sheet and without further auxiliary devices. Here, the leaf spring tongues are pushed back from their rest position and then fix the busbar in the V-shaped receiving space (= prefixing). The prefixed contact insert can also be used fully automatically in an insulating material in its entirety.
Bisher war es von den Fachleuten als üblich und als notwendig angesehen worden, den oberen Randbereich des Federstahlbleches mit den Zungenwurzeln der Blattfederzungen möglichst entfernt von dem zu klemmenden elektrischen Leiter anzuordnen, damit die Länge der Blattfederungen einen ausreichenden Federhub ermöglicht und damit ein steilerer Anstellwinkel der Blattfederzunge gegen den geklemmten elektrischen Leiter hohe Leiterauszugskräfte liefert. Die Lehre der Erfindung geht einen anderen Weg. Sie kombiniert einen maximal flachen Anstellwinkel mit einer kurzen Blattfederlänge und erreicht damit eine beachtliche Bauhöhenverringerung, ohne dass dies (wie dies nachstehend noch genauer beschrieben wird) nachteilige Auswirkungen auf die Leiterklemmkräfte und/oder die Leiterauszugskräfte hat oder haben muss.So far, it has been considered by the professionals as common and considered necessary to arrange the upper edge region of the spring steel sheet as possible with the tongue roots of the leaf spring tongues away from the electrical conductor to be clamped, so that the length of the leaf spring allows a sufficient spring stroke and thus a steeper angle of the leaf spring tongue against the clamped electrical conductor high Leiterauszugskräfte supplies. The teachings of the invention take a different approach. It combines a maximum flat angle of attack with a short leaf spring length, achieving a significant reduction in height without adversely affecting ladder clamping forces and / or ladder pull-out forces (as further described below).
Bei konsequenter Anwendung ergibt sich eine Kleinstbauweise für die Klemme, wie sie aus den anliegenden Zeichnungen im Detail zu entnehmen ist. Die Bauhöhe des Kontakteinsatzes der dargestellten Klemme steht nicht über die Außenkontur des elektrischen Leiters vor, die durch den Außendurchmesser des Isolationsmantels des Leiters vorgegeben ist. Ein solches, auf die Bauhöhe bezogenen Kleinstmaß einer Verbindungsdosenklemme ist bisher niemals erreicht worden. Für die Praxis bringt das erhebliche Vorteile es können mehr Verbindungsklemmen dieses Typs in Verteilerdosen untergebracht werden. auch in tieferen Schalterdosen oder in sonstigen Geräteanschlussdosen können die baugrößenreduzierten neuen Klemmen sehr gut zum Einsatz kommen.Consistent use results in a miniature construction for the terminal, as can be seen in the accompanying drawings in detail. The overall height of the contact insert of the terminal shown is not above the outer contour of the electrical conductor, which is determined by the outer diameter of the insulating jacket of the conductor. Such, on the height related miniature size of a junction box terminal has never been achieved. In practice, this brings significant advantages, it can accommodate more connection terminals of this type in junction boxes. even in deeper switch boxes or in other device connection boxes, the reduced size new terminals can be used very well.
Trotz der Maßnahmen zur Bauhöhenverringerung werden ausreichend große Leiterklemmkräfte und ausreichend große Leiterauszugskräfte vorteilhaft dadurch gewährleistet, dass die Blattfederzungen eine fertigungstechnische Vorverformung besitzen derart, dass sich die Blattfederzungen jeweils ausgehend von ihren Zungenwurzeln zunächst in einem ersten Bogen (= Wurzelbogen) von dem geklemmten elektrischen Leiter entfernen und sodann in einem nachfolgenden zweiten Bogen (= Umkehrbogen) auf den geklemmten elektrischen Leiter zubewegen. Beide Verformungen (Wurzelbogen + Umkehrbogen) sind fertigungstechnisch mit einer Kaltverfestigung des Federmaterials durchgeführt, so dass trotz des flachen Anstellwinkels der Blattfederzungen gegen den geklemmten elektrischen Leiter hohe Federkräfte erzielt werden können.Despite the measures to reduce the height of sufficient conductor clamping forces and sufficiently large Leiterauszugskräfte are advantageously ensured by the fact that the leaf spring tongues have a production predeformation such that the leaf spring tongues each starting from their tongue roots first in a first arc (= root arch) of the clamped electrical conductor and then in a subsequent second arc (= reverse bend) on the clamped electrical conductor move. Both deformations (root arc + reverse bend) are carried out with a cold work hardening of the spring material, so that despite the low angle of attack of the leaf spring tongues against the clamped electrical conductor high spring forces can be achieved.
Zur Gewährleistung sicherer Leiterauszugskräfte wird gemäß Anspruch 3 vorgeschlagen, dass die Zungenenden der Blattfederzungen in der Weise gegen den geklemmten elektrischen Leiter abgewinkelt sind, dass der in der Klemmkante der Zungenenden gegen den elektrischen Leiter gemessene Keilwinkel 10° ist.To ensure safe Leiterauszugskräfte is proposed according to claim 3, that the tongue ends of the leaf spring tongues are angled in the manner against the clamped electrical conductor that measured in the clamping edge of the tongue ends against the electrical conductor wedge angle is 10 °.
Es ist an dieser Stelle darauf hinzuweisen, dass die vorgenannten erfindungsgemäßen Merkmale nicht nur bei einreihigen Verbindungsklemmen zur Anwendung kommen können, sondern auch bei zweireihigen Verbindungsklemmen, bei denen die Klemmstellen in zwei zueinander parallelen Reihen angeordnet sind, wie dies z. B. die zweireihige 6-Leiter-Klemme gemäß dem
Soll die Vorfixierung der Stromschiene in dem V-förmigen Aufnahmeraum und somit der Kontakteinsatz als Ganzes für die weiteren Montageabläufe auch schütt- und sortiertauglich sein, dann ist es vorteilhaft, wenn die Stromschiene an ihrer beim Einschieben in den V-förmigen Aufnahmeraum vorlaufenden Kante pro Klemmstelle jeweils einen vorstehenden Stromschienekopf (in Art eines vorstehenden Stützfingers) besitzt, der beim Einschieben der Stromschiene in den V-förmigen Aufnahmeraum in das gegen die Leitereinsteckrichtung zurückgebogene Teilstück der jeweils zugeordneten Fensterausnehmung der Federstahlbleches eingreift.If the prefixing of the busbar in the V-shaped receiving space and thus the contact insert as a whole for the other assembly processes also pourable and sortiertauglich be, then it is advantageous if the busbar to her at Insertion into the V-shaped receiving space leading edge per terminal point each has a projecting busbar head (in the manner of a protruding support finger) which engages when inserting the busbar in the V-shaped receiving space in the bent back against the Leiterereinsteckrichtung portion of the respective associated window recess of the spring steel.
Die Wahl einer im Querschnitt flachen und in ihrer Wanddicke relativ dünnen leistenförmigen Stromschiene trägt zur Bauhöhenverringerung bei. Eine solche Stromschiene hat eine flache (absatzlose) Unterseite, die in dem V-förmigen Aufnahmeraum so positioniert sein kann, dass sie gegen die Leitereinsteckrichtung schräg angestellt ist derart, dass die Unterseite der Stromschiene für den in die Klemmstelle einzusteckenden elektrischen Leiter als Einlaufschräge dient.The choice of a cross-sectionally flat and in its wall thickness relatively thin strip-shaped busbar contributes to the reduction in height. Such a bus bar has a flat (bottomless) underside, which may be positioned in the V-shaped receiving space such that it is inclined against the Leiterereinsteckrichtung such that the underside of the busbar for the inserted into the nip electrical conductor serves as an inlet slope.
Nachfolgend wird ein Ausführungsbeispiel der Erfindung anhand der Zeichnungen näher beschrieben. Es zeigen:Hereinafter, an embodiment of the invention will be described with reference to the drawings. Show it:
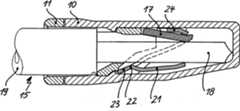
Die
Aus dem Stück Federstahlblech
Die dargestellte 3-Leiter-Verbindungsklemme besitzt drei Klemmstellen. Die Klemmstellen sind jeweils gebildet zwischen den freien Enden
Die Blattfederzungen
Der untere Randbereich
In den V-förmigen Aufnahmeraum
Die freigeschnittenen Blattfederzungen sind fertigungstechnisch vorverformt derart, daß sie sich (ausgehend von ihren Zungenwurzeln
Die Leiterklemmkräfte, die die Blattfederzungen infolge des fertigungstechnisch vorverformten Wurzelbogens
Der Kontakteinsatz, der vorstehend beschrieben ist, benötigt im eingebauten Zustand in dem Isolierstoffgehäuse der Klemme nur sehr wenig Platz.
Die Bauhöhenreduzierung der Klemme ist aus den
| Application Number | Priority Date | Filing Date | Title |
|---|---|---|---|
| DE102006019150ADE102006019150B4 (en) | 2006-04-21 | 2006-04-21 | Electrical connection terminal |
| PL07004975TPL1855353T3 (en) | 2006-04-21 | 2007-03-10 | Electric plug connector |
| PT07004975TPT1855353E (en) | 2006-04-21 | 2007-03-10 | Electric plug connector |
| EP07004975AEP1855353B1 (en) | 2006-04-21 | 2007-03-10 | Electric plug connector |
| AT07004975TATE511708T1 (en) | 2006-04-21 | 2007-03-10 | ELECTRICAL CONNECTION TERMINAL |
| TW096108879ATWI355780B (en) | 2006-04-21 | 2007-03-15 | Electric plug connector |
| KR1020070033157AKR101005157B1 (en) | 2006-04-21 | 2007-04-04 | Connection clamp for electrical conductor |
| JP2007134746AJP4496548B2 (en) | 2006-04-21 | 2007-04-20 | Electrical connection terminal |
| CN2007101097790ACN101060207B (en) | 2006-04-21 | 2007-04-20 | Electric binding terminal |
| RU2007114985/09ARU2340989C1 (en) | 2006-04-21 | 2007-04-20 | Electric connection terminal |
| Application Number | Priority Date | Filing Date | Title |
|---|---|---|---|
| DE102006019150ADE102006019150B4 (en) | 2006-04-21 | 2006-04-21 | Electrical connection terminal |
| Publication Number | Publication Date |
|---|---|
| DE102006019150A1 DE102006019150A1 (en) | 2007-11-15 |
| DE102006019150B4true DE102006019150B4 (en) | 2011-06-09 |
| Application Number | Title | Priority Date | Filing Date |
|---|---|---|---|
| DE102006019150AExpired - Fee RelatedDE102006019150B4 (en) | 2006-04-21 | 2006-04-21 | Electrical connection terminal |
| Country | Link |
|---|---|
| EP (1) | EP1855353B1 (en) |
| JP (1) | JP4496548B2 (en) |
| KR (1) | KR101005157B1 (en) |
| CN (1) | CN101060207B (en) |
| AT (1) | ATE511708T1 (en) |
| DE (1) | DE102006019150B4 (en) |
| PL (1) | PL1855353T3 (en) |
| PT (1) | PT1855353E (en) |
| RU (1) | RU2340989C1 (en) |
| TW (1) | TWI355780B (en) |
| Publication number | Priority date | Publication date | Assignee | Title |
|---|---|---|---|---|
| CN102340083B (en)* | 2010-07-23 | 2014-02-26 | 施耐德电器工业公司 | Lead connecting device and manufacture method thereof |
| US8187023B1 (en) | 2011-05-13 | 2012-05-29 | Uta Auto Industrial Co., Ltd. | Wire connector with two spring plates |
| CN102354831B (en)* | 2011-08-15 | 2013-10-16 | 浙江正泰建筑电器有限公司 | Terminal apparatus without screw thread |
| DE202013100635U1 (en)* | 2013-02-13 | 2013-03-04 | Wago Verwaltungsgesellschaft Mbh | Spring terminal and connection terminal for electrical conductors |
| DE102013101410A1 (en)* | 2013-02-13 | 2014-08-14 | Wago Verwaltungsgesellschaft Mbh | Spring terminal connection and conductor terminal |
| DE102013101409B4 (en)* | 2013-02-13 | 2022-01-20 | Wago Verwaltungsgesellschaft Mbh | conductor terminal |
| DE102013101411B4 (en)* | 2013-02-13 | 2018-03-22 | Wago Verwaltungsgesellschaft Mbh | Spring terminal connection and conductor terminal |
| DE102014102517B4 (en)* | 2014-02-26 | 2021-06-10 | Wago Verwaltungsgesellschaft Mbh | Connecting terminal and spring-loaded terminal contact for this |
| DE102015100257A1 (en)* | 2014-12-22 | 2016-06-23 | Wago Verwaltungsgesellschaft Mbh | Conductor terminal for clamping at least one electrical conductor |
| DE202015104962U1 (en)* | 2015-09-18 | 2016-12-21 | Wago Verwaltungsgesellschaft Mbh | Conductor terminal |
| DE102015115791B4 (en)* | 2015-09-18 | 2017-05-04 | Wago Verwaltungsgesellschaft Mbh | Wire connecting terminal element |
| DE102015119247A1 (en)* | 2015-11-09 | 2017-05-11 | Wago Verwaltungsgesellschaft Mbh | connecting terminal |
| CN105529540B (en)* | 2016-02-05 | 2018-09-04 | 马晓明 | The insertion method of conductor wire connector and conductor wire |
| CN105529545B (en)* | 2016-02-05 | 2017-09-29 | 马晓明 | Installs fixture |
| DE102016116510A1 (en)* | 2016-09-02 | 2018-03-08 | Wago Verwaltungsgesellschaft Mbh | Conductor terminal |
| DE102017105079A1 (en)* | 2017-03-10 | 2018-09-13 | Phoenix Contact Gmbh & Co. Kg | Contact insert for a connector part |
| DE102017109694B4 (en)* | 2017-05-05 | 2022-10-06 | Wago Verwaltungsgesellschaft Mbh | terminal block |
| NL2022303B1 (en)* | 2018-12-24 | 2020-07-21 | Dilar B V | Junction box for electrically connecting electricity cables to each other |
| DE102019125895B4 (en)* | 2019-09-26 | 2021-06-10 | Bjb Gmbh & Co. Kg | Connection terminal with insertion funnel |
| CN111585062B (en)* | 2020-05-21 | 2024-12-31 | 厦门广泓工贸有限公司 | A new type of terminal block |
| RU200552U1 (en)* | 2020-07-29 | 2020-10-29 | Дмитрий Вячеславович Назаров | Connecting terminal for conductors |
| CN114069267B (en)* | 2020-08-03 | 2024-11-29 | 金笔电子(东莞)有限公司 | Reinforced conductive connector |
| CN113802706A (en)* | 2021-09-23 | 2021-12-17 | 鸿厦建设有限公司 | Sound insulation device is used in fitment engineering construction |
| CN114644081A (en)* | 2022-03-10 | 2022-06-21 | 广西盛隆冶金有限公司 | cable guide |
| Publication number | Priority date | Publication date | Assignee | Title |
|---|---|---|---|---|
| DE2317040C3 (en)* | 1973-04-05 | 1980-01-31 | Wago-Kontakttechnik Gmbh, 4950 Minden | Plug-in terminal for connecting rigid electrical conductors |
| DE4445603A1 (en)* | 1994-12-21 | 1996-06-27 | Kleinhuis Hermann Gmbh | Screwless clamp |
| DE20303537U1 (en)* | 2003-03-05 | 2003-05-15 | Electro-Terminal Ges. M.B.H. & Co. Kg, Innsbruck | Screwless wire terminal clip for e.g. electrical socket, includes carrier with tabs made by partial cutting-away, to form row of clamping locations |
| DE19654523C2 (en)* | 1996-12-19 | 2003-10-09 | Wago Verwaltungs Gmbh | Connection terminal with at least two terminal points for connecting electrical conductors |
| DE102004030085A1 (en)* | 2004-06-22 | 2006-01-12 | Wago Verwaltungsgesellschaft Mbh | Terminal for connecting electrical conductors |
| Publication number | Priority date | Publication date | Assignee | Title |
|---|---|---|---|---|
| DE2514791C3 (en) | 1975-04-04 | 1978-10-26 | Fa. Hermann Kleinhuis, 5880 Luedenscheid | Screwless clamp |
| FR2480037A1 (en)* | 1980-04-04 | 1981-10-09 | Legrand Sa | ELECTRICAL EQUIPMENT WITH AUTOMATIC CONNECTION, IN PARTICULAR FOR ELECTRIC CONDUCTORS |
| JPS59226479A (en)* | 1983-06-07 | 1984-12-19 | 川口金属工業株式会社 | Plug-in type connector |
| DE4132407C2 (en)* | 1991-09-26 | 2000-11-02 | Wago Verwaltungs Gmbh | Common connection for electr. Distribution systems |
| JP2561029Y2 (en)* | 1993-03-18 | 1998-01-28 | 忠男 戸塚 | Plug-in connector |
| RU2106046C1 (en)* | 1993-08-20 | 1998-02-27 | Ростовское государственное производственно-конструкторское предприятие "Ирис" | Screwless terminal block for electric conductors |
| JPH0822857A (en)* | 1994-07-06 | 1996-01-23 | Nichifu Co Ltd | Connector box |
| DE19608356B4 (en) | 1996-02-21 | 2006-04-13 | Wago Verwaltungsgesellschaft Mbh | Electric connection terminal |
| DE29607136U1 (en)* | 1996-04-19 | 1997-08-21 | Electro-Terminal Ges.M.B.H., Innsbruck | Contact component for an electrical connector |
| DE19654611B4 (en)* | 1996-12-20 | 2004-09-30 | Wago Verwaltungsgesellschaft Mbh | Spring clamp connection for electrical conductors |
| DE19830484C1 (en) | 1998-07-08 | 2000-05-11 | Inovan Stroebe | Clamp connector for wire with connecting tab for electrical connections to switch has opening in U=shaped plate spring for connection wire, and recess for connecting tab |
| Publication number | Priority date | Publication date | Assignee | Title |
|---|---|---|---|---|
| DE2317040C3 (en)* | 1973-04-05 | 1980-01-31 | Wago-Kontakttechnik Gmbh, 4950 Minden | Plug-in terminal for connecting rigid electrical conductors |
| DE4445603A1 (en)* | 1994-12-21 | 1996-06-27 | Kleinhuis Hermann Gmbh | Screwless clamp |
| DE19654523C2 (en)* | 1996-12-19 | 2003-10-09 | Wago Verwaltungs Gmbh | Connection terminal with at least two terminal points for connecting electrical conductors |
| DE20303537U1 (en)* | 2003-03-05 | 2003-05-15 | Electro-Terminal Ges. M.B.H. & Co. Kg, Innsbruck | Screwless wire terminal clip for e.g. electrical socket, includes carrier with tabs made by partial cutting-away, to form row of clamping locations |
| DE102004030085A1 (en)* | 2004-06-22 | 2006-01-12 | Wago Verwaltungsgesellschaft Mbh | Terminal for connecting electrical conductors |
| Publication number | Publication date |
|---|---|
| EP1855353B1 (en) | 2011-06-01 |
| JP4496548B2 (en) | 2010-07-07 |
| DE102006019150A1 (en) | 2007-11-15 |
| EP1855353A2 (en) | 2007-11-14 |
| TW200810260A (en) | 2008-02-16 |
| TWI355780B (en) | 2012-01-01 |
| KR101005157B1 (en) | 2011-01-04 |
| JP2007294469A (en) | 2007-11-08 |
| RU2340989C1 (en) | 2008-12-10 |
| PL1855353T3 (en) | 2011-10-31 |
| PT1855353E (en) | 2011-07-29 |
| EP1855353A3 (en) | 2008-05-28 |
| CN101060207A (en) | 2007-10-24 |
| KR20070104220A (en) | 2007-10-25 |
| CN101060207B (en) | 2010-06-09 |
| ATE511708T1 (en) | 2011-06-15 |
| Publication | Publication Date | Title |
|---|---|---|
| DE102006019150B4 (en) | Electrical connection terminal | |
| EP3298659B1 (en) | Conductor connection terminal | |
| EP3507866B1 (en) | Conductor connection clamp | |
| EP1777720B1 (en) | Electrical device, particularly relay socket, with spring clip and method of manufacture | |
| DE10161248B4 (en) | Box-type terminal of an electrical device | |
| EP2956990B1 (en) | Spring-loaded clamping element and connecting terminal | |
| EP3446366B1 (en) | Plug contact | |
| EP1353407A1 (en) | Wire connecting device | |
| DE102011056043B4 (en) | Stromschienenabgriffelement | |
| EP3292591B1 (en) | Conductor connection clamp | |
| DE102007046616A1 (en) | Insulation displacement connection | |
| EP3477793A2 (en) | Tapping connector | |
| DE10103107B4 (en) | Terminal for electrical conductors | |
| DE102010035704B4 (en) | Electrical connector | |
| DE202017101148U1 (en) | Wire connecting terminal element | |
| EP3196981A1 (en) | Crosswise connector for in-line terminals | |
| DE2802686A1 (en) | Cable connecting spring clamp with multiple plug terminal - has independent force system and partitions separating functionally individual connecting positions | |
| DE2521072C2 (en) | Connection clamp for the electrical connection of a conductor with a pin | |
| DE102008047526B4 (en) | Contact insert and conductor connection terminal | |
| DE102015112433B4 (en) | Conductor connection terminal | |
| DE102020100333B3 (en) | Spring clip and conductor connection terminal | |
| DE102015113512B3 (en) | Clamping arrangement and spring clamp | |
| DE102017110060B4 (en) | Method for producing an arrangement and arrangement with a busbar for a connection terminal for contacting a plurality of electrical conductors and an electrical connection terminal | |
| DE202015102561U1 (en) | Conductor terminal | |
| EP1974417A1 (en) | Device for connecting a web |
| Date | Code | Title | Description |
|---|---|---|---|
| OM8 | Search report available as to paragraph 43 lit. 1 sentence 1 patent law | ||
| OP8 | Request for examination as to paragraph 44 patent law | ||
| R020 | Patent grant now final | Effective date:20110910 | |
| R119 | Application deemed withdrawn, or ip right lapsed, due to non-payment of renewal fee | Effective date:20131101 |