Movatterモバイル変換


[0]ホーム

URL:


DE102005038929A1 - dispensing closure - Google Patents

dispensing closure
Download PDF

Info

Publication number
DE102005038929A1
DE102005038929A1DE102005038929ADE102005038929ADE102005038929A1DE 102005038929 A1DE102005038929 A1DE 102005038929A1DE 102005038929 ADE102005038929 ADE 102005038929ADE 102005038929 ADE102005038929 ADE 102005038929ADE 102005038929 A1DE102005038929 A1DE 102005038929A1
Authority
DE
Germany
Prior art keywords
closure
cover
closure body
dispensing closure
lid
Prior art date
Legal status (The legal status is an assumption and is not a legal conclusion. Google has not performed a legal analysis and makes no representation as to the accuracy of the status listed.)
Withdrawn
Application number
DE102005038929A
Other languages
German (de)
Inventor
Gerhard F.K. Jäckel
Current Assignee (The listed assignees may be inaccurate. Google has not performed a legal analysis and makes no representation or warranty as to the accuracy of the list.)
Aptar Freyung GmbH
Original Assignee
Seaquist Loeffler Kunststoffwerk GmbH
Priority date (The priority date is an assumption and is not a legal conclusion. Google has not performed a legal analysis and makes no representation as to the accuracy of the date listed.)
Filing date
Publication date
Application filed by Seaquist Loeffler Kunststoffwerk GmbHfiledCriticalSeaquist Loeffler Kunststoffwerk GmbH
Priority to DE102005038929ApriorityCriticalpatent/DE102005038929A1/en
Priority to CA002554445Aprioritypatent/CA2554445A1/en
Priority to US11/504,942prioritypatent/US20070039915A1/en
Priority to CN2006101215129Aprioritypatent/CN1915757B/en
Priority to MXPA06009299Aprioritypatent/MXPA06009299A/en
Priority to BRPI0603905-7Aprioritypatent/BRPI0603905A/en
Publication of DE102005038929A1publicationCriticalpatent/DE102005038929A1/en
Withdrawnlegal-statusCriticalCurrent

Links

Classifications

Landscapes

Abstract

Translated fromGerman

DieErfindung betrifft einen Abgabeverschluß aus Kunststoff für Flüssigkeitsbehälter, miteinem auf einen Hals mit einer Abgabeöffnung des Behälters abdichtendbefestigbaren Verschlußkörper undeinem Deckel, der mittels eines Scharniers an den Verschlußkörper angelenktist und dessen Kopfplatte an der Unterseite einteilig mit einemDichtstutzen fürden dichtenden Eingriff in die Halsöffnung des Behälters versehenist, wobei der Abgabeverschluß imgeschlossenen Zustand einteiligt gespritzt ist und der Deckel mitdem Verschlußkörper mindestensteilweise durch mindestens eine Sollbruchstelle zwischen einer ringförmigen Abdeckungdes Verschlußkörpers undeinem Deckelmantel verbunden ist.TheThe invention relates to a dispensing closure made of plastic for liquid containers, withone sealing onto a neck with a discharge opening of the containerfastenable closure body anda lid which hinged by means of a hinge to the closure bodyis and its top plate at the bottom in one piece with aSealing nozzle forprovided the sealing engagement in the neck opening of the containeris, wherein the release closure inclosed state is sprayed einteiligt and the lid withthe closure body at leastpartially by at least one predetermined breaking point between an annular coverof the closure body andis connected to a cover coat.

Figure 00000001
Figure 00000001

Description

Translated fromGerman

DieErfindung betrifft einen Abgabeverschluß aus Kunststoff für Flüssigkeitsbehälter, miteinem auf einen Hals mit einer Abgabeöffnung des Behälters abdichtendbefestigbaren Verschlußkörper undeinem Deckel, der mittels eines Scharniers an den Verschlußkörper angelenktist und dessen Kopfplatte an der Unterseite einteilig mit einemDichtstutzen fürden dichtenden Eingriff in die Halsöffnung des Behälters versehenist.TheThe invention relates to a dispensing closure made of plastic for liquid containers, withone sealing onto a neck with a discharge opening of the containerfastenable closure body anda lid which hinged by means of a hinge to the closure bodyis and its top plate at the bottom in one piece with aSealing nozzle forprovided the sealing engagement in the neck opening of the containeris.

Abgabeverschlüsse dervorstehend genannten Gattung werden in der Regel so gespritzt, dass derDeckel sich in der Offenstellung befindet, so dass nach dem Spritzendes offenen Abgabeverschlusses vielfach dessen Deckel innerhalbder Kunststoff-Spritzgießmaschinenoch durch Verwendung spezieller Werkzeuge geschlossen wird.Dispensing closures ofThe aforementioned type are usually sprayed so that theLid is in the open position, so after sprayingOf the open dispensing closure many times its lid insidethe plastic injection molding machineis still closed by using special tools.

Dervorliegenden Erfindung liegt die Aufgabe zugrunde, einen Abgabeverschluß der eingangserwähntenGattung mit geringerem Aufwand herzustellen und damit seine Herstellungeinfacher und daher wirtschaftlicher zu gestalten.Of thepresent invention is based on the object, a dispensing closure of the abovementionedProduce genus with less effort and thus its productioneasier and therefore more economical.

DieErfindung löstdiese Aufgabe dadurch, dass der Abgabeverschluß im geschlossenen Zustandeinteilig gespritzt ist, wobei der Deckel mit dem Verschlußkörper mindestensteilweise durch mindestens eine Sollbruchstelle zwischen einer ringförmigen Abdeckungdes Verschlußkörpers undeinem Deckelmantel verbunden ist.TheInvention solvesthis task in that the dispensing closure in the closed stateis injected in one piece, the lid with the closure body at leastpartially by at least one predetermined breaking point between an annular coverof the closure body andis connected to a cover coat.

DieUnteransprücheenthalten weitere, zweckmäßige Merkmalezur Weiterbildung der Erfindung.Theunder claimscontain further functional featuresto the development of the invention.

Beieiner ersten Ausführungsformder Erfindung erstreckt sich die mindestens eine Sollbruchstellein einer horizontalen, zur Hauptachse des Abgabeverschlusses senkrechtenEbene und endet beidseitig des Scharniers, das den Innenrand der ringförmigen Abdeckungdes Verschlußkörpers mit derAußenseiteeines Deckelmantels verbindet.ata first embodimentThe invention extends the at least one predetermined breaking pointin a horizontal, perpendicular to the main axis of the dispensing closureLevel and ends on both sides of the hinge, which is the inner edge of the annular coverthe closure body with theoutsidea cover jacket connects.

Einezweite Ausführungsformdes erfindungsgemäßen Abgabeverschlussessieht mindestens eine, sich über360° erstreckendeSollbruchstelle sowie an der Außenseitedes Abgabeverschlusses ein bandförmigesScharnier vor, dessen Enden jeweils an den Verschlußkörper bzw.an den Deckel angelenkt sind.Asecond embodimentthe delivery closure according to the inventionAt least one looks over360 ° extendingBreaking point as well as on the outsidethe dispensing closure a band-shapedHinge ago, the ends of each of the closure body orhinged to the lid.

BeisämtlichenAusführungsformender vorliegenden Erfindung könnender Steg und/oder die Stege der Sollbruchstelle zwischen der ringförmigen Abdeckungdes Verschlußkörpers undeinem Fußbereichdes Deckelmantels in Höheder Oberseite der ringförmigenAbdeckung des Verschlußkörpers vorgesehensein. Fürden Fall jedoch, dass der Abgabeverschluß gemäß der Erfindung zum Verschluß eines Behälters odereiner Flasche vorgesehen ist, deren Inhalt ein Getränk ist,wobei der Abgabeverschluß gleichzeitigals ein Trinkverschluß dient,durch den der Benutzer das Getränkdirekt entnehmen kann, ist eine Ausführungsform der Sollbruchstellebesonders bevorzugt, bei der der einzige Steg oder die Stege derSollbruchstelle zwischen der ringförmigen Abdeckung des Verschlußkörpers unddem unteren Endbereich des Deckelmantels in Höhe der Unterseite der ringförmigen Abdeckungvorgesehen sind. Hierdurch wird erreicht, dass im wesentlichen nurglatte Flächendes Abgabeverschlusses mit dem Mund des Benutzers in Berührung kommen.atallembodimentsof the present inventionthe web and / or the webs of the predetermined breaking point between the annular coverof the closure body anda foot areaof the cover jacket in heightthe top of the annularCover of the closure body providedbe. Forthe case, however, that the dispensing closure according to the invention for closing a container ora bottle is provided, the content of which is a drink,wherein the dispensing closure simultaneouslyserves as a drinking cap,by the user the drinkcan take directly, is an embodiment of the predetermined breaking pointparticularly preferred, in which the sole web or the webs ofPredetermined breaking point between the annular cover of the closure body andthe lower end portion of the cover shell at the level of the underside of the annular coverare provided. This ensures that essentially onlysmooth surfacesof the dispensing closure come into contact with the user's mouth.

Inweiterer Ausgestaltung der vorstehend genannten Ausführungsformder Erfindung kann vorgesehen sein, dass der Deckel einen kegelstumpfförmigen Umriß mit einerKopfplatte hat, von deren Außenrandsich der Deckelmantel zur ringförmigenAbdeckung des Verschlußkörpers erstreckt,wobei der Deckel in seiner Offenstellung durch eine Arretiervorrichtungfeststellbar ist: Die Kegelstumpfform des Deckels ermöglicht es,den Verschlusskörpermit einem tüllenförmigen Trinkstutzenzu versehen, wobei die Arretiervorrichtung den Deckel in seinerOffenstellung arretiert, so dass der Benutzer ungestört aus demAbgabeverschluß dasGetränkin dem Behälter oderder Flasche entnehmen kann. Vorteilhaft kann die Arretiervorrichtungaus einer Feder-Nut-Verbindung zwischen der Rückseite des Deckels und der ringförmigen Abdeckungdes Verschlußkörpers bestehen.Die Arretiernut kann sich übereinen größeren Umfangswinkelerstrecken und zur Oberseite des Deckels leicht gebogen sein. Bevorzugthat die Arretiernut einen rechtwinkligen Querschnitt, dem der Querschnittdes Arretiersteges etwa entspricht, derart, daß der Deckel in der Offenstellungfestgehalten, aber von Hand lösbarist.Infurther embodiment of the aforementioned embodimentthe invention can be provided that the lid has a frustoconical outline with aHeadstock has, from its outer edgethe lid coat to the annularCover of the closure body extends,wherein the lid in its open position by a locking devicecan be determined: the truncated cone shape of the lid makes it possiblethe closure bodywith a nozzle-shaped drinking spoutto be provided, wherein the locking device the lid in hisOpen position locked, leaving the user undisturbed out of theRelease lock thatdrinkin the container orremove the bottle. Advantageously, the locking devicefrom a tongue and groove connection between the back of the lid and the annular coverconsist of the closure body.The locking groove can overa larger circumferential angleextend and be slightly bent to the top of the lid. PrefersThe locking groove has a rectangular cross section, the cross sectionapproximately corresponds to the Arretiersteg, such that the lid in the open positionheld fast, but detachable by handis.

ZurBefestigung des Abgabeverschlusses auf einem Behälterhals kann der Verschlußkörper mit einemrund umlaufenden, z. B. zylindrischen Mantel versehen sein, deran der Innenseite ein Gewinde hat, mit dem der Verschlußkörper abdichtendauf ein Außengewindeam Behälterhalsaufgeschraubt werden kann. Die Innenseite des Verschlußkörpermantelskann jedoch auch mit mindestens einem Sperrwulst versehen sein,mit welchem der Verschlußkörper aufden Behälterhalsaufprellbar ist, wobei der mindestens eine Sperrwulst des Verschlußkörpers mindestenseinen Außenwulstdes Behälterhalses rastenduntergreift.toAttachment of the dispensing closure on a container neck, the closure body with acirculating, z. B. cylindrical jacket be provided, theon the inside has a thread with which the closure body sealingon an external threadat the container neckcan be screwed on. The inside of the closure body shellHowever, it can also be provided with at least one blocking bead,with which the closure bodythe container neckcan be aufgeprellbar, wherein the at least one blocking bead of the closure body at leastan outer beadlatching the container neckengages below.

Fernerkann am unteren Rand des Mantels des Verschlußkörpers ein Originalitätssicherungsband über eineumlaufende Sollbruchlinie befestigt sein, wobei das Originalitätssicherungsbandeinen Ringwulst an der Außenseitedes Behälterhalsesunlösbaruntergreift.Further, at the bottom of the mantle a tamper-evident band is secured over a circumferential predetermined breaking line of the closure body, wherein the tamper-evident band undetachably engages underneath an annular bead on the outside of the container neck.

Besondersbevorzugt ist es, mindestens ein Stützelement vorzusehen, das sichvon dem Fußbereichdes Deckelmantels im Abstand überder ringförmigenAbdeckung des Verschlußkörpers radialnach außenerstreckt. Infolgedessen könnenmit dem erfindungsgemäßen Abgabeverschluß ausgerüstete Behälter oderFlaschen übereinandergestapelt werden, ohne dass eine Beschädigung des Abgabeverschlusseszu befürchtenist. Vorteilhaft kann das Stützelementplattenförmiggestaltet sein. Die radiale Längedes mindestens einen plattenförmigenStütz- undSchließelementeskann etwa der halben Breite der ringförmigen Abdeckung des Verschlußkörpers entsprechen.Vorteilhaft haben das mindestens eine Stützelement einen bogenförmigen Außenrand,dessen Radius kleiner als der Radius des unteren Endbereiches desDeckels bemessen ist.Especiallyit is preferred to provide at least one support element which isfrom the foot areathe cover jacket in the distance overthe annularCover of the closure body radiallyoutwardextends. As a result, canequipped with the delivery closure of the invention container orBottles on top of each otherbe stacked without damaging the dispensing closureto fearis. Advantageously, the support elementplate-shapedbe designed. The radial lengthof the at least one plate-shapedSupport and supportclosing elementmay correspond to about half the width of the annular cover of the closure body.Advantageously, the at least one support element has an arcuate outer edge,whose radius is smaller than the radius of the lower end portion of theCover is measured.

Gemäß einerzweiten Ausführungsformdes Abgabeverschlusses gemäß der vorliegendenErfindung kann die mindestens eine Sollbruchstelle sich um den gesamtenVerschluß herum,also über360° erstrecken,wobei der Deckel mit der ringförmigen Abdeckungdes Verschlußkörpers durchein Scharnierband verbunden ist, dessen Enden an der Rückseitedes Deckelmantels und auf der Oberseite der ringförmigen Abdeckungdes Verschlußkörpers, also außen angelenktsind. Dabei kann der umlaufende, zur Hauptachse des Abgabeverschlussesparallele Deckelmantel im Abstand oberhalb der ringförmigen Abdeckungdes Verschlußkörpers mitmindestens einem Schließelementversehen sein, das vorzugsweise von dem mindestens einen Stützelementgebildet ist und von zwei diametral gegenüberliegenden Seiten des Deckelsradial nach außenvorsteht. In der Schließstellungdes Deckels nach erstmaliger Ingebrauchnahme des Abgabeverschlussesund Zerstörungder mindestens einen Sollbruchstelle liegt das mindestens eine Stütz- undSchließelementauf der ringförmigenAbdeckung des Verschlußkörpers auf undbegrenzt somit die Schließbewegungdes Deckels.According to onesecond embodimentthe dispensing closure according to the presentInvention, the at least one predetermined breaking point to the entireLock around,So overExtend 360 °,the lid with the annular coverof the closure bodya hinged band is connected, its ends at the backthe lid shell and on top of the annular coverof the closure body, so hinged outsideare. In this case, the circumferential, to the main axis of the dispensing closureparallel cover coat at a distance above the annular coverof the closure body withat least one closing elementbe provided, preferably from the at least one support elementis formed and from two diametrically opposite sides of the lidradially outwardprotrudes. In the closed positionof the lid after first use of the dispensing closureand destructionthe at least one predetermined breaking point is the at least one support andclosing elementon the annularCover of the closure body on andthus limits the closing movementof the lid.

Fernerwird bevorzugt, an der Außenseite desDeckelmantels mindestens einen Rast- oder Fixierwulst anzuordnen,der nach Ingebrauchnahme des Abgabeverschlusses einen Innenrandder ringförmigenAbdeckung des Verschlußkörpers untergreiftund den Deckel in Schließlageverriegelt. Ein solcher Rast- oder Fixierwulst kann vorteilhaftim Abstand unterhalb des mindestens einen Stütz- und Schließelementesderart angeordnet sein, daß einerseitsdie Schließbewegungdes Deckels durch den Anschlag des mindestens einen Stütz- undSchließelementesan der ringförmigenAbdeckung des Verschlußkörpers begrenztwird und andererseits der Rast- oder Fixierwulst den Innenrand derringförmigenAbdeckung rastend untergreift.Furtheris preferred on the outside of theCover jacket to arrange at least one locking or Fixierwulstafter putting the dispensing closure an inner edgethe annularCover of the closure body engages underand the lid in closed positionlocked. Such a locking or Fixierwulst can be advantageousat a distance below the at least one supporting and closing elementbe arranged such that on the one handthe closing movementthe lid by the stop of the at least one support andclosing elementat the annularCover of the closure body limitedOn the other hand, the locking or Fixierwulst the inner edge of theannularCover engages under latching.

Darüber hinauskann das untere Ende des Mantels des Verschlußkörpers vorteilhaft mit einem Ringflanschversehen sein, der mit dem Öffnungsrandeiner aus Karton bestehenden Getränkepackung abdichtend durchSchweißenbefestigt werden kann.Furthermorethe lower end of the shell of the closure body can advantageously with an annular flangeBe provided with the opening edgea beverage carton made of cardboard by sealingweldingcan be attached.

Schließlich empfiehltes sich, eine Handhabe zum Öffnendes Deckels an dessen vorderer Oberseite vorzusehen.Finally, recommendsit is, a handle to opento provide the lid on the front top.

Nachstehendist die vorliegende Erfindung anhand der schematischen Zeichnungvon mehreren Ausführungsbeispielennäher erläutert. Eszeigen:belowthe present invention is based on the schematic drawingof several embodimentsexplained in more detail. Itdemonstrate:

1 eineVorderansicht einer ersten Ausführungsformeines Abgabeverschluß gemäß der Erfindungim geschlossenen Zustand, 1 a front view of a first embodiment of a release closure according to the invention in the closed state,

2 denAbgabeverschluß von1 in Seitenansicht, 2 the dispensing closure of 1 in side view,

3 denAbgabeverschluß von1 in Rückansicht, 3 the dispensing closure of 1 in rear view,

4 denAbgabeverschluß von1 in Draufsicht, 4 the dispensing closure of 1 in plan view,

5 einenAusschnitt A von2 in größerem Maßstab, der die Position einesSollbruchsteges zeigt, 5 a section A of 2 on a larger scale, showing the position of a breakaway bar,

6 einenAusschnitt B von2 in größerem Maßstab, der eine Arretiervorrichtungfür den geöffnetenDeckel zeigt, 6 a section B of 2 on a larger scale, showing a locking device for the open lid,

7 denAbgabeverschluß von16 ineinem Mittellängsschnittgrößeren Maßstabs,mit einem offenen, arretierten Deckel, 7 the dispensing closure of 1 - 6 in a central longitudinal section of larger scale, with an open, locked lid,

8 eineneingekreisten Ausschnitt C von7 mit derArretiervorrichtung fürden Deckel in größerem Maßstab, 8th a circled section C of 7 with the locking device for the lid on a larger scale,

9 einezweite Ausführungsformeines Abgabeverschlusses gemäß der Erfindungin Vorderansicht, 9 A second embodiment of a dispensing closure according to the invention in front view,

10 eineSeitenansicht des Abgabeverschlusses von9, 10 a side view of the dispensing closure of 9 .

11 eineRückansichtdes Abgabeverschlusses von9, 11 a rear view of the dispensing closure of 9 .

12 eineDraufsicht des Abgabeverschlusses von9, 12 a top view of the dispensing closure of 9 .

13 einenAusschnitt D von10 in größerem Maßstab, der eine andere Positioneines Sollbruchsteges zeigt, 13 a section D of 10 on a larger scale, which shows a different position of a breakaway web,

14 einedritte Ausführungsformeines Abgabeverschlusses gemäß der Erfindungin Vorderansicht, 14 A third embodiment of a dispensing closure according to the invention in front view,

15 denAbgabeverschluß von14 in Seitenansicht, 15 the dispensing closure of 14 in side view,

16 eineRückansichtdes Abgabeverschlusses von14, 16 a rear view of the dispensing closure of 14 .

17 eineDraufsicht des Abgabeverschlusses von14, 17 a top view of the dispensing closure of 14 .

18 eineneingekreisten Abschnitt E von15 ingrößerem Maßstab, 18 a circled section E of 15 on a larger scale,

19 denAbgabeverschluß von14 mitgeöffnetemDeckel in einem Mittellängsschnitt größeren Maßstabs, 19 the dispensing closure of 14 with open lid in a central longitudinal section of larger scale,

20 einevierte Ausführungsformeines Abgabeverschlusses füreinen aus Karton bestehenden Behältermit geöffnetemDeckel in einem Mittelängsschnittgrößeren Maßstabs, 20 A fourth embodiment of a dispensing closure for a container made of cardboard with an open lid in a central longitudinal section of larger scale,

21 denAbgabeverschluß von20 im geschlossenenZustand nach Ingebrauchnahme in einem vergrößerten Mittellängsschnitt, 21 the dispensing closure of 20 when closed after use in an enlarged central longitudinal section,

22 einenKreisausschnitt F von21 in größerem Maßstab, 22 a circular section F of 21 on a larger scale,

23 einefünfteAusführungsformeines Abgabeverschlusses gemäß der Erfindungin Vorderansicht, 23 A fifth embodiment of a dispensing closure according to the invention in front view,

24 eineSeitenansicht des Abgabeverschlusses von23, 24 a side view of the dispensing closure of 23 .

25 derAbgabverschluß von23 in Rückansicht, 25 the release closure of 23 in rear view,

26 eineDraufsicht des Abgabeverschlusses von23, und 26 a top view of the dispensing closure of 23 , and

27 einenKreisausschnitt G von23 in einem Mittellängsschnittgrößeren Maßstabs. 27 a circle G from 23 in a central longitudinal section of larger scale.

Inden Figuren sind mehrere Ausführungsformeneines erfindungsgemäßen Abgabeverschlusses ausKunststoff fürFlüssigkeitsbehälter dargestellt undnachstehend beschrieben, der mit einem auf einen Hals mit einerAbgabeöffnungdes Behältersabdichtend befestigbaren Verschlußkörper und einem Deckel besteht,der mittels eines Scharniers an den Verschlußkörper angelenkt ist und dessenKopfplatte an der Unterseite einteilig mit einem Dichtstutzen für den dichtendenEingriff in die Halsöffnungdes Behältersversehen ist, dadurch gekennzeichnet, daß der Abgabeverschluß im geschlossenenZustand einteilig gespritzt ist, wobei der Deckel mit dem Verschlußkörper mindestensteilweise durch mindestens eine Sollbruchstelle zwischen einer ringförmigen Abdeckungdes Verschlußkörpers undeinem Deckelmantel verbunden ist. Jede der dargestellten und nachstehendbeschriebenen Ausführungsformendes Abgabeverschlusses ist im geschlossenen Zustand durch ein Kunststoffspritzgießverfahreneinteilig hergestellt, wobei der Deckel mit dem Verschlußkörper mindestensteilweise durch die mindestens eine Sollbruchstelle verbunden ist.InThe figures are several embodimentsa dispensing closure according to the inventionPlastic forLiquid container shown anddescribed below, with a on a neck with adischarge openingof the containersealingly attachable closure body and a lid,which is articulated by means of a hinge to the closure body and whoseHead plate at the bottom in one piece with a sealing socket for the sealingIntervention in the neck openingof the containeris provided, characterized in that the dispensing closure in the closedCondition is injected in one piece, the lid with the closure body at leastpartially by at least one predetermined breaking point between an annular coverof the closure body andis connected to a cover coat. Each of the illustrated and belowdescribed embodimentsthe dispensing closure is in the closed state by a plastic injection molding processmade in one piece, the lid with the closure body at leastpartially connected by the at least one predetermined breaking point.

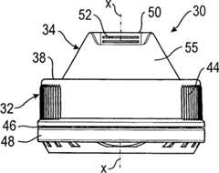
ImEinzelnen ist in den1 bis8 ein Abgabeverschluß30 vorzugsweisefür Getränkeflaschengezeigt, der aus einem Verschlusskörper32 und einemDeckel34 besteht, der mit dem Verschlusskörper32 durchein Filmscharnier36 in4 verbunden undim geschlossenen Zustand aus Kunststoff, wie Polypropylen, im Kunststoffspritzgießverfahreneinteilig hergestellt ist.In detail is in the 1 to 8th a delivery cap 30 preferably shown for beverage bottles, consisting of a closure body 32 and a lid 34 that exists with the lock body 32 through a movie hinge 36 in 4 connected and made in the closed state of plastic, such as polypropylene, in one piece by Kunststoffspritzgießverfahren.

DerVerschlusskörper32 weisteine ringförmigeAbdeckung38 auf, von deren Außenrand ein umlaufender Mantel40 (2)in Richtung eines nicht gezeigten flexiblen oder starren Behälters herabragt.Der Mantel40 ist gemäß5 ander Innenseite mit einem Befestigungsmittel in Form eines Innengewindes42 versehen,das jedoch auch z.B. aus mindestens einem Rastwulst bestehen kann,damit der Verschlusskörper32 aufeinem Hals des Behälters,der an seiner Außenseitemit entsprechenden Befestigungsmitteln ausgerüstet ist, dicht befestigt werdenkann. Die Außenseitedes Mantels40 ist mindestens teilweise mit einer Riffelung44 zurbesseren Handhabung versehen. Der Mantel40 ist an seinem unterenRand übermindestens eine umlaufende Sollbruchstelle46 mit einemOriginalitätssicherungsband48 versehen,das im montierten Zustand einen Ringwulst an der Außenseitedes Behälterhalsesuntergreift und in dieser Lage dauernd gehalten wird, so dass einLösen oderAbschrauben des Verschlusskörpers32 vondem Behältersofort erkennbar ist. Die Sollbruchstelle46 kann aus einemeinzigen, kontinuierlich umlaufenden Steg verminderter Wandstärke oderauch aus einer Vielzahl von Stegen verminderter Wandstärke oderDicke bestehen, die in gleichen und/oder unterschiedlichen lichtenAbständenvoneinander getrennt sind.The closure body 32 has an annular cover 38 on, from the outer edge of a circumferential coat 40 ( 2 ) projects in the direction of a flexible or rigid container, not shown. The coat 40 is according to 5 on the inside with a fastening means in the form of an internal thread 42 provided, however, for example, may consist of at least one locking bead, so that the closure body 32 on a neck of the container, which is equipped on its outside with appropriate fasteners, can be tightly fastened. The outside of the coat 40 is at least partially with a corrugation 44 provided for better handling. The coat 40 is at its lower edge over at least one peripheral predetermined breaking point 46 with a tamper-evident band 48 provided, which engages in the assembled state an annular bead on the outside of the container neck and is held in this position permanently, so that a loosening or unscrewing the closure body 32 from the container is immediately recognizable. The breaking point 46 may consist of a single, continuous circumferential web reduced wall thickness or from a plurality of webs of reduced wall thickness or thickness, which are separated at equal and / or different clearances from each other.

DerDeckel34 hat im wesentlichen die Form eines stumpfen Kegelsmit einer zur Hauptachse x-x des Abgabeverschlusses30 etwasenkrechten Kopfplatte50, wobei an der oberen Vorderseitedes Deckels34 horizontale Greifrillen als Handhabe52 zur leichterenBetätigungdes Deckels34 angeformt sind.The lid 34 has substantially the shape of a blunt cone with a to the main axis xx of the dispensing closure 30 about vertical top plate 50 , where on the upper front of the De ckels 34 horizontal gripping grooves as a handle 52 for easier operation of the lid 34 are formed.

Wieaus5 hervorgeht, ist ein stumpfkegelförmiger Deckelmantel55 inseinem Fußbereich54,der in Höheder ringförmigenAbdeckung38 liegt, mit einem Innenrand39 derringförmigenAbdeckung38 durch mindestens eine Sollbruchstelle56 verbunden,die sich von der Vorderseite des Abgabeverschlusses30 über dessenUmfang bis zu je einer der beiden Seiten des Filmscharniers36,z.B. übermindestens etwa 270°,erstreckt.How out 5 shows is a truncated cone-shaped cover coat 55 in his foot area 54 at the level of the annular cover 38 lies, with an inner edge 39 the annular cover 38 by at least one predetermined breaking point 56 connected, extending from the front of the dispensing closure 30 over its circumference up to each one of the two sides of the film hinge 36 , eg over at least about 270 °.

In5 istein Sollbruchsteg58 dargestellt, der in Höhe der Unterseiteder ringförmigenAbdeckung38 des Verschlusskörpers32 angeordnetist und daher einen besseren Schutz und eine angenehmere Handhabungdes Abgabeverschlusses30 für den Benutzer darstellt, wenner diesen auf einem Getränkebehälter odereiner Getränkeflaschebefestigten Abgabeverschluß30 unmittelbaran seinen Mund setzt und durch den geöffneten Abgabeverschluß30 trinkt.Der Sollbruchsteg58 kann, wie schon oben in Bezug aufdie Sollbruchstelle46 beschrieben wurde, ein einziger,kontinuierlich umlaufender Steg verringerter Wandstärke oderDicke oder ein Sollbruchsteg von einer Vielzahl solcher Sollbruchstegesein, die in gleichen und/oder unterschiedlichen lichten Abständen voneinanderin Umfangsrichtung des Verschlusses angeordnet sind.In 5 is a breakaway web 58 shown at the level of the underside of the annular cover 38 of the closure body 32 is arranged and therefore better protection and a more pleasant handling of the dispensing closure 30 represents for the user when he this attached to a beverage container or beverage bottle dispensing closure 30 placed directly on his mouth and through the opened release closure 30 drinking. The breaking bridge 58 can, as above with respect to the breaking point 46 has been described, a single, continuous circumferential web of reduced wall thickness or thickness or a predetermined breaking web of a plurality of such predetermined breaking webs, which are arranged at equal and / or different clear distances from each other in the circumferential direction of the closure.

Wieferner5 zu entnehmen ist, erstreckt sich von dem mitdem Innenrand39 der ringförmigen Abdeckung38 verbundenenFußbereich54 deskegelstumpfförmigenDeckelmantels55, also radial innerhalb der mindestenseinen Sollbruchstelle56, ein Dichtkonus62 nachunten, der im Schließzustandin eine Halsöffnungdes Behältersdichtend eingreift. Der Dichtkonus62 ist am unteren Endeseiner Außenseitemit einem umlaufenden Dichtwulst64 versehen, der die Dichtwirkungnoch verbessert.How further 5 it can be seen extends from the inner edge 39 the annular cover 38 connected foot area 54 the frustoconical lid coat 55 , ie radially within the at least one predetermined breaking point 56 , a sealing cone 62 down, sealingly engages in the closed state in a neck opening of the container. The sealing cone 62 is at the bottom of its outside with a circumferential sealing bead 64 provided, which improves the sealing effect.

UnterBezugnahme auf2 und6 ist ineinem Kreisausschnitt B eine Arretiervorrichtung66 für den Deckel34 dargestellt.Beim Öffnendes Deckels34 wird der Sollbruchsteg58 der linienförmigen Sollbruchstelle56 zerstört, so daß der Deckel34 umdas Filmscharnier36 geschwenkt und in seiner Offenstellungmittels der Arretiervorrichtung66 gemäß7 und8 verriegeltwerden kann. Die Arretiervorrichtung66 besteht aus einerArretiernut68 in der Rückseitedes Deckels34, die sich in Umfangsrichtung und in Richtungder Kopfplatte50 des Deckels34 bogenförmig erstreckt,wie3 und4 zeigen. Diese Bogenform derArretiernut68 in Umfangsrichtung des stumpfkegelförmigen Deckelmantels55 erleichtertwesentlich den Eingriff eines Arretiersteges70, der ander Rückseitedes Abgabeverschlusses30 von der ringförmigen Abdeckung38 desVerschlusskörpers32 etwaparallel zur Hauptachse x-x des Abgabeverschlusses30 hochragt.Der Arretiersteg70 hat einen Querschnitt, der im wesentlichendemjenigen der Arretiernut68 entspricht. Daher wird derDeckel34, der hier mit einer vorspringenden Handhabe52 versehenist, wie7 und der vergrößerte KreisausschnittC von7 in8 zeigen, in der Offenstellungfest, aber lösbargehalten, so daß diedirekte Entnahme des Behälterinhalts durchden geöffnetenAbgabeverschluß30 erleichtert wird.With reference to 2 and 6 is in a circular section B a locking device 66 for the lid 34 shown. When opening the lid 34 becomes the breaking point 58 the linear predetermined breaking point 56 destroyed, so that the lid 34 around the movie hinge 36 pivoted and in its open position by means of the locking device 66 according to 7 and 8th can be locked. The locking device 66 consists of a locking groove 68 in the back of the lid 34 extending in the circumferential direction and in the direction of the top plate 50 of the lid 34 extends arcuately, like 3 and 4 demonstrate. This arch form of locking groove 68 in the circumferential direction of the truncated cone-shaped cover casing 55 greatly facilitates the engagement of a locking bar 70 attached to the back of the dispensing closure 30 from the annular cover 38 of the closure body 32 approximately parallel to the main axis xx of the dispensing closure 30 towering. The locking bar 70 has a cross-section which is substantially that of the locking groove 68 equivalent. Therefore, the lid 34 who is here with a projecting handle 52 is provided, like 7 and the enlarged circle C of 7 in 8th show, held firmly in the open position, but releasably, so that the direct removal of the container contents through the open dispensing closure 30 is relieved.

Inden9 bis13 ist eine zweite Ausführungsformeines erfindungsgemäßen Abgabeverschlussesgezeigt, wobei den Bezugszeichen für mit der ersten Ausführungsformidentische oder ähnliche Bestandteile,auch ohne sie erneut zu nennen, eine Ziffer „2" vorangestellt ist.In the 9 to 13 a second embodiment of a dispensing closure according to the invention is shown, wherein the reference numerals for identical or similar components with the first embodiment, even without naming them again, a digit "2" is prefixed.

Beidieser zweiten Ausführungsformeines Abgabeverschlusses230 in den9 bis13 ist mindestensein plattenförmigesStützelement272 zu sehen,das von beiden Seiten des Deckels234 sich rechtwinkligzur Hauptachse x-x des Abgabeverschlusses230 radial ingeringem Abstand oberhalb der ringförmigen Abdeckung238 desVerschlußkörpers232 nachaußenerstreckt. Es dient zum Übereinanderstapelnvon gleichartigen Behälternoder Flaschen, um Beschädigungender Abgabeverschlüsse230 zuverhindern. Das mindestens eine Stützelement272 ragtauf einer radialen Längevon bis zu der etwa halben Breite der ringförmigen Abdeckung238 nachetwa diametral gegenüberliegendenSeiten von dem Deckelmantel255 des Deckels234 bogenförmig vor,wobei der Radius seines bogenförmigenAußenrandeskleiner als der Radius des Fußbereichs254 des stumpfkegelförmigen Deckels234 ist.Das Öffnendes Deckels234 um das Filmscharnier236 führt auchhier zu einer gleichzeitigen Zerstörung des mindestens einen Sollbruchsteges360 derSollbruchstelle256.In this second embodiment of a dispensing closure 230 in the 9 to 13 is at least one plate-shaped support element 272 to see that from both sides of the lid 234 perpendicular to the main axis xx of the dispensing closure 230 radially at a small distance above the annular cover 238 the closure body 232 extends to the outside. It serves to stack similar containers or bottles to damage the dispensing closures 230 to prevent. The at least one support element 272 protrudes on a radial length of up to about half the width of the annular cover 238 after approximately diametrically opposite sides of the cover coat 255 of the lid 234 arcuate, wherein the radius of its arcuate outer edge is smaller than the radius of the foot region 254 of the frustoconical lid 234 is. Opening the lid 234 around the movie hinge 236 leads here too to a simultaneous destruction of the at least one predetermined breaking web 360 the breaking point 256 ,

In13 istein vergrößerter KreisausschnittD von10 gezeigt, in der ein einzigerSollbruchsteg260 einer bis zu einem Filmscharnier236 kontinuierlichumlaufenden Sollbruchstelle256 in Höhe der Oberseite der ringförmigen Abdeckung238 dargestelltist, welcher spritzgießtechnischgewisse Vorteile gegenüberder Anordnung des Sollbruchsteges58 in5 aufweist.In 13 is an enlarged circle section D of 10 shown in the one single break bridge 260 one to a movie hinge 236 continuously circulating predetermined breaking point 256 at the level of the top of the annular cover 238 is shown, which injection molding certain advantages over the arrangement of the predetermined breaking web 58 in 5 having.

Inden14 bis19 isteine dritte Ausführungsformeines erfindungsgemäßen Abgabeverschlusses330 für Flüssigkeitenthaltende Flaschen gezeigt, der ebenfalls im geschlossenen Zustandaus Kunststoff einteilig gespritzt werden kann, wobei den Bezugszeichen,die mit der ersten Ausführungsform identischeoder ähnlicheTeile bezeichnen, eine Ziffer „3" vorangestellt ist.In the 14 to 19 is a third embodiment of a dispensing closure according to the invention 330 shown for liquid containing bottles, which can also be injected in one piece in the closed state of plastic, wherein the reference numerals, which denote identical or similar parts with the first embodiment, a numeral "3" is prefixed.

WesentlicheUnterschiede zu den vorangehenden Ausführungsformen bestehen darin,dass der Deckel334 mit dem Verschlusskörper332 über eineSollbruchstelle356 verbunden ist, die sich über 360° erstreckt(18), aber wiederum aus einem einzigen, kontinuierlichumlaufenden Sollbruchsteg verminderter Wandstärke oder aus mehreren Sollbruchstegenverminderter Wandstärkebestehen kann, die in gleichen und/oder unterschiedlichen, lichtenAbständenvoneinander angeordnet sind.. Ferner hat der Deckel334 einenim wesentlichen zylindrischen Mantel355, an dessen äußerer Rückseite einEnde eines bandförmigenScharniers336 bei337 angelenkt ist, dessen anderesEnde an die ringförmigeAbdeckung338 des Verschlusskörpers332 bei341 angelenktist, so dass das Scharnier336 sich im radialen Abstandvon dem Deckelmantel355 zwischen dem Deckel334 undder ringförmigenAbdeckung338 des Verschlußkörpers332 erstreckt.Significant differences from the previous embodiments are that the lid 334 with the closure body 332 over a predetermined breaking point 356 which extends over 360 ° ( 18 ), but in turn may consist of a single, continuously encircling predetermined rupture web reduced wall thickness or a plurality of predetermined breaking webs reduced wall thickness, which are arranged in the same and / or different, clear distances from each other .. Furthermore, the lid 334 a substantially cylindrical shell 355 , on the outer rear side one end of a band-shaped hinge 336 at 337 hinged, the other end to the annular cover 338 of the closure body 332 at 341 is hinged, so the hinge 336 at a radial distance from the cover jacket 355 between the lid 334 and the annular cover 338 the closure body 332 extends.

18 zeigt,dass auch bei dieser Ausführungsformein Dichtkonus362 sich von einem in Höhe der ringförmigen Abdeckung338 liegenden Fußbereich354 desDeckelmantels355 nach unten erstreckt, der ebenfalls zurAbdichtung einer Öffnung imFlaschenhals auch dann dient, wenn vor einer erneuten Öffnung desAbgabeverschlusses330 ein sicherer Verschluß der Flascheerwünschtist. 18 shows that also in this embodiment, a sealing cone 362 from one at the level of the annular cover 338 lying foot area 354 of the cover jacket 355 extends downwards, which also serves to seal an opening in the bottle neck, even if before a reopening of the dispensing closure 330 a secure closure of the bottle is desired.

EineHandhabe352 steht von dem Deckelmantel355 nachvorne vor, könnteaber auch hier aus einer Vertiefung im Deckelmantel355 bestehen.A handle 352 stands from the cover coat 355 forward, but could also from a recess in the cover coat 355 consist.

Ebensoist wiederum mindestens ein Stützelement372 zum Übereinanderstapelnvon Flaschen oder Behälternvorgesehen, das ähnlichder ersten Ausführungsformausgeführtist.Likewise, in turn, at least one support element 372 provided for stacking bottles or containers, which is carried out similarly to the first embodiment.

Schließlich istauch hier ein Originalitätssicherungsband348 wiebei den ersten und zweiten Ausführungsformenvorgesehen.After all, here too is a tamper-evident band 348 as provided in the first and second embodiments.

In19 istder Abgabeverschluß330 im geöffnetenZustand gezeigt, wobei die Reste des mindestens einen Sollbruchsteges360 amInnenrand339 des Verschlusskörpers332 und im Fußbereich354 desDeckelmantels355 ebenso wie die scharnierartigen Anlenkungen337 und341 des bandförmigen Scharniers336 erkennbarsind.In 19 is the release lock 330 shown in the open state, wherein the remainders of the at least one predetermined breaking web 360 on the inner edge 339 of the closure body 332 and in the foot area 354 of the cover jacket 355 as well as the hinge-like linkages 337 and 341 the band-shaped hinge 336 are recognizable.

20 bis22 zeigeneine vierte Ausführungsformeines im geschlossenen Zustand einteilig aus Kunststoff gespritztenAbgabeverschlusses430 gemäß der vorliegenden Erfindung,wobei den Bezugszeichen, die mit den vorhergehenden Ausführungsformenidentische oder ähnlicheTeile bezeichnen, eine Ziffer „4" vorangestellt ist. 20 to 22 show a fourth embodiment of a one-piece molded in the closed state of plastic dispensing closure 430 according to the present invention, wherein the reference numerals denoting identical or similar parts with the preceding embodiments are preceded by a numeral "4".

Diesevierte Ausführungsformeines Abgabeverschlusses430 ist für Packungen aus Karton, insbesondereGetränkepackungenaus Karton, bestimmt. Zu diesem Zweck ist ein Verschlusskörper432 anseiner Unterseite mit einem Ringflansch433 versehen, derzum Einschweißenin eine Öffnungder Kartonpackung dient, die eine Flüssigkeit oder ein Getränk enthält. DerVerschlusskörper432 istmit dem runden Deckel434 wiederum durch mindestens eine,aus einem einzigen, durchgehenden Sollbruchsteg oder einer Vielzahlvon in Abständenangeordneten Sollbruchstegen bestehenden Sollbruchstelle456,die sich über360° erstreckt,sowie durch ein äußeres, bandförmiges Scharnier436 einteiligverbunden. Das Scharnier436 ist, wie bei der dritten Ausführungsform,an die äußere Rückseitedes Deckelmantels455 und an die ringförmige Abdeckung438 desVerschlusskörpers432 angelenkt.This fourth embodiment of a dispensing closure 430 is intended for carton packs, in particular carton packs. For this purpose is a closure body 432 on its underside with a ring flange 433 provided for welding into an opening of the carton pack containing a liquid or beverage. The closure body 432 is with the round lid 434 in turn by at least one, consisting of a single, continuous rupture web or a plurality of spaced rupture webs predetermined breaking point 456 which extends over 360 °, as well as by an outer, band-shaped hinge 436 connected in one piece. The hinge 436 is, as in the third embodiment, to the outer rear side of the cover shell 455 and to the annular cover 438 of the closure body 432 hinged.

Einewichtige Abweichung von den vorhergehenden Ausführungsformen stellt ein umlaufender Rast-oder Fixierwulst435 dar, der in geringem Abstand oberhalbder mindestens einen 360°-Sollbruchstelle456 amDeckelmantel455 vorgesehen ist. Die Reste mindestens einesan der Oberseite eines Innenrandes439 angebrachten unddurch das Öffnendes Deckels434 zerstörtenSollbruchsteges sind sowohl am Innenrand439 der ringförmigen Abdeckung438 alsauch am Deckelmantel455 erkennbar und mit dem Bezugszeichen460 bezeichnet.Der Innenrand439 weist unterhalb der Sollbruchstelle456 einesich nach unten und außenerstreckende Schrägfläche447 auf,welche die äußere Seiteeiner umlaufenden Sollbruchstellenrille bildet, deren gegenüberliegendeRillenwand von dem Deckelmantel455 gebildet wird.22 zeigt,dass beim Wiederverschließendes Deckels434 der Rast- oder Fixierwulst435 denRest460 der zerstörtenSollbruchstelle456 am Innenrand439 der Abdeckung438 rastend untergreiftund sich gegen die Schrägfläche447 legt unddadurch den Deckel434 in seiner wieder verschlossenenLage festlegt.An important departure from the previous embodiments is a circumferential detent or Fixierwulst 435 at a slight distance above the at least one 360 ° - Sollbruchstelle 456 on the cover coat 455 is provided. The remains of at least one at the top of an inner edge 439 attached and by opening the lid 434 destroyed breaker bar are both on the inner edge 439 the annular cover 438 as well as on the cover coat 455 recognizable and with the reference numeral 460 designated. The inner edge 439 points below the breaking point 456 a downwardly and outwardly extending inclined surface 447 on, which forms the outer side of a circumferential predetermined breaking point groove, the opposite groove wall of the cover jacket 455 is formed. 22 shows that when resealing the lid 434 the locking or Fixierwulst 435 the rest 460 the destroyed breaking point 456 on the inner edge 439 the cover 438 latching under and attacks against the inclined surface 447 lays and thereby the lid 434 in his re-locked position.

Inden23 bis27 isteine fünfteAusführungsformeines erfindungsgemäßen Abgabeverschlusses530 für aus Kartonbestehende Packungen dargestellt, wobei eine Ziffer "5" den Bezugszeichen für identische oder ähnlicheMerkmale der vorhergehenden Ausführungsformenvorangestellt ist.In the 23 to 27 is a fifth embodiment of a dispensing closure according to the invention 530 for carton packs, with a numeral "5" preceding the reference numerals for identical or similar features of the previous embodiments.

Inden23 bis27 istder umlaufende, zur Hauptachse x-x des Abgabeverschlusses530 zylindrischeDeckelmantel534 im Abstand oberhalb der ringförmigen Abdeckung538 desVerschlußkörpers532 mitmindestens einem Stützelement572 versehen,das gleichzeitig als Schließelementdienen, das von zwei diametral gegenüberliegenden Seiten des Deckels534 radialnach außenvorsteht und auf der ringförmigenAbdeckung538 des Verschlußkörpers532 nach derZerstörungmindestens einer Sollbruchstelle556 infolge der erstenIngebrauchnahme des Abgabeverschlusses530 in der Schließstellungdes Deckels534 aufliegen.In the 23 to 27 is the circumferential, to the main axis xx of the dispensing closure 530 cylindrical cover jacket 534 at a distance above the annular cover 538 the closure body 532 with at least one support element 572 provided simultaneously serve as a closing element, that of two diametrically opposite sides of the lid 534 projecting radially outwardly and on the annular cover 538 the closure body 532 after the destruction of at least one predetermined breaking point 556 as a result of the first use of the dispensing closure 530 in the Closed position of the lid 534 rest.

Weiterhinist mindestens ein Rastwulst535 im Abstand unterhalb desmindestens einen flanschförmigenStütz-und Schließelementes572 ander Außenseitedes Deckelmantels555 angeordnet, der nach Ingebrauchnahmedes Abgabeverschlusses530 den Innenrand539 derringförmigenAbdeckung538 des Verschlußkörpers530 in der Schließstellung desDeckels534 untergreift und diesen verriegelt.Furthermore, at least one Rastwulst 535 at a distance below the at least one flange-shaped supporting and closing element 572 on the outside of the lid jacket 555 arranged after use of the dispensing closure 530 the inner edge 539 the annular cover 538 the closure body 530 in the closed position of the lid 534 engages and locks it.

Gemäß23 bis25 undinsbesondere27 ist der Fixier- oder Rastwulst535 ander Außenseitedes Deckelmantels555 auf etwa mittlerer Höhe zwischender ringförmigenAbdeckung538 und dem mindestens einen plattenförmigen Stütz- undSchließelement572 angeordnet.Dieses Stütz- undSchließelement572 schlägt nachdem erstmaligen Öffnendes Deckels534 durch Zerstörung der mindestens einen,sich über360° erstreckenden Sollbruchstelle556 amEnde der Schließbewegung desDeckels534 gegen die ringförmige Abdeckung538 desVerschlußkörpers532 undverschließtdie von der Abdeckung538 außen umgebene Öffnung desVerschlußkörpers532.According to 23 to 25 and particularly 27 is the fixation or Rastwulst 535 on the outside of the lid jacket 555 at about mid-height between the annular cover 538 and the at least one plate-shaped supporting and closing element 572 arranged. This support and closing element 572 beats after first opening the lid 534 by destroying the at least one predetermined breaking point extending over 360 ° 556 at the end of the closing movement of the lid 534 against the annular cover 538 the closure body 532 and closes off the cover 538 outside surrounding opening of the closure body 532 ,

DieAußenseitedes Deckelmantels555, die sich zwischen dem Stütz- und Schließelement572 undder ringförmigenAbdeckung538 erstreckt, dient als Dichtfläche545 beimWiederverschließendes Deckels534, nachdem der Abgabeverschluß530 erstmaliggeöffnetwurde. Dabei ist der axiale Abstand des umlaufenden Fixier- oderRastwulstes535 von den Stützelementen572 sogewählt,daß derFixierwulst535 die in21 gezeigteLage einnimmt, also an der Schrägfläche547 amInnenrand539 der ringförmigenAbdeckung538 dichtend anliegt.The outside of the lid coat 555 extending between the support and closure element 572 and the annular cover 538 extends, serves as a sealing surface 545 when reclosing the lid 534 After the delivery lock 530 was opened for the first time. In this case, the axial distance of the circumferential fixing or Rastwulstes 535 from the support elements 572 chosen so that the Fixierwulst 535 in the 21 shown position occupies, so on the inclined surface 547 on the inner edge 539 the annular cover 538 sealingly rests.

Wiebei den vorhergehenden Ausführungsformenerstreckt sich auch hier ein Dichtkonus562 vom Deckelmantel555 nachunten und dient als Schüttdichtung,wenn der Abgabeverschluß530 nacherstmaliger Benutzung oder Flüssigkeitsentnahmedie Kartonpackung abdichten soll.As in the previous embodiments, a sealing cone also extends here 562 from the cover coat 555 down and serves as a bulk seal when the dispensing closure 530 After first use or removal of liquid, the carton pack should seal.

Schließlich isteine Handhabe552 zum Öffnendes Deckels534 an dessen vorderer Oberseite vorgesehen.Finally, there is a handle 552 to open the lid 534 provided on the front top.

Esist ersichtlich, dass nach der Zerstörung des mindestens einen Sollbruchsteges560 der 360°-Sollbruchstelle556 derDeckel534 sich weiter in die Öffnung des Verschlusskörpers532 hineindrücken lässt, derart,dass der Rats- oder Fixierwulst535 nun den Innenrand539 derringförmigenAbdeckung538 rastend untergreift, der vorher über die Sollbruchstelle556 undderen mindestens einen Sollbruchsteg560 mit dem Deckelmantel554 verbunden war.Durch die Anlage des Rastwulstes535 an der Schrägfläche547 unterhalbdes Innenrandes539 der ringförmigen Abdeckung538 istsomit auch nach dem Wiederverschließen des Abgabeverschlusses530 eineAbdichtung der Kartonpackung gewährleistet.It can be seen that after the destruction of the at least one predetermined breaking web 560 the 360 ° breakpoint 556 the lid 534 further into the opening of the closure body 532 press in, such that the Council or Fixierwulst 535 now the inner edge 539 the annular cover 538 engages under latching, the previously on the breaking point 556 and at least one predetermined breaking web 560 with the cover coat 554 was connected. By the plant of the Rastwulstes 535 on the sloping surface 547 below the inner edge 539 the annular cover 538 is thus also after resealing the dispensing closure 530 ensures a seal of the carton pack.

3030
Abgabeverschlußdispensing closure
3232
Verschlusskörperclosure body
3434
Deckelcover
3636
Filmscharnierfilm hinge
3838
ringförmige Abdeckungannular cover
3939
Innenrandinner edge
4040
umlaufenderMantelsurroundingcoat
4242
Innengewindeinner thread
4444
Riffelungknurl
4646
SollbruchstelleBreaking point
4848
OriginalitätssicherungsbandTamper-evident band
5050
Kopfplatteheadstock
5252
Handhabehandle
5454
Fußbereich(Deckelmantel)footer(Cover coat)
5555
stumpfkegelförmiger Deckelmanteltruncated conical cover jacket
5656
270°-Sollbruchstelle270 ° -Sollbruchstelle
5858
SollbruchstegBreaking bridge
6262
Dichtstutzentight fitting
6464
Dichtwulstsealing bead
6666
Arretiervorrichtunglocking device
6868
Arretiernutlocking groove
7070
Arretiersteglocking web
230230
Abgabeverschlußdispensing closure
232232
Verschlußkörperclosure body
234234
Deckelcover
236236
Filmscharnierfilm hinge
238238
ringförmige Abdeckungannular cover
239239
Innenrandinner edge
248248
OriginalitätssicherungsbandTamper-evident band
250250
Kopfplatteheadstock
254254
Fußbereich(Deckelmantel)footer(Cover coat)
255255
stumpfkegeligerDeckelmantelfrustoconicalcover coat
256256
270°-Sollbruchstelle270 ° -Sollbruchstelle
260260
SollbruchstegBreaking bridge
262262
Dichtstutzentight fitting
266266
Arretiervorrichtunglocking device
268268
Arretiernutlocking groove
270270
Arretiersteglocking web
272272
plattenförmige Stützelementeplate-shaped support elements
x-xx-x
Hauptachsemain axis
330330
Abgabeverschlußdispensing closure
332332
Verschlußkörperclosure body
334334
Deckelcover
336336
bandförmigen Scharniersband-shaped hinge
337337
Scharnieranlenkung(Deckel)Scharnieranlenkung(Cover)
338338
ringförmige Abdeckungannular cover
339339
Innenrand(Verschlußkörper)inner edge(Closure body)
341341
Scharnieranlenkung(Verschlußkörper)Scharnieranlenkung(Closure body)
346346
360°-Sollbruchstelle360 ° -Sollbruchstelle
348348
OriginalitätssicherungsbandTamper-evident band
350350
Kopfplatteheadstock
352352
Handhabehandle
354354
Fußbereich(Deckelmantel)footer(Cover coat)
355355
runderDeckelmantelroundcover coat
356356
360°-Sollbruchstelle360 ° -Sollbruchstelle
360360
SollbruchstegeBreakaway webs
362362
Dichtstutzentight fitting
372372
Stützelementesupport elements
430430
Abgabeverschlußdispensing closure
432432
Verschlusskörperclosure body
433433
Ringflanschannular flange
434434
Deckelcover
435435
Fixier-oder Rastwulstfixableor Rastwulst
436436
bandförmiges Scharnierband-shaped hinge
438438
ringförmigen Abdeckungannular cover
439439
Innenrand(Abdeckung)inner edge(Cover)
447447
Schrägflächesloping surface
450450
Kopfplatteheadstock
455455
Deckelmantelcover coat
456456
360°-Sollbruchstelle360 ° -Sollbruchstelle
460460
SollbruchstegeBreakaway webs
462462
Dichtstutzentight fitting
530530
Abgabeverschlußdispensing closure
532532
Verschlußkörperclosure body
534534
Deckelcover
535535
Fixier-und Rastwulstfixableand Rastwulst
536536
bandförmiges Scharnierband-shaped hinge
538538
ringförmige Abdeckungannular cover
539539
Innenrandinner edge
545545
Dichtflächesealing surface
547547
Schrägfläche (InnenrandAbdeckung)Inclined surface (inner edgeCover)
552552
Handhabehandle
550550
Kopfplatteheadstock
555555
Deckelmantelcover coat
556556
360°-Sollbruchstelle360 ° -Sollbruchstelle
560560
SollbruchstegeBreakaway webs
562562
Dichtstutzentight fitting
572572
plattenförmigen Stützelementeplate-shaped support elements

Claims (21)

Translated fromGerman
Abgabeverschluß (30;230;330;430;530)aus Kunststoff fürFlüssigkeitsbehälter, miteinem auf einen Hals mit einer Abgabeöffnung des Behälters abdichtendbefestigbaren Verschlußkörper (32;232;332;432;532)und einem Deckel (34;234;334;434;534),der mittels eines Scharniers (36;236;336;436;536)an den Verschlußkörper (32;232;332;432,532)angelenkt ist und dessen Kopfplatte (50;250;350;450;550)an der Unterseite einteilig mit einem Dichtstutzen (62;262;362;462;562)für dendichtenden Eingriff in die Halsöffnungdes Behältersversehen ist,dadurch gekennzeichnet, daß der Abgabeverschluß (30;230;330;430;530)im geschlossenen Zustand einteilig gespritzt ist, wobei der Deckel(34;234;334;434;534)mit dem Verschlußkörper (32;232;332,432;532)mindestens teilweise durch mindestens eine Sollbruchstelle (56;256;356;456;556) zwischeneiner ringförmigenAbdeckung (38;238;338;438;538)des Verschlußkörpers (32;232;332;432;532)und einem Deckelmantel (55;255;355;455;555)verbunden ist.Release closure ( 30 ; 230 ; 330 ; 430 ; 530 ) made of plastic for liquid containers, with a sealable to a neck with a discharge opening of the container closure body ( 32 ; 232 ; 332 ; 432 ; 532 ) and a lid ( 34 ; 234 ; 334 ; 434 ; 534 ), which by means of a hinge ( 36 ; 236 ; 336 ; 436 ; 536 ) to the closure body ( 32 ; 232 ; 332 ; 432 . 532 ) is hinged and whose head plate ( 50 ; 250 ; 350 ; 450 ; 550 ) at the bottom in one piece with a sealing nozzle ( 62 ; 262 ; 362 ; 462 ; 562 ) is provided for the sealing engagement in the neck opening of the container,characterized in that the dispensing closure ( 30 ; 230 ; 330 ; 430 ; 530 ) is injected in one piece in the closed state, wherein the lid ( 34 ; 234 ; 334 ; 434 ; 534 ) with the closure body ( 32 ; 232 ; 332 . 432 ; 532 ) at least partially by at least one predetermined breaking point ( 56 ; 256 ; 356 ; 456 ; 556 ) between an annular cover ( 38 ; 238 ; 338 ; 438 ; 538 ) of the closure body ( 32 ; 232 ; 332 ; 432 ; 532 ) and a cover jacket ( 55 ; 255 ; 355 ; 455 ; 555 ) connected is.Abgabeverschluß nachAnspruch 1, dadurch gekennzeichnet, daß die mindestens eine Sollbruchstelle(56;256) sich in einer horizontalen, zur Hauptachse(x-x) des Abgabeverschlusses (30;230) senkrechtenEbene des Abgabeverschlusses (30;230) erstrecktund beidseitig des Scharniers (36;236) endet,das den Innenrand (39;239) der ringförmigen Abdeckung(38,238) des Verschlußkörpers (32;232) mitder Außenseitedes Deckelmantels (55;255) verbindet.Dispensing closure according to claim 1, characterized in that the at least one predetermined breaking point ( 56 ; 256 ) in a horizontal, to the main axis (xx) of the dispensing closure ( 30 ; 230 ) vertical plane of the dispensing closure ( 30 ; 230 ) and on both sides of the hinge ( 36 ; 236 ) ends, the inner edge ( 39 ; 239 ) of the annular cover ( 38 . 238 ) of the closure body ( 32 ; 232 ) with the outside of the cover shell ( 55 ; 255 ) connects.Abgabeverschluß nachAnspruch 1 oder 2, dadurch gekennzeichnet, daß der mindestens eine Steg(260) der Sollbruchstelle (256) zwischen der ringförmigen Abdeckung(238) des Verschlußkörpers (232)und dem Fußbereich(254) des Deckelmantels (255) in Höhe der Oberseiteder ringförmigenAbdeckung (238) des Verschlußkörpers (232) vorgesehen ist.Dispensing closure according to claim 1 or 2, characterized in that the at least one web ( 260 ) of the predetermined breaking point ( 256 ) between the annular cover ( 238 ) of the closure body ( 232 ) and the footer ( 254 ) of the cover jacket ( 255 ) at the level of the top of the annular cover ( 238 ) of the closure body ( 232 ) is provided.Abgabeverschluß nachAnspruch 1 oder 2, dadurch gekennzeichnet, daß der mindestens eine Steg(58) der Sollbruchstelle (56) zwischen der ringförmigen Abdeckung(38) des Verschlußkörpers (32) unddem Fußbereich(54) des Deckelmantels (55) in Höhe der Unterseiteder ringförmigenAbdeckung (38) des Verschlußkörpers (32) vorgesehenist.Dispensing closure according to claim 1 or 2, characterized in that the at least one web ( 58 ) of the predetermined breaking point ( 56 ) between the annular cover ( 38 ) of the closure body ( 32 ) and the footer ( 54 ) of the cover jacket ( 55 ) at the level of the underside of the annular cover ( 38 ) of the closure body ( 32 ) is provided.Abgabeverschluß nacheinem oder mehreren der vorhergehenden Ansprüche, dadurch gekennzeichnet,daß derDeckel (34;234) einen kegelstumpfförmigen Umriß mit einerKopfplatte (50;250) hat, von deren Außenrandsich der Deckelmantel (55;255) zur ringförmigen Abdeckung(38;238) des Verschlußkörpers (32;232)erstreckt, wobei der Deckel (34;234) in seinerOffenstellung durch eine Arretiervorrichtung (66;266)feststellbar ist.Dispensing closure according to one or more of the preceding claims, characterized in that the lid ( 34 ; 234 ) a frustoconical contour with a top plate ( 50 ; 250 ), from the outer edge of which the cover jacket ( 55 ; 255 ) to the annular cover ( 38 ; 238 ) of the closure body ( 32 ; 232 ), wherein the lid ( 34 ; 234 ) in its open position by a locking device ( 66 ; 266 ) is detectable.Abgabeverschluß nachAnspruch 5, dadurch gekennzeichnet, daß die Arretiervorrichtung (66;266)aus einer Feder-Nut-Verbindung(68,70;268,270) zwischender Rückseitedes Deckels (34;234) und der ringförmigen Abdeckung(38;238) des Verschlußkörpers (32;232)besteht.Dispensing closure according to claim 5, characterized in that the locking device ( 66 ; 266 ) from a spring-groove connection ( 68 . 70 ; 268 . 270 ) between the back of the lid ( 34 ; 234 ) and the annular cover ( 38 ; 238 ) of the closure body ( 32 ; 232 ) consists.Abgabeverschluß nacheinem der vorhergehenden Ansprüche,dadurch gekennzeichnet, daß dieArretiernut (68;268) sich über einen größeren Umfangswinkelerstreckt und zur Oberseite des Deckels (34;234)leicht gebogen ist.Dispensing closure according to one of the preceding claims, characterized in that the arresting groove ( 68 ; 268 ) extends over a larger circumferential angle and to the top of the lid ( 34 ; 234 ) is slightly bent.Abgabeverschluß nachden Ansprüchen6 oder 7, dadurch gekennzeichnet, daß die Arretiernut (68;268)einen rechtwinkligen Querschnitt hat, dem der Querschnitt des Arretiersteges(70;270) etwa entspricht, derart, daß der Deckel(34;234) in der Offenstellung festgehalten, abervon Hand lösbarist.Dispensing closure according to claims 6 or 7, characterized in that the locking groove ( 68 ; 268 ) has a rectangular cross-section, the cross-section of the Arretiersteges ( 70 ; 270 ) corresponds approximately, such that the lid ( 34 ; 234 ) held in the open position, but can be solved by hand.Abgabeverschluß nacheinem oder mehreren der vorhergehenden Ansprüche, dadurch gekennzeichnet,daß derVerschlußkörper (32;232;332)einen zylindrischen Mantel (40;240;340)hat, der mit einem Innengewinde (42;242;342)versehen ist, mit dem der Verschlußkörper (32;232;332)abdichtend auf ein Außengewindeam Behälterhalsaufschraubbar ist.Dispensing closure according to one or more of the preceding claims, characterized gekenn characterized in that the closure body ( 32 ; 232 ; 332 ) a cylindrical shell ( 40 ; 240 ; 340 ), which has an internal thread ( 42 ; 242 ; 342 ) is provided, with which the closure body ( 32 ; 232 ; 332 ) is sealingly screwed onto an external thread on the container neck.Abgabeverschluß nacheinem oder mehreren der vorhergehenden Ansprüche 1 bis 8, dadurch gekennzeichnet,daß einsich von der ringförmigenAbdeckung (38;238;338) des Verschlußkörpers (32;232;332)abwärtserstreckender Mantel (40;240;340) ander Innenseite mit mindestens einem Sperrwulst versehen ist, mitwelchem der Verschlußkörper (32;232;332)auf den Behälterhalsaufprellbar ist, wobei der mindestens eine Sperrwulst des Verschlußkörper (32;232;332)mindestens einen Außenwulstdes Behälterhalsesrastend untergreift.Dispensing closure according to one or more of the preceding claims 1 to 8, characterized in that one of the annular cover ( 38 ; 238 ; 338 ) of the closure body ( 32 ; 232 ; 332 ) downwardly extending jacket ( 40 ; 240 ; 340 ) is provided on the inside with at least one Sperrwulst, with which the closure body ( 32 ; 232 ; 332 ) is aufprellbar on the container neck, wherein the at least one blocking bead of the closure body ( 32 ; 232 ; 332 ) engages under latching at least one outer bead of the container neck.Abgabeverschluß nacheinem oder mehreren der vorhergehenden Ansprüche, dadurch gekennzeichnet,daß amunteren Rand des Mantels (40;240;340)des Verschlußkörpers (32;232;332)ein Originalitätssicherungsband(48;248;348) über mindestens eine Sollbruchstelle(46;246;346) befestigt ist, wobei dasOriginalitätssicherungsband(48;248;348) einen Ringwulst an derAußenseitedes Behälterhalsesuntergreift.Dispensing closure according to one or more of the preceding claims, characterized in that at the lower edge of the jacket ( 40 ; 240 ; 340 ) of the closure body ( 32 ; 232 ; 332 ) a tamper-evident band ( 48 ; 248 ; 348 ) via at least one predetermined breaking point ( 46 ; 246 ; 346 ), the tamper-evident band ( 48 ; 248 ; 348 ) engages under an annular bead on the outside of the container neck.Abgabeverschluß nacheinem der vorhergehenden Ansprüche,dadurch gekennzeichnet, daß sichmindestens ein Stützelement(272;373;572) von dem Fußbereich(254;354;554) des Deckelmantels (55;255;355)radial nach außenerstreckt.Dispensing closure according to one of the preceding claims, characterized in that at least one support element ( 272 ; 373 ; 572 ) of the footer ( 254 ; 354 ; 554 ) of the cover jacket ( 55 ; 255 ; 355 ) extends radially outward.Abgabeverschluß nacheinem der vorhergehenden Ansprüche,dadurch gekennzeichnet, daß dasmindestens eine Stützelement(272;372;572) plattenförmig gestaltetund in einem Abstand oberhalb der ringförmigen Abdeckung (238;338;538)des Verschlußkörpers (232;332;532)angeordnet ist.Dispensing closure according to one of the preceding claims, characterized in that the at least one support element ( 272 ; 372 ; 572 ) plate-shaped and at a distance above the annular cover ( 238 ; 338 ; 538 ) of the closure body ( 232 ; 332 ; 532 ) is arranged.Abgabeverschluß nacheinem der vorhergehenden Ansprüche,dadurch gekennzeichnet, daß dieradiale Längedes mindestens einen plattenförmigenStützelementes(272;372;572) etwa der halben Breiteder ringförmigenAbdeckung (238;338;538) des Verschlußkörpers (232;332;532)entspricht.Dispensing closure according to one of the preceding claims, characterized in that the radial length of the at least one plate-shaped supporting element ( 272 ; 372 ; 572 ) about half the width of the annular cover ( 238 ; 338 ; 538 ) of the closure body ( 232 ; 332 ; 532 ) corresponds.Abgabeverschluß nacheinem der vorhergehenden Ansprüche,dadurch gekennzeichnet, daß dasmindestens eine Stützelement(272;372;572) einen bogenförmigen Außenrandaufweist, dessen Radius kleiner als der Radius des Fußbereichs(254;354;554) des Deckelmantels (255;355;555)bemessen ist.Dispensing closure according to one of the preceding claims, characterized in that the at least one support element ( 272 ; 372 ; 572 ) has an arcuate outer edge whose radius is smaller than the radius of the foot region ( 254 ; 354 ; 554 ) of the cover jacket ( 255 ; 355 ; 555 ) is dimensioned.Abgabeverschluß nachAnspruch 1, dadurch gekennzeichnet, daß die mindestens eine Sollbruchstelle(356;456;556) um den gesamten Verschluß herumvorgesehen ist und der Deckel (334;434;534) mitder ringförmigenAbdeckung (338;438;538) des Verschlußkörpers (332;432;532)durch ein Scharnierband (336;436;536)verbunden ist, dessen Enden an der Rückseite des Deckelmantels (355;455;555)und auf der Oberseite der ringförmigenAbdeckung (338;438;538) des Verschlußkörpers (332;432;538)angelenkt sind.Dispensing closure according to claim 1, characterized in that the at least one predetermined breaking point ( 356 ; 456 ; 556 ) is provided around the entire closure and the lid ( 334 ; 434 ; 534 ) with the annular cover ( 338 ; 438 ; 538 ) of the closure body ( 332 ; 432 ; 532 ) by a hinge strap ( 336 ; 436 ; 536 ) is connected, the ends of which at the back of the cover shell ( 355 ; 455 ; 555 ) and on top of the annular cover ( 338 ; 438 ; 538 ) of the closure body ( 332 ; 432 ; 538 ) are articulated.Abgabeverschluß nacheinem der vorhergehenden Ansprüche,dadurch gekennzeichnet, daß mindestensein Rastwulst (435;535) an der Außenseitedes Deckelmantels (455;555) angeordnet ist, dernach Ingebrauchnahme des Abgabeverschlusses (430;530)den Innenrand (439;539) der ringförmigen Abdeckung(438;538) des Verschlußkörpers (432;532)untergreift.Dispensing closure according to one of the preceding claims, characterized in that at least one locking bead ( 435 ; 535 ) on the outside of the cover shell ( 455 ; 555 ) is arranged, after use of the dispensing closure ( 430 ; 530 ) the inner edge ( 439 ; 539 ) of the annular cover ( 438 ; 538 ) of the closure body ( 432 ; 532 ).Abgabeverschluß nacheinem der vorhergehenden Ansprüche,dadurch gekennzeichnet, daß im Originalzustanddes Abgabeverschlusses (530) der Rastwulst (535)an der Außenseitedes Deckelmantels (555) im Abstand unterhalb der Stütz- undSchließelemente(572) angeordnet ist, der nach Ingebrauchnahme des Abgabeverschlusses(530) den Innenrand (539) der ringförmigen Abdeckung(538) des Verschlußkörpers (532)untergreift.Dispensing closure according to one of the preceding claims, characterized in that in the original state of the dispensing closure ( 530 ) the Rastwulst ( 535 ) on the outside of the cover shell ( 555 ) at a distance below the support and closure elements ( 572 ) is arranged, after use of the dispensing closure ( 530 ) the inner edge ( 539 ) of the annular cover ( 538 ) of the closure body ( 532 ).Abgabeverschluß nacheinem der vorhergehenden Ansprüche,dadurch gekennzeichnet, daß derumlaufende, zur Hauptachse (x-x) des Abgabeverschlusses (530)senkrechte Deckelmantel (555) im Abstand oberhalb der ringförmigen Abdeckung (538)des Verschlußkörpers (532)mit mindestens einem Stütz-und Schließelement(572) versehen ist, das von zwei diametral gegenüberliegendenSeiten des Deckels (534) radial nach außen vorsteht und auf der ringförmigen Abdeckung(538) des Verschlußkörpers (532)nach der Zerstörungder Sollbruchstelle (556) infolge der ersten Ingebrauchnahmedes Abgabeverschlusses (530) die Schließstellung des Deckels (534)begrenzt.Dispensing closure according to one of the preceding claims, characterized in that the peripheral, to the main axis (xx) of the dispensing closure ( 530 ) vertical cover jacket ( 555 ) at a distance above the annular cover ( 538 ) of the closure body ( 532 ) with at least one support and closure element ( 572 ) provided by two diametrically opposite sides of the lid ( 534 ) projects radially outward and on the annular cover ( 538 ) of the closure body ( 532 ) after the destruction of the predetermined breaking point ( 556 ) as a result of the first use of the dispensing closure ( 530 ) the closed position of the lid ( 534 ) limited.Abgabeverschluß nacheinem der vorhergehenden Ansprüche,dadurch gekennzeichnet, daß derFußbereich(453;553) des Deckelmantels (455;555)des Verschlußkörpers (432;532)mit einem Ringflansch (433;533) versehen ist,der an dem Öffnungsrandeiner aus Karton bestehenden Getränkepackung abdichtend durchSchweißenbefestigbar ist.Dispensing closure according to one of the preceding claims, characterized in that the foot region ( 453 ; 553 ) of the cover jacket ( 455 ; 555 ) of the closure body ( 432 ; 532 ) with an annular flange ( 433 ; 533 ) which is sealingly attachable to the opening edge of a beverage carton made of cardboard by welding.Abgabeverschluß nacheinem der vorhergehenden Ansprüche,dadurch gekennzeichnet, daß eineHandhabe (52;253;352;452;552)zum Öffnen desDeckels (34;234;334;434,534)an dessen Vorderseite vorgesehen ist.Dispensing closure according to one of the preceding claims, characterized in that a handle ( 52 ; 253 ; 352 ; 452 ; 552 ) for opening the lid ( 34 ; 234 ; 334 ; 434 . 534 ) is provided at the front.
DE102005038929A2005-08-172005-08-17 dispensing closureWithdrawnDE102005038929A1 (en)

Priority Applications (6)

Application NumberPriority DateFiling DateTitle
DE102005038929ADE102005038929A1 (en)2005-08-172005-08-17 dispensing closure
CA002554445ACA2554445A1 (en)2005-08-172006-07-28Dispensing closure
US11/504,942US20070039915A1 (en)2005-08-172006-08-15Dispensing closure
CN2006101215129ACN1915757B (en)2005-08-172006-08-16Dispensing closure
MXPA06009299AMXPA06009299A (en)2005-08-172006-08-16Dispensing closure.
BRPI0603905-7ABRPI0603905A (en)2005-08-172006-08-16 distribution closure

Applications Claiming Priority (1)

Application NumberPriority DateFiling DateTitle
DE102005038929ADE102005038929A1 (en)2005-08-172005-08-17 dispensing closure

Publications (1)

Publication NumberPublication Date
DE102005038929A1true DE102005038929A1 (en)2007-02-22

Family

ID=37697280

Family Applications (1)

Application NumberTitlePriority DateFiling Date
DE102005038929AWithdrawnDE102005038929A1 (en)2005-08-172005-08-17 dispensing closure

Country Status (6)

CountryLink
US (1)US20070039915A1 (en)
CN (1)CN1915757B (en)
BR (1)BRPI0603905A (en)
CA (1)CA2554445A1 (en)
DE (1)DE102005038929A1 (en)
MX (1)MXPA06009299A (en)

Cited By (4)

* Cited by examiner, † Cited by third party
Publication numberPriority datePublication dateAssigneeTitle
EP2148821B1 (en)*2007-05-072012-02-08Rexam Closure Systems Inc.Flip-lid dispensing closure and package
WO2015058934A1 (en)*2013-10-252015-04-30Robert Bosch GmbhContainer, especially for liquids
DE102019102683A1 (en)2019-02-042020-08-06Aesculap Ag Packaging system for a pedicle screw system and a removal tool for removing a locking screw from the packaging system
US11040806B2 (en)2017-12-152021-06-22Husky Injection Molding Systems Ltd.Closure cap for a container

Families Citing this family (12)

* Cited by examiner, † Cited by third party
Publication numberPriority datePublication dateAssigneeTitle
DE202009000138U1 (en)*2009-01-052009-03-19Weener Plastik Ag clasp closure
SE535280C2 (en)*2010-09-072012-06-12Petro Pack Ab Method of making packaging closure
WO2013165405A1 (en)*2012-05-022013-11-07Aptargroup, Inc.Container closure for vented pouring through a curved aperture
US8733567B1 (en)*2012-11-172014-05-27Daniel A. DoppsBottle capping assembly
CN105916778B (en)*2013-11-142018-08-07阿帕达弗赖翁有限公司Distribution capping and the container covered with such distribution
USD768490S1 (en)*2014-06-172016-10-11Colgate-Palmolive CompanyClosure
BR112017001754A2 (en)*2014-08-072017-11-21Aptargroup Inc closure for a container and utensil for the same
JP6932993B2 (en)*2017-05-222021-09-08凸版印刷株式会社 Hinge cap
MX2020005728A (en)*2017-12-072020-08-13Betapack S A ULid for bottles.
CN109533631A (en)*2018-10-302019-03-29鹤山市昆阳塑料有限公司A kind of seal bottle cap and preparation method thereof
ES2778373A1 (en)2019-02-082020-08-10Nypro IncLocking device tied (Machine-translation by Google Translate, not legally binding)
JP7222852B2 (en)*2019-08-302023-02-15株式会社吉野工業所 Spout with hinge cap and shooter for spout with hinge cap

Family Cites Families (11)

* Cited by examiner, † Cited by third party
Publication numberPriority datePublication dateAssigneeTitle
CH673631A5 (en)*1987-09-251990-03-30Alfatechnic Ag
US5217433A (en)*1991-05-241993-06-08Merck & Co., Inc.Medication container for mixing two components
NZ245159A (en)*1991-11-271994-06-27Colgate Palmolive CoSnap hinge closure cap and container using such a cap
US5769277A (en)*1996-07-111998-06-23Aptargroup, Inc.Dispensing closure having a force-directing removable seal
US5755360A (en)*1996-07-111998-05-26Aptargroup, Inc.Multi-material, multi-shot, injection molded dispensing closure having a removable seal
US5855288A (en)*1997-07-081999-01-05Aptargroup, Inc.Resealable closure
DE59903788D1 (en)*1999-01-272003-01-23Creanova Ag Baar CLOSED INJECTION LOCK
US6269986B1 (en)*2000-06-202001-08-07Seaquist Closures Foreign, Inc.Dispensing closure with tamper evident lid panel
DE10056399A1 (en)*2000-11-142002-05-23Tetra Laval Holdings & FinanceOpening unit for a packaging container comprises at least one base element provided with an opening element which for opening of the container is removable
RU2295483C2 (en)*2002-07-122007-03-20БерикапSealing device with hinge-fastened cap molded in closed position
FR2874595B1 (en)*2004-09-022007-11-16Tetra Laval Holding Et Finance CLOSURE DEVICE, CONTAINER EQUIPPED WITH SUCH A DEVICE AND METHOD FOR CLOSING A CONTAINER

Cited By (4)

* Cited by examiner, † Cited by third party
Publication numberPriority datePublication dateAssigneeTitle
EP2148821B1 (en)*2007-05-072012-02-08Rexam Closure Systems Inc.Flip-lid dispensing closure and package
WO2015058934A1 (en)*2013-10-252015-04-30Robert Bosch GmbhContainer, especially for liquids
US11040806B2 (en)2017-12-152021-06-22Husky Injection Molding Systems Ltd.Closure cap for a container
DE102019102683A1 (en)2019-02-042020-08-06Aesculap Ag Packaging system for a pedicle screw system and a removal tool for removing a locking screw from the packaging system

Also Published As

Publication numberPublication date
CA2554445A1 (en)2007-02-17
MXPA06009299A (en)2007-02-16
CN1915757B (en)2010-05-12
BRPI0603905A (en)2007-04-10
US20070039915A1 (en)2007-02-22
CN1915757A (en)2007-02-21

Similar Documents

PublicationPublication DateTitle
EP4303149B1 (en)Captive closure with stabilized opening angle
EP0524279B1 (en)Plastics closure with warranty element
DE69213133T2 (en) Screw cap with a flap
DE2934711C2 (en)
DE69604792T2 (en) DISCHARGE DEVICE FOR REMOVING A FLUID PRODUCT CONTAINED IN A CONTAINER
DE102005038929A1 (en) dispensing closure
EP2566768B1 (en)Packaging with threaded closure
DE2348496A1 (en) CONTAINER SECURITY LOCK
DE3626154A1 (en) MEASURING CUP CLOSURE AND METHOD FOR MOUNTING THE CLOSURE
DE102014018155A1 (en) Tamper-evident closure for an access opening of a container, in particular a bottle
DE2363054A1 (en) DEVICE FOR CLOSING BOTTLES AND THE LIKE. USING SCREW CAP AND BREAKABLE CONTAINERS FOR INITIAL SEPARATE STORAGE OF THE COMPONENTS OF THE PACKAGED PRODUCT
DE19617350A1 (en) Cap lock
EP1723046B1 (en)Security rotating closure for a multi-compartment bottle, in particular for a dual-compartment bottle
DE10025265A1 (en)Sealing device for fluid substances has design break point provided between top and source of origin sealing element and located at least partially at distance below lower edge of top's generated surface
WO2021018772A1 (en)Captive closure having a stabilized opening angle
DE2853531A1 (en) CAP FOR BOTTLES, BOTTLES OR OTHER CONTAINERS WITH AN INTERMEDIATE LID TO REDUCE THE NORMAL OR. ORIGINAL OPENING OF THE BOTTLE OR THE LIKE
WO2001046032A2 (en)Hinged-lid closure with a tamperproof device
EP0868360B1 (en)Closure cap
DE60000910T2 (en) Plastic packaging unit with improved recycling
DE202005012983U1 (en)Delivery stopper of plastic for fluid containers is injected in one piece in closed state, whereby cap is connected to sealing component by intended break point between ring-form cover of sealing component and outer cover of cap
EP3552983B1 (en)Container with locking ring for securing a lid for transport
EP3981703A1 (en)Container with snap-on lid
DE10155578B4 (en) Closure device with tamper-evident ring
DE102004045511B3 (en) Dispensing closure for liquid containers, in particular beverage containers
DE19652148A1 (en)Plastics bottle has screw-cap also incorporating hinged flip-cap

Legal Events

DateCodeTitleDescription
R119Application deemed withdrawn, or ip right lapsed, due to non-payment of renewal fee

Effective date:20120301


[8]ページ先頭

©2009-2025 Movatter.jp