Movatterモバイル変換


[0]ホーム

URL:


CN218900414U - Connector with a plurality of connectors - Google Patents

Connector with a plurality of connectors
Download PDF

Info

Publication number
CN218900414U
CN218900414UCN202220733072.7UCN202220733072UCN218900414UCN 218900414 UCN218900414 UCN 218900414UCN 202220733072 UCN202220733072 UCN 202220733072UCN 218900414 UCN218900414 UCN 218900414U
Authority
CN
China
Prior art keywords
slider
fluid
connector
fluid channel
pressure
Prior art date
Legal status (The legal status is an assumption and is not a legal conclusion. Google has not performed a legal analysis and makes no representation as to the accuracy of the status listed.)
Active
Application number
CN202220733072.7U
Other languages
Chinese (zh)
Inventor
阿玛尔辛·迪利普劳·贾达夫
穆拉利克里希纳·梅农
阿宾·奥斯汀
Current Assignee (The listed assignees may be inaccurate. Google has not performed a legal analysis and makes no representation or warranty as to the accuracy of the list.)
CareFusion 303 Inc
Original Assignee
CareFusion 303 Inc
Priority date (The priority date is an assumption and is not a legal conclusion. Google has not performed a legal analysis and makes no representation as to the accuracy of the date listed.)
Filing date
Publication date
Application filed by CareFusion 303 IncfiledCriticalCareFusion 303 Inc
Application grantedgrantedCritical
Publication of CN218900414UpublicationCriticalpatent/CN218900414U/en
Activelegal-statusCriticalCurrent
Anticipated expirationlegal-statusCritical

Links

Images

Classifications

Landscapes

Abstract

A connector for coupling a container carrying a medical fluid to a vascular access device may include a housing including an inner surface defining an interior chamber including a fluid passage disposed therein. The fluid channel may include a pair of oppositely positioned cutouts. The connector may further include a slider disposed and supported in the interior chamber and having an interior compartment and an aperture through an inner wall of the interior compartment. The slider is reciprocally movable between (i) a first position in which the aperture of the slider is circumferentially aligned with the pair of cutouts to allow medical fluid to flow through the outlet, and (ii) a second position in which the aperture of the slider is not aligned with the pair of cutouts and the inner walls of the slider block fluid connection between the slider and the fluid passageway.

Description

Connector with a plurality of connectors
Citation of related application
The present application claims priority from U.S. provisional application No.63/168,180, filed 3/30/2021, the entire disclosure of which is incorporated herein by reference.
Technical Field
The present disclosure relates generally to a connector for connecting a medical container (such as a syringe) to a vascular access device for infusing an injectable medical fluid to a patient, and more particularly to a pressure regulating connector for connecting a medical container (such as a syringe) to a vascular access device for infusing an injectable medical fluid at a safe infusion pressure.
Background
Typically, vascular access devices are inserted into a vein via a peripheral or central vessel. Vascular access devices may be used to infuse fluids (e.g., saline, blood, medications, and/or total parenteral nutrition) into a patient, withdraw fluids (e.g., blood) from a patient, and/or monitor various parameters of the patient's vasculature.
However, vascular access devices may become occluded. In order to ensure that vascular access devices are properly used and do not become occluded, practice standards have been established. These criteria include a cleaning procedure, commonly referred to as a rinsing procedure. These flushing procedures maintain patency of the vascular access device.
The flushing procedure may be enhanced by using a syringe specifically designed to generate a lower injection pressure (such as, for example, a 10mL diameter syringe barrel), or by using a "push-pause" or pulse flushing technique to remove debris or residue in the catheter that may cause clogging or other adverse effects.
However, rapid injection of the flushing fluid into the peripheral IV line can result in an increase in the instantaneous pressure within the vein in which the catheter is located. Such pressures can lead to venous injury (rupture or collapse) and infusion penetration/extravasation, leading to clinical complications and the need to replace peripheral IV catheters.
The description provided in the background section is not to be taken as an admission of prior art merely as it is referred to or associated with the background section. The background section may include information describing one or more aspects of the subject technology.
Disclosure of Invention
Accordingly, there is a need for a device for delivering an irrigation injection pressure below a predetermined threshold in order to avoid damaging the blood vessel.
According to various embodiments of the present disclosure, a connector for connecting a container containing a medical fluid to a vascular access device may include a housing having a proximal end, a distal end defining an outlet, and an inner surface defining an interior chamber containing a fluid passage disposed in the interior chamber, and a slider disposed and supported in the interior chamber and over the fluid passage. The fluid channel may extend from a proximal end to a distal end and may include a pair of oppositely positioned cuts along its length. The slide may include an interior compartment and an aperture through an inner wall of the interior compartment. The slider is reciprocally movable between (i) a first position in which the aperture of the slider at least partially overlaps the pair of cutouts to allow medical fluid to flow through the outlet, and (ii) a second position in which the aperture of the slider is not aligned with the pair of cutouts and the inner wall of the slider blocks fluid connection between the slider and the fluid passageway. The slider may be movable to a first position when the medical fluid applies a fluid pressure less than or equal to a predetermined threshold and movable to a second position when the medical fluid applies a fluid pressure greater than the predetermined threshold.
According to various embodiments of the present disclosure, a connector for connecting a container containing a medical fluid to a vascular access device may include a housing having a proximal end, a distal end defining an outlet, and an inner surface defining an interior chamber containing a fluid passage disposed in the interior chamber, and a slider disposed and supported in the interior chamber and over the fluid passage. The fluid channel may extend from the proximal end to the distal end and may include an inner surface defining a lumen of the fluid channel. The inner surface may have a thread profile extending at least partially along the inner surface. The slider is reciprocally movable between (i) an open position when the medical fluid applies a fluid pressure less than or equal to a predetermined threshold and (ii) a closed position when the medical fluid applies a fluid pressure greater than the predetermined threshold, the open position wherein the slider is fluidly coupled with the fluid channel to allow the medical fluid to flow along the thread profile to the outlet, and the closed position wherein the fluid connection between the slider and the fluid channel is blocked.
According to various embodiments of the present disclosure, a connector for connecting a container containing a medical fluid to a vascular access device may include a housing having a proximal end, a distal end defining an outlet, and an inner surface defining an interior chamber containing a fluid passage disposed in the interior chamber. The fluid channel may extend from the proximal end to the distal end, and the housing may further include an opening extending through an inner and outer surface thereof. The connector may further include a pressure regulator mounted in the interior chamber and rotationally actuatable via the opening to regulate the pressure of the medical fluid, and a slider disposed and supported in the interior chamber and over the fluid passageway. The slider is reciprocally movable between (i) an open position when the medical fluid applies a fluid pressure less than or equal to a predetermined threshold and (ii) a closed position when the medical fluid applies a fluid pressure greater than the predetermined threshold, the open position wherein the slider is fluidly coupled with the fluid channel to allow the medical fluid to flow to the outlet, and the closed position wherein the fluid connection between the slider and the fluid channel is blocked.
It is to be understood that other configurations of the subject technology, wherein the various configurations of the subject technology are shown and described by way of illustration, will become readily apparent to those skilled in the art from the following detailed description. As will be realized, the subject technology is capable of other and different configurations and its several details are capable of modification in various other respects, all without departing from the scope of the subject technology. Accordingly, the drawings and detailed description are to be regarded as illustrative in nature and not as restrictive.
Drawings
The following drawings are included to illustrate certain aspects of the embodiments and should not be taken as exclusive embodiments. The disclosed subject matter is capable of considerable modification, alteration, combination, and equivalents in form and function, as will occur to those ordinarily skilled in the pertinent art and having the benefit of this disclosure.
Fig. 1 illustrates an isometric view of a pressure regulating connector coupled to a syringe, according to some embodiments of the present disclosure.
Fig. 2 illustrates a cross-sectional view of a pressure regulating connector, according to some embodiments of the present disclosure.
Fig. 3 illustrates an exploded perspective view of the pressure regulating connector of fig. 1, according to some embodiments of the present disclosure.
Fig. 4 illustrates an exploded cross-sectional view of the pressure regulating connector of fig. 2, according to some embodiments of the present disclosure.
Fig. 5A illustrates a partial cross-sectional view of a pressure regulating connector including a slider subjected to fluid pressure, according to some embodiments of the present disclosure.
Fig. 5B illustrates a partial cross-sectional view of a pressure regulating connector in an open position when a medical fluid pressure is less than or equal to a predetermined threshold, the pressure regulating connector including a slider that is subject to the fluid pressure, in accordance with some embodiments of the present disclosure.
Fig. 6A illustrates a partial cross-sectional view of a pressure regulating connector including a slider that is subject to medical fluid pressure, according to some embodiments of the present disclosure.
Fig. 6B illustrates a partial cross-sectional view of a pressure regulating connector including a slider subjected to fluid pressure in a closed position when medical fluid pressure is greater than a predetermined threshold in accordance with some embodiments of the present disclosure.
Fig. 7A and 7B are cross-sectional views of a pressure regulating connector prior to operation according to some embodiments of the present disclosure.
Fig. 7C and 7D are cross-sectional views of a pressure regulating connector in an open position during operation according to some embodiments of the present disclosure.
Fig. 7E and 7F are cross-sectional views of a pressure regulating connector in a closed position during operation according to some embodiments of the present disclosure.
Fig. 8A illustrates a cross-sectional view of a pressure regulating connector including a fluid passage with a threaded profile, according to some embodiments of the present disclosure.
Fig. 8B illustrates an enlarged partial cross-sectional view of the pressure regulating connector of fig. 8A including a fluid passage with a threaded profile, in accordance with some embodiments of the present disclosure.
Detailed Description
The detailed description set forth below describes various configurations of the subject technology and is not intended to represent the only configurations in which the subject technology may be practiced. The detailed description includes specific details for the purpose of providing a thorough understanding of the subject technology. Accordingly, dimensions relating to certain aspects may be provided as non-limiting examples. It will be apparent, however, to one skilled in the art that the subject technology may be practiced without these specific details. In some instances, well-known structures and components are shown in block diagram form in order to avoid obscuring the concepts of the subject technology.
It should be understood that this disclosure includes examples of the subject technology and does not limit the scope of the appended claims. Various aspects of the subject technology will now be disclosed in terms of specific, but non-limiting examples. The various embodiments described in this disclosure may be implemented in different ways and variations and conform to the desired application or implementation.
Rapid injection of the flushing fluid into the peripheral IV line can result in an increase in the instantaneous pressure within the vein in which the catheter is located. Such pressures often lead to venous injury (rupture or collapse) and infusion penetration/extravasation, leading to clinical complications and the need to replace catheters.
Irrigation is a basic strategy to maintain vascular access devices unobstructed. Current flushing methods include employing devices specifically configured to deliver low infusion pressures (e.g., 10 milliliter (mL) diameter syringe barrels), and/or implementing pulsed flushing techniques (also known as push-pause drug infusion). For example, in vitro studies have shown that a short dose of 1mL at 10 times with a brief pause break may be more effective in removing solid deposits than a continuous low flow technique.
Various embodiments of the present disclosure are directed to providing a pressure regulating connector capable of delivering fluid at a flush injection pressure (e.g., a pressure less than a venous burst pressure but greater than or equal to a general flush pressure) within a predetermined pressure range. Various embodiments of the present disclosure are additionally directed to providing a pressure regulating connector configured to allow a user to adjust infusion pressure based on a particular patient need. Further, various embodiments of the present disclosure are directed to providing a pressure regulating connector configured to generate flow turbulence in an outlet channel in order to replace conventional push-pause pulse flushing techniques.
For example, various embodiments of the present disclosure provide a pressure control mechanism integrated with a needle-free valve connector, thereby eliminating the need for additional components and potentially saving costs. Furthermore, the pressure regulating connectors and systems described herein with various embodiments of integrated pressure regulators allow a user to regulate infusion pressure according to individual or customized patient health conditions. Further, the pressure regulating connectors and systems of the various embodiments described herein may maintain safe infusion pressures by regulating flow with a shuttle assembly. Furthermore, the pressure regulating connectors and systems of the various embodiments described herein include fluid channels having threaded contoured inner surfaces that create turbulent flow, thereby eliminating the need for push-pause techniques applied by current existing connectors.
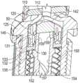
Fig. 1 illustrates a perspective view of apressure regulating connector 100 fluidly coupled to asyringe 10, according to some embodiments of the present disclosure. Fig. 2 illustrates a cross-sectional view of apressure regulating connector 100 according to some embodiments of the present disclosure. As shown in fig. 1, in some embodiments, thepressure regulating connector 100 may be configured to connect a medical container 10 (such as a prefilled or prefillable syringe) to a vascular access device (such as an IV (intravenous) catheter) such that medical fluid contained in thesyringe 10 passes through thepressure regulating connector 100 before reaching the vascular access device.
Referring to fig. 1 and 2,pressure regulating connector 100 may include ahousing 145 defining aninterior cavity 149 having aninterior fluid passage 152 for the flow of medical fluid throughconnector 100 fromneedleless connector 110 to afluid outlet 169 ofhousing 145. In some embodiments, theneedleless connector 110 may be coupled to asyringe 10 through which medical fluid may be delivered to thefluid outlet 169 of thepressure regulating connector 100 via theneedleless connector 110. In other embodiments, theneedleless connector 110 may be coupled to an extension set (e.g., an IV extension set (not shown)) through which medical fluid may be delivered to thefluid outlet 169 via theneedleless connector 110.
Fig. 3 illustrates an exploded perspective view of the pressure regulating connector of fig. 1, according to some embodiments of the present disclosure. Fig. 4 illustrates an exploded cross-sectional view of the pressure regulating connector of fig. 2, according to some embodiments of the present disclosure. As shown in fig. 3 and 4, with continued reference to fig. 1 and 2, thehousing 145 may include aproximal end 148, adistal end 158, and aninner surface 167 defining theinterior cavity 149. As shown, theinterior cavity 149 may include afluid channel 152 disposed in theinterior cavity 149. Thefluid channel 152 may extend from theproximal end 148 to thedistal end 158 of thehousing 145. The proximal end of thefluid channel 152 may define anopening 164 and the distal end of thefluid channel 152 may define anoutlet port 169 of thehousing 145. In some embodiments, thefluid channel 152 may also include a pair of oppositely positionedcutouts 159 along its length.End cap 142 may be positioned overopening 164 such that fluid flowing fromneedleless connector 110 intohousing 145 may bypass opening 164 and instead enterfluid channel 152 via a pair of oppositely positionedcutouts 159.
Referring back to fig. 2, with continued reference to fig. 3 and 4, thepressure regulating connector 100 may further include aslider 130 disposed and supported in theinterior cavity 149. For example, in some embodiments, theresilient member 135 may be mounted on thefluid channel 152 and distally coupled with theslider 130 to support theslider 130 within theinterior cavity 149. Theresilient member 135 may be in the form of a bellows or any similar spring component. As shown in fig. 2, theslider 130 may be slipped over theend cap 142 and thefluid channel 152 and supported at its base or distal end by theresilient member 135.
In some embodiments, theslider 130 may have aninner wall 126, anouter wall 138, and aninner compartment 131 defined between theinner wall 126 and theouter wall 138 of theslider 130. Theslider 130 may also include ahole 133 through theinner wall 126. For example, as shown, theholes 133 may be in the form of a pair ofholes 133 positioned through the opposinginner wall 126.
Fig. 5A illustrates a partial cross-sectional view of a pressure regulating connector including a slider subjected to fluid pressure, according to some embodiments of the present disclosure. Fig. 5B illustrates a partial cross-sectional view of a pressure regulating connector including a fluid pressure-bearing slider in an open position when a medical fluid pressure is less than or equal to a predetermined threshold, according to some embodiments of the present disclosure. As shown in fig. 5A, when distal fluid pressure is applied to the slider 130 (arrow F in fig. 5A), the distal pressure exerts a force F on the floor of theinterior compartment 131 of theslider 130 and pushes theslider 130 distally to the position shown in fig. 5B, compressing theresilient member 135. As will be described in further detail below, when medical fluid flows into thehousing 145 and applies a fluid pressure to theslider 130 that is less than or equal to a predetermined threshold pressure, theslider 130 may be displaced or otherwise moved distally along the length of thefluid channel 152 toward a first or open position, for example as shown in fig. 5B. For example, when the medical fluid exerts a fluid pressure less than or equal to a predetermined threshold, theresilient member 135 may compress to allow theslider 130 to displace a first distance to a first or open position. In the open position, the pair ofapertures 133 of theslider 130 may be axially aligned with or at least partially overlap the pair ofcutouts 159 of thefluid channel 152 to allow themedical fluid 50 to flow through the outlet port 169 (shown in fig. 2) via theinterior compartment 131 and thefluid channel 152. In some embodiments, thepressure regulating connector 100 may further include aseal 132 disposed at a base or distal end of theslider 130 and surrounding thefluid channel 152 to prevent leakage of medical fluid between theslider 130 and thefluid channel 152. For example, theseal 132 may be a low friction seal that results in being constrained from impeding the reciprocation of theslider 130. In some embodiments, theseal 132 may be a low friction lip seal.
As will be described further below, as medical fluid continues to flow into thehousing 145 and applies fluid pressure to theslider 130 that is greater than a predetermined threshold pressure, theslider 130 may be further displaced or otherwise moved distally along the length of thefluid channel 152 toward a second or closed position, as shown, for example, in fig. 6B. For example, when the medical fluid exerts a fluid pressure greater than a predetermined threshold, theresilient member 135 may be further compressed to allow theslider 130 to displace a second distance to a second or closed position. As shown in fig. 5A, thefluid channel 152 may further include astop 156 protruding radially outward from the outer surface of thefluid channel 152 to prevent further distal movement of theslider 130 beyond the second or closed position. In the closed position, the pair ofapertures 133 of theslider 130 may not align or otherwise overlap with the pair ofcutouts 159 such that theinner wall 126 of the slider blocks fluid communication between theslider 130 and thefluid channel 152. Thus, medical fluid having a fluid pressure above a threshold safe amount is trapped inside theslider 130 and cannot flow into the vascular access device via thefluid channel 152. Thus, the infusion pressure of the medical fluid to the vascular access device may be maintained at or below a safe infusion pressure, advantageously preventing problems typically associated with current existing infusion connectors. For example, a problem commonly associated with infusion procedures is that a rapid injection of the irrigation fluid into the peripheral IV line can result in the formation of transient pressures within the vein of the catheterized patient. Such pressures often lead to venous injury (rupture or collapse) and infusion penetration/extravasation, leading to complications and the need to replace PIV catheters. Because the pressure regulating connectors of the various embodiments described herein maintain the infusion pressure of the medical fluid to the vascular access device at or below the safe infusion pressure, the above-described problems typically seen with existing infusion connectors are minimized or completely eliminated. The pressure regulating connectors of the various embodiments described herein are advantageously capable of delivering flush injection pressures within a predetermined pressure range that is less than the venous burst pressure.
According to various embodiments of the present disclosure, thepressure regulating connector 100 may further include acover 125 coupled to thehousing 145 and surrounding theslider 130, thefluid channel 152, and theelastic member 135. As shown, aneedleless connector 110 comprising a deformable orcompressible valve member 115 may be mounted to thecover 125 and fluidly coupled to theslider 130. For example, in some embodiments, theneedleless connector 110 can include abase plate 120 defining anoutlet port 122 of theneedleless valve 110. Thecover 125 may also define aninlet port 123 at its proximal end. As shown, the outlet port of theneedleless connector 110 and theinlet port 123 of thecover 125 may place thefluid chamber 111 of theneedleless valve 110 in fluid communication with theinterior compartment 131 of the slider to deliver medical fluid to the vascular access device when the fluid pressure is less than or equal to a predetermined threshold pressure. In some embodiments, the cover may include a plurality of engagement features 127 on its outer surface. For example, thecover 125 may include a plurality ofthreads 127.
Referring back to fig. 1, with continued reference to fig. 3 and 4, thepressure regulating connector 100 may further include apressure regulator 140 rotatably mounted in theinterior cavity 149 and over thefluid channel 152. For example, as shown, the pressure regulator may be in the form of a cylindrical body having aninner surface 141 and anouter surface 144. In some embodiments, theinner surface 141 of thepressure regulator 140 may include a plurality of engagement features 129. For example, as shown in FIG. 4, theinner surface 141 of thepressure regulator 140 may include a plurality ofthreads 129.
In some embodiments, housing 45 may further include anopening 147 that extends throughinner surface 167 andouter surface 164 ofhousing 145 and fluidly communicatesinterior cavity 149 with the exterior ofhousing 145. Thus, thepressure regulator 140 is accessible via theopening 147 and is manipulated to rotate about its central longitudinal axis X to regulate fluid pressure. For example, in some embodiments, in an assembled configuration of thepressure regulator 140 and thecover 125, the plurality of engagement features orthreads 129 of thepressure regulator 140 and the plurality of engagement features orthreads 127 of the cover may engage and interconnect to allow thepressure regulator 140 to rotate and translate relative to thecover 125 within theinterior cavity 149.
As shown in fig. 1, in some embodiments, theouter surface 164 of thehousing 145 may include a plurality ofgraduations 116. For example, thescale 116 may indicate a set pressure of the medical fluid flowing through thepressure regulating connector 100. As further described, thepressure regulator 140 may also include anindicator 143 disposed about at least a portion of an outer surface of thepressure regulator 140. For example, in some embodiments, theindicator 143 may be in the form of a line of a desired color. Thus, when thepressure regulator 140 is actuated or otherwise rotated to adjust and/or set the fluid pressure, the rotational engagement and interconnection between the plurality of engagement features 129 and 127 of therespective pressure regulator 140 and cover 125 allows thepressure regulator 140 to rotate about the axis X and translate distally or proximally to align with aparticular scale 116 indicating a desired set pressure. In some embodiments, a plurality of longitudinally extending splines 170 may be disposed on an outer surface of thepressure regulator 140. The plurality of longitudinally extending splines 170 may facilitate providing a ridged surface on thepressure regulator 140, which may enhance gripping of thepressure regulator 140 during rotation.
The various embodiments of the pressure regulating connector described herein, including thepressure regulator 140, advantageously allow a user or other medical professional to regulate infusion pressure and customize to the patient's needs. For example, in some embodiments, the pressure regulator may operate at four operational settings (e.g., setting modes 1, 2, 3, and 4). In particular, the user may use a thumb or other finger to rotate the pressure regulator such that theindicator 143 is aligned with the desired setting mode. In some embodiments, for some most sensitive patients (e.g., patients undergoing chemotherapy), thepressure regulator 140 may be rotated and set to set mode 1. For less sensitive patients (e.g., pediatric and geriatric patients), thepressure regulator 140 may optionally be rotated and set to set mode 2. Furthermore, setting mode 3 may be used for healthier patients that are not particularly sensitive to higher pressures. In some embodiments, setting mode 4 may be used when a pressure regulation safety mechanism that bypasses theconnector 100 is desired. In some embodiments. The setting mode 4 without active pressure adjustment may be set as a default setting mode. Thus, by moving thepressure regulator 140 proximally or distally, a user can advantageously increase or decrease the pressure of the fluid administered to the patient as desired.
The operation of thepressure regulating connector 100 is described below with reference to fig. 7A-7F. Fig. 7A and 7B are cross-sectional views of a pressure regulating connector prior to operation according to some embodiments of the present disclosure. As shown in fig. 7A and 7B, in the absence of medical fluid flow withinpressure regulating connector 100,resilient member 135 holdsslider 130 in a position corresponding to the proximal-most position ofslider 130.
Fig. 7C and 7D are cross-sectional views of a pressure regulating connector in an open position during operation according to some embodiments of the present disclosure.
When a user pushes a plunger of a medical container (e.g., syringe 10) to inject a medical fluid, fluid pressure builds within thesyringe 10. Thus, distal pressure is exerted on thefloor 139 of theinterior compartment 131 of theslider 130. This distal pressure displaces or otherwise movesslider 130 distally, compressingresilient member 135. Theelastic member 135 holds theslider 130 in the open position (fig. 7C and 7D) as long as the fluid pressure is less than or equal to the predetermined threshold. In some embodiments, the predetermined pressure threshold corresponds to what is considered a safe infusion pressure. For example, the predetermined threshold pressure may be equal to about 25 pounds per square inch (psi).
As described above, in the open position, as shown in fig. 7C and 7D, the pair ofapertures 133 of theslider 130 may align with or at least partially overlap the pair ofcutouts 159 of thefluid channel 152 to allow themedical fluid 50 to flow through the outlet port 169 (as shown in fig. 2) via theinterior compartment 131 and thefluid channel 152.
Fig. 7E and 7F are cross-sectional views ofpressure regulating connector 100 during operation in a closed position according to some embodiments of the present disclosure. As shown in fig. 7E and 7F, when the fluid pressure exceeds a predetermined threshold that is considered a safe infusion, a distal force exerted on theslider 130 may cause theslider 130 to further displace or otherwise move distally along the length of the fluid channel 152 a distance D toward a second or closed position, for example as shown in fig. 6B. For example, when the medical fluid exerts a fluid pressure greater than a predetermined threshold or safe infusion, theresilient member 135 may be further compressed to allow theslider 130 to displace a second distance to a second or closed position. In some embodiments, when the fluid pressure is greater than the safe infusion pressure (e.g., 25 psi), theslider 130 may be advanced further distally by further compressing theresilient member 135.
Theslider 130 may continue to move further distally by fluid pressure until the base of theslider 130 abuts astop 156 protruding radially outward from the outer surface of thefluid channel 152. Thus, theslider 130 may be prevented from further distal movement beyond the second or closed position, as shown in fig. 7B. When the total slider movement or displacement D is equal to about 2 millimeters (mm), theslider 130 blocks fluid flow into thefluid channel 152. As described above, in the closed position, the pair ofapertures 133 of theslider 130 may not be aligned with or otherwise overlap the pair ofcutouts 159 such that theinner wall 126 of theslider 130 blocks the fluid connection between theinner compartment 131 of theslider 130 and the pair ofcutouts 159 of thefluid channel 152. Thus, medical fluid having a fluid pressure above a threshold safe amount is trapped within theslider 130 and cannot flow into the vascular access device. Thus, the infusion pressure of the medical fluid to the vascular access device may be maintained at or below a safe infusion pressure, advantageously preventing problems typically associated with current existing infusion connectors.
When the fluid pressure drops to a point that is again below or equal to the predetermined threshold, theresilient member 135 may urge theslider 130 proximally toward at least the open position in fig. 7C and 7D. Theinner wall 126 of the slider may be moved proximally away from theoutlet 169 and the pair ofapertures 133 and the pair ofcutouts 159 may again overlap or at least partially align, allowing medical fluid to reenter thefluid channel 152 via the at least partially aligned pair ofapertures 133 and pair ofcutouts 159. Accordingly, medical fluid may then flow through thefluid channel 152, out of thepressure regulating connector 100, and into the vascular access device.
Fig. 8A illustrates a cross-sectional view of apressure regulating connector 100 including afluid passage 152 having a threadedprofile 157, according to some embodiments of the present disclosure. Fig. 8B illustrates an enlarged partial cross-sectional view of thepressure regulating connector 100 of fig. 8A including afluid passage 152 having a threadedprofile 157, according to some embodiments of the present disclosure. According to various embodiments of the present disclosure, thefluid channel 152 may include aninner surface 155 defining alumen 154 of thefluid channel 152. As shown in fig. 8A and 8B, theinner surface 155 may have athread profile 157 extending at least partially along theinner surface 155. For example, in some embodiments, the thread profile may include a plurality of helical threads spaced apart from one another. In other embodiments, the thread profile may include a plurality ofannular threads 157 spaced apart from one another. In operation, the thread profile may cause the fluid to rotate and create turbulence in the fluid exiting thepressure regulating connector 100 as the fluid flows through the portion of thelumen 154 having the thread profile. An advantage ofpressure regulating connector 100 including fluid channel 152 (which has aninner surface 155 with a threaded profile 157) over existing connectors is that turbulence caused when medical fluid flows through the threaded profile portion offluid channel 152 is reduced or otherwise eliminates the need for a separate press-pause mechanism implemented in existing connectors.
The pressure regulating connectors and systems of the various embodiments described herein also provide further advantages over current existing infusion connectors. For example, the pressure regulating connectors and systems described herein provide a pressure control mechanism integrated with a needleless connector, thereby eliminating the need for additional components and potentially providing cost savings. Furthermore, the pressure regulating connectors and systems described herein with various embodiments of pressure regulators allow a user to regulate infusion pressure according to individual or customized patient health conditions. Further, the pressure regulating connectors and systems of the various embodiments described herein can maintain safe infusion pressures by regulating flow with a reciprocating slide assembly. Furthermore, the pressure regulating connectors and systems of the various embodiments described herein include fluid channels with a threaded profile on the interior surface that create turbulence, eliminating the need for the press-pause technique applied by currently existing connectors.
More advantageously, since the pressure regulating connectors and systems of the various embodiments incorporate pressure control mechanisms and pressure selection mechanisms, they advantageously eliminate or significantly reduce patient pain associated with higher infusion pressures.
Description of the subject technology
For example, the subject technology is described in terms of various aspects described below. For convenience, various examples of aspects of the subject technology are described in terms of numbered items (1, 2,3, etc.). These are provided by way of example only and are not limiting of the subject technology. It should be noted that any dependent items may be combined into any combination and placed into a corresponding independent item, such as item 1 or item 5. Other items may be presented in a similar manner.
Item 1. A connector for connecting a container containing a medical fluid to a vascular access device, the connector comprising: a housing including a proximal end, a distal end defining an outlet, and an inner surface defining an interior chamber, the interior chamber including a fluid channel disposed therein, wherein the fluid channel extends from the proximal end to the distal end and the fluid channel includes a pair of oppositely positioned cutouts along a length thereof; and a slider disposed and supported in the interior chamber and overlying the fluid passageway, the slider including an interior compartment and an aperture passing through an interior wall of the interior compartment, wherein the slider is reciprocally movable between (i) a first position in which the aperture of the slider at least partially overlaps the pair of cutouts to allow the medical fluid to flow through the outlet and (ii) a second position in which the aperture of the slider is out of alignment with the pair of cutouts and the interior wall of the slider blocks fluid connection between the slider and the fluid passageway, and wherein the slider is movable to the first position when the medical fluid applies a fluid pressure less than or equal to a predetermined threshold and the slider is movable to the second position when the medical fluid applies a fluid pressure greater than the predetermined threshold.
Clause 2 the connector of clause 1, further comprising a resilient member mounted on the fluid channel and distally coupled with the slider to support the slider in the interior chamber, the resilient member being compressible to allow the slider to move (i) a first distance to the first position when the medical fluid applies a fluid pressure less than or equal to the predetermined threshold, and (ii) a second distance to the second position when the medical fluid applies a fluid pressure greater than the predetermined threshold.
Clause 3 the connector of clause 2, further comprising an end cap mounted on the fluid channel at the proximal end, wherein the end cap prevents the medical fluid from entering the fluid channel at the proximal end such that the medical fluid is directed into the interior compartment of the slider.
Clause 4 the connector of clause 2, wherein the first distance is greater than 0 millimeters (mm), but less than 2mm, and the second distance is equal to 2mm.
Clause 5 the connector of clause 2, wherein the predetermined threshold is equal to 25 pounds per square inch (psi).
Clause 6 the connector of clause 2, wherein the fluid channel includes a stop protruding radially outward from an outer surface of the fluid channel, the stop configured to prevent the slider from moving distally beyond the second position.
Clause 7 the connector of clause 2, wherein the resilient member comprises a bellows extending around the outer surface of the flow channel.
Clause 8 the connector of clause 2, further comprising a seal disposed at the base of the slider so as to surround the fluid channel to prevent leakage of medical fluid between the slider and the fluid channel.
Clause 9. The connector of clause 2, further comprising: a cover coupled to the housing so as to surround the slider, fluid passage, and elastic member; and a needleless connector mounted to the cover and fluidly coupled to the slider.
Clause 10 the connector of clause 9, wherein the needleless connector comprises a base plate defining an outlet port of the needleless connector, and the cover defines an inlet port at a proximal end thereof, the outlet port and inlet port fluidly communicating the interior compartment of the slider with the fluid chamber of the needleless connector.
Clause 11 a connector for connecting a container containing a medical fluid to a vascular access device, the connector comprising: a housing including a proximal end, a distal end defining an outlet, and an inner surface defining an interior chamber, the interior chamber including a fluid channel disposed therein, wherein the fluid channel extends from the proximal end to the distal end, and the fluid channel includes an inner surface defining a lumen of the fluid channel, the inner surface including a thread profile extending at least partially along the inner surface; and a slider disposed and supported in the interior chamber and over the fluid passage,
wherein the slider is reciprocally movable between (i) an open position when the medical fluid applies a fluid pressure less than or equal to a predetermined threshold and (ii) a closed position in which the slider is in an open position, and in which the slider is fluidly coupled with the fluid channel to allow the medical fluid to flow along the thread profile to the outlet, the slider is in a closed position when the medical fluid applies a fluid pressure greater than the predetermined threshold, and in which a fluid connection between the slider and the fluid channel is blocked.
Clause 12 the connector of clause 11, further comprising a resilient member mounted on the fluid channel and coupled distally with the slider to support the slider within the interior chamber, wherein the resilient member is compressible to allow the slider to reciprocate between the open position and the closed position.
Clause 13 the connector of clause 12, wherein the thread profile comprises a plurality of helical threads spaced apart from one another.
Clause 14 the connector of clause 13, wherein: the fluid channel includes a pair of oppositely positioned cutouts along its length, and the slider includes an interior compartment and an aperture through an inner wall of the interior compartment; and is also provided with
(i) In the open position, the aperture of the slider is axially aligned with the pair of cutouts to allow the medical fluid to flow through the outlet, and (ii) in the closed position, the aperture of the slider is not aligned with the pair of cutouts.
Clause 15 the connector of clause 14, further comprising: a cover coupled to the housing so as to surround the slider, fluid passage, and elastic member; and a needleless connector mounted to the cover and fluidly coupled to the slider.
Clause 16 the connector of clause 15, wherein the needleless connector comprises a base plate defining an outlet port of the needleless connector, and the cover defines an inlet port at a proximal end thereof, the outlet port and inlet port fluidly communicating the interior compartment of the slider with the fluid chamber of the needleless connector.
Clause 17 the connector of clause 12, further comprising a seal disposed at the base of the slider so as to surround the fluid channel to prevent leakage of medical fluid between the slider and the fluid channel.
Clause 18, a connector for connecting a container containing a medical fluid to a vascular access device, the connector comprising: a housing comprising a proximal end, a distal end defining an outlet, and an inner surface defining an interior chamber, the interior chamber comprising a fluid passage disposed in the interior chamber, wherein the fluid passage extends from the proximal end to the distal end, and the housing further comprises an opening extending through an inner surface and an outer surface thereof; a pressure regulator mounted in the interior chamber and rotatably actuated via the opening to regulate a pressure of the medical fluid; and a slider disposed and supported in the interior chamber and overlying the fluid passageway, wherein the slider is reciprocally movable between (i) an open position in which the slider is in fluid communication with the fluid passageway to permit the medical fluid to flow to the outlet when the medical fluid applies a fluid pressure less than or equal to a predetermined threshold and (ii) a closed position in which the slider is in a closed position in which fluid connection between the slider and the fluid passageway is blocked when the medical fluid applies a fluid pressure greater than the predetermined threshold.
Clause 19 the connector of clause 18, further comprising a resilient member mounted on the fluid channel and coupled distally with the slider to support the slider within the interior chamber, wherein the resilient member is compressible to allow the slider to reciprocate between the open position and the closed position.
Clause 20 the connector of clause 19, further comprising a cover coupled to the housing so as to surround the slider, fluid channel, and resilient member, wherein:
the cover includes an outer surface having a plurality of engagement features; and is also provided with
The pressure regulator includes an inner surface including a plurality of complementary engagement features for coupling to a plurality of engagement features of the cover.
Clause 21 the connector of clause 20, wherein the outer surface of the housing comprises a plurality of graduations, and the pressure regulator further comprises an indicator disposed about at least a portion of the outer surface of the pressure regulator, and when the pressure regulator is rotated to regulate fluid pressure, the plurality of engagement features of the pressure regulator and cover engage and interconnect to rotate the pressure regulator and translate the indicator to align with the graduations of the plurality of graduations.
Clause 22 the connector of clause 21, wherein the plurality of graduations represent different fluid pressures.
Clause 23 the connector of clause 21, wherein the outer surface of the pressure regulator further comprises a plurality of longitudinally extending splines to grip the pressure regulator.
Clause 24 the connector of clause 21, further comprising a seal disposed at the base of the slider so as to surround the fluid channel to prevent leakage of medical fluid between the slider and the fluid channel.
Clause 25 the connector of clause 21, further comprising: a cover coupled to the housing so as to surround the slider, fluid passage, and elastic member; and a needleless connector mounted to the cover and fluidly coupled to the slider.
Clause 26 the connector of clause 25, wherein the needleless connector comprises a base plate defining an outlet port of the needleless connector, and the cover defines an inlet port at a proximal end thereof, the outlet port and inlet port fluidly communicating the interior compartment of the slider with the fluid chamber of the needleless connector.
The present disclosure is provided to enable one of ordinary skill in the art to practice the various aspects described herein. The present disclosure provides various examples of the subject technology, and the subject technology is not limited to these examples. Various modifications to these aspects will be readily apparent to those skilled in the art, and the generic principles defined herein may be applied to other aspects.
Unless specifically stated otherwise, reference to an element in the singular is not intended to mean "one and only one" but "one or more". The term "some" refers to one or more unless specifically stated otherwise. A positive pronoun (e.g., his) includes both negative and neutral sexes (e.g., her and its) and vice versa. The use of headings and subheadings, if any, is for convenience only and does not limit the utility model.
The word "exemplary" is used herein to mean "serving as an example or illustration. Any aspect or design described herein as "exemplary" is not necessarily to be construed as preferred or advantageous over other aspects or designs. In one aspect, various alternative constructions and operations described herein may be considered at least equivalent.
As used herein, the phrase "at least one" preceding a series of items (where any item is separated by the term "or") modifies the list as a whole, rather than each item of the list. The phrase "at least one" does not require at least one item to be selected; rather, the phrase allows for the inclusion of at least one of any one item, and/or at least one of any combination of items, and/or the meaning of at least one of each item. For example, the phrase "at least one of A, B or C" may refer to A only, B only, or C only; or A, B, C, or any combination thereof
Phrases such as "an aspect" do not imply that such aspect is necessarily essential to the subject technology or that such aspect applies to all configurations of the subject technology. The disclosure relating to one aspect may apply to all configurations or one or more configurations. One aspect may provide one or more examples. A phrase such as an "aspect" may refer to one or more aspects and vice versa. Phrases such as "an embodiment" do not imply that such an embodiment is necessary for the subject technology or that such an embodiment applies to all configurations of the subject technology. The disclosure relating to one embodiment may apply to all embodiments or one or more embodiments. One embodiment may provide one or more examples. A phrase such as "one embodiment" may refer to one or more embodiments and vice versa. Phrases such as "construction" do not imply that the construction is essential to the subject technology or that the construction applies to all constructions of the subject technology. The disclosure relating to a configuration may apply to all configurations, or one or more configurations. One configuration may provide one or more examples. A phrase such as "a configuration" may refer to one or more configurations and vice versa.
In one aspect, unless otherwise stated, in this specification, all measurements, values, ratings, positions, sizes, dimensions, and other specifications set forth in the following claims are approximate, rather than exact. In one aspect, they are intended to have a reasonable scope consistent with the functions they relate to and the practices in the art to which they pertain.
It is to be understood that the specific order or hierarchy of steps or operations in the processes or methods disclosed is an illustration of exemplary approaches. Based on implementation preferences or scenarios, it is understood that the specific order or hierarchy of steps, operations or processes may be rearranged. Some steps, operations, or processes may be performed simultaneously. In some implementation preferences or scenarios, certain operations may or may not be performed. Some or all of the steps, operations, or procedures may be performed automatically without user intervention. The claims of the attached method present elements of the various steps, operations, or processes in an example order, and are not meant to be limited to the specific order or hierarchy presented.
All structural and functional equivalents to the elements of the various aspects described throughout this disclosure that are known or later come to be known to those of ordinary skill in the art are expressly incorporated herein by reference and are intended to be encompassed by the claims. Furthermore, nothing disclosed herein is intended to be dedicated to the public regardless of whether such disclosure is explicitly recited in the claims. Under the provision of 35 u.s.c. ≡112 (f), the elements of the claims will not be explained unless the phrase "meaning" is used to explicitly recite the element, or in the case of method claims, the phrase "step for … …" is used to recite the element. Furthermore, to the extent that the terms "includes," "including," "has," and the like are used in a manner similar to the term "comprising" is intended to be inclusive in a manner similar to the term "comprising" as "comprising" is interpreted when employed as a transitional word in a claim.
The headings, background, summary, brief description of the drawings, and abstract of the disclosure are incorporated herein by reference and are provided as illustrative examples of the disclosure and not as limiting descriptions. It is submitted with the understanding that they will not be used to limit the scope or meaning of the claims. Furthermore, in the detailed description, it can be seen that this description provides illustrative examples, and that various features are grouped together in various embodiments for the purpose of streamlining the disclosure. This method of disclosure is not to be interpreted as reflecting an intention that the claimed subject matter requires more features than are expressly recited in each claim. Rather, as the following claims reflect, inventive subject matter lies in less than all features of a single disclosed configuration or operation. The following claims are hereby incorporated into the detailed description, with each claim standing on its own as a separately claimed subject matter.
The claims are not intended to be limited to the aspects described herein but are to be accorded the full scope consistent with the language of the claims, including all legal equivalents. None of the claims, however, is intended to include subject matter that fails to meet 35u.s.c. ≡101, 102 or 103 requirements, nor should they be construed in this way.

Claims (26)

CN202220733072.7U2021-03-302022-03-30Connector with a plurality of connectorsActiveCN218900414U (en)

Applications Claiming Priority (2)

Application NumberPriority DateFiling DateTitle
US202163168180P2021-03-302021-03-30
US63/168,1802021-03-30

Publications (1)

Publication NumberPublication Date
CN218900414Utrue CN218900414U (en)2023-04-25

Family

ID=81327917

Family Applications (2)

Application NumberTitlePriority DateFiling Date
CN202210331922.5APendingCN115137905A (en)2021-03-302022-03-30Pressure regulation and control connector for infusion
CN202220733072.7UActiveCN218900414U (en)2021-03-302022-03-30Connector with a plurality of connectors

Family Applications Before (1)

Application NumberTitlePriority DateFiling Date
CN202210331922.5APendingCN115137905A (en)2021-03-302022-03-30Pressure regulation and control connector for infusion

Country Status (9)

CountryLink
US (1)US20220313904A1 (en)
EP (1)EP4313219A1 (en)
JP (1)JP2024512128A (en)
CN (2)CN115137905A (en)
AU (1)AU2022246767A1 (en)
BR (1)BR112023019799A2 (en)
CA (1)CA3213772A1 (en)
MX (1)MX2023011406A (en)
WO (1)WO2022212128A1 (en)

Families Citing this family (1)

* Cited by examiner, † Cited by third party
Publication numberPriority datePublication dateAssigneeTitle
US12415064B2 (en)*2021-09-132025-09-16Carefusion 303, Inc.Adjustable pressure regulating and pressure indicating needle-free connectors

Family Cites Families (10)

* Cited by examiner, † Cited by third party
Publication numberPriority datePublication dateAssigneeTitle
US3643685A (en)*1970-11-041972-02-22Schaub Engineering CoFlow regulator
US3985156A (en)*1974-11-191976-10-12Bristol Screw Products CorporationGas and liquid flow control valve
US5379797A (en)*1994-01-271995-01-10Aeroquip CorporationHydraulic fuse
US7401751B2 (en)*2005-05-242008-07-22Eaton CorporationFluid flow regulator with overpressure relief function
US9775980B2 (en)*2008-09-232017-10-03Hospi CorporationValved enteral administration assembly
AU2010204546A1 (en)*2009-01-152011-08-04Beth Israel Deaconess Medical CenterPressure measuring syringe
WO2010096651A2 (en)*2009-02-202010-08-26University Of Southern CaliforniaDrug delivery device with in-plane bandpass regulation check valve in heat-shrink packaging
US8303571B2 (en)*2010-07-302012-11-06Errorless Medical, LlcMultiple-line connective devices for infusing medication
US9089682B2 (en)*2013-03-142015-07-28Carefusion 303, Inc.Needleless connector with support member
CA3002106C (en)*2015-10-302021-03-23Pajunk GmbH MedizintechnologieDevice for limiting the injection pressure of a medical instrument for introducing a fluid

Also Published As

Publication numberPublication date
AU2022246767A1 (en)2023-10-12
JP2024512128A (en)2024-03-18
WO2022212128A1 (en)2022-10-06
CA3213772A1 (en)2022-10-06
BR112023019799A2 (en)2023-11-07
MX2023011406A (en)2023-10-13
US20220313904A1 (en)2022-10-06
EP4313219A1 (en)2024-02-07
CN115137905A (en)2022-10-04

Similar Documents

PublicationPublication DateTitle
US8152778B2 (en)Device for interfacing with standard luer lock syringes
US5356375A (en)Positive pressure fluid delivery and waste removal system
US9408971B2 (en)Self-capping syringe assembly with one-way valve
US4871356A (en)Catheter device
EP2168620B1 (en)Diluent/Medication Mixing Syringe Assembly
US20220409813A1 (en)Pressure-regulating connector for infusion
US20250288752A1 (en)Pressure-regulating connector for infusion
CN218900414U (en)Connector with a plurality of connectors
KR102684835B1 (en) liquid flow control device
EP4578474A2 (en)Drip chamber insert for automatically reducing fluid flow rate at infusion completion to keep vein open
EP3936174B1 (en)Device for fluidly connecting a medical container to a connector and method for manufacturing said device
US20240157111A1 (en)Self flushing valve
RosenthalWhat you should know about needleless IV systems

Legal Events

DateCodeTitleDescription
GR01Patent grant
GR01Patent grant

[8]ページ先頭

©2009-2025 Movatter.jp