Movatterモバイル変換


[0]ホーム

URL:


CN217976846U - Large-scale hydro-cylinder seal structure - Google Patents

Large-scale hydro-cylinder seal structure
Download PDF

Info

Publication number
CN217976846U
CN217976846UCN202222571226.XUCN202222571226UCN217976846UCN 217976846 UCN217976846 UCN 217976846UCN 202222571226 UCN202222571226 UCN 202222571226UCN 217976846 UCN217976846 UCN 217976846U
Authority
CN
China
Prior art keywords
main
plunger
sealing
section
cylinder
Prior art date
Legal status (The legal status is an assumption and is not a legal conclusion. Google has not performed a legal analysis and makes no representation as to the accuracy of the status listed.)
Active
Application number
CN202222571226.XU
Other languages
Chinese (zh)
Inventor
胡立水
曾辉
Current Assignee (The listed assignees may be inaccurate. Google has not performed a legal analysis and makes no representation or warranty as to the accuracy of the list.)
Zhejiang Ouqian Heavy Industry Machinery Co ltd
Original Assignee
Zhejiang Ouqian Heavy Industry Machinery Co ltd
Priority date (The priority date is an assumption and is not a legal conclusion. Google has not performed a legal analysis and makes no representation as to the accuracy of the date listed.)
Filing date
Publication date
Application filed by Zhejiang Ouqian Heavy Industry Machinery Co ltdfiledCriticalZhejiang Ouqian Heavy Industry Machinery Co ltd
Priority to CN202222571226.XUpriorityCriticalpatent/CN217976846U/en
Application grantedgrantedCritical
Publication of CN217976846UpublicationCriticalpatent/CN217976846U/en
Activelegal-statusCriticalCurrent
Anticipated expirationlegal-statusCritical

Links

Images

Landscapes

Abstract

The utility model discloses a large-scale hydro-cylinder seal structure, including the main cylinder body, the main plunger, the auxiliary plunger, the main cylinder body is outwards set gradually the cavity section of coaxial intercommunication by the lining, first guide section, the seal segment, the main plunger stretches into the cavity section with first guide section sliding fit and inner end, the internal diameter and the outer disc contact cooperation of main plunger that the series connection is equipped with a plurality of V type sealing washers and V type sealing washer in the seal segment, V type sealing washer is established main cylinder uide bushing axial on the main plunger by the cover and is compressed tightly in the seal segment, the Y type sealing washer that is used for main plunger secondary seal is installed to main cylinder uide bushing outer end, V type sealing washer adopts harder rubber to make, intensity high wear resistance is good, Y type sealing washer secondary seal, both combined seal structure are sealed effectual, the maintenance cost of hydro-cylinder has effectively been reduced.

Description

Large-scale hydro-cylinder seal structure
Technical Field
The utility model relates to a hydraulic cylinder technical field specifically is a large-scale hydro-cylinder seal structure.
Background
The hydraulic cylinder is a structure for converting pressure energy of hydraulic oil into mechanical energy, and is an actuating mechanism in a hydraulic working system, the work of the hydraulic cylinder depends on the change of the flow direction of the hydraulic oil, pressure difference is formed on two sides of a piston in the hydraulic cylinder, the piston is pushed to do reciprocating motion to do work, most of the sealing of the existing hydraulic cylinder adopts an O-shaped ring for sealing, once the sealing is worn, the problem of replacing the oil cylinder with a small cylinder diameter is not large, but for a large oil cylinder, the cylinder diameter is large, the diameter of a relative plunger is also large, the heavy replacement difficulty is large, the operation wastes time and labor, and the improvement is necessary.
SUMMERY OF THE UTILITY MODEL
An object of the utility model is to provide a large-scale hydro-cylinder seal structure to solve the problem that proposes in the above-mentioned background art.
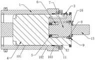
In order to achieve the above object, the utility model provides a following technical scheme: the utility model provides a large-scale hydro-cylinder seal structure, includesmain cylinder body 1,main plunger 4,vice plunger 7,main cylinder body 1 is byinterior cavity section 101,first direction section 102, theseal segment 103 that outwards has set gradually coaxial intercommunication,main plunger 4 withfirst direction section 102 sliding fit and inner end stretch intocavity section 101, the tandem is equipped with a plurality of Vtype sealing rings 14 just in theseal segment 103 the internal diameter of Vtype sealing ring 14 with the cooperation of the outer disc contact ofmain plunger 4, Vtype sealing ring 14 is established by the cover main cylinder uide bushing 11 axial on themain plunger 4 compresses tightly in theseal segment 103, main cylinder uide bushing 11 outer ends have been installed and have been used for Ytype sealing ring 12 of 4 secondary seal of main plunger.
Further: 4 outer ends of main plunger are provided with the open-ended andhold chamber 401,hold chamber 401 withmain plunger 4 is coaxial, hold the built-invice plunger 7 that is equipped with ofchamber 401,sealing ring 6 has been installed to the 7 inner ends of vice plunger, it has installed supplementary cylinder guide pin bushing 8 to hold 401 mouth end, the equipartition is provided with a plurality of first annular 601 on the 6 outer disc of sealing ring, the equipartition is equipped with a plurality of second annular 801 on supplementary cylinder guide pin bushing 8 inner wall and the outer disc, on thevice plunger 7 with the 6 inner wall of sealing ring corresponds the department equipartition and is equipped with a plurality of third annular 701, first annular 601O shape sealing washer has all been installed in second annular 801 and the third annular 701.
Further: the maincylinder guide sleeve 11 comprises aflange portion 1104 and a straightwall extension portion 1101 extending into thesealing section 103, the end face of the straightwall extension portion 1101 abuts against the end face of one adjacent V-shaped sealing ring 14, an adjustingpad 13 is arranged between theflange portion 1104 and the end face of themain cylinder body 1, afourth groove 1102 is arranged at the outer end of the inner wall of theflange portion 1104, and the Y-shaped sealing ring 12 is installed in thefourth groove 1102; thestraight wall extension 1101 and the inner wall of theflange 1104 form asecond guide section 1103 for guiding themain plunger 4.
Further: first circulation opening 2 andsecond circulation opening 3 have been seted up on the outer disc ofmain plunger 4 front end, first circulation opening 2 withsecond circulation opening 3 respectively correspond with hold thechamber 401 in by the two halves side cavity intercommunication that sealingring 6 separated.
Compared with the prior art, the beneficial effects of the utility model are that: the first guide section and the sealing section are arranged on the main cylinder body, the main plunger is guided by the first guide section, meanwhile, the sliding fit of the first guide section and the sealing section also realizes the primary sealing of hydraulic oil, namely, the effect of mechanical sealing is achieved, a plurality of V-shaped sealing rings are stacked in series in the sealing section, the straight wall extension part of the main cylinder guide sleeve is used for axially compressing the V-shaped sealing ring lamination, the inner diameter of each V-shaped sealing ring is reduced to wrap the main plunger to seal, when the V-shaped sealing rings are worn, the distance between the straight wall extension part and the sealing section is longer through replacing thinner adjusting pads, so that the V-shaped sealing ring lamination can be further axially extruded, the inner diameter of each V-shaped sealing ring is further reduced to offset the abrasion loss, the effect of recovering the sealing capacity is achieved, the service life of the V-shaped sealing rings is prolonged, namely, the service life of the oil cylinder is prolonged, the main plunger does not need to be disassembled during maintenance, time and labor are saved, the maintenance cost is saved, the V-shaped sealing ring is made of hard rubber, the strength is high, the abrasion resistance of the hydraulic oil cylinder is achieved by the small amount leaked from the V-shaped sealing ring and the Y-shaped sealing ring.
Drawings
Fig. 1 is a perspective view of the present invention;
fig. 2 is a side view of the present invention;
FIG. 3 is an internal schematic view of the present invention;
fig. 4 is a partial schematic view of the present invention;
fig. 5 is a partially enlarged view of a portion a in fig. 4.
In the figure: 1. a main cylinder body; 101. a cavity section; 102. a first guide section; 103. a sealing section; 2. a first circulation port; 3. a second flow port; 4. a main plunger; 401. an accommodating chamber; 5. a first nut; 6. a seal ring; 601. a first ring groove; 7. a secondary plunger; 701. a third ring groove; 8. an auxiliary cylinder guide sleeve; 801. a second ring groove; 9. a second nut; 10. pressing a ring; 11. a master cylinder guide sleeve; 1101. a straight wall extension; 1102. a fourth ring groove; 1103. a second guide section; 1104. a flange portion; 12. a Y-shaped seal ring; 13. an adjustment pad; 14. a V-shaped sealing ring; 15. and a push rod.
Detailed Description
The technical solution in the embodiments of the present invention will be clearly and completely described below with reference to the accompanying drawings in the embodiments of the present invention.
Referring to fig. 1-5, the utility model provides a large-scale oil cylinder sealing structure, includingmain cylinder body 1,main plunger 4,sub-plunger 7,main cylinder body 1 has set gradually coaxialintercommunication cavity section 101 from inside to outside,first direction section 102,seal section 103,main plunger 4 andfirst direction section 102 sliding fit and the inner end stretches intocavity section 101, tandem stack is equipped with a plurality of Vtype sealing washer 14 inseal section 103 and the internal diameter of Vtype sealing washer 14 cooperates with the outer disc contact ofmain plunger 4, Vtype sealing washer 14 is compressed tightly inseal section 103 by main cylinder uide bushing 11 axle that the cover was established onmain plunger 4, Ytype sealing washer 12 that is used formain plunger 4 secondary seal is installed to main cylinder uide bushing 11 outer end, concrete main cylinder,uide bushing 11 includesflange portion 1104 and thestraight wall 1101 that stretches intoseal section 103,straight wall 1101 terminal surface and an adjacent Vtype sealing washer 14 terminal surface butt are installed betweenflange portion 1104 andmain cylinder body 1 terminal surface, flange portioninner wall 1104 outer end is provided withfourth ring 1102, Ytype sealing washer 12 is installed infourth ring groove 1102; thestraight wall extension 1101 and the inner wall of theflange portion 1104 form asecond guide section 1103 for guiding themain plunger 4, so that the eccentric load capacity of themain plunger 4 is effectively improved, eccentric wear of the V-shaped sealing ring 14 is avoided, the service life of the V-shaped sealing ring 14 is prolonged, and subsequent maintenance and adjustment are facilitated; here, theflange 1104 is connected to the end surface of themain cylinder 1 by a fastener, the V-shaped opening of the V-shaped seal ring 14 faces the end surface of thestraight wall extension 1101, and the other end of the V-shaped seal ring 14 abuts against the bottom of theseal segment 103.
Through the arrangement, themain plunger 4 is guided by thefirst guide section 102 and thesealing section 103 arranged on themain cylinder body 1, meanwhile, the sliding fit also realizes the primary sealing of hydraulic oil, namely, the effect of mechanical sealing is achieved, a plurality of V-shaped sealing rings 14 are stacked in series in thesealing section 103, then the stacked layers of the V-shaped sealing rings 14 are axially compressed by the straightwall extension part 1101 of the maincylinder guide sleeve 11, as the V-shaped opening of the V-shaped sealing ring 14 faces the end face of the straightwall extension part 1101, the V-shaped sealing ring 14 can be axially extruded to wrap themain plunger 4 to be sealed, when the V-shaped sealing ring 14 is worn, the distance of the straightwall extension part 1101 entering the sealing section pair is longer by replacing a thinner adjustingpad 13, therefore, the V-shaped sealing ring 14 can be further axially extruded to be laminated, the inner diameter of the V-shaped sealing ring 14 is further reduced to offset abrasion loss, the effect of recovering the sealing capacity is achieved, the service life of the V-shaped sealing ring 14 is prolonged, namely, the service life of the oil cylinder is prolonged, therefore, themain plunger 4 does not need to be disassembled and assembled during maintenance, time and labor are saved, the maintenance cost is saved, the V-shaped sealing ring 14 is made of rubber with hard texture, the strength is high, the abrasion resistance is good, secondary sealing is carried out through the Y-shaped sealing ring 12 arranged in thefourth ring groove 1102 arranged at the outer end of the inner wall of theflange portion 1104, on one hand, external dust can be prevented from entering, on the other hand, hydraulic oil is further sealed, the sealing effect of the two combined sealing structures is good, and the maintenance cost of the oil cylinder is effectively reduced.
In a preferred embodiment, anopen accommodating cavity 401 is formed at the outer end of amain plunger 4, theaccommodating cavity 401 is coaxial with themain plunger 4, anauxiliary plunger 7 is arranged in theaccommodating cavity 401, asealing ring 6 is arranged at the inner end of theauxiliary plunger 7, a journal is usually machined on theauxiliary plunger 7, thesealing ring 6 is arranged on the journal, afirst nut 5 is screwed into a thread formed at the end of the journal to fix thesealing ring 6, anauxiliary cylinder guide 8 is arranged at the opening end of theaccommodating cavity 401, theauxiliary cylinder guide 8 is fixed by a second nut 9 screwed into the open end of theaccommodating cavity 401, the second nut 9 is an annular external thread structure, a plurality offirst ring grooves 601 are uniformly distributed on the outer circumferential surface of thesealing ring 6, a plurality ofsecond ring grooves 801 are uniformly distributed on the inner wall and the outer circumferential surface of theauxiliary cylinder guide 8, a plurality of third ring grooves are uniformly distributed on theauxiliary plunger 7 corresponding to the inner wall of thesealing ring 6, O-shaped sealing rings 701, thefirst ring groove 601, thesecond ring groove 801 and thethird ring grooves 701 are uniformly distributed in thethird ring grooves 701, theejector rod 15 is fixedly connected to the end face of theauxiliary plunger 7 through apressing ring 10 for assisting ejection during hydraulic forming, and the operation of theauxiliary plunger 7 is effectively guaranteed.
More preferably, themain plunger 4 has afirst communication port 2 and asecond communication port 3 formed on the outer circumferential surface of the front end thereof, thefirst communication port 2 and thesecond communication port 3 are respectively communicated with the two half-side cavities partitioned by theseal ring 6 in theaccommodation chamber 401, and thesub-plunger 7 is driven to operate by supplying or returning hydraulic oil through thefirst communication port 2 and thesecond communication port 3.
Through the arrangement, different sealing structures are adopted for themain plunger 4 and theauxiliary plunger 7, so that the reliability and the service life of the whole oil cylinder are ensured, the cost is saved, and the oil cylinder has better practicability.
Although the present invention has been described in detail with reference to the foregoing embodiments, it will be apparent to those skilled in the art that modifications may be made to the embodiments or portions thereof without departing from the spirit and scope of the invention.

Claims (4)

1. The utility model provides a large-scale hydro-cylinder seal structure, includes main cylinder body (1), main plunger (4), vice plunger (7), its characterized in that: main cylinder body (1) outwards has set gradually cavity section (101), first guide section (102), sealing section (103) of coaxial intercommunication from the inside, main plunger (4) with first guide section (102) sliding fit and inner end stretch into cavity section (101), tandem is equipped with a plurality of V type sealing washer (14) just in sealing section (103) the internal diameter of V type sealing washer (14) with the cooperation of the outer disc contact of main plunger (4), V type sealing washer (14) are established by the cover main cylinder uide bushing (11) axial on main plunger (4) is compressed tightly in sealing section (103), main cylinder uide bushing (11) outer end has been installed and has been used for Y type sealing washer (12) that main plunger (4) secondary is sealed.
2. The large-scale oil cylinder sealing structure according to claim 1, characterized in that: the main piston (4) outer end is provided with open-ended chamber (401) that holds, hold chamber (401) with main piston (4) are coaxial, hold chamber (401) built-in vice plunger (7) of being equipped with, sealing ring (6) have been installed to vice plunger (7) inner end, hold chamber (401) mouth end and have installed supplementary jar guide pin bushing (8), the equipartition is provided with a plurality of first annular (601) on sealing ring (6) the outer disc, the equipartition is equipped with a plurality of second annular (801) on supplementary jar guide pin bushing (8) inner wall and the outer disc, on vice plunger (7) with sealing ring (6) inner wall corresponds the department equipartition and is equipped with a plurality of third annular (701), first annular (601) the O shape sealing washer has all been installed in second annular (801) and third annular (701).
3. The large-scale oil cylinder sealing structure according to claim 2, characterized in that: the main cylinder guide sleeve (11) comprises a flange part (1104) and a straight wall extension part (1101) extending into the sealing section (103), the end face of the straight wall extension part (1101) is abutted to the end face of one adjacent V-shaped sealing ring (14), an adjusting pad (13) is arranged between the flange part (1104) and the end face of the main cylinder body (1), a fourth annular groove (1102) is formed in the outer end of the inner wall of the flange part (1104), and the Y-shaped sealing ring (12) is installed in the fourth annular groove (1102); the straight wall extension portion (1101) and the inner wall of the flange portion (1104) constitute a second guide section (1103) for guiding the main plunger (4).
CN202222571226.XU2022-09-262022-09-26Large-scale hydro-cylinder seal structureActiveCN217976846U (en)

Priority Applications (1)

Application NumberPriority DateFiling DateTitle
CN202222571226.XUCN217976846U (en)2022-09-262022-09-26Large-scale hydro-cylinder seal structure

Applications Claiming Priority (1)

Application NumberPriority DateFiling DateTitle
CN202222571226.XUCN217976846U (en)2022-09-262022-09-26Large-scale hydro-cylinder seal structure

Publications (1)

Publication NumberPublication Date
CN217976846Utrue CN217976846U (en)2022-12-06

Family

ID=84265264

Family Applications (1)

Application NumberTitlePriority DateFiling Date
CN202222571226.XUActiveCN217976846U (en)2022-09-262022-09-26Large-scale hydro-cylinder seal structure

Country Status (1)

CountryLink
CN (1)CN217976846U (en)

Similar Documents

PublicationPublication DateTitle
CN103233873A (en)External-rotor radial plunger hydraulic pump integrated with motors
CN217976846U (en)Large-scale hydro-cylinder seal structure
CN210978051U (en)Energy-saving two-cylinder high-pressure plunger hydraulic cylinder
CN211116894U (en)Heavy-load rack swing oil cylinder
CN101532523A (en)Novel hydraulic cylinder
CN211174513U (en)Oil-free air compressor
CN117108584B (en)Hydraulic piston structure and hydraulic cylinder
CN210290829U (en)Large-caliber nuclear grade M-type straight-through electric diaphragm valve
CN212407662U (en)Reversing valve of breaking hammer
CN108953135A (en)A kind of plunger and plunger pump
CN217270760U (en)Radial plunger pump
CN214742457U (en)Rotary oil cylinder
CN208322805U (en)A kind of multi-dot hydraulic pressure clamps, self-centering type cylindrical work fixture
CN219529285U (en)Cylinder structure of pneumatic plunger pump
CN209256270U (en)A kind of engine piston installation tool
CN214197504U (en)Single-action pneumatic actuator
CN212838680U (en)Hydraulic cylinder with prolonged service life
CN213870243U (en)Integrally vulcanized V-shaped high-pressure piston
CN217633206U (en)Hydraulic clamping cylinder for controlling walking
CN213176574U (en)High-wear-resistance cylinder sleeve type brake caliper
CN216278758U (en)Energy-saving oil cylinder and energy-saving oil pumping equipment
CN221195583U (en)Hydraulic cylinder with combined sealing structure
CN222950018U (en) A cylinder structure for continuous discharging
CN219673268U (en)Sealing structure for combined piston head
CN214998213U (en)Rotor structure of sliding vane air compressor

Legal Events

DateCodeTitleDescription
GR01Patent grant
GR01Patent grant

[8]ページ先頭

©2009-2025 Movatter.jp