Movatterモバイル変換


[0]ホーム

URL:


CN215913505U - Spring buffering shoes with packaging springs - Google Patents

Spring buffering shoes with packaging springs
Download PDF

Info

Publication number
CN215913505U
CN215913505UCN202022202015.XUCN202022202015UCN215913505UCN 215913505 UCN215913505 UCN 215913505UCN 202022202015 UCN202022202015 UCN 202022202015UCN 215913505 UCN215913505 UCN 215913505U
Authority
CN
China
Prior art keywords
spring
wave
springs
wave spring
shoe
Prior art date
Legal status (The legal status is an assumption and is not a legal conclusion. Google has not performed a legal analysis and makes no representation as to the accuracy of the status listed.)
Active
Application number
CN202022202015.XU
Other languages
Chinese (zh)
Inventor
K·阿达梅兹
R·阿扎尔
Current Assignee (The listed assignees may be inaccurate. Google has not performed a legal analysis and makes no representation or warranty as to the accuracy of the list.)
Spira Co
Original Assignee
Spira Co
Priority date (The priority date is an assumption and is not a legal conclusion. Google has not performed a legal analysis and makes no representation as to the accuracy of the date listed.)
Filing date
Publication date
Application filed by Spira CofiledCriticalSpira Co
Priority to CN202022202015.XUpriorityCriticalpatent/CN215913505U/en
Application grantedgrantedCritical
Publication of CN215913505UpublicationCriticalpatent/CN215913505U/en
Activelegal-statusCriticalCurrent
Anticipated expirationlegal-statusCritical

Links

Images

Landscapes

Abstract

A spring-cushioned shoe having an encapsulated spring, the shoe comprising: an upper portion; a sole assembly coupled to the upper; at least one wave spring; a U-shaped receiving clip comprising a protrusion, wherein the protrusion slidably receives a shim end of the at least one wave spring; a spring compression stop, wherein one terminal end of the spring compression stop is attached to an inner surface of the U-shaped receiving clip at a diametrical center of the protrusion; and an enclosure coupled to the at least one wave spring such that the at least one wave spring is installable in a cavity of the sole assembly when coupled to the enclosure.

Description

Spring buffering shoes with packaging springs
Technical Field
The present application relates to footwear. More particularly, the present disclosure relates to the use of wave springs as cushioning in shoes.
Background
Various methods have been employed for cushioning a person's feet while the person is walking, running, hiking, and/or jumping. Various foams, bladders, gels, and/or other materials are currently used for the insole, outsole, or between the insole and outsole of various types of footwear.
The related art has attempted to incorporate springs into shoes, but with limited success. Compression springs typically have a spring constant that is not suitable for use in footwear because, when used in footwear, the spring is either fully compressed or is not compressed enough by the force exerted on the spring. Torsion springs typically apply a spring force over a very small area. When the compression area is increased, the spring constant of the torsion spring has the same drawback as the compression spring.
People participating in exercise programs often seek new devices that minimize the risk of injury. A common cause of injury is the pressure created by the foot hitting the ground, which forces a pressure wave through the person's leg. Athletes are also seeking ways to improve their performance in various athletic activities such as walking, running, or jumping. Such athletes also desire to reduce wear and tear caused by the items and/or activities in which they participate. These desires may be met, to some extent, by the use of improved athletic equipment, and more particularly improved footwear for athletes and non-athletes.
In the case of the foot, the mechanics of running or walking involve a set of prescribed actions. In addition to sprinting items, the heel hits the ground first, then the weight is transferred forward in a rolling manner to the ball of the foot, the toe area providing the last contact with the ground. Initial impact of the heel area is of interest to non-sprinters, as impact of the heel area is likely to cause injury.
It is desirable to absorb this impact energy while still providing a stable footprint area without slowing the runner. It is also desirable to avoid losing too much energy to be absorbed by the shoe upon impact. In addition, since the ball and toe area of the foot is the area that ultimately brings the surface into contact with the ground, it is desirable to attempt to recover some of the absorbed energy that was lost in the initial impact.
The above-described desirable attributes of footwear indicate that there is a need for a footwear that enhances the performance of the wearer by providing a significant force acting over a significant distance while using a reduced deployment volume. In addition, there is a need for a shoe design that also helps push the foot off the ground while still maintaining sufficient lateral stability of the shoe for the wearer to move quickly side-to-side.
SUMMERY OF THE UTILITY MODEL
The present disclosure describes a spring-cushioned shoe with an encapsulated spring, the shoe comprising: an upper portion; a sole assembly coupled to the upper; at least one wave spring; a U-shaped receiving clip comprising a protrusion, wherein the protrusion slidably receives a shim end of the at least one wave spring; a spring compression stop, wherein one terminal end of the spring compression stop is attached to an inner surface of the U-shaped receiving clip at a diametrical center of the protrusion; and an enclosure coupled to the at least one wave spring such that the at least one wave spring is installable in a cavity of the sole assembly when coupled to the enclosure.
In a preferred embodiment of the present disclosure, the at least one wave spring includes a spring constant selected based at least in part on a location of the cavity in the sole assembly.
In a preferred embodiment of the present disclosure, the encapsulation is one of polypropylene, polyurethane, polystyrene, Ethylene Vinyl Acetate (EVA), rubber, plastic, foam.
In a preferred embodiment of the present disclosure, the enclosure couples at least one peak of the at least one wave spring with at least one valley of the at least one wave spring.
In a preferred embodiment of the present disclosure, the cavity in the sole assembly is located in a heel section of the sole assembly.
In a preferred embodiment of the present disclosure, the cavity in the sole assembly is located in a mid-section of the sole assembly.
In a preferred embodiment of the present disclosure, the cavity in the sole assembly is located in a forward section of the sole assembly.
In a preferred embodiment of the present disclosure, the sole assembly includes a plurality of cavities, each cavity of the plurality of cavities being designed to accommodate at least one of the at least one wave spring.
In a preferred embodiment of the present disclosure, the at least one wave spring in each of the plurality of cavities comprises a different spring constant.
In a preferred embodiment of the present disclosure, the spring constant of the at least one wave spring is selected based at least in part on an expected force at the cavity in which the at least one wave spring is installed.
This has outlined rather broadly the features and technical advantages of the present disclosure in order that the detailed description that follows may be better understood. Additional features and advantages of the disclosure will be described hereinafter. It should be appreciated by those skilled in the art that this disclosure may be readily utilized as a basis for modifying or designing other structures for carrying out the same purposes of the present disclosure. It should also be realized by those skilled in the art that such equivalent constructions do not depart from the teachings of the disclosure as set forth in the appended claims. The novel features which are believed to be characteristic of the disclosure, both as to its organization and method of operation, together with further objects and advantages will be better understood from the following description when considered in connection with the accompanying figures. It is to be expressly understood, however, that each of the figures is provided for the purpose of illustration and description only and is not intended as a definition of the limits of the present disclosure.
Drawings
For a more complete understanding of this disclosure, reference is now made to the following descriptions taken in conjunction with the accompanying drawing.
FIG. 1 illustrates a side view of one embodiment of a spring-cushioned shoe in one aspect of the present disclosure;
FIG. 2 illustrates a cross-sectional view of a spring-cushioned shoe taken in the heel region of the spring-cushioned shoe in one aspect of the present disclosure;
FIG. 3 illustrates a view of a wave spring component in one aspect of the present disclosure;
FIG. 4 illustrates a plan view of an outsole of a spring-cushioned shoe in one aspect of the present disclosure;
FIG. 5 illustrates a side view of a second embodiment of a spring-cushioned shoe in one aspect of the present disclosure;
FIG. 6 illustrates a plan view of an outsole of a second embodiment of a sprung cushioning shoe in one aspect of the present disclosure;
FIG. 7 illustrates a cross-sectional view of one of the spring assemblies of the second embodiment of a spring-cushioned shoe having a stabilizer and a compression limiter, in one aspect of the present disclosure;
FIG. 8 illustrates a side view of a wave spring in one aspect of the present disclosure, wherein a first side is compressed;
FIG. 9 illustrates a side view of a wave spring with the second side compressed in one aspect of the present disclosure;
FIG. 10 illustrates an alternative embodiment of the example of FIG. 7 in one aspect of the present disclosure;
FIG. 11 illustrates a top view and a side view of a wave spring according to one aspect of the present disclosure;
FIG. 12 shows an exploded perspective view of an alternative embodiment of a shoe according to the present disclosure in one aspect of the present disclosure;
FIG. 13 illustrates a perspective view of an overlapping wave spring in one aspect of the present disclosure;
fig. 14 illustrates a perspective view of a gap type wave spring in one aspect of the present disclosure.
Detailed Description
The detailed description set forth below in connection with the appended drawings is intended as a description of various configurations and is not intended to represent the only configurations in which the concepts described herein may be practiced. The detailed description includes specific details in order to provide a thorough understanding of the various concepts. It will be apparent, however, to one skilled in the art that these concepts may be practiced without these specific details. In some instances, well-known structures and components are shown in block diagram form in order to avoid obscuring such concepts. As described herein, use of the term "and/or" is intended to mean an "inclusive or" and use of the term "or" is intended to mean an "exclusive or.
Overview
The present disclosure relates to the use of wave springs and polymers as components of footwear to cushion the impact of foot landing and provide a return of energy to the wearer. A spring-cushioned shoe incorporating various features of the present disclosure is shown generally in fig. 1 and 2 as a spring-cushioned shoe (SCS) 2.
In one aspect of the present disclosure, the wave spring may be encapsulated in a compressible plastic and/or other polymer to provide impact suppression and/or energy return to the wearer. Such advantages and/or improvements may be achieved by storing the impact energy imparted by foot strike and returning a significant amount of energy to the wearer's foot during the propulsion phase of the stride.
In one aspect of the present disclosure, a wave spring is used to reduce the impact on the user during landing, which may increase comfort and/or reduce the likelihood of injury. The wave spring, which may be encapsulated in plastic and/or polymer, may also return a portion of the impact energy to the user for more efficient jumping, walking, and/or running. Encapsulating the spring in a plastic and/or polymer material may increase the useful life of the wave spring, and thus the shoe, by absorbing energy with the spring and/or returning energy to the user.
Fig. 1 and 2 illustrate side and cross-sectional views, respectively, of a heel section of one embodiment of a spring-cushioned shoe in one aspect of the present disclosure.
Referring to fig. 1 and 2,SCS 2 includes a shoe upper 5 attached to a sole assembly 4. Sole assembly 4 includes: anoutsole 4A having a first surface and a second surface; amidsole 4B having a first surface and a second surface, the midsole being positioned such that the first surface of themidsole 4B is attached to the second surface of theoutsole 4A; and aninsole 4C, a first surface of which is attached to a second surface of themidsole 4B and a second surface of which is in contact with a lower region of the shoe upper 5.
In one aspect of the present disclosure, themidsole 4B may be made of a foamed polymer material, and theoutsole 4A andinsole 4C may be made of one or more solid polymer materials. In a particular embodiment of the present disclosure, theoutsole 4A comprises ethyl vinyl acetate, wherein the first surface of theoutsole 4A has traction properties.
Themidsole 4B is designed to define cavities (vacuity)6 and 7. Thecavity 6 is defined by vertically opposingsurfaces 8A and 8B of the foamed polymeric material of themidsole 4B and is formed in theheel region 8C of theSCS 2.Surfaces 8A and 8B, which are disposed separately from the second and first surfaces ofmidsole 4B, respectively, define a relatively thick section ofmidsole 4B in the heel region of sole component 4, wherein cylindrical counter sink volumes (counter sink volumes) 11A and 11B, respectively, are formed, as shown in FIG. 2.
Acavity 7 is provided between vertically opposedsurfaces 10A and 10B ofmidsole 4B in a ball region 10C of sole component 4. Likesurfaces 8A and 8B, surfaces 10A and 10B define relatively thick sections of the material ofmidsole 4B vertically below and abovecavity 7, such that cylindrical counterbore volumes similar tocounterbore volumes 11A and 11B may be formed therein. The cylindrical counterbore volume provides vertical stability and retention of the wave springs 15 and 19. Although shown ascylindrical volumes 11A and 11B, thevolumes 11A and 11B may also be other shapes, such as cubic, frustoconical, hexagonal, etc., without departing from the scope of the present disclosure. The sole component 4 is securely attached to the upper 5 of theSCS 2. Wave springs 15 and 19 are disposed incavities 6 and 7, respectively, ofmidsole 4B of sole assembly 4.
FIG. 3 illustrates a view of a wave spring component in one aspect of the present disclosure.
Wave springs 15 and 19 are generally described in Greenhill (Greenhill) in U.S. patent No. 4,901,987, which is expressly incorporated herein by reference. Green hill describes a multi-turn wave spring having peaks and valleys. In one aspect of the present disclosure, the orientation of the peaks and valleys and/or the number of turns comprising wave springs 15 and/or 19 may be oriented in a particular direction relative to sole assembly 4. Such orientations may allow for additional adjustment of the spring relative to the wearer, or may provide correction of pronation/supination and/or other foot positioning during a wearer's stride. Awave spring 15 having rounded flat shim ends 15A and 15B and having peaks 15C and valleys 15D with a defined periodicity is shown in fig. 3. Although shown as a metal spring, springs 15 and/or 19 may also be made of other materials, such as carbon fiber, graphite, other types of plastic and/or polymeric materials, and/or other materials, without departing from the scope of the present disclosure.
The configuration of the wave springs 15 and 19 provides an operationally acceptable force and deflection for a given free height of the springs. The wave spring of the preferred embodiment of the present disclosure may be replaced by a multi-turn wave spring that does not employ flat shim tips, but instead relies on the use of flat end plates in combination with conventional wave springs.
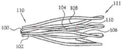
Themulti-turn wave spring 15 includes anupper turn 100 and alower turn 102. Theupper turn 100 is in pivotal contact (pivotal contact) with thelower turn 102 by tangential contact between avalley 104 of theupper turn 100 and apeak 106 of thelower turn 102 and by tangential contact between avalley 108 of theupper turn 100 and apeak 110 of thelower turn 102. The pivotal contact betweenpeaks 106 and 110 andvalleys 104 and 108, respectively, defines afirst side 110 and a second side 111 ofmulti-turn wave spring 15.
Those skilled in the art will recognize that springs 15 and 19 may be formed in a non-cylindrical shape. For example, an elliptical perimeter may be used for the spring 19 in the ball region 10C to allow for improved positioning of the metatarsals of the foot and improved flexibility of the shoe. In addition, springs 15 and/or 19 may be removable from sole assembly 4 to allow customization offootwear 2 for an individual. For example, but not by way of limitation, for larger and/or heavier individuals, a spring having a large force constant may be inserted into the shoe, while for smaller and/or lighter individuals, a spring having the same size but a smaller force constant may be inserted into the shoe so that each individual may compress the spring in proportion to the force that a particular individual will exert on thespring 15 and/or 19.
Thecylindrical counterbore volumes 11A and 11B are designed to slidably receive the pad ends 15A and 15B, respectively, of thewave spring 15 in theheel region 8C. When fully inserted, the shim ends 15A and 15B of thewave spring 15 are held in firm mechanical contact with the closed ends of the cylindrical counter borevolumes 11A and 11B, respectively.
The area of sole component 4 ofSCS 2 generally adjacent to the metatarsal region of the foot also hassurfaces 10A and 10B (see fig. 1 and 4) that contain similar countersunk cylindrical (and/or frustoconical and/or other shaped) volumes (not shown) for slidably receiving the first and second shim ends (not shown) of wave spring 19, respectively, in the following order. When fully inserted, the shim end of the wave spring 19 is in mechanical contact with the closed end portion of the cylindrical volume.
Theenclosure 16 shown in fig. 3 is shown surrounding, covering and/or enclosing thewave spring 15.Enclosure 16 may be a polymeric material such as polypropylene, polyurethane, polystyrene, Ethylene Vinyl Acetate (EVA), rubber, plastic, foam, other polymers, and/or other compressible materials without departing from the scope of the present disclosure. Further, theenclosure 16 may be used to couple each of the peaks and valleys of the (couple)wave spring 15. For example, and not by way of limitation, the peaks and valleys of the turns of the wave spring may be attached by theenclosure 16, if desired.
Becauseenclosure 16 may be compressible,enclosure 16 may provide additional absorption and/or return of energy imparted to wavespring 15 during walking, running, or other movements of the wearer ofSCS 2. Furthermore, this compressibility of theenclosure 16 may be used in addition to the compressibility (spring constant) of thewave spring 15 to provide an overall compression factor for a givenSCS 2 design. For example, and not by way of limitation, ashoe 2 that may use aspring 15 having a constant of 425 pound-foot per inch (pound-foot per inch) may be replaced with aspring 15 having a constant of 375 pound-foot per inch encased in anencasement 16 having a constant of 50 pound-foot per inch. Such replacement may result in aspring 15/enclosure 16 combination having equivalent compressibility, but may have a longer useful life and/or a reduced cost in the manufacture of theshoe 2.
Theencapsulation 16 may also extend the life of thewave spring 15 because the stress at the contact points between the turns of thewave spring 15 is now supported at least partially by theencapsulation 16, rather than by air.Potting 16 may also provide additional lateral stability toSCS 2, as potting 16 may be employed to provide a better fit ofwave spring 15 intovolumes 11A and 11B. Theenclosure 16 may also surround only thewave spring 15 and not be present in the central portion of thewave spring 16 to allow additional control of the comfort and/or performance of theSCS 2 as desired.
FIG. 4 illustrates a plan view of an outsole of a spring-cushioned shoe in one aspect of the present disclosure.
As shown in FIG. 4, thesurfaces 8A and 8B are mechanically held in such a way that thetransparent tape 22 is attached to thesurfaces 8A and 8B by an adhesive, with thetransparent tape 22 providing a minimal compressive load on the pad ends 15A and 15B of thewave spring 15. Similarly, thetransparent band 28 provides a slight compressive load on the pad ends 19A and 19B of the wave spring 19 when adhesively attached to thesurfaces 10A and 10B. In addition to sealing thecavities 6 and 7 from the environment, thetransparent bands 22 and 28 provide some lateral stability to the user of theSCS 2. It should be apparent that thetransparent bands 22 and 28 may also be made of a variety of different materials. In fig. 1, the upper part 5 of theSCS 2 is made of a high-strength synthetic fabric. Thematerial including SCS 2 is not limited to only those mentioned in the present disclosure. Any number of materials may be used in the manufacture of the footwear of the present disclosure. The cylindricalcounter sink volumes 11A and 11B and similar volumes defined in thesurfaces 10A and 10B, along with thetransparent bands 22 and 28, provide retention and vertical stability of the wave springs 15 and 19 when the wave springs 15 and 19 are inserted into thecavities 6 and 7, respectively.
Referring to the embodiment of the present disclosure shown in fig. 1, the front end 29,rear end 30, andmiddle region 32 of the sole assembly 4 of theSCS 2 are designed to provide retentive support for the wave springs 15 and 19, the wave springs 15 and 19 enhancing the support provided by thetransparent straps 22 and 28. This retentive support is constituted by a strap connecting sole component 4 to shoe upper 5. In fig. 1, wave springs 15 and 19 are deployed incavities 6 and 7 in sole assembly 4 attached to shoe upper 5. The cross-sectional view in fig. 2 shows internal wavespring compression limiters 36 and 38, which are integral parts of the cylindrical counter borevolumes 11A and 11B, respectively. That is, the outer dimensions of the compression limiter define the inner diameter of thecounterbore volumes 11A and 11B, respectively.
The opposing spring compression stops 36 and 38 (see fig. 2 and 4) are separated by anextended wave spring 15 whose crush height (solid height) of the extendedwave spring 15 when fully compressed by the impact force of a user's foot is less than the linear distance in the vertical direction between the spring compression stops 36 and 38. The height of thecompression limiters 36 and 38 is dictated by the depth of the cylindricalcounter-bore volumes 11A and 11B in thesurfaces 8A and 8B, respectively. In one embodiment of the shoe of the present disclosure, the distance between the terminal ends of thecompression limiters 36 and 38 is set to 12 mm. The height of the spring compression stops 36 and 38 is mathematically related to the spring constant of the wave spring and the mass of the user and is selected such that thewave spring 15 cannot be compressed to its compressed height during use. Thus, the distance between the terminal ends of the upper and lower spring compression limiters 42, 10c of the ball region 10c is set to 9mm due to the forces generated at the portion of the sole component 4 of theSCS 2 that is typically near the metatarsals of the foot during normal use.
The distance between the spring compression stops of the wave spring 19 and the spring constant of the wave spring 19 are selected such that the force generated when the first surface of the sole assembly 4 opposite the ball of the foot contacts the surface during running is unable to compress the wave spring 19 to its compressed height.
The compression limiters 36 and 38 serve to prevent the wave springs 15 and 19 from being overstressed, thereby increasing the service life of the springs. Alternatively, the turns of a multi-turn wave spring may be spaced sufficiently close to prevent the spring from compressing to an over-stressed state. That is, the wave spring is made with a low profile so that the maximum spring deflection does not reach an overstress condition.
Wave springs 15 and 19 may be slidably inserted overcompression limiter 38 ofheel region 8C and the lower compression limiter of ball region 10C, respectively, while a flat plate or even a single lasting board (board) is placed over wave springs 15 and 19 and bonded to the perimeter of the top ofmidsole 4B.
Those skilled in the art will recognize that the prescribed distance between the terminal spring compression stops will vary depending on the weight of the user. In the present disclosure, thecavities 6 and 7 of the sole assembly 4 are formed by dividing themidsole 4B into two substantially equal plates from the heel region of the shoe forward toward the toes. Thecylindrical counterbore volumes 11A and 11B are formed by machining in the foamed polymer material of themidsole 4B at the appropriate locations and depths. The combined depth of thecylindrical counterbore volumes 11A and 11B is selected such that the height of the wave springs 15 and 19 will fill thecavities 6 and 7 at those areas of themidsole 4B when the wave springs 15 and 19 are inserted into thecounterbore volumes 11A and 11B. Once the wave springs 15 and 19 are inserted into the machined cylindrical counterbore volume, the segmented portions of the foamed polymer material of themidsole 4B are adhesively reattached in the central region of the sole assembly 4. Thecavities 6 and 7 are sealed bytransparent bands 22 and 28, respectively. The transparent straps 22 and 28 are attached to the sole assembly 4 at the heel and ball of the foot region of theSCS 2 by an adhesive. The foamed polymer material of themidsole 4B may be made of any number of resilient materials, such as polyurethane.
The method in the present disclosure for forming thecavities 6 and 7 and securing the wave springs 15 and 19 in themidsole 4B of theSCS 2 is as discussed above. However, it will be apparent to those skilled in the art that the cavity and spring retention method may be formed by any number of manufacturing techniques available to the footwear industry, such as using a molding process in which the spring is inserted into the assembled sole. Alternatively, the entire sole spring assembly may be manufactured in a single continuous process.
The force of heel strike is substantially greater than the force of impact against the ball portion of the foot. Thus, the free height of thewave spring 15, which primarily provides cushioning during foot landing, is selected to be greater than the free height of the wave spring 19, and the wave spring 19 primarily provides lift off force (liftoff force) to the wearer's foot.
Although the wave springs 15 and 19 used in the footwear of the depicted embodiment of the present disclosure are metallic in construction, those skilled in the art will recognize that the material of the wave springs is not limited to metal only, and a wide variety of other materials may also be used. Likewise, the materials used in the other portions of the footwear may be made from any of a variety of materials commonly used in the art. While the shoe of the present disclosure uses single leaf crest-to-crest wave springs, staggered wave springs as described in U.S. patent No. 5,639,074 or nested wave springs as are commercially available may also be used. As with the peak-to-peak wave springs, interleaving and nesting wave springs (e.g., peak-to-peak wave springs) provide the primary desirable characteristics of peak-to-peak wave springs that are important to the footwear of the present disclosure. That is, as with the crest-to-crest wave springs, the interleaved and nested wave springs provide maximum force and deflection for a given unloaded spring height, and provide cushioning and energy return in response to rolling foot strike.
Fig. 5 illustrates a side view of a second embodiment of a spring-cushioned shoe in one aspect of the present disclosure, fig. 6 illustrates a plan view of an outsole of the second embodiment of a spring-cushioned shoe in one aspect of the present disclosure, and fig. 7 illustrates a cross-sectional view of one of the spring assemblies of the second embodiment of a spring-cushioned shoe with a stabilizer and a compression limiter in one aspect of the present disclosure.
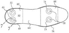
In fig. 5 and 6, the wave springs 50 and 52 are mounted in thecavity 54 with their first and second terminal pad ends 56 and 58, respectively, mounted in a U-shapedplastic receiving clip 60, the receivingclip 60 including aprotrusion 64 as shown in fig. 7. Theprojections 64 slidably receive the first and second terminal pad ends 56 and 58 of the wave springs 50 and 52 to provide secure mechanical contact between the first and second terminal pad ends 56 and 58 and theclosed end 63 of theprojections 64 of theU-shaped receiving plate 60. A U-shapedplastic receiving clip 60 containing wave springs 50 and 52 is inserted intocavity 54 where the receiving clip is attached by adhesive to the flatinner surfaces 53A and 53B ofcavity 54 in the heel region ofmidsole 4B 'of sole assembly 4'. The U-shapedplastic receiving clip 60 is designed with a pair ofcylindrical compression limiters 65 associated with each wave spring.
As shown in fig. 7, one terminal end of eachcompression limiter 65 is attached to each of the opposing inner surfaces of theclip 60 by adhesive at the diametrical center of theprojection 64. The U-shapedplastic receiving clip 60 of this second embodiment of the shoe of the present disclosure may be replaced by two plastic plates containing protrusions for slidably receiving the shim ends of one or more wave springs. Alternatively, as depicted in fig. 10, theend 67 may be embedded in themidsole 4B. As shown in fig. 5 and 6, thecavity 54 is sealed by amalleable plastic 69 to provide strength to the SCS 2' in a lateral or side-to-side direction during use.
Thecavity 66 is located in the metatarsal region of the sole assembly 4'. Theplastic panels 68 and 70 include on their first surfaces protrusions 72 substantially identical to theprotrusions 64 of fig. 7, with first and second pad ends 73A and 73B of thewave spring 73 and first and second pad ends (not shown) of the wave spring 74 (fig. 6) slidably inserted into the protrusions 72. Theplastic panels 68 and 70 have substantially parallel second surfaces in addition to the first surfaces. The assembled unit consisting of theplastic plates 68 and 70, the protrusions 72 and the wave springs 73 and 74 is inserted into thecavity 66 of the sole assembly 4'. The second surfaces of theplastic panels 68 and 70 with the wave springs 73 and 74 interposed therebetween are attached to the flatinner surfaces 75A and 75B of thecavity 66 by an adhesive. Theplates 68 and 70 are designed to accommodate thecompression limiter 78 with minimal resistance, thecompression limiter 78 being attached to the diametrical center of theplates 68 and 70 in a manner similar to the attachment of thecompression limiter 65 to theplates 68 and 70. Thecompression limiter 78 serves to limit the amount of compression that the wave springs 73 and 74 may experience during use. Thecavity 66 is sealed withmalleable plastic 76.
One of ordinary skill in the art will recognize that more than two wave springs may be employed in each of the heel and metatarsal regions of the footwear of the present disclosure. In this second embodiment, a compression limiter is associated with each wave spring. However, one or more pairs of strategically positioned area compression limiters may be used to limit the compression of the plurality of wave springs. Alternatively, the wave spring may be used only in theheel region 8C or only in the ball region 10C.
The spring-cushioned shoe of the second embodiment of the present disclosure includes opposing panels separated by the intervening foam material shown in fig. 5. The plastic plate may also be securely retained by friction or other mechanical means other than the aforementioned adhesives for slidable insertion into and removal from sole assembly 4' to accommodate replacement of the wave springs with other wave springs having different spring rates. Additionally, the plastic panels may be joined to form a plastic member that extends from a heel region to a ball region of the sole assembly. A sole assembly designed to receive a plastic member may be provided with a single cavity that extends a substantial portion of the entire length of the sole assembly.
The wave springs used in the depicted embodiments of the present disclosure are made of spring steel having inner and outer diameters, a transverse thickness, peak and valley heights, and quantities selected to provide wave springs 15 and 19 with spring rates of 600lb/in and 500lb/in, respectively.
The design parameters and materials of the wave spring are selected to provide springs having different spring forces and other characteristics. For example, other metallic and non-metallic materials, polymers, and composites may be selected for different weight and strength characteristics. Moreover, the design parameters of the wave spring can be varied to provide varying strength, deflection and load characteristics. In addition, embodiments of the present disclosure are described in terms of a single cushioning shoe. It should be understood that companion cushioning shoes will have similar designs and constructions.
Fig. 8 shows a side view of a wave spring with a first side compressed in one aspect of the present disclosure, and fig. 9 shows a side view of a wave spring with a second side compressed in one aspect of the present disclosure.
The sequential operation of themulti-turn wave spring 15 within runningshoe 2 is illustrated in fig. 3, 8 and 9. In fig. 3, thespring 15 is shown in its relaxed state, which is when the shoe is lifted off the ground.First side 110 is compressed whenheel region 8C offootwear 2 impacts the ground (see fig. 8). Compression offirst side 110 transfers expansion pressure to second side 111 through pivotal contact betweenpeaks 106 and 110 andvalleys 104 and 108, respectively. When the rolling motion with the foot grounded continues, thespring 15 returns to the state shown in fig. 3. The second side 111 is then compressed (see fig. 9). Compression of second side 111 transfers expansion pressure tofirst side 110 through pivotal contact betweenpeaks 106 and 110 andvalleys 104 and 108, respectively. Whenheel region 8C lifts off the ground,spring 15 returns to the state shown in fig. 3. Followingspring 15, spring 19 in ball region 10C operates sequentially in a similar manner to provide cushioning and energy return in response to rolling foot strike. Thesprings 15 and 19 operate similar to longitudinal and lateral movement to allow rapid lateral movement in activities such as basketball and tennis.
The operation of theSCS 2 will now be explained with reference to the shoe of fig. 1. When a pair of spring-cushioned shoes is used by a user (e.g., a runner), the area of the shoe containing the wave springs 15 first impacts the running surface. The impact force exerted by the calcaneus portion of the foot compresses the wave spring to a prescribed height before the foot comes to rest and body mass is dynamically transferred to the metatarsal region of the foot in contact with the surface of the wave spring 19 that is compressed. Thewave spring 15, in initial foot strike, undergoes a compression-rebound cycle as body mass is transferred to the metatarsal region of the foot. When the user lifts the metatarsal region of the foot, energy is transferred to this region as the wave spring 19 rebounds. Thus, both wave springs 15 and 19 provide cushioning and energy return to the user of theSCS 2.
Fig. 11 illustrates top and side views of a wave spring according to one aspect of the present disclosure.
Fig. 11 shows a wave spring 15 (or 19) having anouter diameter 1100, aninner diameter 1102, aradial wall thickness 1104, afree gap 1106, aheight 1108, awire thickness 1110, a number ofturns 1112, and awave number 1114.
In one aspect of the present disclosure, the characteristics 1100-1114 of thewave spring 15 may be varied to provide different levels of compression/expansion and to provide different dimensions for thewave spring 15.
Depending on the placement of the wave spring 15 (or 19), theouter diameter 1100,inner diameter 1102,radial wall thickness 1104, andline thickness 1110 may be varied to adjust theshoe 2 to suit an individual or group of individuals. For example, but not by way of limitation, theouter diameter 1100 may vary from 1 inch to 3 inches such that thewave spring 15 may be located in a variety of different locations in theshoe 2. Further, theinner diameter 1102 may vary from 0.75 inches to 2.5 inches, theradial wall thickness 1104 may vary from 0.1 inches to 0.3 inches, and the wire thickness may vary from 0.01 inches to 0.08 inches. The ranges given herein are for explanation only; variations in these characteristics of the wave spring 15 (or 19) may fall outside of these ranges without departing from the scope of the present disclosure.
Theheight 1108,free gap 1106, number ofturns 1112, and number ofwaves 1114 may also be varied to allow the wave spring 15 (or 19) to be tailored to the desired design parameters of theshoe 2. For example, thewavenumber 1114 may vary from 1 to 10, the number ofturns 1112 may vary from 1 to 10, thefree height 1108 may vary from 0.1 inches to 1 inch, and the free gap may vary from 0.1 inches to 0.5 inches without departing from the scope of the present disclosure. The ranges given herein are for explanation only; variations in these characteristics of the wave spring 15 (or 19) may fall outside of these ranges without departing from the scope of the present disclosure.
By varying the characteristics 1100-1114, the spring constant (also referred to herein as "spring rate") may be varied to allow theshoe 2 to absorb more of the impact to various conditions via the wave springs 15 and/or 19. As an example, walking produces less impact than running. Thus, the wave springs 15 and/or 19 for walking shoes may require a lower spring rate than running shoes. For example, and without limitation, by controlling the characteristic 1100 and 1114, a spring rate of 200 to 700 lbs/inch for the wave springs 15 and/or 19 is possible without departing from the scope of the present disclosure. The ranges given herein are for explanation only; variations in these characteristics of the wave spring 15 (or 19) may fall outside of these ranges without departing from the scope of the present disclosure.
When the spring rate depicted in fig. 11 is combined with at least one compression modulus for theenclosure 16, the overall effective spring rate of the wave springs 15 and/or 19 may be varied or adjusted by combining aparticular wave spring 15 and/or 19 having certain characteristics with aparticular enclosure 16 having certain characteristics (e.g., a compression modulus between 1 and 50C, or having an equivalent spring rate, etc.) to achieve a desired overall spring rate. It is also contemplated within the scope of the present disclosure thatenclosure 16 may provide little or no change in spring rate for a givenwave spring 15 and/or 19.
FIG. 12 illustrates an exploded perspective view of an alternative embodiment of a shoe according to the present disclosure in one aspect of the present disclosure.
Another embodiment of the present disclosure depicted in fig. 12 provides aplate 100 located on thetop surface 102 of thewave spring 104, the plate being located within acavity 112 in the heel region of the sole. Theplate 100 includes a tubularlower section 106 and aperipheral flange 108 disposed adjacent atop edge 110 of the tubularlower section 106. The diameter of the tubularlower section 106 is smaller than the diameter of thecavity 112. In this embodiment, thecavity 112 operates similar to a cylinder bore, and theplate 100 above the wave spring acts like a piston by cycling between the top of thecavity 112 and a depth below the top of thecavity 112. This embodiment increases the natural functionality of thewave spring 104 because the wave spring accommodation is not as limited as when the perimeter of the top plate is bonded to the top surface of themidsole 114. This embodiment also increases the responsiveness of the rolling foot to landing during the opposing expansion/compression pressures previously disclosed, since the top plate is free to move with thetop surface 102 of the wave spring.
Fig. 13 illustrates a perspective view of an overlap type wave spring in one aspect of the present disclosure, and fig. 14 illustrates a perspective view of a gap type wave spring in one aspect of the present disclosure.
Thewave spring 104 may comprise a multi-turn wave spring or a single-turn wave spring. The single turn wave spring uses the peaks of the single turns to act as a natural lever to rock the single turn wave spring against the upper and/or lower plates to increase the energy return in response to rolling foot landing. Fig. 12 and 13 show a variation of the single turn wave spring. Specifically, fig. 13 shows a gap type wave spring, and fig. 14 shows an overlap type wave spring.
As with all wave springs, a single turn wave spring consists of successive rising and falling peaks. However, the ends of the single turn wave spring are free to move circumferentially and independently of each other. In the present disclosure, a single turn wave spring has two modes of reaction to foot landing. When a force is applied across more than one rising peak in a substantially uniform manner at foot landing, the single turn wave spring responds by expanding radially and recovers by contracting radially. However, in the case of rolling foot landing where pressure is primarily applied to a single rising peak, the falling peaks on either side cooperate as fulcrums, causing the single turn wave spring to pivot along an axis defined between the two falling peaks. The resulting shaking provides the desired energy return.
During foot landing (whether jumping or running), a peak force several times the body weight is imparted to the wave spring. Assuming an average user of the footwear weighs 165lbs, an average peak force of greater than 300lbf/in may be imparted to the wave spring. Thus, the aforementioned spring rate is useful for a 165lb person.
Wave springs are ideal for use in such limited space applications. Because of the limited combination of force, deflection, and space requirements, conventional spring methods are inferior in cushioning applications for shoes.
Although the present disclosure and its advantages have been described in detail, it should be understood that various changes, substitutions and alterations can be made herein without departing from the technology of the disclosure as defined by the appended claims. For example, relational terms such as "above" and "below" are used with respect to the views of the apparatus as shown in the present disclosure. Of course, if the device is inverted, the upper side becomes the lower side, and vice versa. Additionally, if oriented laterally, above and below may refer to the sides of the device. Moreover, the scope of the present application is not intended to be limited to the particular configurations of the process, machine, manufacture, composition of matter, means, methods and steps described in the specification. As one of ordinary skill in the art will readily appreciate from the disclosure, processes, machines, manufacture, compositions of matter, means, methods, or steps, presently existing or later to be developed that perform substantially the same function or achieve substantially the same result as the corresponding configurations described herein may be utilized according to the present disclosure. Accordingly, the appended claims are intended to include within their scope such processes, machines, manufacture, compositions of matter, means, methods, or steps.
Those of skill would further appreciate that the various illustrative logical blocks, modules, and algorithm steps described in connection with the disclosure herein may be implemented as a variety of different types of materials and/or combinations of materials. To clearly illustrate this interchangeability, various illustrative components, blocks, modules, and steps have been described above generally in terms of their functionality. The various materials and/or combinations of materials used to implement the present disclosure depend on the particular application and design constraints imposed on the overall system. Skilled artisans may implement the described functionality in varying ways for each particular application, but such implementation decisions should not be interpreted as causing a departure from the scope of the present disclosure.
The description of the present disclosure is provided to enable any person skilled in the art to make or use the present disclosure. Various modifications to the disclosure will be readily apparent to those skilled in the art, and the generic principles defined herein may be applied to other variations without departing from the spirit or scope of the disclosure. Thus, the disclosure is not intended to be limited to the examples and designs described herein but is to be accorded the widest scope consistent with the principles and novel features disclosed herein.
Although several embodiments have been described in detail for purposes of illustration, various modifications may be made without deviating from the scope and spirit of the disclosure. Accordingly, the disclosure is not to be limited by the examples presented herein, but is to be construed to cover the scope as described in the appended claims, along with the full scope of equivalents to which such claims are entitled.

Claims (13)

CN202022202015.XU2020-09-302020-09-30Spring buffering shoes with packaging springsActiveCN215913505U (en)

Priority Applications (1)

Application NumberPriority DateFiling DateTitle
CN202022202015.XUCN215913505U (en)2020-09-302020-09-30Spring buffering shoes with packaging springs

Applications Claiming Priority (1)

Application NumberPriority DateFiling DateTitle
CN202022202015.XUCN215913505U (en)2020-09-302020-09-30Spring buffering shoes with packaging springs

Publications (1)

Publication NumberPublication Date
CN215913505Utrue CN215913505U (en)2022-03-01

Family

ID=80408874

Family Applications (1)

Application NumberTitlePriority DateFiling Date
CN202022202015.XUActiveCN215913505U (en)2020-09-302020-09-30Spring buffering shoes with packaging springs

Country Status (1)

CountryLink
CN (1)CN215913505U (en)

Similar Documents

PublicationPublication DateTitle
US11497273B2 (en)Spring cushioned shoe with encapsulated spring
US7219447B2 (en)Spring cushioned shoe
US6282814B1 (en)Spring cushioned shoe
US6886274B2 (en)Spring cushioned shoe
US6665957B2 (en)Fluid flow system for spring-cushioned shoe
CN111011987B (en)Sole for shoes
US4843737A (en)Energy return spring shoe construction
US4774774A (en)Disc spring sole structure
CN101815448A (en)Energy storage and return spring
US7441347B2 (en)Shock resistant shoe
KR101166466B1 (en)Durability shoes for absorbing sock
WO2003056963A1 (en)Shock resistant shoe
JP5985070B2 (en) Cushioning structure and shoes using the same
CN215913505U (en)Spring buffering shoes with packaging springs
KR100775362B1 (en) Shoes with elastic body
KR20230149064A (en) Leaf spring sole system with optional spring function

Legal Events

DateCodeTitleDescription
GR01Patent grant
GR01Patent grant

[8]ページ先頭

©2009-2025 Movatter.jp