Movatterモバイル変換


[0]ホーム

URL:


CN215503792U - Reinforced structure paper diaper with composite core - Google Patents

Reinforced structure paper diaper with composite core
Download PDF

Info

Publication number
CN215503792U
CN215503792UCN202121508101.1UCN202121508101UCN215503792UCN 215503792 UCN215503792 UCN 215503792UCN 202121508101 UCN202121508101 UCN 202121508101UCN 215503792 UCN215503792 UCN 215503792U
Authority
CN
China
Prior art keywords
layer
composite core
diaper
reinforced structure
water
Prior art date
Legal status (The legal status is an assumption and is not a legal conclusion. Google has not performed a legal analysis and makes no representation as to the accuracy of the status listed.)
Active
Application number
CN202121508101.1U
Other languages
Chinese (zh)
Inventor
何瑜
谢锡佳
利莉
Current Assignee (The listed assignees may be inaccurate. Google has not performed a legal analysis and makes no representation or warranty as to the accuracy of the list.)
Guangdong Cojin Co ltd
Original Assignee
Guangdong Cojin Co ltd
Priority date (The priority date is an assumption and is not a legal conclusion. Google has not performed a legal analysis and makes no representation as to the accuracy of the date listed.)
Filing date
Publication date
Application filed by Guangdong Cojin Co ltdfiledCriticalGuangdong Cojin Co ltd
Priority to CN202121508101.1UpriorityCriticalpatent/CN215503792U/en
Application grantedgrantedCritical
Publication of CN215503792UpublicationCriticalpatent/CN215503792U/en
Activelegal-statusCriticalCurrent
Anticipated expirationlegal-statusCritical

Links

Images

Landscapes

Abstract

Translated fromChinese

本实用新型涉及一次性卫生用品领域,提供一种具有复合芯体的强化结构纸尿裤,包括纸尿裤本体,所述纸尿裤本体包括由上到下依次叠层设置的透气性面层、导流层、吸收层和防漏底层,所述透气性面层上设有若干个凸起,所述导流层的中部设有阶梯状的横向导流槽,所述吸收层包括复合芯体,所述复合芯体的上表面设有上弹性无纺布,所述复合芯体的下表面设有下弹性无纺布,所述复合芯体包括由上到下依次叠层设置的第一吸水芯体、蓬松无纺布和第二吸水芯体。其解决了现有纸尿裤的吸液速度慢,吸液能力有限的问题。

Figure 202121508101

The utility model relates to the field of disposable sanitary products, and provides a reinforced structure diaper with a composite core body, comprising a diaper body, wherein the diaper body comprises a breathable surface layer, a flow guiding layer, an absorbent layer and arranged in sequence from top to bottom. The air permeable surface layer is provided with a number of protrusions, the middle of the guide layer is provided with a stepped transverse guide groove, the absorption layer includes a composite core, and the composite core The upper surface of the body is provided with an upper elastic non-woven fabric, and the lower surface of the composite core body is provided with a lower elastic non-woven fabric. Nonwoven and second absorbent core. It solves the problems of slow liquid absorption and limited liquid absorption capacity of the existing diapers.

Figure 202121508101

Description

Reinforced structure paper diaper with composite core
Technical Field
The utility model relates to the technical field of disposable sanitary products, in particular to a paper diaper with a reinforced structure and a composite core body.
Background
The disposable diaper is a disposable sanitary article which can be discarded after use and is made of materials such as non-woven fabrics, toilet paper, fluff pulp, high-molecular water-absorbing resin, PE films, rubber bands and the like. Chinese patent application No.: 201821168514.8 discloses a leak-proof paper diaper, including the paper diaper body, the back ring waist of paper diaper body openly is provided with leak-proof elasticity and protects and encloses, the front middle part of paper diaper body is provided with the leak-proof non-woven fabrics, the surface of leak-proof non-woven fabrics is provided with the sandwich layer that absorbs water, the both sides of leak-proof non-woven fabrics are provided with symmetrical inlayer side leak protection and encloses, one side that inlayer side leak protection was enclosed is provided with outer side leak protection and encloses, the back of paper diaper body is provided with bottom leak-proof membrane, the front ring waist back of paper diaper body is provided with symmetrical first ear, the back ring waist back of paper diaper body is provided with symmetrical second ear, be provided with the fixed band between second ear and the paper diaper body, the middle part of fixed band is provided with the extrusion pad, the both ends of fixed band are provided with symmetrical magic subsides face, one side of magic subsides face is provided with the female face of magic subsides. Through foretell product structural design, can prevent effectively that the back of baby's urine under different postures from leaking to the travelling comfort that the baby dressed has been guaranteed. However, the diaper has a low liquid absorption speed and a limited liquid absorption capacity.
SUMMERY OF THE UTILITY MODEL
Therefore, aiming at the content, the utility model provides a paper diaper with a reinforced structure and a composite core body, and solves the problems of low liquid absorption speed and limited liquid absorption capacity of the conventional paper diaper.
In order to achieve the purpose, the utility model is realized by the following technical scheme:
a reinforced structure paper diaper with a composite core body comprises a paper diaper body, wherein the paper diaper is defined to have a longitudinal direction along the length direction and a transverse direction along the width direction, a front waistline and a rear waistline are arranged on the two longitudinal sides of the paper diaper body, hook surface magic tapes are arranged on the two transverse sides of the rear waistline, a hair surface magic tape is arranged on one surface, away from the skin, of the front waistline, the hook surface magic tapes are in adhesion fit with the hair surface magic tapes, a health-care layer is arranged on one surface, close to the skin, of the front waistline, the health-care layer corresponds to the navel position of an infant, the health-care layer is formed by blending magnetic yarn fibers and cotton fibers, leakage-proof guards are arranged on the two transverse sides of the paper diaper body, the paper diaper body comprises a breathable surface layer, a flow guide layer, an absorption layer and a leakage-proof bottom layer which are sequentially stacked from top to bottom, a plurality of bulges are arranged on the breathable surface layer, the middle part of water conservancy diversion layer is equipped with the horizontal guiding gutter of echelonment, the absorbed layer includes compound core, the upper surface of compound core is equipped with elasticity non-woven fabrics, the lower surface of compound core is equipped with down elasticity non-woven fabrics, compound core includes by the first absorbent core body, fluffy non-woven fabrics and the second absorbent core body that from top to bottom set up of stromatolite in proper order.
Further improvement: and C-shaped fixing parts are arranged at two longitudinal sides of the absorption layer.
Further improvement: the air-permeable surface layer is formed by weaving warp and weft, and the warp and the weft all include antibacterial fiber and crisscross cotton fiber and the viscose of winding in the antibacterial fiber outside.
Further improvement: the breathable surface layer is provided with liquid permeating holes, and the liquid permeating holes penetrate through the upper surface and the lower surface of the breathable surface layer.
Further improvement: the positions of the liquid-permeable holes and the bulges do not intersect.
Further improvement: the first water absorption core body and the second water absorption core body are a mixture of fluff pulp and high water absorption resin.
Further improvement: the water absorption multiplying power of the first water absorption core body is smaller than that of the second water absorption core body.
Further improvement: the leak protection bottom layer includes ventilative film and sets up the hydrophobic non-woven fabrics in ventilative film below.
By adopting the technical scheme, the utility model has the beneficial effects that:
the raised arrangement can increase the gap between the skin of the infant and the liquid-permeable surface layer, so that urine discharged by the infant can permeate downwards for sufficient time to be absorbed by the absorption layer, and is not easy to adhere to the skin of the infant, thereby improving the wearing comfort and the air permeability of the paper diaper.
The health-care layer is arranged at the position corresponding to the navel of the infant, the blood microcirculation is promoted by utilizing the characteristic of the magnetic yarn fiber, the health-care function on the navel is good, and the comfort level of the navel position when the paper diaper is worn is improved by utilizing the soft and breathable characteristic of the cotton fiber.
The setting of water conservancy diversion layer can guide the urine from the infiltration nature of liquid permeability surface course infiltration fast, is absorbed by the absorbed layer and pins, keeps the dry and comfortable nature on close skin top layer. Because infant's urine is mostly infiltrated by the middle part of liquid permeability surface course, is equipped with the horizontal guiding gutter of echelonment in the middle part of water conservancy diversion layer, can increase the infiltration space of urine, when a large amount of urine were discharged, the urine was earlier along horizontal guiding gutter infiltration downwards, and the part is absorbed by the absorbed layer middle part, and the part rethread guiding layer longitudinal diffusion that is too late to absorb is finally absorbed by the absorbed layer.
The absorbed layer includes upper and lower two-layer elasticity non-woven fabrics and sets up the composite core body between two-layer elasticity non-woven fabrics, and the setting of composite core body has improved panty-shape diapers's imbibition ability, goes up the structure of absorbed layer is reinforceed in the setting of elasticity non-woven fabrics and lower elasticity non-woven fabrics, and the elasticity of increase absorbed layer avoids forming gel hard to one side after the composite core body absorbs the urine inflation, extrudes infant's skin influence travelling comfort of wearing. Furthermore, the C-shaped fixing parts are arranged on the two longitudinal sides of the absorption layer, so that the connection of each layer of the absorption layer is more stable, and the fault phenomenon is avoided. The composite core body comprises a first water absorption core body, fluffy non-woven fabrics and a second water absorption core body, the fluffy non-woven fabrics can enable urine to be uniformly distributed, and the composite core body is prevented from forming a lump fault. The first water absorption core body and the second water absorption core body adopt different water absorption multiplying powers, have reverse osmosis, and the liquid that seeps down is absorbed and locked by the second water absorption core body when the first water absorption core body can't be.
The breathable surface layer is formed by weaving warps and wefts, wherein the warps and the wefts comprise antibacterial fibers and cotton fibers and viscose fibers which are wound on the outer sides of the antibacterial fibers in a staggered mode. The antibacterial fiber has good antibacterial and bactericidal functions; the viscose fiber has the characteristics of good moisture absorption, softness and air permeability; the cotton fiber has the characteristics of softness, fluffiness, no irritation, good hygroscopicity and the like, and the three fibers are matched with each other, so that the urine of infants can be absorbed and conducted and diffused downwards, the dryness and comfort of the liquid-permeable surface layer are kept, meanwhile, the air permeability and the antibacterial property of the paper diaper are improved, and the peculiar smell emitted by excrement is reduced. The arrangement of the liquid permeable holes further accelerates the infiltration speed of urine.
Drawings
FIG. 1 is a schematic structural diagram of an embodiment of the present invention;
FIG. 2 is a longitudinal sectional view of a diaper body in the embodiment;
FIG. 3 is a schematic view of the structure of an absorbent layer in the examples;
FIG. 4 is a schematic view showing the structure of the warp and weft in the example.
Detailed Description
The utility model will now be further described with reference to the accompanying drawings and detailed description.
The embodiment of the utility model is as follows:
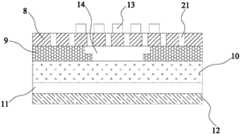
referring to fig. 1 to 4, a reinforced structure diaper with a composite core comprises a diaper body 1, wherein the defined diaper has a longitudinal direction along the length direction and a transverse direction along the width direction, afront waistline 2 and arear waistline 3 are arranged on the longitudinal sides of the diaper body 1, hook and loop magic tapes 4 are arranged on the transverse sides of therear waistline 3, ahair magic tape 5 is arranged on one surface of thefront waistline 2 away from the skin, the hook and loop magic tapes 4 and thehair magic tape 5 are in bonding fit, ahealth care layer 6 is arranged on one surface of thefront waistline 2 close to the skin, thehealth care layer 6 corresponds to the navel position of an infant, thehealth care layer 6 is formed by blending magnetic yarn fibers and cotton fibers, leakage-proofprotective enclosures 7 are arranged on the transverse sides of the diaper body 1, and the diaper body 1 comprises abreathable surface layer 8, a flow guide layer 9 and a flow guide layer which are sequentially stacked from top to bottom,Absorbent layer 10 and leak protection bottom, the leak protection bottom includesventilative film 11 and sets up at the hydrophobicnon-woven fabrics 12 ofventilative film 11 below, be equipped with the protruding 13 of a plurality of on the ventilative surface course 1, the middle part of water conservancy diversion layer 9 is equipped with the horizontal guidinggutter 14 of echelonment,absorbent layer 10 includes by last elasticnon-woven fabrics 15, compound core, lower elasticnon-woven fabrics 16 that the stromatolite set gradually under to, compound core includes by last firstabsorbent core 17, fluffynon-woven fabrics 18 and the secondabsorbent core 19 that the stromatolite set gradually under to, the vertical both sides of absorbent layer are equipped with C shape fixedpart 20, C shape fixedpart 20 is made by elastic cloth. The first water-absorbingcore 17 and the second water-absorbingcore 19 are a mixture of fluff pulp and super absorbent resin, and the particle size or content of the super absorbent resin in the water-absorbing cores of different layers is adjusted to make the water-absorbing capacity of the first water-absorbing core smaller than that of the second water-absorbing core, in this embodiment, the particle size of the super absorbent resin in the first water-absorbing core is 150 meshes, the water-absorbing capacity of the first water-absorbing core is 30 times, the particle size of the super absorbent resin in the second water-absorbing core is 50 meshes, and the water-absorbing capacity of the second water-absorbing core is 50 times.
Thebreathable surface layer 8 is provided with liquid permeatingholes 21, theliquid permeating holes 21 penetrate through the upper surface and the lower surface of thebreathable surface layer 8, and the positions of theliquid permeating holes 21 and theprotrusions 13 are not intersected. The air-permeable surface layer 8 is formed by weaving warps and wefts, and the warps and the wefts compriseantibacterial fibers 22 and cotton fibers 23 andviscose fibers 24 which are wound outside theantibacterial fibers 22 in a staggered mode.
While the utility model has been particularly shown and described with reference to a preferred embodiment, it will be understood by those skilled in the art that various changes in form and detail may be made therein without departing from the spirit and scope of the utility model as defined by the appended claims.

Claims (7)

Translated fromChinese
1.一种具有复合芯体的强化结构纸尿裤,包括纸尿裤本体,定义纸尿裤具有沿着长度方向的纵向和沿着宽度方向的横向,其特征在于:所述纸尿裤本体的纵向两侧设有前腰围和后腰围,所述后腰围横向两侧设有勾面魔术贴,所述前腰围远离皮肤的一面设有毛面魔术贴,所述勾面魔术贴与毛面魔术贴粘接配合,所述前腰围贴近皮肤的一面设有保健层,所述保健层与婴幼儿的肚脐位置相对应,所述保健层由磁纱纤维和棉纤维混纺而成,所述纸尿裤本体的横向两侧设有防漏护围,所述纸尿裤本体包括由上到下依次叠层设置的透气性面层、导流层、吸收层和防漏底层,所述透气性面层上设有若干个凸起,所述导流层的中部设有阶梯状的横向导流槽,所述吸收层包括复合芯体,所述复合芯体的上表面设有上弹性无纺布,所述复合芯体的下表面设有下弹性无纺布,所述复合芯体包括由上到下依次叠层设置的第一吸水芯体、蓬松无纺布和第二吸水芯体。1. A reinforced structure diaper with a composite core, comprising a diaper body, and the definition of the diaper has a longitudinal direction along the length direction and a transverse direction along the width direction, characterized in that: the longitudinal sides of the diaper body are provided with front waistlines and the back waistline, the back waistline is provided with hooked Velcro on both lateral sides, and the side of the front waistline away from the skin is provided with a rough surface Velcro, and the hooked Velcro is bonded and matched with the roughened Velcro The side of the front waistline close to the skin is provided with a health care layer, the health care layer corresponds to the position of the navel of the infant, the health care layer is made of a blend of magnetic yarn fibers and cotton fibers, and the lateral sides of the diaper body are provided with anti-corrosion protection layers. The diaper body includes a breathable surface layer, a flow guiding layer, an absorbent layer and a leak-proof bottom layer that are stacked in sequence from top to bottom, the breathable surface layer is provided with a number of protrusions, and the The middle part of the guide layer is provided with a stepped transverse guide groove, the absorption layer includes a composite core, the upper surface of the composite core is provided with an upper elastic non-woven fabric, and the lower surface of the composite core is provided with The lower elastic non-woven fabric, the composite core body comprises a first water-absorbing core body, a fluffy non-woven fabric and a second water-absorbing core body which are sequentially stacked from top to bottom.2.根据权利要求1所述的一种具有复合芯体的强化结构纸尿裤,其特征在于:所述吸收层的纵向两侧设有C形固定部。2 . The reinforced structure diaper with a composite core according to claim 1 , wherein a C-shaped fixing portion is provided on both longitudinal sides of the absorption layer. 3 .3.根据权利要求1所述的一种具有复合芯体的强化结构纸尿裤,其特征在于:所述透气性面层由经线和纬线编织而成,所述经线和纬线均包括抗菌纤维和交错缠绕在抗菌纤维外侧的棉纤维和粘胶纤维。3. The reinforced structure diaper with a composite core according to claim 1, wherein the breathable surface layer is woven from warp threads and weft threads, and both the warp threads and weft threads comprise antibacterial fibers and are intertwined. Cotton fibers and viscose fibers on the outside of the antibacterial fibers.4.根据权利要求1所述的一种具有复合芯体的强化结构纸尿裤,其特征在于:所述透气性面层上设有透液孔,所述透液孔贯穿透气性面层的上表面和下表面。4 . The reinforced structure diaper with a composite core according to claim 1 , wherein the breathable surface layer is provided with liquid-permeable holes, and the liquid-permeable holes penetrate through the upper surface of the breathable surface layer. 5 . and the lower surface.5.根据权利要求4所述的一种具有复合芯体的强化结构纸尿裤,其特征在于:所述透液孔和凸起的位置不相交。5 . The reinforced structure diaper with a composite core according to claim 4 , wherein the positions of the liquid-permeable holes and the protrusions do not intersect. 6 .6.根据权利要求1所述的一种具有复合芯体的强化结构纸尿裤,其特征在于:所述第一吸水芯体的吸水倍率小于第二吸水芯体。6 . The reinforced structure diaper with a composite core according to claim 1 , wherein the water absorption ratio of the first water-absorbent core is smaller than that of the second water-absorbent core. 7 .7.根据权利要求1所述的一种具有复合芯体的强化结构纸尿裤,其特征在于:所述防漏底层包括透气薄膜及设置在透气薄膜下方的疏水无纺布。7 . The reinforced structure diaper with a composite core according to claim 1 , wherein the leak-proof bottom layer comprises a breathable film and a hydrophobic non-woven fabric disposed under the breathable film. 8 .
CN202121508101.1U2021-07-022021-07-02Reinforced structure paper diaper with composite coreActiveCN215503792U (en)

Priority Applications (1)

Application NumberPriority DateFiling DateTitle
CN202121508101.1UCN215503792U (en)2021-07-022021-07-02Reinforced structure paper diaper with composite core

Applications Claiming Priority (1)

Application NumberPriority DateFiling DateTitle
CN202121508101.1UCN215503792U (en)2021-07-022021-07-02Reinforced structure paper diaper with composite core

Publications (1)

Publication NumberPublication Date
CN215503792Utrue CN215503792U (en)2022-01-14

Family

ID=79812051

Family Applications (1)

Application NumberTitlePriority DateFiling Date
CN202121508101.1UActiveCN215503792U (en)2021-07-022021-07-02Reinforced structure paper diaper with composite core

Country Status (1)

CountryLink
CN (1)CN215503792U (en)

Cited By (2)

* Cited by examiner, † Cited by third party
Publication numberPriority datePublication dateAssigneeTitle
CN114392056A (en)*2022-01-172022-04-26贵州卡布婴童用品有限责任公司Parent's skin nursing panty-shape diapers
CN116019638A (en)*2023-01-312023-04-28露乐健康科技股份有限公司Traceless zero-inductance paper diaper with multi-dimensional global ventilation function and preparation method thereof

Cited By (4)

* Cited by examiner, † Cited by third party
Publication numberPriority datePublication dateAssigneeTitle
CN114392056A (en)*2022-01-172022-04-26贵州卡布婴童用品有限责任公司Parent's skin nursing panty-shape diapers
CN114392056B (en)*2022-01-172023-01-31贵州卡布婴童用品有限责任公司Parent's skin nursing panty-shape diapers
CN116019638A (en)*2023-01-312023-04-28露乐健康科技股份有限公司Traceless zero-inductance paper diaper with multi-dimensional global ventilation function and preparation method thereof
CN116019638B (en)*2023-01-312023-10-20露乐健康科技股份有限公司Traceless zero-inductance paper diaper with multi-dimensional global ventilation function and preparation method thereof

Similar Documents

PublicationPublication DateTitle
CN215503792U (en)Reinforced structure paper diaper with composite core
CN211213900U (en) An anti-reverse osmosis diaper
CN215307454U (en) A new type of diaper with anti-side leakage
CN212547400U (en)Non-bleaching bamboo fiber surface layer paper diaper
EP2979672A1 (en)Composite structure for adhesive tape for diaper
CN214632624U (en)Close-fitting antibacterial core body capable of enhancing absorption and product thereof
CN212679431U (en)Combined pants-type sanitary napkin
CN220385295U (en)Paper diaper with elastic waistline
CN220158565U (en)Environment-friendly paper diaper
CN215350030U (en) A double-layer leak-proof baby diaper
CN216365570U (en)Double-core menstrual period trousers
CN213250450U (en)Paper diaper with hole
CN220588459U (en)Light and thin soft type baby diaper
CN215425556U (en) A deodorant baby diaper
CN213489851U (en)Paper diaper containing super absorbent resin capable of being absorbed for multiple times
CN218247592U (en)Paper diaper with composite non-woven fabric structure
CN217853614U (en)Sanitary trousers
CN222018516U (en)Nursing pad with soft skin-friendly surface layer
CN221384061U (en)Anti-drop's baby diaper
CN214909280U (en)Baby diaper
CN221490428U (en)Easily water conservancy diversion dry and comfortable panty-shape diapers
CN215652072U (en)Quick absorption type cladding panty-shape diapers
CN218792789U (en)Paper diaper
CN115154052B (en)Leak-proof sanitary absorbent article and preparation method thereof
CN117898890B (en)Comfortable leak-proof diaper

Legal Events

DateCodeTitleDescription
GR01Patent grant
GR01Patent grant

[8]ページ先頭

©2009-2025 Movatter.jp