Movatterモバイル変換


[0]ホーム

URL:


CN215461141U - Prevent pressing sore trachea cannula fixing device - Google Patents

Prevent pressing sore trachea cannula fixing device
Download PDF

Info

Publication number
CN215461141U
CN215461141UCN202121622263.8UCN202121622263UCN215461141UCN 215461141 UCN215461141 UCN 215461141UCN 202121622263 UCN202121622263 UCN 202121622263UCN 215461141 UCN215461141 UCN 215461141U
Authority
CN
China
Prior art keywords
block
fixedly connected
fixing
rod
fixing device
Prior art date
Legal status (The legal status is an assumption and is not a legal conclusion. Google has not performed a legal analysis and makes no representation as to the accuracy of the status listed.)
Expired - Fee Related
Application number
CN202121622263.8U
Other languages
Chinese (zh)
Inventor
黎小凤
Current Assignee (The listed assignees may be inaccurate. Google has not performed a legal analysis and makes no representation or warranty as to the accuracy of the list.)
First Peoples Hospital of Chongqing Liangjiang New Area
Original Assignee
First Peoples Hospital of Chongqing Liangjiang New Area
Priority date (The priority date is an assumption and is not a legal conclusion. Google has not performed a legal analysis and makes no representation as to the accuracy of the date listed.)
Filing date
Publication date
Application filed by First Peoples Hospital of Chongqing Liangjiang New AreafiledCriticalFirst Peoples Hospital of Chongqing Liangjiang New Area
Priority to CN202121622263.8UpriorityCriticalpatent/CN215461141U/en
Application grantedgrantedCritical
Publication of CN215461141UpublicationCriticalpatent/CN215461141U/en
Expired - Fee Relatedlegal-statusCriticalCurrent
Anticipated expirationlegal-statusCritical

Links

Images

Landscapes

Abstract

Translated fromChinese

本实用新型公开了一种防压疮气管插管固定装置,包括固定框,所述固定框的外侧固定连接有连接环,且连接环的内部设置有松紧绑带,所述固定框的内部竖向插设有插设杆,且插设杆的上侧固定连接有卡块,所述插设杆的下侧固定连接有插入块,且插入块的内部设置有固定机构,所述插设杆的正面固定连接有连接杆。本实用新型通过设置有插设杆和拉块,即可将患者的口腔位置裸露出,以便于工作人员对患者的口腔进行护理,无需工作人员重复将装置佩戴至患者的头部,从而提升医务人员使用过程中的便捷性,设置有固定机构和束缚带,可快速实现对插管的限位,且配合有束缚带的设置,可有效防止插管脱离现象的出现,从而有效提升本装置使用过程中的可靠性。

Figure 202121622263

The utility model discloses a pressure ulcer prevention tracheal intubation fixing device, comprising a fixing frame, a connecting ring is fixedly connected to the outer side of the fixing frame, an elastic band is arranged inside the connecting ring, and the inside of the fixing frame is vertical An insertion rod is inserted to the upper side of the insertion rod, and a clamping block is fixedly connected to the upper side of the insertion rod. An insertion block is fixedly connected to the lower side of the insertion rod, and a fixing mechanism is arranged inside the insertion block. The front side is fixedly connected with a connecting rod. The utility model is provided with an insertion rod and a pull block, so that the position of the patient's oral cavity can be exposed, so that the staff can take care of the patient's oral cavity without the need for the staff to repeatedly wear the device to the patient's head, thereby improving medical care. The convenience of personnel in the use process is provided with a fixing mechanism and a restraint strap, which can quickly limit the intubation, and with the setting of the restraint strap, it can effectively prevent the intubation from detaching, thereby effectively improving the use of the device. reliability in the process.

Figure 202121622263

Description

Prevent pressing sore trachea cannula fixing device
Technical Field
The utility model relates to the technical field of medical auxiliary instruments, in particular to a pressure sore prevention trachea cannula fixing device.
Background
Trachea cannula is the most common method and indispensable means of rescuing resuscitation, respiratory muscle paralysis and operation anesthesia open air flue clinically, and in the in-process of clinical use, in order to prevent that medical adhesive tape frequently uses and leads to the patient to produce the appearance of the pressure sore phenomenon of lip, medical staff generally can use the fixer to carry out spacing to trachea cannula.
At present, the patient still need regularly with the thick sputum suction of gluing in the patient oral cavity when carrying out trachea cannula, and because current trachea cannula fixing device generally can shelter from patient oral cavity position department, carries out oral care's in-process at medical staff, then needs to dismantle the whole follow patient head position department of fixer and goes out, then gives staff's oral care work and causes the difficulty.
To this end, we propose a pressure sore prevention tracheal intubation fixation device to solve the above problems.
SUMMERY OF THE UTILITY MODEL
The utility model aims to solve the defects in the prior art, and provides a pressure sore prevention tracheal intubation fixing device.
In order to achieve the purpose, the utility model adopts the following technical scheme:
the utility model provides a prevent pressing sore trachea cannula fixing device, includes fixed frame, the outside fixedly connected with go-between of fixed frame, and the inside of go-between is provided with the elasticity bandage, the vertical inserting in inside of fixed frame is equipped with inserts and establishes the pole, and inserts the upside fixedly connected with fixture block of establishing the pole, the downside fixedly connected with who inserts the pole inserts the piece, and inserts the inside of piece and be provided with fixed establishment, insert the positive fixedly connected with connecting rod of establishing the pole, the spout with connecting rod looks adaptation is seted up in the front of fixed frame, the front of connecting rod is connected with first spring, and the end of first spring installs and draws the piece, draw the back fixedly connected with gag lever post of piece, the draw-in groove with gag lever post looks adaptation is seted up to the horizontal equidistance in front of fixed frame.
Preferably, the back of the fixing frame is fixedly connected with a silica gel pad, and the inside of the silica gel pad is uniformly provided with through grooves.
Preferably, the longitudinal section of the clamping block is of a T-shaped structure, the inner wall of the fixing frame is provided with a sliding rail matched with the clamping block, and the inner wall of the sliding rail is in contact with the outer surface of the clamping block.
Preferably, the right side of the insertion block is glued with a binding belt, the inner end of the lower side of the binding belt is provided with two groups of magic tapes, and the other group of magic tapes is fixedly connected with the insertion block.
Preferably, the fixing mechanism comprises a second spring, the second spring is vertically connected to the inner wall of the inserting block, the second spring is provided with two groups, and the two groups of second springs are fixedly connected to fixing blocks on the side close to each other.
Preferably, the outer side of the fixed block is fixedly connected with a sliding block, and the inner wall of the inserting block is provided with a slide way matched with the sliding block.
Preferably, the longitudinal section of the fixed block is of a C-shaped structure, the outer side of the fixed block is provided with a force application block, and the force application block is symmetrically connected to the front side of the fixed block.
Compared with the prior art, the utility model has the beneficial effects that:
1. the device establishes the pole and draws the piece through being provided with to insert, in the use, the piece is drawn in the pulling of staff's accessible to can realize the adjustment to inserting the piece position, when will insert the piece adjustment to the avris position of fixed frame, can expose patient's oral cavity position, so that the staff nurses patient's oral cavity, need not the staff and repeatedly wears the device to patient's head, thereby promote the convenience in the medical staff use.
2. The device is through being provided with fixed establishment and constraint area, during the use, through mutually supporting of two sets of fixed blocks, can realize fast spacing to the intubate, and the cooperation has the setting in constraint area, can prevent effectively that the intubate from breaking away from the appearance of phenomenon to effectively promote the reliability in this device use.
Drawings
Fig. 1 is a schematic perspective view of a pressure sore prevention tracheal intubation fixation device provided by the utility model;
FIG. 2 is a schematic perspective cross-sectional view of the structure of FIG. 1;
fig. 3 is a schematic perspective sectional view of the fixture block and the insertion block in fig. 1;
fig. 4 is a partially enlarged schematic view of a in fig. 3.
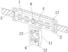
In the figure: 1. a fixing frame; 2. a connecting ring; 3. tightening and loosening the binding band; 4. inserting the rod; 5. a clamping block; 6. inserting a block; 7. a connecting rod; 8. pulling the block; 9. a first spring; 10. a limiting rod; 11. a binding belt; 12. magic tape; 13. a second spring; 14. a fixed block; 15. a slider; 16. a force application block; 17. a silica gel pad.
Detailed Description
The technical solutions in the embodiments of the present invention will be clearly and completely described below with reference to the drawings in the embodiments of the present invention, and it is obvious that the described embodiments are only a part of the embodiments of the present invention, and not all of the embodiments.
Referring to fig. 1-4, a pressure sore prevention tracheal intubation fixation device comprises afixation frame 1, aconnection ring 2 is fixedly connected to the outer side of thefixation frame 1, anelastic bandage 3 is arranged inside theconnection ring 2, theelastic bandage 3 is made of elastic material and can be sleeved on the head of a patient, aninsertion rod 4 is vertically inserted into thefixation frame 1, afixture block 5 is fixedly connected to the upper side of theinsertion rod 4, aninsertion block 6 is fixedly connected to the lower side of theinsertion rod 4, a fixation mechanism is arranged inside theinsertion block 6, when in use, thefixation frame 1 can be placed under the nose of the patient, so that theinsertion block 6 corresponds to the oral cavity of the patient, aconnection rod 7 is fixedly connected to the front side of theinsertion rod 4, a sliding groove matched with theconnection rod 7 is formed in the front side of thefixation frame 1, afirst spring 9 is connected to the front side of theconnection rod 7, and apull block 8 is installed at the end of thefirst spring 9, the back of thepull block 8 is fixedly connected with alimiting rod 10, and the front of thefixing frame 1 is transversely provided with clamping grooves matched with thelimiting rod 10 at equal intervals.
Further, refer to fig. 1 and learn, the back fixedly connected withsilica gel pad 17 of fixedframe 1, andsilica gel pad 17's inside has evenly been seted up and has been run through the groove, and during the use, throughsilica gel pad 17's setting, reducible injury to skin under the patient nose, and through its inside through groove of seting up to can effectively promote the gas permeability ofsilica gel pad 17 in the use.
Further, refer to fig. 3 and learn that the vertical section offixture block 5 sets up to T type structure, and the inner wall offixed frame 1 is seted up withfixture block 5 looks adaptation slide rail, and the inner wall of slide rail contacts with the surface offixture block 5, and during the use, throughfixture block 5 that T type structure set up, can promote its and fixedframe 1's block effect, in the use, staff's accessible promotes to insert establishespole 4 to drivefixture block 5 and slide in the slide rail.
Further, refer to fig. 1, fig. 2 and fig. 3 and can learn, the right side veneer ofinserting piece 6 hasconstraint area 11, and the inner ofconstraint area 11 downside is provided withmagic subsides 12,magic subsides 12 are provided with two sets ofly altogether, another group's magic subsides 12 withinsert 6 fixed connection of piece, in the time of the use, insert the intubate to inserting the in-process between thepiece 6, staff's accessiblepulls constraint area 11, magic subsides 12 through its inner setting, can realize the cover to inserting 6 avris of piece, thereby prevent that the phenomenon of slippage from appearing when using in the intubate, in order to guarantee the security in the use.
Further, refer to fig. 1, fig. 2 and fig. 3 can learn, fixed establishment includessecond spring 13, the vertical connection ofsecond spring 13 is at the inner wall that insertspiece 6,second spring 13 is provided with two sets ofly altogether, and the equal fixedly connected withfixed block 14 in one side that two sets ofsecond springs 13 are close to each other, in the use, the staff can arrange the intubate in between two sets offixed blocks 14, through thesecond spring 13 of the 14 outside connections of fixed block, can realize the fixed to the pipe fast, and easy operation is convenient, can effectively promote the flexibility in this device use.
Further, as can be known by referring to fig. 3, the outer side of thefixed block 14 is fixedly connected with thesliding block 15, the inner wall of theinserting block 6 is provided with a slideway matched with thesliding block 15, in the process that thefixed block 14 is contacted with the insertion tube, thefixed block 14 is stressed while driving thesliding block 15, thesliding block 15 can be stressed to slide in the slideway at the moment, the linear motion of thefixed block 14 can be ensured, so that the uniform stress of the insertion tube is driven, and the injury to the insertion tube can be effectively reduced.
Further, refer to fig. 2 and 3 and can learn, the longitudinal section offixed block 14 sets up to C type structure, the outside offixed block 14 is provided with application offorce piece 16, and application offorce piece 16 symmetric connection is in the front offixed block 14,fixed block 14 that the arc structure set up, can be better laminate mutually with the intubate, after the use is accomplished, staff's accessible pulling application offorce piece 16, keep away from each other in order to drive two sets offixed blocks 14, in order to reduce the constraint offixed block 14 to the intubate, through application offorce piece 16's setting, can provide the point of application of force to the staff, so that the staff operates.
The working principle is as follows: when the utility model is used, a worker can place thefixing frame 1 under the nose of a patient, and then can sleeve theelastic bandage 3 on the head of the patient to realize the positioning of thefixing frame 1, when the air pipe needs to be fixed, a worker can pull thepull block 8, so that thelimiting rod 10 connected with the back of thepull block 8 is pulled out from the clamping groove formed in thefixed frame 1, at the moment, the worker can push theinserting rod 4 to drive theclamping block 5 connected with the upper side of theinserting rod 4 to move in the sliding rail under the stress, while theinsert block 6 coupled to the lower side of theinsert rod 4 is pushed to move at the same time, when theinsert block 6 is moved to a proper position, the worker can stop pulling thepulling block 8, at the moment, thelimiting rod 10 can be reset through the elastic force of thefirst spring 9, so that thelimiting rod 10 is clamped in the corresponding clamping groove, thereby realizing the adjustment of the position of theinsertion block 6;
subsequently, the worker can pull therestraining belt 11, so that themagic tape 12 arranged at the inner end of therestraining belt 11 is separated from themagic tape 12 arranged at the outer side of theinserting block 6, the tracheal cannula can be inserted between the two groups offixing blocks 14 from the right side of theinserting block 6, the limiting of the tracheal cannula can be effectively realized through the self elasticity of thesecond spring 13 arranged at the outer side of thefixing block 14, when the oral cavity of a patient needs to be nursed, the worker can pull thepulling block 8 again, so that theinsertion block 6 is pushed to move, the oral cavity of the patient can be exposed to facilitate the treatment of the worker, and the whole working principle is the whole working principle of the utility model.
In the present invention, the installation manner, the connection manner, or the setting manner of all the components described above are all common mechanical manners, and the specific structures, models, and coefficient indexes of all the components are their own technologies, which can be implemented as long as the beneficial effects thereof can be achieved, and thus, the details are not repeated.
The above embodiments are preferred embodiments of the present invention, but the present invention is not limited to the above embodiments, and any other changes, modifications, substitutions, combinations, and simplifications which do not depart from the spirit and principle of the present invention should be construed as equivalents thereof, and all such changes, modifications, substitutions, combinations, and simplifications are intended to be included in the scope of the present invention.
In the present invention, unless otherwise specified, the terms "upper, lower, left, right, front, back, inner, outer, vertical and horizontal" and the like included in the terms only represent the orientation of the terms in the conventional use state or are colloquially understood by those skilled in the art, and should not be construed as limiting the terms, and meanwhile, the terms "first", "second" and "third" and the like do not represent specific numbers and sequences, but are merely used for name differentiation, and the terms "include", "include" and any other variations are intended to cover non-exclusive inclusions, so that a process, method, article, or apparatus including a series of elements includes not only those elements but also other elements not explicitly listed, or also includes elements inherent to such process, method, article, or apparatus.

Claims (7)

Translated fromChinese
1.一种防压疮气管插管固定装置,包括固定框(1),其特征在于,所述固定框(1)的外侧固定连接有连接环(2),且连接环(2)的内部设置有松紧绑带(3),所述固定框(1)的内部竖向插设有插设杆(4),且插设杆(4)的上侧固定连接有卡块(5),所述插设杆(4)的下侧固定连接有插入块(6),且插入块(6)的内部设置有固定机构,所述插设杆(4)的正面固定连接有连接杆(7),所述固定框(1)的正面开设有与连接杆(7)相适配的滑槽,所述连接杆(7)的正面连接有第一弹簧(9),且第一弹簧(9)的端头安装有拉块(8),所述拉块(8)的背面固定连接有限位杆(10),所述固定框(1)的正面横向等距开设有与限位杆(10)相适配的卡槽。1. A pressure ulcer prevention tracheal intubation fixing device, comprising a fixing frame (1), characterized in that a connecting ring (2) is fixedly connected to the outer side of the fixing frame (1), and the inner part of the connecting ring (2) is fixedly connected with a connecting ring (2). An elastic band (3) is provided, an insertion rod (4) is inserted vertically inside the fixing frame (1), and a clamping block (5) is fixedly connected to the upper side of the insertion rod (4), so An insertion block (6) is fixedly connected to the lower side of the insertion rod (4), a fixing mechanism is provided inside the insertion block (6), and a connection rod (7) is fixedly connected to the front of the insertion rod (4). , the front of the fixed frame (1) is provided with a chute adapted to the connecting rod (7), the front of the connecting rod (7) is connected with a first spring (9), and the first spring (9) A pull block (8) is installed at the end of the pull block (8), the back of the pull block (8) is fixedly connected with a limit rod (10), and the front of the fixing frame (1) is horizontally equidistantly provided with the limit rod (10) Matching card slot.2.根据权利要求1所述的一种防压疮气管插管固定装置,其特征在于,所述固定框(1)的背面固定连接有硅胶垫(17),且硅胶垫(17)的内部均匀开设有贯穿槽。2. A pressure ulcer prevention tracheal intubation fixing device according to claim 1, characterized in that a silicone pad (17) is fixedly connected to the back of the fixing frame (1), and the inside of the silicone pad (17) is The through grooves are evenly opened.3.根据权利要求1所述的一种防压疮气管插管固定装置,其特征在于,所述卡块(5)的纵切面设置为T型结构,所述固定框(1)的内壁开设有与卡块(5)相适配滑轨,且滑轨的内壁与卡块(5)的外表面相接触。3. A pressure ulcer prevention tracheal intubation fixing device according to claim 1, characterized in that, the longitudinal section of the clamping block (5) is set to a T-shaped structure, and the inner wall of the fixing frame (1) is provided with There are slide rails matched with the clamping block (5), and the inner wall of the sliding rail is in contact with the outer surface of the clamping block (5).4.根据权利要求1所述的一种防压疮气管插管固定装置,其特征在于,所述插入块(6)的右侧胶合有束缚带(11),且束缚带(11)下侧的内端设置有魔术贴(12),所述魔术贴(12)共设置有两组,另一组所述魔术贴(12)与插入块(6)固定连接。4. A pressure ulcer prevention tracheal intubation fixing device according to claim 1, characterized in that, a restraint band (11) is glued on the right side of the insertion block (6), and the lower side of the restraint belt (11) is A Velcro (12) is arranged at the inner end of the velcro, two sets of the Velcro (12) are arranged, and the other set of the Velcro (12) is fixedly connected with the inserting block (6).5.根据权利要求1所述的一种防压疮气管插管固定装置,其特征在于,所述固定机构包括第二弹簧(13),所述第二弹簧(13)竖向连接在插入块(6)的内壁,所述第二弹簧(13)共设置有两组,且两组所述第二弹簧(13)相互靠近的一侧皆固定连接有固定块(14)。5. A pressure ulcer prevention tracheal intubation fixing device according to claim 1, wherein the fixing mechanism comprises a second spring (13), and the second spring (13) is vertically connected to the insertion block In the inner wall of (6), the second springs (13) are arranged in two groups, and the two groups of the second springs (13) are fixedly connected with fixing blocks (14) on one side close to each other.6.根据权利要求5所述的一种防压疮气管插管固定装置,其特征在于,所述固定块(14)的外侧固定连接有滑块(15),所述插入块(6)的内壁开设有与滑块(15)相适配的滑道。6. A pressure ulcer prevention tracheal intubation fixing device according to claim 5, wherein a slider (15) is fixedly connected to the outer side of the fixing block (14), and a sliding block (15) is fixedly connected to the outer side of the fixing block (14). The inner wall is provided with a slideway adapted to the sliding block (15).7.根据权利要求5所述的一种防压疮气管插管固定装置,其特征在于,所述固定块(14)的纵切面设置为C型结构,所述固定块(14)的外侧设置有施力块(16),且施力块(16)对称连接在固定块(14)的正面。7. A pressure ulcer prevention tracheal intubation fixing device according to claim 5, wherein the longitudinal section of the fixing block (14) is set to a C-shaped structure, and the outer side of the fixing block (14) is set There is a force applying block (16), and the force applying block (16) is symmetrically connected to the front surface of the fixing block (14).
CN202121622263.8U2021-07-162021-07-16Prevent pressing sore trachea cannula fixing deviceExpired - Fee RelatedCN215461141U (en)

Priority Applications (1)

Application NumberPriority DateFiling DateTitle
CN202121622263.8UCN215461141U (en)2021-07-162021-07-16Prevent pressing sore trachea cannula fixing device

Applications Claiming Priority (1)

Application NumberPriority DateFiling DateTitle
CN202121622263.8UCN215461141U (en)2021-07-162021-07-16Prevent pressing sore trachea cannula fixing device

Publications (1)

Publication NumberPublication Date
CN215461141Utrue CN215461141U (en)2022-01-11

Family

ID=79727245

Family Applications (1)

Application NumberTitlePriority DateFiling Date
CN202121622263.8UExpired - Fee RelatedCN215461141U (en)2021-07-162021-07-16Prevent pressing sore trachea cannula fixing device

Country Status (1)

CountryLink
CN (1)CN215461141U (en)

Similar Documents

PublicationPublication DateTitle
CN106422028A (en)Multifunctional tracheal tube fixing device
CN206587262U (en)Multifunctional trachea catheter fixing device
CN103656821B (en)Tracheal catheter with controllable top end
CN210873571U (en)Tracheal intubation guide device
CN215461141U (en)Prevent pressing sore trachea cannula fixing device
CN209884661U (en)Lower jaw bracket applicable to general anesthesia patients in anesthesia department
CN215690770U (en)Tracheal tube support structure
CN213911024U (en) An adjustable fixation pillow for patients after cervical spine surgery
CN205683367U (en)Endotracheal tube fixing device
CN215653238U (en) An endotracheal intubation fixing device for critically ill patients
CN221600936U (en)Slidable trachea cannula nursing fixing frame
CN206443854U (en)A kind of prone position tracheotomy neck rest
CN219127838U (en)Disposable pre-guiding type tracheal catheter special-shaped sleeve
CN215741151U (en)Novel trachea is fixed device
CN213491305U (en)Tracheal cannula fixer
CN216653070U (en)Adjustable fixing device for tracheal cannula
CN210542774U (en)Simple tracheal cannula fixer
CN215309417U (en)Tracheal catheter fixing device
CN215738827U (en)Oral care device for tracheal intubation patient
CN223112112U (en) Disposable medical endotracheal tube fixed headband
CN217772949U (en)Trachea cannula fixing device
CN220833803U (en) A fixing device for an openable and closable tracheal tube
CN214860256U (en)Prevent trachea cannula fixing device of skew
CN221600953U (en) Tracheal tube fixer capable of adjusting oral position
CN218923490U (en)Tracheal cannula fixer with adjustable curvature

Legal Events

DateCodeTitleDescription
GR01Patent grant
GR01Patent grant
CF01Termination of patent right due to non-payment of annual fee
CF01Termination of patent right due to non-payment of annual fee

Granted publication date:20220111


[8]ページ先頭

©2009-2025 Movatter.jp