Movatterモバイル変換


[0]ホーム

URL:


CN214342545U - An orthopedic implant and medical orthopedic system for controlling bone growth - Google Patents

An orthopedic implant and medical orthopedic system for controlling bone growth
Download PDF

Info

Publication number
CN214342545U
CN214342545UCN202022516316.XUCN202022516316UCN214342545UCN 214342545 UCN214342545 UCN 214342545UCN 202022516316 UCN202022516316 UCN 202022516316UCN 214342545 UCN214342545 UCN 214342545U
Authority
CN
China
Prior art keywords
opening
bone
connecting portion
support
guide
Prior art date
Legal status (The legal status is an assumption and is not a legal conclusion. Google has not performed a legal analysis and makes no representation as to the accuracy of the status listed.)
Withdrawn - After Issue
Application number
CN202022516316.XU
Other languages
Chinese (zh)
Inventor
李海
于颖
代振振
Current Assignee (The listed assignees may be inaccurate. Google has not performed a legal analysis and makes no representation or warranty as to the accuracy of the list.)
XinHua Hospital Affiliated To Shanghai JiaoTong University School of Medicine
Original Assignee
XinHua Hospital Affiliated To Shanghai JiaoTong University School of Medicine
Priority date (The priority date is an assumption and is not a legal conclusion. Google has not performed a legal analysis and makes no representation as to the accuracy of the date listed.)
Filing date
Publication date
Application filed by XinHua Hospital Affiliated To Shanghai JiaoTong University School of MedicinefiledCriticalXinHua Hospital Affiliated To Shanghai JiaoTong University School of Medicine
Priority to CN202022516316.XUpriorityCriticalpatent/CN214342545U/en
Application grantedgrantedCritical
Publication of CN214342545UpublicationCriticalpatent/CN214342545U/en
Withdrawn - After Issuelegal-statusCriticalCurrent
Anticipated expirationlegal-statusCritical

Links

Images

Landscapes

Abstract

An orthopedic implant and a medical orthopedic system usable for controlling a bone growth rate, the implant comprising a first portion, a second portion, and a connecting portion connecting the first portion and the second portion, the first portion including a first connecting portion and a first bone mounting portion connected to the connecting portion by the first connecting portion, the second portion including a second connecting portion and a second bone mounting portion connected to the connecting portion by the second connecting portion, the first connecting portion and the second connecting portion being disposed on both sides of the connecting portion and connected to the connecting portion, respectively; the opening of the implant for inserting the fixing screw is provided with at least two supporting parts in the longitudinal direction of the opening, and after the screw is screwed into the bone through the opening, different side surfaces of the screw are respectively supported so as to prevent the screw from shifting in the opening in the growth direction of the bone away from the growth plate, so that the implant can play a role after being implanted, the in-place time of the implant is reduced, the epiphysis blocking efficiency is improved, and the occurrence of secondary joint deformity is avoided.

Description

Orthopedic implant for controlling bone growth and medical orthopedic system
Technical Field
The present invention relates to medical orthopedic systems, and more particularly to medical orthopedic systems for controlling bone growth.
Background
Knee joint angulation deformity (such as genu varum, genu valgus, mount disease and the like) is common lower limb abnormal development of children and teenagers, can be congenital or acquired, and is a problem which is relatively troublesome in the field of children orthopedics. Knee angulation deformities can result in pathological mechanical loads, possibly leading to early knee osteoarthritis. Thus, depending on the degree of deformity, prophylactic surgical treatment may be required. Temporary hemiepiphyseal block surgery using endophytes is an effective treatment for deformity correction. By adopting the method, a commonly used treatment tool is a steel plate in the shape of a Chinese character 'ba', which is based on the principle of a tension belt, namely, the steel plate is internally fixed at the implantation side to generate pressure and simultaneously generates tension at the opposite side to control the bone growth speed of different sides. However, the incidence rate of complications of the currently used steel plate shaped like the Chinese character 'ba' is relatively high, the complications do not conform to the specific protruding anatomical contour around the epiphyseal plate, and uneven stress distribution is easy to occur, so that the steel plate screw is broken. In addition, in the clinical application process, the time that the currently used splayed steel plate plays a growth retardation role to a certain extent when the screw is opened is mainly concentrated in the second half of the implantation correction, namely the splayed steel plate needs to be subjected to the traction of bone growth after being implanted to enable the two sides of the screw to be offset with the screw implantation opening on the splayed steel plate, the correction efficiency at the initial implantation stage is low, and the epiphysis retardation effect cannot be played; meanwhile, volcano-like deformity of the tibial plateau can occur during the treatment of proximal tibial hemiepiphyseal block.
Research shows that the main reasons of the problems are that the steel plate with the shape like the Chinese character 'ba' has late onset time and low orthopedic efficiency, and when the steel plate is applied to the proximal end of the tibia, the steel plate is left for a long time to cause the change of an anatomical structure. Accordingly, it is desirable to provide an orthopedic system and orthopedic implant therefor that reduce or eliminate the disadvantages of the prior art.
SUMMERY OF THE UTILITY MODEL
The present invention aims at least solving one of the technical problems existing in the prior art or the related art.
In a first aspect, the present invention provides an orthopedic implant usable for controlling bone growth rate, comprising a first portion, a second portion and a connecting portion connecting the first portion and the second portion, wherein the first portion comprises a first connecting portion and a first bone mounting portion connected to the connecting portion through the first connecting portion, the second portion comprises a second connecting portion and a second bone mounting portion connected to the connecting portion through the second connecting portion, the first connecting portion and the second connecting portion are disposed on both sides of the connecting portion and are respectively connected to the connecting portion; the first bone mounting portion includes a first free end opposite the first connection portion and a first opening for insertion of a set screw; the second bone mounting portion includes a second free end portion opposite the second connecting portion and a second opening into which a set screw is inserted; the first bone mounting part and the second bone mounting part are used for mounting and fixing the first part and the second part on two sides of a growth plate through fixing screws inserted into the first opening and the second opening respectively; the first opening comprises a first supporting part and a second supporting part which are arranged in the longitudinal direction of the opening, wherein the first supporting part is positioned on one side, close to the bone surface, of the first bone mounting part and close to the first free end part, and the second supporting part is positioned on one side, far away from the bone surface, of the first bone mounting part and close to the first connecting part; the second opening comprises a third supporting part and a fourth supporting part which are arranged in the longitudinal direction of the opening, wherein the third supporting part is positioned on one side, close to the bone surface, of the second bone mounting part and close to the second free end part, and the fourth supporting part is positioned on one side, far away from the bone surface, of the second bone mounting part and close to the second connecting part; after the fixing screw is screwed into the bone through the first opening and the second opening, the first supporting part and the second supporting part are supported on different sides of the fixing screw, and the third supporting part and the fourth supporting part are supported on different sides of the fixing screw, so that the fixing screw is fixed in relative positions in the first opening and the second opening respectively in the growth direction of the bone away from the growth plate.
By adopting the technical scheme, the fixing screw is subjected to the supporting force provided by the opening supporting part of the orthopedic implant when being screwed into the bone, so that the relative position of the fixing screw in the opening of the implant can be prevented from changing under the traction and the drag of the bone growth, the screw can play a role after being placed, the in-place time and the incidence rate of complications of the implant are reduced, and the orthopedic efficiency is improved.
In accordance with another embodiment of the present invention, the orthopedic implant includes a stop that prevents the connecting portion from moving away from the facet. The limiting piece is arranged to prevent the fixing screw from being separated from the support of the support part, and the limiting piece is matched with the support part to ensure that the relative position of the fixing screw in the opening is fixed; meanwhile, when the implant is installed, the existence of the limiting part can ensure that the folding angle of the first part and the second part is not too large, and the implant can be conveniently placed in a manner of being matched with the bone surface.
According to another embodiment of the invention, one of the first and second connection portions comprises spaced apart arms, the other having a protrusion extending between the arms, the arms and the protrusion having a channel through which a pivot axis of the connection portion passes for pivotally connecting the first and second portions; the stop includes a first stop disposed on an end between the arms and a second stop on an end of the projection.
According to the utility model discloses a further embodiment, the connecting portion is the elastic component, the locating part is including setting up "V" type flexure strip on the elastic component, the "V" type pointed end of flexure strip is towards the bone surface. The elastic piece is convenient for the implant integral type to form, and simple structure has reduced the external interface of implant, has reduced the incidence of tissue damage.
According to another embodiment of the invention, at least one of the first and second support parts is provided with a pressure buffer zone. The pressure buffer zone is arranged to provide effective support for the screw on one hand, and on the other hand, the pressure buffer zone can be deformed under pressure, so that the screw can be prevented from being broken due to overlarge stress.
According to another embodiment of the invention, the longitudinal cross section of the first opening comprises a first oblique boundary line, wherein the first oblique boundary line is close to the first free end; the first support portion is at least partially located on the first oblique boundary line.
According to another embodiment of the invention, the longitudinal section of the first opening comprises a second oblique boundary line parallel to the first oblique boundary line, an arc-shaped boundary line connected to the second oblique boundary line, wherein the second oblique boundary line is close to the connection portion; the second support portion is at least partially located on the arcuate boundary line.
In the process of screwing the screw into the implant, the arrangement of the oblique boundary line can avoid the advance positioning between the implant and the bone surface due to the existence of the threads, prevent the generation of a gap between the implant and the bone surface, and is beneficial to the attachment and fixation of the implant and the bone surface, thereby preventing the screw from shifting at the opening and further ensuring that the screw can play a role in treatment after being put into the bone.
According to another embodiment of the invention, the first opening is provided with a chamfer at a side remote from the bone surface, and the second support is at least partially provided at the chamfer.
By arranging the supporting part in the above way, a point type supporting part or a linear type supporting part can be formed, so that a pressure buffer area is convenient to form, on one hand, effective supporting is provided for the screw, and on the other hand, the supporting part can be deformed under pressure, and the screw is prevented from being broken due to overlarge stress.
According to another embodiment of the present invention, the first opening does not intersect with an axial extension line of an insertion tip of the fixing screw in the second opening. The opening is arranged in such a way, so that the screws can be prevented from intersecting in the bone and affecting the implantation performance.
According to another embodiment of the present invention, the first opening and the second opening are in a "v" configuration with the surface of the orthopedic implant adjacent to the facet of the bone as the base.
According to another embodiment of the present invention, the fixing screw is vertically provided to a side of the first bone mounting portion adjacent to the bone surface.
According to another embodiment of the invention, the radial distance of the first and second support part matches the outer diameter of the fixing screw.
According to another embodiment of the invention, at least one of the first and second support portions comprises a point-type support portion or a line-type support portion.
According to another embodiment of the present invention, the first opening and the second opening are symmetrically arranged. The opening is arranged in the mode, so that the implantation complexity can be reduced, and the same set of orthopedic system can be adopted for guiding the guide pin positioning and screwing in of the screw.
In accordance with another embodiment of the present invention, the orthopedic implant further comprises a flexible coating. By providing a flexible coating, the stress can be released.
According to another embodiment of the present invention, the first and second portions are made of a polymer material. Bone growth can be controlled by the extension of the polymeric material.
In a second aspect, the present invention provides a medical orthopaedic system capable of mounting and securing the orthopaedic implant to a bone surface, the system comprising a retaining assembly and a guide unit; the holding piece of the holding assembly comprises a guide part, one end of the guide part can extend into the first opening or the second opening and is matched with the inner wall of the first opening or the second opening; the guiding unit is fixedly arranged on the guiding fixing part of the guiding part, and a guiding guide pin for guiding the fixing screw can be positioned on the bone through the first opening or the second opening through the guiding channel of the guiding element. The guide part is matched with the opening, so that the guide pin can be guided to reach a target position conveniently, and the accurate installation and fixation of the screw can be realized.
According to another embodiment of the present invention, a longitudinal sectional shape of a portion of the guide portion inserted into the first opening or the second opening is a parallelogram.
According to another embodiment of the invention, the holder further comprises a clamping portion, which at least partially abuts the first or second free end portion, such that a wall of the first or second opening is at least partially located in a space between the clamping portion and the guide portion. The clamping portion can ensure that the orthopedic system and the implant are better fixed and prevent accidental displacement.
According to another embodiment of the invention, the guide fixing part is a through channel, the guide unit being at least partially inserted into the guide fixing part.
According to another embodiment of the invention, the central axis of the guide channel coincides with the central axis of the first or second opening.
Drawings
Fig. 1 is a schematic view of a medical orthopedic system for controlling bone growth according to an embodiment of the present invention.
Fig. 2 is a cross-sectional schematic view of the medical orthopedic system of fig. 1.
Fig. 3 is a schematic view of an orthopedic implant according to an embodiment of the present invention.
Fig. 4 is a longitudinal cross-sectional view of the orthopedic implant taken along the central axis a-a of fig. 3.
Fig. 5 is a cross-sectional view of the orthopedic implant taken along line B-B of fig. 3.
Fig. 6 is a partial schematic view of a retaining assembly of the medical orthopedic system.
Fig. 7 is a schematic view of the orthopedic implant after implantation and before correction has begun.
Fig. 8 is a schematic view of the orthopedic implant after implantation and after a period of correction.
Fig. 9 is a schematic view of an opening of an orthopedic implant according to another embodiment of the present invention for insertion of a set screw.
Fig. 10 is a schematic view of an orthopedic implant according to another embodiment of the present invention.
Detailed Description
The following description is provided for illustrative embodiments of the present invention, and other advantages and effects of the present invention will be readily apparent to those skilled in the art from the disclosure herein. While the invention will be described in conjunction with the preferred embodiments, it is not intended that features of the invention be limited to only those embodiments. On the contrary, the intention of implementing the novel features described in connection with the embodiments is to cover other alternatives or modifications which may be extended based on the claims of the present invention. In the following description, numerous specific details are set forth in order to provide a thorough understanding of the present invention. The invention may be practiced without these particulars. Furthermore, some of the specific details are omitted from the description so as not to obscure or obscure the present invention. It should be noted that, in the present invention, the embodiments and features of the embodiments may be combined with each other without conflict.
It should be noted that in this specification, like reference numerals and letters refer to like items in the following drawings, and thus, once an item is defined in one drawing, it need not be further defined and explained in subsequent drawings.
In the description of the present embodiment, it should be noted that the terms "upper", "inner" and the like indicate the orientation or position relationship based on the orientation or position relationship shown in the drawings, or the orientation or position relationship which is usually placed when the utility model is used, and are only for convenience of describing the utility model and simplifying the description, but do not indicate or imply that the device or the element which is referred to must have a specific orientation, be constructed and operated in a specific orientation, and thus, cannot be understood as limiting the utility model. The use of "including" and/or "having" in the specification means that the component, step, operation and/or element does not preclude the presence or addition of one or more other components, steps, operations and/or elements.
The terms "first," "second," and the like are used solely to distinguish one from another and are not to be construed as indicating or implying relative importance.
In the description of the present embodiment, it should be further noted that, unless explicitly stated or limited otherwise, the terms "disposed," "connected," and "connected" are to be interpreted broadly, e.g., as a fixed connection, a detachable connection, or an integral connection; they may be connected directly or indirectly through intervening media, or they may be interconnected between two elements. The specific meanings of the above terms in the present embodiment can be understood in specific cases by those of ordinary skill in the art.
In order to make the objects, technical solutions and advantages of the present invention clearer, embodiments of the present invention will be described in further detail below with reference to the accompanying drawings.
Fig. 7 and 8 illustrate the procedure for treating knee angulation deformities using the orthopedic implants of the present invention installed on both sides ofgrowth plate 4 on one facet of a bone, including but not limited to the tibia, femur, ulna, radius, spine, etc. After a period of growth, the growth of thegrowth plate 4 is inhibited on the side of the bone surface on which the orthopaedic implant is mounted and normal on the opposite side of the bone surface in the radial direction, resulting in asymmetric growth of the growth plate to correct knee angulation.
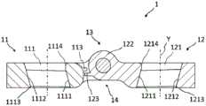
Further, fig. 3-5 show anorthopedic implant 1 according to the present invention, theimplant 1 comprising afirst portion 11, asecond portion 12, and a connectingportion 13 connecting thefirst portion 11 and thesecond portion 12. The connectingportion 13 may be a hinge structure that pivotally connects thefirst portion 11 and thesecond portion 12. As shown in fig. 5, the connectingportion 13 includes apivot shaft 131 and a fixingmember 132, thepivot shaft 131 passes through the first connectingportion 112 of thefirst portion 11 and the second connectingportion 122 of thesecond portion 12 to be connected to the fixingmember 132, preferably, the connection is a threaded connection, and the fixingmember 132 is a nut. Alternatively, the connectingportion 13 may be an elastic member, and thefirst portion 11 and thesecond portion 12 may be bent within a specific angle range by an external force.
The first andsecond portions 11, 12 each include a bone mounting portion, and theorthopaedic implant 1 is fixedly mounted to both sides of thegrowth plate 4 by the bone mounting portions of the first andsecond portions 11, 12 during treatment. Preferably, at least one of the first andsecond portions 11, 12 includes an angled portion extending at an angle from the bone mounting portion, and more preferably, each of the first andsecond portions 11, 12 has an angled portion extending from the bone mounting portion. When theorthopaedic implant 1 is mounted to a bone surface, the angled portion extends away from the bone surface and connects with thefirst connection portion 112 and/or thesecond connection portion 122. Preferably,first portion 11 andsecond portion 12 together define arecess 14 at the junction,recess 14 corresponding togrowth plate 4 to provide an angled space forfirst portion 11 andsecond portion 12 to preventimplant 1 from damaginggrowth plate 4 during treatment, creating complications such as hyperplasia. Preferably, therecess 14 may be formed by the inclined portion, thefirst connection portion 112, thesecond connection portion 122, and theconnection portion 13 together.
Preferably, one of the first andsecond connection portions 112, 122 comprises spaced apart arms with a projection extending therebetween, the arms, projection having a channel through which thepivot shaft 131 passes to pivotally connect the first andsecond portions 11, 12. Referring illustratively to fig. 3 and 5, thefirst connection portion 112 includes spaced apart arms and thesecond connection portion 122 includes a projection extending between the arms. Still preferably, theorthopedic implant 1 includes a stop comprising afirst stop 113 disposed on the inter-arm end and asecond stop 123 on the end of the protrusion, thefirst stop 113 and thesecond stop 123 preventing the connectingportion 13 from moving away from the bone surface when theorthopedic implant 1 is fixedly mounted on both sides of thegrowth plate 4 by the bone mounting portions of thefirst portion 11 and thesecond portion 12. Thefirst stopper 113 and thesecond stopper 123 are respectively a protrusion, alternatively, one of the first stopper and the second stopper is a protrusion, and the other is a groove matched with the protrusion.
Still preferably, the retaining member of theorthopedic implant 1 comprises a "V" shapedelastic sheet 133 disposed on theelastic member 13, and theelastic sheet 133 may be made of stainless steel, polymer material, etc. The "V" shaped tip of theflexible flap 133 faces the facet to prevent the connecting portion from moving away from the facet, see fig. 10 in particular.
Referring to fig. 3, 4, 7, 8, the bone mounting portion includes afirst opening 111 on thefirst portion 11 and asecond opening 121 on thesecond portion 12, the first andsecond openings 111, 121 being on either side of the growth plate for insertion of aset screw 5 to fixedly mount theorthopedic implant 1 on the bone side on either side of thegrowth plate 4. Thefirst opening 111 and thesecond opening 121 each have at least two support portions in the longitudinal direction between the openings, which support different sides of thescrew 5 after thescrew 5 is screwed into the bone through theopenings 111, 121, respectively, to prevent thescrew 5 from being displaced in theopenings 111, 121 in the growth direction G of the bone away from the growth plate, so that theimplant 1 functions after implantation. Preferably, the radial distance between the bearing portions matches the outer diameter of thescrew 5. For the implant that can shift in the opening after the screw implantation, the utility model discloses owing to can play a role after implanting, reduce the implant time on the throne, improve epiphysis and block efficiency, avoid secondary articular deformity's emergence. Preferably, the support portion is provided with a pressure buffer area so that when the support portion is pressed by a pulling force of bone growth on the screw, the pressure buffer area is in contact with the screw to prevent the screw from being broken due to an excessive pressure applied thereto. Preferably, the pressure buffer zone is an elastic member, such as an elastic washer, an elastic nest or an elastic material. It is further preferred that the pressure buffer is formed integrally with the opening or assembled with the opening.
Thefirst opening 111 includes afirst support portion 1113 and asecond support portion 1114, wherein thefirst support portion 1113 is located on a side of the bone mounting portion proximate to the bone surface and proximate to a free end of the first portion, and thesecond support portion 1114 is located on a side of the bone mounting portion distal to the bone surface and proximate to the connectingportion 13 opposite the free end. Thesecond opening 121 includes athird support portion 1213 and afourth support portion 1214, wherein thethird support portion 1213 is located on a side of the bone mounting portion proximate the bone surface and proximate the free end of the second portion, and thefourth support portion 1214 is located on a side of the bone mounting portion distal the bone surface and proximate the connectingportion 13 opposite the free end of the second portion. After thescrew 5 is screwed into the bone through theopenings 111, 121, the first andsecond supports 1113, 1114 are in substantial contact with different sides of thescrew 5 in theopening 111, respectively, and the third andfourth supports 1213, 1214 are in substantial contact with different sides of thescrew 5 in theopening 121, respectively, to fix the relative position of thescrew 5 in the opening in a growth direction G of the bone away from the growth plate. Preferably, the axial extensions of the insertion tips of thescrews 5 in theopenings 111, 121 do not intersect. Preferably, the central axis Y of theopenings 111, 121 coincides with the central axis of thescrew 5. Further preferably, thescrew 5 is arranged perpendicular to the side of the bone mounting portion near the bone surface.
In one embodiment of the present invention, as shown in fig. 4, the longitudinal cross-sections of thefirst opening 111 and thesecond opening 121 each include parallel oblique boundary lines, wherein theoblique boundary line 1111 of thefirst opening 111 near the connectingportion 13 is parallel to theoblique boundary line 1112 near the free end portion; theoblique boundary line 1211 of thesecond opening 121 near the connectingportion 13 is parallel to theoblique boundary line 1212 near the free end. Preferably, thefirst support portion 1113 is at least partially located on theinclined boundary line 1112, and thethird support portion 1213 is at least partially located on theinclined boundary line 1212. Preferably, the arc-shaped boundary line is connected with the oblique boundary line, wherein thesecond support portion 1114 and thefourth support portion 1214 are at least partially disposed on the arc-shaped boundary line. Preferably, thefirst opening 111 and thesecond opening 121 form an inverted "splayed" shape, with the surface of theimplant 1 near the facet of the bone as the base. Still preferably, to facilitate the insertion of theguide screw 5, thefirst opening 111 and thesecond opening 121 may be chamfered on the side away from the bone surface, while also facilitating the accommodation of the head of thescrew 5, preventing it from protruding outside the bone mounting portion, causing tissue damage. The second and fourth support portions 1114 ', 1214' may be at least partially disposed at a chamfer, as shown in fig. 7, 8.
In another embodiment of the present invention, as shown in fig. 9, the longitudinal cross-section of thefirst opening 111 "and thesecond opening 121" each include a vertical boundary line and an oblique boundary line perpendicular to the bone surface, wherein thesecond support portion 1114 "and thefourth support portion 1214" may be at least partially disposed on the vertical boundary line, thefirst support portion 1113 "and thethird support portion 1213" may be at least partially disposed on the oblique boundary line, and thescrew 5 is disposed perpendicular to the bone mounting portion. The first support portion 1113 'and the third support portion 1213' are located on a side of the bone mounting portion proximate the bone surface and proximate a free end of the bone mounting portion, and the second support portion 1114 'and the fourth support portion 1214' are located on a side of the bone mounting portion distal the bone surface and proximate the connectingportion 13 opposite the free end.
In other embodiments of the present invention, the first opening and the second opening may have different central longitudinal cross-sectional shapes, as long as at least two supporting portions are longitudinally provided between the openings, so as to respectively support different sides of the screw after the screw is screwed into the bone through the opening, so as to prevent the screw from shifting in the opening in the growth direction G in which the bone is away from the growth plate, and thus the implant can be used after being implanted.
It is further preferred that the support portion of each opening includes at least one point type support portion or linear type support portion to provide force buffering of the screw and prevent the screw from being broken under compression under the pulling action of bone growth.
It is further preferred that the support portion of each opening is not simultaneously provided on the longitudinal parallel boundary line of the rectangular boundary line of the longitudinal section of the opening, preventing the screw from being broken under compression under the pulling action of bone growth.
Theimplant 1 is constructed of a biocompatible material, such as a metal, e.g., surgical stainless steel, titanium, or combinations thereof, and/or a polymer material, e.g., ceramic, PEEK, etc. The first andsecond portions 11 and 12 of theimplant 1 are preferably made of a polymer material such as PEEK, and the connectingportion 13 is preferably made of metal, so that the growth of bone can be controlled by the extension of the polymer material.
Referring to fig. 1, 2 and 6, the present invention provides a preferred medical orthopedic system capable of installing and securing anorthopedic implant 1 to a bone surface, the system comprising a retaining assembly 3, the retaining assembly 3 comprising a retainingmember 31, anextension member 32, and ahandle 33, thehandle 33 being connected to the retainingmember 31 via theextension member 32. The holdingelement 31 comprises a clampingportion 311, aguide portion 312, one end of theguide portion 312 being able to project into the first or second opening of theorthopedic implant 1 and to match the inner wall of the first or second opening. Preferably, the longitudinal sectional shape of the portion of theguide 312 inserted into the first opening or the second opening is a parallelogram. Still preferably, the longitudinal height of the portion is less than or equal to the longitudinal height of the first opening or the second opening. The clampingportion 311 fits at least partially at the free end, so that the wall of the first or second opening is at least partially located in the space between the clampingportion 311 and theguide portion 312 to form a clamping fixation of theorthopaedic implant 1. Preferably, the radial dimension of the space is equal to or less than the thickness of the wall portion located in the space to form an interference fit.
The system further comprises a series of guidingunits 2 to guide the positioning of the lead on the bone. Theguide channel 21 of theguide unit 2 is adapted to different types of guide pins adapted to different types of set screws, preferably having a through channel inside the set screw for insertion of the guide pin, so that the set screw is screwed into the bone along the guide pin. Theguide unit 2 is fixedly disposed on theguide fixing portion 3121 of theguide portion 312, theguide fixing portion 3121 is a through channel, theguide unit 2 is at least partially inserted into theguide fixing portion 3121, and thelimit stopper portion 22 abuts against an end surface of theguide fixing portion 3121, thereby preventing theguide unit 2 from being inserted into an external injured bone surface of theguide fixing portion 3121. Alternatively, theguide fixing portion 3121 is not limited to a through channel as long as the central axis of theguide channel 21 coincides with the central axis of the first opening or the second opening, so that the guide pin is fixedly positioned perpendicular to the bone surface, so that a fixing screw can be screwed into the bone perpendicular to the bone surface to fix theimplant 1 to the bone surface, for example, theguide fixing portion 3121 may be fixedly connected with theguide unit 2 by snapping.
In a specific operation, the orthopedic implant 1 is first fixed to the holding element 31 in a clamping manner, and one end of the guide 312 protrudes into the first opening or the second opening of the orthopedic implant 1, so that an insertion channel of the guide unit 2 is established; fixing the guide unit 2 to the guide fixing portion 3121 of the holder 31 such that the guide passage 21 of the guide unit 2 coincides with the central axis of the first opening or the second opening; the guide pin is inserted into the guide channel 21 for fixed positioning; removing the guide unit 2 and the holding assembly 3; the guide pin is inserted into the through channel of the fixing screw, the fixing screw is guided to be screwed into the bone through the first opening or the second opening, at this time, the central axis of the fixing screw coincides with the central axis of the first opening or the second opening, the fixing screw is arranged perpendicular to the bone mounting portion, the first support portion and the second support portion are positioned on two sides of the fixing screw or the third support portion and the fourth support portion are positioned on two sides of the fixing screw to support the fixing screw, and the relative position of the fixing screw in the opening is fixed in the growth direction G of the bone far away from the growth plate, see fig. 7 and 8. In the whole treatment process, due to the effect of the supporting part, the fixing screw and the bone installation part are always in a state of being vertical to each other, so that the fixing screw can play a role after being placed, the in-place time of the implant is reduced, the orthopedic efficiency is improved, and the complications generated by the implant are reduced.
Alternatively, the guide direction of the guide fixing and/or the guide channel can be set according to the fixing direction of the fixing screw.
While the invention has been shown and described with reference to certain preferred embodiments thereof, it will be understood by those skilled in the art that the foregoing is a more detailed description of the invention, and the specific embodiments thereof are not to be considered as limiting. Various changes in form and detail, including simple deductions or substitutions, may be made by those skilled in the art without departing from the spirit and scope of the invention.

Claims (20)

Translated fromChinese
1.一种能够用于控制骨生长速度的矫形植入物,其包括第一部分、第二部分以及连接所述第一部分和所述第二部分的连接部分,其特征在于,1. An orthopaedic implant that can be used to control the rate of bone growth, comprising a first part, a second part, and a connecting part connecting the first part and the second part, characterized in that,所述第一部分包括第一连接部和通过所述第一连接部与所述连接部分连接的第一骨安装部,所述第二部分包括第二连接部和通过所述第二连接部与所述连接部分连接的第二骨安装部,所述第一连接部和所述第二连接部设置在所述连接部分两侧且分别与所述连接部分连接;The first portion includes a first connecting portion and a first bone mounting portion connected to the connecting portion through the first connecting portion, and the second portion includes a second connecting portion and the second connecting portion and the connecting portion through the second connecting portion. a second bone mounting part connected by the connecting part, the first connecting part and the second connecting part are arranged on both sides of the connecting part and are respectively connected with the connecting part;所述第一骨安装部包括与所述第一连接部相对的第一自由端部和供固定螺钉插入的第一开口;the first bone mounting portion includes a first free end portion opposite to the first connecting portion and a first opening into which a fixation screw is inserted;所述第二骨安装部包括与所述第二连接部相对的第二自由端部和供固定螺钉插入的第二开口;the second bone mounting portion includes a second free end portion opposite to the second connecting portion and a second opening into which a fixation screw is inserted;所述第一骨安装部和所述第二骨安装部分别通过插入所述第一开口和所述第二开口的固定螺钉将所述第一部分和所述第二部分安装固定在生长板的两侧;The first bone mounting part and the second bone mounting part install and fix the first part and the second part on two sides of the growth plate through fixing screws inserted into the first opening and the second opening, respectively. side;所述第一开口包括在开口纵向上设置的第一支承部和第二支承部,其中,所述第一支承部位于所述第一骨安装部靠近骨面的一侧且靠近所述第一自由端部,所述第二支承部位于所述第一骨安装部远离骨面的一侧且靠近所述第一连接部;The first opening includes a first support part and a second support part provided in the longitudinal direction of the opening, wherein the first support part is located on the side of the first bone mounting part close to the bone surface and close to the first support part a free end portion, the second support portion is located on the side of the first bone mounting portion away from the bone surface and close to the first connecting portion;所述第二开口包括在开口纵向上设置的第三支承部和第四支承部,其中,所述第三支承部位于所述第二骨安装部靠近骨面的一侧且靠近所述第二自由端部,所述第四支承部位于所述第二骨安装部远离骨面的一侧且靠近所述第二连接部;The second opening includes a third support part and a fourth support part arranged in the longitudinal direction of the opening, wherein the third support part is located on the side of the second bone mounting part close to the bone surface and close to the second support part a free end portion, the fourth support portion is located on the side of the second bone mounting portion away from the bone surface and close to the second connecting portion;在固定螺钉通过所述第一开口、所述第二开口旋入骨头中后,所述第一支承部、第二支承部支承在固定螺钉的不同侧面,所述第三支承部和第四支承部支承在固定螺钉的不同侧面,以在骨头远离生长板的生长方向上,使固定螺钉分别在所述第一开口和所述第二开口中的相对位置固定。After the fixation screw is screwed into the bone through the first opening and the second opening, the first support portion and the second support portion are supported on different sides of the fixation screw, and the third support portion and the fourth support portion are supported on different sides of the fixation screw. The parts are supported on different sides of the fixation screw to fix the relative positions of the fixation screw in the first opening and the second opening, respectively, in the growth direction of the bone away from the growth plate.2.如权利要求1所述的矫形植入物,其特征在于,所述矫形植入物包括限位件,所述限位件能够阻止所述连接部分远离骨面移动。2. The orthopaedic implant of claim 1, wherein the orthopaedic implant includes a stop member capable of preventing the connecting portion from moving away from the bony surface.3.如权利要求2所述的矫形植入物,其特征在于,所述第一连接部和所述第二连接部两者中的一者包括间隔开的臂,另一者具有伸入臂间的突出物,所述臂和所述突出物具有供所述连接部分的枢转轴穿过的通道,以使所述第一部分和所述第二部分枢转连接;所述限位件包括设置在臂间端部上的第一止挡件和在所述突出物端部上的第二止挡件。3. The orthopaedic implant of claim 2, wherein one of the first link and the second link includes spaced arms and the other has extending arms The arm and the protrusion have a passage for the pivot shaft of the connecting part to pass through, so that the first part and the second part are pivotally connected; the stopper includes a set of A first stop on the inter-arm end and a second stop on the end of the protrusion.4.如权利要求2所述的矫形植入物,其特征在于,所述连接部分为弹性件,所述限位件包括设置在弹性件上的“V”型弹性片,所述弹性片的“V”型尖端朝向骨面。4. The orthopaedic implant according to claim 2, wherein the connecting part is an elastic piece, and the limiting piece comprises a "V"-shaped elastic piece arranged on the elastic piece, and the elastic piece has a The tip of the "V" is towards the bone surface.5.如权利要求1所述的矫形植入物,其特征在于,所述第一支承部和第二支承部中的至少一个设置有压力缓冲区。5. The orthopaedic implant of claim 1, wherein at least one of the first and second supports is provided with a pressure buffer.6.如权利要求1所述的矫形植入物,其特征在于,所述第一开口的纵向截面包括第一斜向边界线,其中,所述第一斜向边界线靠近所述第一自由端部;所述第一支承部至少部分地位于所述第一斜向边界线上。6. The orthopaedic implant of claim 1, wherein the longitudinal cross-section of the first opening includes a first oblique boundary, wherein the first oblique boundary is proximate the first free an end portion; the first support portion is at least partially located on the first oblique boundary line.7.如权利要求6所述的矫形植入物,其特征在于,所述第一开口的所述纵向截面包括与所述第一斜向边界线平行的第二斜向边界线、与所述第二斜向边界线连接的弧形边界线,其中,第二斜向边界线靠近所述连接部分;所述第二支承部至少部分地位于所述弧形边界线上。7. The orthopaedic implant of claim 6, wherein the longitudinal cross-section of the first opening includes a second oblique boundary line parallel to the first oblique boundary line, An arc-shaped boundary line connected by a second oblique boundary line, wherein the second oblique boundary line is close to the connecting portion; the second support portion is at least partially located on the arc-shaped boundary line.8.如权利要求1-7中任一项所述的矫形植入物,其特征在于,所述第一开口在远离骨面的一侧设置倒角,所述第二支承部至少部分地设置在倒角处。8. The orthopaedic implant according to any one of claims 1-7, wherein the first opening is provided with a chamfer on a side away from the bone surface, and the second support portion is provided at least partially at the chamfer.9.如权利要求1-7中任一项所述的矫形植入物,其特征在于,所述第一开口与所述第二开口中固定螺钉的插入尖端的轴向延长线不相交。9. The orthopaedic implant of any one of claims 1-7, wherein the first opening and the second opening do not intersect an axial extension of the insertion tip of the fixation screw.10.如权利要求1-7中任一项所述的矫形植入物,其特征在于,以靠近骨面的所述矫形植入物的表面为底,所述第一开口和所述第二开口呈“八”字型结构。10. The orthopaedic implant according to any one of claims 1 to 7, wherein the first opening and the second opening are based on the surface of the orthopaedic implant close to the bone surface. The opening is in the shape of an "eight".11.如权利要求1-7中任一项所述的矫形植入物,其特征在于,固定螺钉与所述第一骨安装部靠近骨面的侧面垂直设置。11. The orthopaedic implant according to any one of claims 1-7, wherein the fixation screw is arranged perpendicular to the side surface of the first bone mounting portion close to the bone surface.12.如权利要求1-7中任一项所述的矫形植入物,其特征在于,所述第一支承部和第二支承部的径向距离与固定螺钉的外径相匹配。12. The orthopaedic implant of any one of claims 1-7, wherein the radial distance of the first and second support portions matches the outer diameter of the fixation screw.13.如权利要求1-7中任一项所述的矫形植入物,其特征在于,所述第一支承部和第二支承部中的至少一个包括点型支承部或线型支承部。13. The orthopaedic implant of any one of claims 1-7, wherein at least one of the first and second supports comprises a point-type support or a line-type support.14.如权利要求1-7中任一项所述的矫形植入物,其特征在于,所述第一开口与所述第二开口中的结构对称设置。14. The orthopaedic implant of any one of claims 1-7, wherein the first opening and the structures in the second opening are symmetrically arranged.15.如权利要求1-7中任一项所述的矫形植入物,其特征在于,所述第一部分、第二部分由高分子材料制成。15. The orthopaedic implant according to any one of claims 1-7, wherein the first part and the second part are made of polymer materials.16.一种医用矫形系统,其能够将如权利要求1-15中任一项所述的矫形植入物安装固定到骨面,其特征在于,该系统包括保持组件和引导单元;16. A medical orthopedic system capable of mounting and fixing the orthopedic implant according to any one of claims 1-15 to a bone surface, wherein the system comprises a holding assembly and a guiding unit;所述保持组件的保持件包括导向部,所述导向部的一端能够伸入到所述第一开口或第二开口中且与所述第一开口或第二开口的内壁匹配;The holder of the holding assembly includes a guide part, one end of the guide part can extend into the first opening or the second opening and match with the inner wall of the first opening or the second opening;所述引导单元固定设置在所述导向部的引导固定部上,通过所述引导元件的引导通道可使引导固定螺钉的引导导针穿过所述第一开口或第二开口定位在骨头上。The guide unit is fixedly arranged on the guide fixing part of the guide part, and the guide needle for guiding the fixation screw can be positioned on the bone through the first opening or the second opening through the guide channel of the guide element.17.如权利要求16所述的医用矫形系统,其特征在于,所述导向部插入到所述第一开口或第二开口中的部分的纵向截面形状为平行四边形。17 . The medical orthopaedic system according to claim 16 , wherein the longitudinal cross-sectional shape of the portion of the guide portion inserted into the first opening or the second opening is a parallelogram. 18 .18.如权利要求16或17所述的医用矫形系统,其特征在于,所述保持件还包括夹持部,所述夹持部至少部分地与第一或第二自由端部贴合,使得第一开口或第二开口的壁部至少部分地位于所述夹持部与所述导向部之间的空间中。18. The medical orthopaedic system of claim 16 or 17, wherein the holder further comprises a clamping portion that at least partially fits the first or second free end portion such that The wall portion of the first opening or the second opening is located at least partially in the space between the clamping portion and the guide portion.19.如权利要求16或17所述的医用矫形系统,其特征在于,所述引导固定部为贯穿通道,所述引导单元至少部分地插入到所述引导固定部中。19. The medical orthopaedic system according to claim 16 or 17, wherein the guiding and fixing portion is a through channel, and the guiding unit is at least partially inserted into the guiding and fixing portion.20.如权利要求16或17所述的医用矫形系统,其特征在于,所述引导通道的中心轴线与所述第一开口或第二开口的中心轴线重合。20. The medical orthopaedic system according to claim 16 or 17, wherein the central axis of the guide channel coincides with the central axis of the first opening or the second opening.
CN202022516316.XU2020-11-032020-11-03 An orthopedic implant and medical orthopedic system for controlling bone growthWithdrawn - After IssueCN214342545U (en)

Priority Applications (1)

Application NumberPriority DateFiling DateTitle
CN202022516316.XUCN214342545U (en)2020-11-032020-11-03 An orthopedic implant and medical orthopedic system for controlling bone growth

Applications Claiming Priority (1)

Application NumberPriority DateFiling DateTitle
CN202022516316.XUCN214342545U (en)2020-11-032020-11-03 An orthopedic implant and medical orthopedic system for controlling bone growth

Publications (1)

Publication NumberPublication Date
CN214342545Utrue CN214342545U (en)2021-10-08

Family

ID=77976866

Family Applications (1)

Application NumberTitlePriority DateFiling Date
CN202022516316.XUWithdrawn - After IssueCN214342545U (en)2020-11-032020-11-03 An orthopedic implant and medical orthopedic system for controlling bone growth

Country Status (1)

CountryLink
CN (1)CN214342545U (en)

Cited By (1)

* Cited by examiner, † Cited by third party
Publication numberPriority datePublication dateAssigneeTitle
CN112274233A (en)*2020-11-032021-01-29上海交通大学医学院附属新华医院 A medical orthopedic system for controlling bone growth

Cited By (2)

* Cited by examiner, † Cited by third party
Publication numberPriority datePublication dateAssigneeTitle
CN112274233A (en)*2020-11-032021-01-29上海交通大学医学院附属新华医院 A medical orthopedic system for controlling bone growth
CN112274233B (en)*2020-11-032025-01-21上海交通大学医学院附属新华医院 Orthopedic implant and medical orthopedic system for controlling bone growth

Similar Documents

PublicationPublication DateTitle
US8029507B2 (en)Orthopedic method for correcting angular bone deformity
AU2017221892B2 (en)Femoral neck fracture implant
US8133226B2 (en)Intramedullary fixation device for fractures
US9439687B2 (en)Modular occipital plate
US7588579B2 (en)Apparatus for intraoral distraction osteotomy to widen the upper jaw
US9072557B2 (en)Modular hook plate assembly
US8277459B2 (en)Methods and devices for treating a structural bone and joint deformity
CN100574718C (en)Multi-axial anchor assembly for spinal implants
AU2014267376B2 (en)Osteosynthesis plate and system for osteosynthesis
JP6698097B2 (en) Bone anchoring device
US20030105526A1 (en)High tibial osteotomy (HTO) wedge
US20130297028A1 (en)Locking bone plate
KR20070084012A (en) Spinal Implants and Methods by Extended Multi-Axis Anchor Assemblies
US20130261670A1 (en)Implant and associated instruments and methods
JP2009512466A (en) Multi-axis screw
US20210186528A1 (en)System for Connecting a Connecting Device, in Particular a Distractor, to a Bone
JPH08206130A (en)Apparatus for longitudinal direction match and/or binding ofbone joining
CN104918568A (en)Locking member for a bone fixation device
CN214342545U (en) An orthopedic implant and medical orthopedic system for controlling bone growth
US8439952B2 (en)Connecting rod for bone anchors having a bioresorbable tip
CN215129880U (en) Cervical vertebra posterior connection assembly and its installation tool
EP3606451B1 (en)Transverse connector
CN112274233A (en) A medical orthopedic system for controlling bone growth
JP7749568B2 (en) Bone plate hole caps, bone plate systems, and methods of using them
US20240358519A1 (en)Expandable laminoplasty implant

Legal Events

DateCodeTitleDescription
GR01Patent grant
GR01Patent grant
AV01Patent right actively abandoned

Granted publication date:20211008

Effective date of abandoning:20250121

AV01Patent right actively abandoned

Granted publication date:20211008

Effective date of abandoning:20250121

AV01Patent right actively abandoned
AV01Patent right actively abandoned

[8]ページ先頭

©2009-2025 Movatter.jp