Movatterモバイル変換


[0]ホーム

URL:


CN214160101U - Nozzle assembly and spraying device - Google Patents

Nozzle assembly and spraying device
Download PDF

Info

Publication number
CN214160101U
CN214160101UCN202022464585.6UCN202022464585UCN214160101UCN 214160101 UCN214160101 UCN 214160101UCN 202022464585 UCN202022464585 UCN 202022464585UCN 214160101 UCN214160101 UCN 214160101U
Authority
CN
China
Prior art keywords
electrode
insulating
fluid
face
nozzle assembly
Prior art date
Legal status (The legal status is an assumption and is not a legal conclusion. Google has not performed a legal analysis and makes no representation as to the accuracy of the status listed.)
Active
Application number
CN202022464585.6U
Other languages
Chinese (zh)
Inventor
葛玉帅
刘丰文
李世奇
于明明
于清峰
Current Assignee (The listed assignees may be inaccurate. Google has not performed a legal analysis and makes no representation or warranty as to the accuracy of the list.)
Yantai Jereh Petroleum Equipment and Technologies Co Ltd
Original Assignee
Jierui Huachuang Technology Co Ltd
Priority date (The priority date is an assumption and is not a legal conclusion. Google has not performed a legal analysis and makes no representation as to the accuracy of the date listed.)
Filing date
Publication date
Application filed by Jierui Huachuang Technology Co LtdfiledCriticalJierui Huachuang Technology Co Ltd
Priority to CN202022464585.6UpriorityCriticalpatent/CN214160101U/en
Priority to PCT/CN2020/131067prioritypatent/WO2022088330A1/en
Priority to US17/254,722prioritypatent/US11850618B2/en
Application grantedgrantedCritical
Publication of CN214160101UpublicationCriticalpatent/CN214160101U/en
Activelegal-statusCriticalCurrent
Anticipated expirationlegal-statusCritical

Links

Images

Landscapes

Abstract

Translated fromChinese

本公开的实施例涉及一种喷嘴组件和喷射装置。喷嘴组件包括电极和绝缘主体部。绝缘主体部内设置有配置为传送第一流体的第一流体通道,第一流体通道在绝缘主体部的内表面形成开口。绝缘主体部的内表面与电极的侧表面之间设置有配置为传送第二流体的第二流体通道。第二流体通道在绝缘主体部的外端面形成喷射出口。第二流体通道与第一流体通道在所述开口处相连通。第二流体通道的至少一部分位于第一流体通道和所述电极之间。在第一方向上,开口位于所述电极的第一端面与第二端面之间。

Figure 202022464585

Embodiments of the present disclosure relate to a nozzle assembly and spray device. The nozzle assembly includes an electrode and an insulating body portion. The insulating body portion is provided with a first fluid channel configured to transmit the first fluid, and the first fluid channel forms an opening on the inner surface of the insulating body portion. A second fluid channel configured to convey a second fluid is provided between the inner surface of the insulating body portion and the side surface of the electrode. The second fluid passage forms an ejection outlet on the outer end face of the insulating body portion. The second fluid channel communicates with the first fluid channel at the opening. At least a portion of the second fluid channel is located between the first fluid channel and the electrode. In the first direction, the opening is located between the first end face and the second end face of the electrode.

Figure 202022464585

Description

Nozzle assembly and spraying device
Technical Field
Embodiments of the present disclosure relate to a nozzle assembly and a spray device.
Background
The nozzle is a key part of spraying equipment, and the performance of the nozzle has great influence on the effect of spraying operation. Currently, common atomization modes include gas-assisted atomization and hydraulic atomization. The hydraulic atomization has short working distance and large fog drops under the condition of no other assistance, and the requirements of users are difficult to meet. The high-pressure airflow in the air-assisted atomization can atomize liquid flow into fog drops with smaller diameters and can increase the liquid drop spraying distance. The electrostatic sprayer can charge the fog drops and realize the surrounding adsorption of the fog drops on an object.
SUMMERY OF THE UTILITY MODEL
Embodiments of the present disclosure provide a nozzle assembly comprising:
an electrode having a bar shape extending in a first direction, wherein the electrode has first and second end faces opposite in the first direction and a side surface connecting the first and second end faces; and
an insulating main body portion disposed around the electrode in a circumferential direction around the first direction, including an outer end face close to the first end face and an inner surface facing the side surface of the electrode,
wherein a first fluid channel configured to convey a first fluid is disposed within the insulating body portion, the first fluid channel forming an opening in the inner surface of the insulating body portion,
a second fluid passage configured to convey a second fluid is provided between the inner surface of the insulating main body portion and the side surface of the electrode, the second fluid passage forming an ejection outlet at the outer end surface of the insulating main body portion, and the second fluid passage communicating with the first fluid passage at the opening,
at least a portion of the second fluid channel is located between the first fluid channel and the electrode, and the opening is located between the first end face and the second end face of the electrode in the first direction.
In one example, the side surface of the electrode is an electrically conductive surface, and at least a portion of the electrically conductive surface is directly exposed to the second fluid channel.
In one example, an insulating cover layer is provided on at least a portion of the side surface and the first end surface of the electrode, and a projection of the opening on the electrode in a second direction perpendicularly intersecting the first direction is entirely located on the insulating cover layer of the electrode.
In one example, in the first direction, a set position on the side surface is farther from the ejection outlet by at least 5mm than an edge of the opening away from the ejection outlet, the insulating cover layers are provided on the side surfaces of the electrodes in a range from the set position on the side surface to the first end surface, and the insulating cover layers are provided on all of the first end surfaces.
In one example, an end portion of the electrode connected to the first end face has a cylindrical shape, and a length of the end portion in the first direction is larger than a distance from an edge of the opening away from the ejection outlet to the first end face.
In one example, a projected diameter D1 of the end portion on a plane perpendicular to the first direction is in a range of 0.5mm to 5 mm.
In one example, the inner surface of the insulating main body portion includes a first sub inner surface located between the opening and the injection outlet in the first direction and a second sub inner surface located on a side of the opening away from the injection outlet and directly opposite to the end portion, the first sub inner surface and the second sub inner surface are each a cylindrical surface, and the first sub inner surface, the second sub inner surface, and the end portion are coaxially disposed.
In one example, the diameter D2 of the second sub inner surface is 1mm to 5mm larger than the diameter D1 of the first end face.
In one example, a ratio of the diameter D3 of the first sub-inner surface to the diameter D2 of the second sub-inner surface is in a range of 1 to 1.3.
In one example, in the first direction, an edge of the opening near the ejection outlet is not closer to the ejection outlet than the first end face of the electrode, and a distance between the edge of the opening near the ejection outlet and the first end face of the electrode is constant and between 0mm and 8 mm.
In one example, a radial dimension of at least a portion of the electrode is gradually contracted in a direction from the second end face to the first end face, the at least a portion of the electrode being directly connected with the end portion.
In one example, the insulating body portion includes an insulating base and an insulating cover removably connected to one another, the insulating base, the insulating cover and the electrode collectively defining the second fluid channel, the insulating base and the insulating cover collectively defining the first fluid channel.
In one example, at least one sealing member is provided between the insulating base and the insulating cover to prevent fluid from the first fluid passage from leaking to the outside of the insulating main body portion via a gap between the insulating base and the insulating cover.
In one example, the outer end face of the insulating main body portion is formed with a recessed portion recessed toward the second end face, the ejection outlet is located at a bottom of the recessed portion, and the first end face of the electrode is located in the recessed portion.
In one example, the first fluid channel and the second fluid channel each have an annular shape surrounding the electrode.
In one example, the electrode, the first fluid channel and the first fluid channel are arranged coaxially.
Another embodiment of the present disclosure provides a spray device including:
any of the above-described nozzle assemblies may be used,
a liquid source in communication with the first fluid passage and configured to provide liquid to the first fluid passage as the first fluid;
a gas source in communication with the second fluid channel and configured to provide an insulating gas as the second fluid to the second fluid channel; and
a power source electrically connected to the electrodes and configured to provide a voltage to the electrodes.
In one example, the absolute value of the voltage is 1300V or less.
Another embodiment of the present disclosure provides a method of spraying using a nozzle assembly, wherein the nozzle assembly is any one of the nozzle assemblies described above, the method comprising:
providing a gas to the second fluid channel to form a gas stream in the second fluid channel;
providing liquid to the first fluid channel to form a liquid stream in the first fluid channel; and
a voltage of a first polarity is applied to the electrodes such that droplets formed by the intersection of the gas and liquid streams are induced by the electrodes to carry an electrical charge of a second polarity, opposite the first polarity.
In one example, the liquid flow is introduced into the first fluid channel and reaches the opening in a state where the gas flow is introduced into the second fluid channel.
Drawings
In order to more clearly illustrate the embodiments of the present disclosure or the technical solutions in the prior art, the drawings used in the description of the embodiments or the prior art will be briefly described below, and it is obvious that the drawings in the following description are only some embodiments of the present disclosure, and other embodiments can be obtained by those skilled in the art without creative efforts.
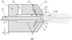
FIG. 1 is a schematic cross-sectional view of a nozzle assembly according to an embodiment of the present disclosure;
fig. 2 is a schematic structural diagram of a spraying device provided in the embodiment of the present disclosure;
FIG. 3 is a schematic view of a spray method employing a nozzle assembly provided by an embodiment of the present disclosure;
FIG. 4 is a schematic cross-sectional view of a nozzle assembly according to another embodiment of the present disclosure;
FIG. 5 is an enlarged view of area A of FIG. 4;
FIG. 6 is a schematic cross-sectional view of a nozzle assembly according to yet another embodiment of the present disclosure;
FIG. 7 is an enlarged view of area B of FIG. 6; and
fig. 8 is a schematic cross-sectional view of another example of a nozzle assembly according to yet another embodiment of the present disclosure.
Detailed Description
In order to make the objects, technical solutions and advantages of the embodiments of the present disclosure more apparent, the technical solutions of the embodiments of the present disclosure will be described clearly and completely with reference to the drawings of the embodiments of the present disclosure. It is to be understood that the described embodiments are only a few embodiments of the present disclosure, and not all embodiments. All other embodiments, which can be derived by a person skilled in the art from the described embodiments of the disclosure without any inventive step, are within the scope of protection of the disclosure.
Unless defined otherwise, technical or scientific terms used herein shall have the ordinary meaning as understood by one of ordinary skill in the art to which this disclosure belongs. The use of "first," "second," and similar terms in the description and claims of the present disclosure are not intended to indicate any order, quantity, or importance, but rather are used to distinguish one element from another. The word "comprise" or "comprises", and the like, means that the element or item listed before "comprises" or "comprising" covers the element or item listed after "comprising" or "comprises" and its equivalents, and does not exclude other elements or items. The terms "connected" or "coupled" and the like are not restricted to physical or mechanical connections, but may include electrical connections, whether direct or indirect. "upper", "lower", "left", "right", and the like are used merely to indicate relative positional relationships, and when the absolute position of the object being described is changed, the relative positional relationships may also be changed accordingly.
The inventor of the present disclosure has noticed that the electrostatic atomizing nozzle commonly used at home and abroad has many parts, complex structure, high processing precision and poor consistency of charging effect.
Some embodiments of the present disclosure provide a nozzle assembly comprising: an electrode and an insulating body portion. The electrodes have a bar shape extending in a first direction. The electrode has a first end face and a second end face opposite in a first direction and a side surface connecting the first end face and the second end face. The insulating main body portion is disposed around the electrode in a circumferential direction around the first direction, and includes an outer end face close to the first end face and an inner surface facing a side surface of the electrode. A first fluid passage configured to convey a first fluid is disposed within the insulative body portion. The first fluid passage forms an opening in an inner surface of the insulative body portion. A second fluid channel configured to convey a second fluid is disposed between the inner surface of the insulating body portion and the side surface of the electrode. The second fluid passage forms an ejection outlet at an outer end face of the insulating main body portion. The second fluid passage communicates with the first fluid passage at the opening. At least a portion of the second fluid passageway is located between the first fluid passageway and the electrode. In the first direction, the opening is located between the first end face and the second end face of the electrode.
Other embodiments of the present disclosure provide a spray device, including: the nozzle assembly, the gas source, the liquid source and the power source are described above. A liquid source is in communication with the first fluid passage and is configured to provide liquid as the first fluid to the first fluid passage. A gas source is in communication with the second fluid passage and is configured to provide gas as the second fluid to the second fluid passage. A power source is electrically connected to the electrodes and configured to provide a voltage to the electrodes.
Still other embodiments of the present disclosure provide a spraying method using the above nozzle assembly, including: providing a gas to the second fluid channel to form a gas flow in the second fluid channel; providing liquid to the first fluid channel to form a liquid flow in the first fluid channel; and applying a voltage of a first polarity to the electrodes such that droplets formed by the intersection of the gas and liquid streams are induced by the electrodes to carry an electrical charge of a second polarity, the second polarity being opposite to the first polarity.
In the nozzle assembly, the spraying device and the spraying method provided by the embodiment of the disclosure, the electrodes are isolated from the liquid through the reasonable arrangement of the electrodes, the airflow channel and the liquid flow channel so as to be always dry, so that a stable atomization effect and a charging effect can be obtained. In addition, the nozzle assembly and the spraying device are simple in structure and stable in performance.
Fig. 1 is a schematic cross-sectional view of a nozzle assembly according to an embodiment of the present disclosure.
Referring to fig. 1, an embodiment of the present disclosure provides anozzle assembly 100 including: anelectrode 10 and an insulatingbody portion 20. Theelectrode 10 has a bar shape extending in the first direction X. Here, the bar-shapedelectrode 10 means that the length of theelectrode 10 in the first direction X is at least 3 times as large as the length thereof in the second direction Y. The second direction Y may be any direction perpendicularly intersecting the first direction X.
For example, theelectrode 10 has a cylindrical shape. The first direction X is, for example, an axial direction of theelectrode 10, and the second direction Y is a radial direction of theelectrode 10. Even if thefirst electrode 10 is not cylindrical in shape, the first direction X and the second direction Y take the meaning of radial to the axial direction of thecylindrical electrode 2.
Theelectrode 10 is, for example, entirely formed of a conductive material such as a metal and a metal alloy.
Theelectrode 10 is mounted on the insulatingmain body portion 20, for example.
Of course, embodiments of the present disclosure do not limit the specific shape of theelectrode 10, and in another example, theelectrode 10 may also have a shape of a prism shape, a pyramid shape, a needle shape, or any combination thereof.
Theelectrode 10 has afirst end face 11 and asecond end face 12 opposite in the first direction X, and aside surface 13 connecting thefirst end face 11 and thesecond end face 12. Theside surface 13 is a curved surface extending in a circumferential direction around the first direction X. For example, thefirst end face 11 and thesecond end face 12 are both circular planar surfaces perpendicular to the first direction X. Theside surface 13 is a cylindrical surface. However, the shape and inclination angle of the first and second end faces 11 and 12 are not limited by the embodiments of the present disclosure. In another example, thefirst end surface 11 may be a tapered surface or a hemispherical surface. In a further embodiment, thefirst end face 11 may be a planar surface at an acute angle to said first direction X. The planarfirst end surface 11 is more easily machined and is less likely to be deformed and damaged than if thefirst end surface 11 were a non-planar surface.
The insulatingmain body portion 20 is disposed around theelectrode 10 in a circumferential direction around the first direction X, and includes an outer end surface S2 near thefirst end surface 11 and an inner surface S1 facing theside surface 13 of theelectrode 10. The inner surface S1 is another curved surface extending in the circumferential direction around the first direction X. For example, the inner surface S1 is a cylindrical surface.
Afirst fluid channel 21 configured to convey a first fluid is provided within the insulatingbody portion 20. Thefirst fluid passage 21 forms an opening P1 at the inner surface S1 of the insulatingmain body portion 20. The first fluid is for example a liquid. The liquid may be water, a liquid prepared from an inorganic drug and water, or a liquid prepared from an organic drug and water.
For example, a first interface passage (i.e., a liquid inlet passage) 23 communicated with thefirst fluid passage 21 is further provided in the insulatingmain body part 20, and thefirst interface passage 23 is configured to communicate thefirst fluid passage 21 with an external liquid source.
It can be understood that since the opening P1 is located within the inner surface S1 of the insulatingmain body portion 20, and the inner surface S1 of the insulatingmain body portion 20 and theside surface 13 of theelectrode 10 are spaced apart from each other, the opening P1 is formed without contacting theelectrode 10. The opening P1 is the portion of thefirst fluid passageway 21 closest to theelectrode 10.
For example, thefirst fluid passage 21 is an annular passage; the opening P1 has a circular shape surrounding theelectrode 10.
Asecond fluid passage 22 configured to convey a second fluid is provided between the inner surface S1 of the insulatingmain body portion 20 and theside surface 13 of theelectrode 10, thesecond fluid passage 22 forming an ejection outlet P2 at the outer end surface S2 of the insulatingmain body portion 20. The second fluid is, for example, an insulating gas. More specifically, the second fluid is compressed air. The inner surface S1 and the outer end surface S2 of the insulatingmain body portion 20 are connected to each other at the injection outlet P2.
Thefirst end face 11 is closer to the ejection outlet P2 than thesecond end face 12.
Thesecond fluid passage 22 communicates with thefirst fluid passage 21 at the opening P1.
Thesecond fluid channel 22 is closer to theelectrode 10 than thefirst fluid channel 21. At least a portion of thesecond fluid channel 22 is located between thefirst fluid channel 21 and theelectrode 10.
In the first direction X, the opening P1 is located between thefirst end face 11 and thesecond end face 12 of theelectrode 10.
For example, a second interface passage (i.e., an intake passage) 24 communicating with thesecond fluid passage 22 is also provided in theinsulative body portion 20. Thesecond interface passage 24 is configured to communicate thesecond fluid passage 22 with a source of gas from the ambient.
For example, thesecond fluid passage 22 is an annular passage. The ejection outlet P2 has a circular shape.
For example, theelectrode 10, thefirst fluid passage 21, and thesecond fluid passage 22 are coaxially disposed; that is, the symmetry axis of theelectrode 10, the symmetry axis of thefirst fluid passage 21, and the symmetry axis of thesecond fluid passage 22 coincide with each other.
Here, the shapes of thefirst fluid passage 21 and thesecond fluid passage 22 are not limited. In further examples, thefirst fluid channel 21 and thesecond fluid channel 22 have, for example, a semi-annular shape or a bar shape; thefirst fluid channel 21 and thesecond fluid channel 22 may both be located only on the same side of the axis of symmetry of theelectrode 10, for example on the lower side of the axis of symmetry of theelectrode 10 in fig. 1.
Thefirst end face 11, thesecond end face 12 and theside surface 13 of theelectrode 10 are all electrically conductive surfaces.
For example, at least part of theconductive side surface 13 is directly exposed to thefirst fluid channel 21.
Referring to fig. 1, the electrically conductivefirst end face 11 is completely directly exposed to thesecond fluid passage 22; the portion of the electricallyconductive side surface 13 close to thefirst end face 11 is directly exposed to thesecond fluid channel 22; a portion of theconductive side surface 13 adjacent to thesecond end face 12 is directly exposed to the outside of the insulatingmain body portion 20; the remaining portion of theconductive side surface 13 is covered by the insulatingmain body portion 20.
In another example, all of the electrically conductive first and second end faces 11, 12 and the side surfaces 13 of theelectrode 10 are provided with an insulating cover layer.
In yet another example, the entirety of the conductivefirst end surface 11 and a portion of theconductive side surface 13 of theelectrode 10 are provided with an insulating cover layer.
Since the electrostatic induction of theelectrode 10 in the embodiment of the present disclosure makes the droplets close to theelectrode 10 charged with opposite polarities, rather than by contacting the electrode with the droplets, it is not limited whether the above-mentioned conductive surface of theelectrode 10 is provided with an insulating coating. The conductive surface portion of theelectrode 10 provided with the insulating coating is better able to maintain a dry state and thus provide a better charging effect.
Fig. 2 is a schematic structural diagram of an injection apparatus provided in an embodiment of the present disclosure.
Referring to fig. 2, the spraying device SP includes thenozzle assembly 100 shown in fig. 1, aliquid source 200, agas source 300, and apower source 400.
Theliquid source 200 communicates with thefirst fluid passage 21 through thefirst interface passage 23 and is configured to provide liquid as the first fluid to thefirst fluid passage 21. For example, theliquid source 200 is a liquid pump configured to provide a steady flow of liquid to thefirst fluid passage 21.
Thegas source 300 is in communication with thesecond fluid channel 22 through thesecond interface channel 24 and is configured to provide an insulating gas as the second fluid to thesecond fluid channel 22. For example, the insulating gas is compressed air.
Thepower supply 400 is electrically connected to theelectrode 10 and configured to supply a voltage to theelectrode 10. For example, the absolute value of the voltage is 1300V or less. For example,power supply 400 is a high voltage electrostatic generator.
Fig. 3 is a schematic diagram of a method of spraying a charged spray using a nozzle assembly according to an embodiment of the present disclosure.
Next, a method and a principle of spraying a charged spray by using the spray nozzle assembly provided by the embodiment of the present disclosure will be described with reference to fig. 1 to 3.
The method for spraying charged spray by the spray group assembly provided by the embodiment of the disclosure comprises the following steps:
providing a gas to the second fluid channel to form a gas flow in the second fluid channel;
providing liquid to the first fluid channel to form a liquid flow in the first fluid channel; and
a voltage of a first polarity is applied to the electrodes such that droplets formed by the intersection of the gas and liquid streams are induced by the electrodes to carry an electrical charge of a second polarity, the second polarity being opposite to the first polarity.
Referring to fig. 1 to 3, the principle of the process of spraying the charged spray by the spray assembly provided by the embodiment of the present disclosure is described as follows.
The external compressed air enters thesecond fluid passage 22 through thesecond interface passage 24 to generate a high-speed gas flow in thesecond fluid passage 22; the high velocity gas stream in thesecond fluid passageway 22 moves around the surroundingelectrode 10 in the direction of the ejection outlet P2. Here, the high-speed gas flow may serve as an insulating layer wrapping theside surface 13 of theelectrode 10.
The externally pumped liquid enters thefirst fluid channel 21 through thefirst interface channel 23 to generate a liquid flow in thefirst fluid channel 21; the liquid flow flows uniformly in thefirst fluid passage 21 toward the opening P1; when the high velocity gas stream encounters the liquid exiting opening P1, the liquid is instantaneously atomized into a large number of droplets. In the portion 22-1 of thesecond fluid passage 22 near the spray outlet P2, the high velocity gas flow also separates the droplets from the electrode, keeping theelectrode 10 dry at all times; the driedelectrode 10 with the voltage of the first polarity leads the charged droplets to be charged with a second polarity opposite to the first polarity through the electrostatic induction effect, the charged droplets are ejected outwards at high speed along with the high-speed airflow, and the charged droplets can be circumferentially adsorbed on an object when encountering the object.
The nozzle assembly provided by the disclosed embodiment is an efficient air-assisted electrostatic nozzle assembly.
It is to be understood that in the above method, the order of the respective steps is not limited. In order to maintain the dry state of theelectrode 10, it is preferable to supply a liquid flow to the first fluid passage and to the opening P in a state where the second fluid passage supplies the gas flow. However, the methods provided by the embodiments of the present disclosure are not limited thereto.
For example, in another embodiment, when the flow rate of the liquid flow in thefirst fluid passage 21 is slow and/or the portion of thesecond fluid passage 22 between the opening P1 and the ejection outlet P2 has a large width in the second direction and/or thefirst fluid passage 21 is located on only the same side in the axial direction of theelectrode 10, even if the high-speed gas flow is not introduced into the second fluid passage, the liquid flow in the first fluid passage reaches the opening P1 without causing theelectrode 10 to be wetted by being in direct contact with the liquid flowing out from the opening P1.
The nozzle assembly, the spraying device comprising the same and the method for spraying charged spray by adopting the nozzle assembly, wherein the high-speed airflow wraps the electrode in the second fluid channel (airflow channel) and flows outwards, the liquid flowing out of the first fluid channel (liquid channel) is isolated from the electrode, and meanwhile, the liquid entering the nozzle is atomized, the liquid and the droplets do not contact with the electrode all the time, so that the electrode is ensured to be dry, heterogeneous charges with the polarity opposite to that of the electrode are induced on the atomized droplets in the atomizing process and are sprayed outwards along with the high-speed airflow, the sprayed charged droplets are fine and uniform and are uniformly adhered to the surface of an object under the action of electrostatic force, and the utilization rate of liquid medicine and the adhering effect of the droplets are improved.
In one technique, the electrodes are directly exposed to a liquid channel, and a stream of liquid flows in direct contact with the conductive surfaces of the electrodes. In this case, in order to charge the liquid atomization, it is generally necessary to apply a voltage of not less than 20000V in absolute value to the electrodes in order to effectively charge the droplets resulting from the liquid stream atomization.
In the technical solution of the embodiment of the present disclosure, the high-speed gas flow directly contacting and wrapping the conductive surface of the electrode as the insulating layer can effectively separate the liquid flow from the electrode, so that the atomized liquid droplets can be effectively charged even if the absolute value of the voltage applied to the electrode can be significantly reduced (for example, 1300V or less). In addition, the atomized liquid drops are basically not contacted with the electrode under the isolation of the high-speed gas flow, so that the electric charges carried by the atomized liquid drops can be stably reserved on the atomized liquid drops, and the charging efficiency of the atomized liquid drops is high.
Fig. 4 is a schematic cross-sectional view of a nozzle assembly according to another embodiment of the present disclosure. Fig. 5 is an enlarged view of the area a in fig. 4.
Referring to fig. 4 and 5, another embodiment of the present disclosure provides a nozzle assembly 100' comprising: an electrode 10 'and an insulating body portion 20'. The nozzle assembly 100 'shown in FIG. 4 differs from thenozzle assembly 100 shown in FIG. 1 primarily in that the insulative body portion 20' includes an insulative cap 20'-1 and an insulative base 20' -2 that are removably coupled to one another; the insulating base 20' -2 and the insulating cover 20' -1 together define a first fluid channel 21 '; the insulating base 20'-2, the insulating cover 20' -1 and the electrode 10 'together define a second fluid channel 22'. The following description will primarily describe features of the nozzle assembly 100 'that differ from thenozzle assembly 100, with the features of components not described being substantially identical to corresponding features of components of the nozzle assembly 100' having the same name or corresponding reference numerals. Reference numerals having the same letter or number are corresponding reference numerals.
The electrode 10 'is connected to the insulating body portion 20', for example by screwing. The insulating base 20'-2 and the insulating cover 20' -1 are connected by, for example, screwing.
The electrode 10' has an axis of symmetry in the X direction. The X direction is the axial direction of the electrode 10'.
The insulating base 20' -2 and the insulating cover 20' -1 are each formed in a cone-like shape at a portion near the ejection outlet P2 '.
The outer end surface S2 'of the insulating base 20' -2 serves as the outer end surface of the insulating main body portion 20 'and the outer end surface of the entire nozzle assembly 100'.
The inner surface S1 'of the insulative main body portion 20' includes a first sub inner surface S1'-1 and a second sub inner surface S1' -2. The first sub inner surface S1' -1 is located between the edge P1' -1 of the opening P1' near the jetting outlet P2' and the jetting outlet P2 '. The second sub inner surface S1' -2 is located on a side of the edge P1' -2 of the opening P1' away from the jetting outlet P2' away from the jetting outlet P2 '.
Here, the first sub inner surface S1' -1 and the second sub inner surface S1' -2 of the insulating main body portion 20' are both cylindrical surfaces, for example. The ejection outlet P2' is, for example, a circular opening.
The end portion 10' -1 of the electrode 10' directly connected to the first end face 11' has a cylindrical shape. For example, referring to fig. 5, the end portion 10'-1 is shown as the portion of the electrode between the dashed line and the first end face 11'.
In the first direction X, the length of the end portion 10' -1 is greater than the distance of the opening P1' from the edge P1' -2 of the jetting outlet P2' to the first end face 11 '.
The first sub inner surface S1' -1 and the second sub inner surface S1' -2 of the insulating main body portion 20' are opposed to the cylindrical end portion 10' -1 of the electrode 10 '.
The first sub inner surface S1' -1, the second sub inner surface S1' -2 and the cylindrical end portion 10' -1 are coaxially disposed. That is, the symmetry axis of the first sub inner surface S1' -1, the symmetry axis of the second sub inner surface S1' -2, and the symmetry axis of the cylindrical end portion 10' -1 coincide with each other.
Referring to fig. 5, the radial dimension of at least a portion (e.g., portion 10'-2) of the electrode 10' gradually shrinks in a direction from the second end face 12 'to the first end face 11'. That is, the dimension (e.g., cross-sectional diameter, cross-sectional area) of at least a portion of the electrode 10 'in a cross section perpendicularly intersecting the axial direction (X direction) thereof decreases as the cross section approaches the first end face 11'.
For example, referring to FIG. 5, the portion 10' -2 of the electrode 10' is directly connected to the end portion 10' -1.
At least one sealingmember 50 is provided between the insulating base 20'-2 and the insulating cover 20' -1 to prevent the fluid from thefirst fluid channel 21 from leaking to the outside of the insulating main body portion via the gap between the insulating base 20'-2 and the insulating cover 20' -1.
The sealingmember 50 is, for example, an insulating O-ring.
Afirst connector 30 is provided at an end of the first interface passage 23' opposite to the first fluid passage 21' and is configured to communicate a corresponding source of fluid with the first interface passage 23 '.
Thefirst connector 40 is disposed at an end of the second interface passage 24' opposite the second fluid passage 22' and is configured to communicate the corresponding gas source with the second interface passage 24 '.
In thenozzle assembly 100 shown in fig. 1 and the nozzle assembly 100' shown in fig. 4, theelectrode 10/10' is located inside the ejection outlet P2/P2' on the outer end face S2/S2' of the insulatingmain body portion 20/20' (i.e., the side of the ejection outlet P2/P2' close to the opening P1/P1 '). Here, the outer end surface S2/S2' ofinsulative body portion 20/20' is the outer end surface ofnozzle assembly 100/100 '. That is, theelectrode 10/10 'is entirely located inside the insulatingmain body portion 20/20', and no portion of theelectrode 10/10 'is exposed outside the insulatingmain body portion 20/20'. Thus, the electrode can be effectively protected from being polluted and damaged by the external environment.
In the nozzle assembly 100' shown in FIG. 4, the dielectric base 20' -2 and the dielectric cap 20' -1 are removably attached and together define a channel for transporting a fluid. Therefore, if the liquid channel needs to be thoroughly cleaned to replace the liquid conveyed in the liquid channel, the operation can be performed only by detaching the insulating cover body on the outermost side of the spraying assembly from the insulating base, and the operation is simple and efficient.
Fig. 6 is a schematic cross-sectional view of a nozzle assembly according to another embodiment of the present disclosure. Fig. 7 is an enlarged view of region B in fig. 6.
Referring to fig. 6 and 7, another embodiment of the present disclosure provides anozzle assembly 100 "comprising: anelectrode 10 "and an insulatingbody portion 20". The main areas of thenozzle assembly 100 "shown in fig. 6 and the nozzle assembly 100' shown in fig. 1 are the shape of the insulatingmain body portion 20" and the relative positional relationship of theend face 11 "of theelectrode 10" and the ejection outlet. The following description will primarily describe features of thenozzle assembly 100 "that differ from the nozzle assembly 100', and features of components not described are substantially the same as corresponding features of like-named or correspondingly numbered components of thenozzle assemblies 100" and 100. Reference numerals having the same letter or number are corresponding reference numerals.
Thenozzle assembly 100 "includes aninsulative cap 20" -1 and aninsulative base 20 "-2 removably coupled to one another. Thedielectric base 20 "-2 and thedielectric cap 20" -1 cooperate to define afirst fluid channel 21 ", thedielectric base 20" -2, thedielectric cap 20 "-1 and theelectrode 10" cooperate to define asecond fluid channel 22 ".
In FIG. 6,dielectric base 20 "-2, which provides the major outer profile ofnozzle assembly 100", has a substantially cylindrical outer side surface S3 "and an outer end surface S2" connected to outer side surface S3 ". The outer end surface S2 "is also significantly increased compared to the substantially conical side surface S3' and the outer end surface S2' of the dielectric base 20' -2 of thenozzle assembly 100" shown in fig. 4, and the layout space of the firstfluid passages 21 "and the secondfluid passages 22" within thedielectric base 20 "-2 of thenozzle assembly 100" is greater.
Referring to fig. 6, theelectrode 10 "comprises acylindrical end portion 10" -1 directly connected to thefirst end face 11 ". Theend portion 10 "-1 projects from the spray outlet P2" out of theinsulator base 20 "-2. That is, thefirst end face 11 "of theelectrode 10" (i.e., thefirst end face 11 of theend portion 10 "-1) is located outside the ejection outlet P2" (i.e., the side of the ejection outlet P2 "away from the opening P1"). Compared with the case where thefirst end surface 11 "of theelectrode 10" is located inside the ejection outlet P2 "(i.e., the side of the ejection outlet P2" close to the opening P1 "), thefirst end surface 11" of theelectrode 10 "is located outside the ejection outlet P2", which is equivalent to extending the effective length of the close-distance electrostatic induction between the mist droplets and the charged electrode, and thus the electrostatic charge rate of the mist droplets can be effectively increased.
The outer end surface S2' of the insulating cover 20' -1 (i.e., the outer end surface S2' of the insulating body portion 20 ') is formed with a recessed portion C, and the ejection outlet P2' is located at the bottom of the recessed portion C. Thefirst end face 11 "of theend portion 10" -1 of theelectrode 10 "projecting from the ejection outlet P2" to the insulatingbase 20 "-2 is located in the recess C, that is, thefirst end face 11" of theend portion 10 "-1 is closer to the ejection outlet P2" with respect to the edge of the outer end face S2 "of the insulatingcover 20" -1 which is farthest from the ejection outlet P2 "in the first direction X. The recess C thus effectively reduces the chance of theend portion 10 "-1 of theelectrode 10" being damaged by foreign objects.
For example, the diameter D1 of theend portion 10 "-1 of theelectrode 10" is in the range of 0.5mm to 5 mm. That is, the diameter D1 of the projection of theend portion 10 "-1 on a plane perpendicular to the first direction X ranges from 0.5mm to 5 mm; therefore, the processing is convenient, the energy consumption is saved, and the charging effect is better.
Electrodes (slender shafts) with a diameter of less than 0.5mm are difficult to machine; the electrode with the diameter larger than 5mm is adopted, the air flow required by the atomized fog drops is large, a large amount of compressed air is required to produce the same atomization effect, and the large amount of compressed air is consumed, so that the energy consumption is high, the equipment is large, and the equipment is uneconomical. Referring to fig. 6 and 7, the inner surface S1 "of theinsulative body portion 20" includes a first sub inner surface S1 "-1 and a second sub inner surface S1" -2. The first sub inner surface S1 "-1 is located between the edge P1" -1 of the opening P1 "near the spray outlet P2" and the spray outlet P2 ". The second sub inner surface S1 "-2 is located on a side of the opening P1" distal from the edge P1 "-2 of the spray outlet P2" distal from the spray outlet P2 ".
Here, the first sub inner surface S1' -1 and the second sub inner surface S1 "-2 of the insulatingmain body portion 20" are both cylindrical surfaces, for example. The ejection outlet P2 "is, for example, a circular opening.
The first sub inner sub-surface S1 "-1 and the second sub inner sub-surface S1" -2 of the insulatingbody portion 20 "are facing thecylindrical end portion 10" -1 of saidelectrode 10 ".
The first sub inner surface S1 "-1, the second sub inner surface S1" -2 and thecylindrical end portion 10 "-1 are coaxially arranged. That is, the symmetry axis of the first sub inner surface S1' -1, the symmetry axis of the second sub inner surface S1' -2, and the symmetry axis of the cylindrical end portion 10' -1 coincide with each other.
For example, the diameter D2 of the second sub inner surface is 1mm to 5mm larger than the diameter D1 of the first end surface. Thus, a good atomization effect can be obtained with a relatively economical ventilation amount.
For example, the ratio of the diameter D3 of the first sub inner surface S1 "-1 to the diameter D2 of the second sub inner surface S1" -1 ranges from 1 to 1.3. That is, the diameter D3 of the first sub inner surface S1 "-1 is equal to or greater than the diameter D2 of the second sub inner surface S1" -1, and preferably the diameter D3 of the first sub inner surface S1 "-1 is not more than 1.3 times the diameter D2 of the second sub inner surface S1" -1.
Preferably, the diameter D3 of the first sub inner surface S1 "-1 is greater than the diameter D2 of the second sub inner surface S1" -1. In this case, stable and efficient electrically charged emission of the droplets from thesecond fluid passage 22 ″ can be facilitated.
For example, with reference to fig. 7, in the first direction X, the edge P1 "-1 of the opening P1" close to the ejection outlet P2 "is not closer to the ejection outlet P2" than thefirst end face 11 "of theelectrode 10", and the distance D0 between the edge P1 "-1 of the opening P1" close to the ejection outlet P2 "and thefirst end face 11" of theelectrode 10 "is constant and between 0mm and 8mm everywhere. In the first direction X, thefirst end face 11 "of theelectrode 10" is at least flush with the edge P1 "-1 of the opening P1" close to the jet outlet P2 ", or thefirst end face 11" of theelectrode 10 "is located on the side of the edge P1" -1 of the opening P1 "close to the jet outlet P2", close to the jet outlet P2 ". This allows the droplets atomized at the opening P1 "to be charged effectively while maintaining a high dispersion rate and uniformity of the droplets.
Although in fig. 4 and 5, thefirst end face 11 "of theelectrode 10" is located on the side of the ejection outlet P2 "close to the opening P1" in the first direction X (i.e., theelectrode 10 "is located inside the insulatingbody portion 20"), embodiments of the present disclosure are not limited thereto. In another example, in the first direction X, thefirst end face 11 "of theelectrode 10" is located on a side of the ejection outlet P2 "away from the opening P1" (i.e., theelectrode 10 "protrudes outside theinsulative body portion 20"). The protrusion of theelectrode 10 "outside the insulatingbody portion 20" may be more beneficial for charging the droplets than if theelectrode 10 "were located inside the insulatingbody portion 20".
However, theelectrode 10 "extending outside the insulatingbody portion 20" too long may attract the droplets of the different charges, and instead the droplets may be charged less. Therefore, the distance D0 between the edge P1 "-1 of the opening P1" near the ejection outlet P2 "and thefirst end face 11" of theelectrode 10 "is constant and between 0mm and 8mm, and a good charging effect can be obtained.
Referring to fig. 8, theside surface 13 "and at least a portion of thefirst end surface 11" of theelectrode 10 "are provided with an insulating cover layer T.
In a second direction (i.e. in the radial direction of theelectrode 10 ") which is perpendicular to said first direction, the projection of the opening P1" onto theelectrode 10 "lies entirely on the insulating cover T. Thus, the insulation between the droplets and the electrodes can be improved.
Further, referring to fig. 8, in the first direction X (i.e., axially of theelectrode 10 "), the set position W on theside surface 13" of theelectrode 10 "is farther from the spray outlet P2" by a distance D than an edge P1 "-2 of the opening P1" away from the spray outlet P2 ". In the range from a set position on theside surface 13 "to thefirst end surface 11", the side surfaces 13 "of theelectrodes 10" are each provided with an insulating cover layer T, and the entirety of thefirst end surface 11 "is provided with the insulating cover layer T.
Thus, the insulation between the droplets and the electrode can be effectively improved, and theend portion 10 "-1 of theelectrode 10" protruding from the insulatingbase 20 "-2 can be protected from the adverse effect of the external environment (e.g., moisture).
For example, the distance D is 5mm or more. Thus, the insulation between the droplets and the electrode can be further improved.
Referring to fig. 8, the portion of theside surface 13 "of theelectrode 10" located between the set position W and thefirst end surface 11 "in the X direction is entirely covered by the insulating cover layer T. In a second direction Y (i.e., a radial direction of theelectrode 10 ") that perpendicularly intersects the first direction X, a projection of the opening P1" onto theelectrode 10 "is entirely located on the insulating cover T on theelectrode 10".
For example, the edge of the insulating cover layer T that is distant from thefirst end face 11 ″ in the X direction coincides with the set position W. Aside surface 13 "of theelectrode 10" is exposed to thesecond fluid passage 22 "at a side portion of the set position W in the X direction, which is away from thefirst end surface 11".
In another example, an insulating cover layer is provided only on a portion of theside surface 13 "of theelectrode 10", and thefirst end surface 11 "is not provided with an insulating cover layer, for example. In yet another example, a portion of thefirst end face 11 "of theelectrode 10" is provided with an insulating cover layer, while another portion of thefirst end face 11 "is not provided with an insulating cover layer. In this case, for example, in a second direction Y (i.e., a radial direction of theelectrode 10 ") that perpendicularly intersects the first direction X, the projection of the opening P1" on theelectrode 10 "is entirely located on the insulating cover of theelectrode 10". The insulation between the droplets and the electrode is correspondingly improved and the end portions of the electrode are protected from the adverse effects of the external environment (e.g. moisture) with respect to the case where theelectrode 10 "is completely free of an insulating coating.
Herein, there are the following points to be explained:
(1) the drawings of the embodiments of the disclosure only relate to the structures related to the embodiments of the disclosure, and other structures can refer to the common design.
(2) For purposes of clarity, the thickness of layers or regions in the figures used to describe embodiments of the present disclosure are exaggerated or reduced, i.e., the figures are not drawn on a true scale.
(3) Without conflict, embodiments of the present disclosure and features of the embodiments may be combined with each other to arrive at new embodiments.
The above description is intended to be exemplary of the present disclosure, and not to limit the scope of the present disclosure, which is defined by the claims appended hereto.

Claims (13)

1. A nozzle assembly, comprising:
an electrode having a bar shape extending in a first direction, wherein the electrode has first and second end faces opposite in the first direction and a side surface connecting the first and second end faces; and
an insulating main body portion disposed around the electrode in a circumferential direction around the first direction, including an outer end face close to the first end face and an inner surface facing the side surface of the electrode,
wherein a first fluid channel configured to convey a first fluid is disposed within the insulating body portion, the first fluid channel forming an opening in the inner surface of the insulating body portion,
a second fluid passage configured to convey a second fluid is provided between the inner surface of the insulating main body portion and the side surface of the electrode, the second fluid passage forming an ejection outlet at the outer end surface of the insulating main body portion, and the second fluid passage communicating with the first fluid passage at the opening,
at least a portion of the second fluid channel is located between the first fluid channel and the electrode, and the opening is located between the first end face and the second end face of the electrode in the first direction.
2. The nozzle assembly of claim 1, wherein the side surface of the electrode is an electrically conductive surface, and at least a portion of the electrically conductive surface is directly exposed to the second fluid passage.
3. The nozzle assembly of claim 1, wherein at least a portion of the side surface and the first end face of the electrode are provided with an insulating cover layer,
in a second direction perpendicularly intersecting the first direction, a projection of the opening onto the electrode is entirely located on the insulating cover layer of the electrode.
4. The nozzle assembly according to claim 3, wherein a set position on the side surface is at least 5mm farther from the ejection outlet than an edge of the opening away from the ejection outlet in the first direction, the insulating cover layer is provided on each of the side surfaces of the electrodes in a range from the set position on the side surface to the first end surface, and the insulating cover layer is provided on all of the first end surfaces.
5. The nozzle assembly of claim 1, wherein an end portion of the electrode connected to the first end face has a cylindrical shape,
the length of the end portion in the first direction is greater than a distance from an edge of the opening away from the injection outlet to the first end face.
6. The nozzle assembly of claim 5 wherein said inner surface of said insulative body portion includes a first sub-inner surface located between said opening and a spray outlet in said first direction and a second sub-inner surface located opposite said end portion on a side of said opening remote from said spray outlet, said first and second sub-inner surfaces each being cylindrical, said first sub-inner surface, said second sub-inner surface and said end portion being coaxially disposed.
7. The nozzle assembly of claim 5, wherein a radial dimension of at least a portion of the electrode tapers in a direction from the second end face to the first end face, the at least a portion of the electrode being directly connected with the end portion.
8. The nozzle assembly of any one of claims 1 to 7, wherein the insulating body portion comprises an insulating base and an insulating cap removably connected to one another, the insulating base, the insulating cap and the electrode together defining the second fluid channel, the insulating base and the insulating cap together defining the first fluid channel.
9. The nozzle assembly of claim 8, wherein at least one sealing member is disposed between the insulating base and the insulating cover to prevent fluid from the first fluid passage from leaking to an outside of the insulating body portion via a gap between the insulating base and the insulating cover.
10. The nozzle assembly according to any one of claims 1 to 7, wherein the outer end face of the insulating main body portion is formed with a recessed portion recessed toward the second end face, the ejection outlet is located at a bottom of the recessed portion, and the first end face of the electrode is located within the recessed portion.
11. The nozzle assembly of any one of claims 1 to 7, wherein the first and second fluid passages each have an annular shape surrounding the electrode.
12. The nozzle assembly of claim 11, wherein the electrode, the first fluid passage, and the first fluid passage are coaxially disposed.
13. A spray device, comprising:
nozzle assembly according to any one of claims 1 to 12,
a liquid source in communication with the first fluid passage and configured to provide liquid to the first fluid passage as the first fluid;
a gas source in communication with the second fluid channel and configured to provide an insulating gas as the second fluid to the second fluid channel; and
a power source electrically connected to the electrodes and configured to provide a voltage to the electrodes.
CN202022464585.6U2020-10-302020-10-30Nozzle assembly and spraying deviceActiveCN214160101U (en)

Priority Applications (3)

Application NumberPriority DateFiling DateTitle
CN202022464585.6UCN214160101U (en)2020-10-302020-10-30Nozzle assembly and spraying device
PCT/CN2020/131067WO2022088330A1 (en)2020-10-302020-11-24Nozzle assembly, spraying device, and spraying method
US17/254,722US11850618B2 (en)2020-10-302020-11-24Nozzle assembly, ejecting device and ejecting method

Applications Claiming Priority (1)

Application NumberPriority DateFiling DateTitle
CN202022464585.6UCN214160101U (en)2020-10-302020-10-30Nozzle assembly and spraying device

Publications (1)

Publication NumberPublication Date
CN214160101Utrue CN214160101U (en)2021-09-10

Family

ID=77600071

Family Applications (1)

Application NumberTitlePriority DateFiling Date
CN202022464585.6UActiveCN214160101U (en)2020-10-302020-10-30Nozzle assembly and spraying device

Country Status (1)

CountryLink
CN (1)CN214160101U (en)

Cited By (1)

* Cited by examiner, † Cited by third party
Publication numberPriority datePublication dateAssigneeTitle
CN112170032A (en)*2020-10-302021-01-05杰瑞华创科技有限公司 Nozzle assembly, spray device and spray method

Cited By (2)

* Cited by examiner, † Cited by third party
Publication numberPriority datePublication dateAssigneeTitle
CN112170032A (en)*2020-10-302021-01-05杰瑞华创科技有限公司 Nozzle assembly, spray device and spray method
CN112170032B (en)*2020-10-302024-10-15烟台杰瑞石油装备技术有限公司Nozzle assembly, spraying device and spraying method

Similar Documents

PublicationPublication DateTitle
US11850618B2 (en)Nozzle assembly, ejecting device and ejecting method
CN100522382C (en)Electrostatic coating device
JP3544350B2 (en) Spray nozzle device
CN105451889B (en)For the atomizer of lubrication product and the lubricating system including the atomizer
KR20140017673A (en)Rotary atomizer head-type coating machine
KR20120136431A (en)Electrostatic coating device
JP5400995B2 (en) Electrostatic painting spray gun
CN110180693B (en) An induction electrostatic atomization nozzle
TWI272130B (en)Electrostatic coating apparatus
CN214160101U (en)Nozzle assembly and spraying device
CN109395906A (en)Adapt to the Venturi effect static nozzle and pesticide spraying device of crops sprinkling
CN112170032A (en) Nozzle assembly, spray device and spray method
WO2013132594A1 (en)Spray device for electrostatic painting
CN108080166A (en)The two-stage Charged atomization nozzle that a kind of induc- tion charging is combined with corona charging
CN117399192A (en)Electrostatic atomizing system
CN208131312U (en)A kind of two-stage Charged atomization spray head of induc- tion charging in conjunction with corona charging
JP4745934B2 (en) Electrostatic coating equipment
CN112844933B (en)Ultrasonic atomizing nozzle for atomization reinforcement
CN215997157U (en) a spray nozzle
JP2008049264A (en) Spray gun for electrostatic painting
CN113678807A (en)Pump body formula electrostatic atomization ware
JPH02198654A (en) Liquid charged atomization device
JP2020062642A (en)Electrostatic atomization device
CN218774993U (en)Spray head structure for electrostatic spraying treatment of metal surface
JPH0113571Y2 (en)

Legal Events

DateCodeTitleDescription
GR01Patent grant
GR01Patent grant
TR01Transfer of patent right
TR01Transfer of patent right

Effective date of registration:20220221

Address after:264003 Jerry Road, Laishan District, Yantai, Shandong Province, No. 27

Patentee after:YANTAI JEREH PETROLEUM EQUIPMENT & TECHNOLOGIES Co.,Ltd.

Address before:264003 No.5, Jierui Road, Laishan District, Yantai City, Shandong Province

Patentee before:Jierui Huachuang Technology Co.,Ltd.


[8]ページ先頭

©2009-2025 Movatter.jp