Movatterモバイル変換


[0]ホーム

URL:


CN213158795U - Interventional clinical treatment catheter fixation device - Google Patents

Interventional clinical treatment catheter fixation device
Download PDF

Info

Publication number
CN213158795U
CN213158795UCN202021261302.1UCN202021261302UCN213158795UCN 213158795 UCN213158795 UCN 213158795UCN 202021261302 UCN202021261302 UCN 202021261302UCN 213158795 UCN213158795 UCN 213158795U
Authority
CN
China
Prior art keywords
connecting rod
base
rack
cylinder
fixedly connected
Prior art date
Legal status (The legal status is an assumption and is not a legal conclusion. Google has not performed a legal analysis and makes no representation as to the accuracy of the status listed.)
Expired - Fee Related
Application number
CN202021261302.1U
Other languages
Chinese (zh)
Inventor
王颍超
王琨
Current Assignee (The listed assignees may be inaccurate. Google has not performed a legal analysis and makes no representation or warranty as to the accuracy of the list.)
Peoples Hospital of Zhengzhou
Original Assignee
Peoples Hospital of Zhengzhou
Priority date (The priority date is an assumption and is not a legal conclusion. Google has not performed a legal analysis and makes no representation as to the accuracy of the date listed.)
Filing date
Publication date
Application filed by Peoples Hospital of ZhengzhoufiledCriticalPeoples Hospital of Zhengzhou
Priority to CN202021261302.1UpriorityCriticalpatent/CN213158795U/en
Application grantedgrantedCritical
Publication of CN213158795UpublicationCriticalpatent/CN213158795U/en
Expired - Fee Relatedlegal-statusCriticalCurrent
Anticipated expirationlegal-statusCritical

Links

Images

Landscapes

Abstract

Translated fromChinese

介入临床治疗导管固定装置,解决了介入临床治疗时导管的固定问题,包括第一底座,第一底座的内部设有一个空槽,空槽滑动连接有一个滑块,滑块的上端固接有一个可上下移动的第一圆柱体,第一圆柱体的上端铰接有第一连杆,第一连杆的上端固接有可左右摆动的第二底座,第二底座的上端滑动连接有一个可左右移动的齿条,齿条的前后两侧对称设有两个结构相同的夹紧结构,夹紧结构包括与第二底座上端铰接的第二连杆、第三连杆,第二连杆与第三连杆平行,齿条的两侧分别啮合有第一直齿轮,第一直齿轮与第二连杆固接,第二连杆与第三连杆远离齿条的一端铰接有第四连杆;本装置方便移动,轻巧便捷,可调节高度,可实现多角度夹持导管,具有良好的稳固性。

Figure 202021261302

The catheter fixing device for interventional clinical treatment solves the problem of fixing the catheter during interventional clinical treatment. A first cylinder that can move up and down, the upper end of the first cylinder is hinged with a first connecting rod, the upper end of the first connecting rod is fixedly connected with a second base that can swing left and right, and the upper end of the second base is slidably connected with a movable connecting rod. The rack moves left and right, and two clamping structures with the same structure are symmetrically arranged on the front and rear sides of the rack. The clamping structure includes a second connecting rod and a third connecting rod hinged with the upper end of the second base. The third connecting rod is parallel, the two sides of the rack are respectively meshed with a first spur gear, the first spur gear is fixedly connected with the second connecting rod, and the second connecting rod and the end of the third connecting rod away from the rack are hinged with a fourth connecting rod. Rod; the device is easy to move, light and convenient, adjustable in height, can realize multi-angle clamping of the catheter, and has good stability.

Figure 202021261302

Description

Catheter fixing device for interventional clinical treatment
Technical Field
The utility model belongs to the technical field of medical machine, especially, relate to intervene clinical treatment pipe fixing device.
Background
Interventional therapeutics is an emerging discipline that has been rapidly developed in recent years and integrates image diagnosis and clinical treatment. Under the guidance and monitoring of digital subtraction angiography machine, CT, ultrasonic and magnetic resonance imaging equipment, puncture needle, catheter and other interventional devices are used to introduce specific instrument into the pathological change part of human body via natural pore canal or small wound for minimally invasive treatment. It is the clinical three-column discipline which is parallel to the traditional internal medicine and surgery. Need insert the pipe during interventional therapy in people's health, traditional pipe fixed mode is the mode of pasting or suture, can not fix the pipe according to the pipe in the angle of human body, diameter size, causes to drop easily moreover, and this fixing device stable in structure all has good firm effect to the pipe of different diameters and the pipe and the different angles of health.
SUMMERY OF THE UTILITY MODEL
To the technical problem, the utility model discloses not enough to prior art provides and intervenes clinical treatment pipe fixing device, has solved the problem that can carry out the pipe fixing according to the different diameters of pipe and the different angles of pipe and health.
In order to achieve the above purpose, the utility model provides the following technical scheme; the catheter fixing device for interventional clinical treatment comprises a first base, wherein a hollow groove is arranged inside the first base, the hollow groove is connected with a slide block in a sliding way, the upper end of the slide block is fixedly connected with a first cylinder which can move up and down, the upper end of the first cylinder is hinged with a first connecting rod, the upper end of the first connecting rod is fixedly connected with a second base which can swing left and right, the upper end of the second base is connected with a rack which can move left and right in a sliding way, two clamping structures with the same structure are symmetrically arranged at the front side and the rear side of the rack, each clamping structure comprises a second connecting rod and a third connecting rod which are hinged with the upper end of the second base, the second connecting rod is parallel to the third connecting rod, two sides of the rack are respectively engaged with a first straight gear, the first straight gear is fixedly connected with the second connecting rod, and the second connecting rod and one end, far away from the rack, of the third connecting rod are hinged with a fourth connecting rod.
Preferably, the right-hand member of rack rotates and is connected with first threaded rod, the one end threaded connection that the rack was kept away from to first threaded rod has the screw thread base, the right-hand member rigid coupling of first threaded rod has first rotatory handle, the screw thread base and second base rigid coupling.
Preferably, the lower end of the first connecting rod is fixedly connected with a sphere, the first cylinder is provided with a second threaded rod, and the second threaded rod is matched with the sphere.
Preferably, be equipped with the tooth's socket on the first cylinder, be equipped with the rotatory handle of second on the first base, the rotatory handle coaxial coupling of second has a ratchet and second straight-teeth gear, the second straight-teeth gear cooperatees with the tooth's socket and constitutes the structure that first cylinder reciprocated, the ratchet is between the rotatory handle of second straight-teeth gear and second, the top of ratchet is equipped with a pawl, the left end rigid coupling of pawl has a handle, the left side of first base is equipped with a cuboid dead slot, the handle is in the cuboid dead slot, the inside of pawl is equipped with a torsional spring, the left torque arm and the pawl rigid coupling of torsional spring, the right torque arm rigid coupling of torsional spring has the pivot, pivot and first base rigid coupling.
Preferably, the inner side surface of the fourth connecting rod is provided with a thin silica gel gasket.
Compared with the prior art, the beneficial effects of the utility model are that: the multi-angle adjustment of the clamping structure at the upper end of the second base can be realized by adjusting the distance between the second threaded rod and the ball body, so that a catheter can be fixed better, the height adjustment of the device can be realized by adjusting and matching the second rotating handle, the second straight gear and the first cylinder, the surface of the part of the clamping structure is smooth, and the thin silica gel sheet is arranged on the part of the clamping structure, so that the catheter can be clamped according to different diameters of the catheter; the device has novel structure, ingenious design and good stability.
Drawings
The accompanying drawings are included to provide a further understanding of the invention, and are incorporated in and constitute a part of this specification, illustrate embodiments of the invention, and together with the description serve to explain the invention and not to limit the invention. In the drawings:
fig. 1 is a schematic view of the overall structure of the present invention.
Fig. 2 is a schematic view of the overall structure of the second base of the present invention.
Fig. 3 is a schematic view of the internal structure of the first base of the present invention.
Fig. 4 is a cross-sectional view of the inside of the first cylinder of the present invention.
Fig. 5 is an internal cross-sectional view of the pawl of the present invention.
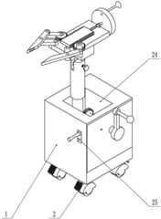
In the figure: 1-a first base, 2-a universal wheel, 3-a sliding block, 4-a first cylinder, 5-a first connecting rod, 6-a second base, 7-a rack, 8-a first straight gear, 9-a second connecting rod, 10-a fourth connecting rod, 11-a third connecting rod, 12-a first threaded rod, 13-a threaded base, 14-a first rotating handle, 15-a second straight gear, 16-a ratchet wheel, 17-a tooth groove, 18-a second rotating handle, 19-a sphere, 20-a second threaded rod, 21-a torsion spring, 22-a handle, 23-a pawl, 24-an empty groove, 25-a cuboid empty groove, 26-a rotating shaft and 27-a thin silica gel gasket.
Detailed Description
The present invention will now be described in further detail with reference to the accompanying drawings. The attached drawings are simplified schematic diagrams, and only illustrate the basic structure of the present invention in a schematic manner, and thus only show the components related to the present invention.
Referring to fig. 1-5, the catheter fixing device for interventional clinical treatment of the present invention comprises afirst base 1, wherein ahollow groove 24 is formed inside thefirst base 1, thehollow groove 24 is slidably connected with aslider 3, the upper end of theslider 3 is fixedly connected with afirst cylinder 4 capable of moving up and down, the upper end of thefirst cylinder 4 is hinged with a first connectingrod 5, the upper end of the first connectingrod 5 is fixedly connected with asecond base 6 capable of swinging left and right, the upper end of thesecond base 6 is slidably connected with arack 7 capable of moving left and right, two clamping structures with the same structure are symmetrically arranged on the front and back sides of therack 7, each clamping structure comprises a second connectingrod 9 and a third connectingrod 11 hinged with the upper end of thesecond base 6, the second connectingrod 9 is parallel to the third connectingrod 11, the two sides of therack 7 are respectively engaged with a firststraight gear 8, the firststraight gear 8 is fixedly connected with a second connectingrod 9, and one ends, far away from therack 7, of the second connectingrod 9 and a third connectingrod 11 are hinged with a fourth connectingrod 10.
When the interventional clinical treatment catheter fixing device is used, when the firstrotating handle 14 rotates, the first threadedrod 12 is enabled to translate leftwards or rightwards under the matching of the first threadedrod 12 and the threadedbase 13, when the first threadedrod 12 translates rightwards, the firststraight gear 8 in front of therack 7 rotates anticlockwise around a connecting shaft with thesecond base 6, and at the moment, the fourth connectingrod 10 in front of therack 7 moves backwards under the driving of the second connectingrod 9 in front of therack 7 and the limiting of the third connectingrod 11; similarly, when the first threadedrod 12 translates rightwards, the firststraight gear 8 behind therack 7 rotates clockwise around the connecting shaft with thesecond base 6, and at the moment, under the driving of the second connectingrod 9 behind therack 7 and the limiting of the third connectingrod 11, the fourth connectingrod 10 behind therack 7 moves forwards, so that one-time clamping is realized.
When the first threadedrod 12 translates leftwards, the firststraight gear 8 in front of therack 7 rotates clockwise around the connecting shaft with thesecond base 6, and at the moment, under the driving of the second connectingrod 9 in front of therack 7 and the limiting of the third connectingrod 11, the fourth connectingrod 10 in front of therack 7 moves forwards; similarly, when the first threadedrod 12 translates leftwards, the firststraight gear 8 behind therack 7 rotates anticlockwise around the connecting shaft with thesecond base 6, and at the moment, under the driving of the second connectingrod 9 behind therack 7 and the limiting of the third connectingrod 11, the fourth connectingrod 10 behind therack 7 moves backwards, so that one-time expansion is realized.
The right-hand member ofrack 7 rotates and is connected with first threadedrod 12, the one end threaded connection thatrack 7 was kept away from to first threadedrod 12 hasscrew base 13, the right-hand member rigid coupling of first threadedrod 12 has firstrotatory handle 14,screw base 13 andsecond base 6 rigid coupling rotate firstrotatory handle 14, and through the cooperation of first threadedrod 12 andscrew base 13, the motion is moved on the left side and the right side that can realize first threadedrod 12.
The lower end of the first connectingrod 5 is fixedly connected with asphere 19, thefirst cylinder 4 is provided with a second threadedrod 20, and the second threadedrod 20 is matched with thesphere 19. The angle of thesecond base 6 to thefirst cylinder 4 can be adjusted by adjusting the distance between the second threadedrod 20 and theball 19.
The inner side surface of the fourth connectingrod 10 is provided with a thinsilica gel gasket 27, so that friction can be increased to clamp a conduit better, in order to facilitate the movement of thefirst base 1, the bottom of thefirst base 1 is provided with auniversal wheel 2, and theuniversal wheel 2 belongs to the prior art and is not described any more.
As shown in fig. 3, atooth space 17 is arranged on thefirst cylinder 4, a secondrotating handle 18 is arranged on thefirst base 1, the secondrotating handle 18 is coaxially connected with aratchet wheel 16 and asecond spur gear 15, thesecond spur gear 15 is matched with thetooth space 17 to form a structure of thefirst cylinder 4 moving up and down, theratchet wheel 16 is arranged between thesecond spur gear 15 and the secondrotating handle 18, apawl 23 is arranged above theratchet wheel 16, the left end of thepawl 23 is fixedly connected with ahandle 22, a cuboidempty groove 25 is arranged on the left side of thefirst base 1, the handle is arranged in the cuboidempty groove 25, atorsion spring 21 is arranged inside thepawl 23, the left torsion arm of thetorsion spring 21 is fixedly connected with thepawl 23, the right torsion arm of thetorsion spring 21 is fixedly connected with arotating shaft 26, the rotatingshaft 26 is fixedly connected with thefirst base 1, when the secondrotating handle 18 is rotated, the secondrotating handle 18 drives theratchet wheel 16 and thesecond spur rack 15 to rotate, and at this time, thefirst cylinder 4 can move up or down by adjusting the distance between thepawl 23 and theratchet wheel 16, so that the height of thesecond pedestal 6 can be adjusted.
As shown in fig. 4, atorsion spring 21 is disposed in thepawl 23, a left torsion arm of thetorsion spring 21 is fixedly connected to thepawl 23, a right torsion arm of thetorsion spring 21 is fixedly connected to a rotatingshaft 26, and thepawl 23 is matched with theratchet 16 to fix thefirst cylinder 4.
As shown in fig. 5, the angle adjustment of thesecond base 6 can be realized by adjusting the distance between the second threadedrod 20 and theball 19 and the angle between the first connectingrod 5 and thefirst cylinder 4, thereby realizing the purpose of holding the catheter at various angles.
When the fixing device is used, the device is firstly placed beside a sickbed, the height of a first cylinder is adjusted by rotating a second rotating handle, the distance between the second rotating handle and a sphere is adjusted by rotating a second threaded rod, then the angle between a second base and the first cylinder is adjusted to realize the adjustment of the angle of a clamping structure at the upper end of the second base, then the first rotating handle is rotated to drive the clamping structure to move, at the moment, when the clamping structure cannot reach the ideal height, the second rotating handle can be rotated to continuously move the first cylinder upwards, when the height of the device is too high, a handle of a pawl is pressed downwards, the second rotating handle is rotated at the same time until the proper height is reached, when the angle of the clamping structure is improper, the distance between the second threaded rod and the sphere is adjusted to realize the angle adjustment of the clamping structure, when the angle and the height of the clamping structure reach the proper positions, the first rotating handle is rotated to enable the clamping mechanism to clamp the conduit.
After the catheter is used, the first rotating handle is rotated to expand the clamping structure to loosen the catheter, the second threaded rod is rotated to adjust the distance between the threaded rod and the ball body, the position of the second base is adjusted to the initial position, then the threaded rod is screwed down, the second rotating handle is rotated while the handle of the pawl is pressed down, the second base is placed at the initial position, and finally the device is used.
Finally, it should be noted that: although the present invention has been described in detail with reference to the foregoing embodiments, it will be apparent to those skilled in the art that modifications may be made to the embodiments described in the foregoing embodiments, or equivalents may be substituted for elements thereof. Any modification, equivalent replacement, or improvement made within the spirit and principle of the present invention should be included in the protection scope of the present invention.

Claims (5)

1. Intervene clinical therapy pipe fixing device, including first base (1), its characterized in that: the inner part of the first base (1) is provided with an empty groove (24), the empty groove (24) is connected with a sliding block (3) in a sliding manner, the upper end of the sliding block (3) is fixedly connected with a first cylinder (4) capable of moving up and down, the upper end of the first cylinder (4) is hinged with a first connecting rod (5), the upper end of the first connecting rod (5) is fixedly connected with a second base (6) capable of swinging left and right, the upper end of the second base (6) is connected with a rack (7) capable of moving left and right in a sliding manner, two clamping structures with the same structure are symmetrically arranged on the front side and the rear side of the rack (7), each clamping structure comprises a second connecting rod (9) and a third connecting rod (11) hinged with the upper end of the second base (6), the second connecting rod (9) is parallel to the third connecting rod (11), the two sides of the rack (7) are respectively meshed with a first, the first straight gear (8) is fixedly connected with a second connecting rod (9), and a fourth connecting rod (10) is hinged to one end, far away from the rack (7), of the second connecting rod (9) and one end, far away from the rack (7), of a third connecting rod (11).
2. The interventional clinical treatment catheter fixing device according to claim 1, wherein: the right-hand member of rack (7) is rotated and is connected with first threaded rod (12), the one end threaded connection who keeps away from rack (7) of first threaded rod (12) has screw thread base (13), the right-hand member rigid coupling of first threaded rod (12) has first rotatory handle (14), screw thread base (13) and second base (6) rigid coupling.
3. The interventional clinical treatment catheter fixing device according to claim 1, wherein: the lower extreme rigid coupling of first connecting rod (5) has a spheroid (19), be equipped with second threaded rod (20) on first cylinder (4), second threaded rod (20) cooperate with spheroid (19).
4. The interventional clinical treatment catheter fixing device according to claim 1, wherein: be equipped with tooth's socket (17) on first cylinder (4), be equipped with the rotatory handle of second (18) on first base (1), the rotatory handle of second (18) coaxial coupling has a ratchet (16) and second straight-teeth gear (15), second straight-teeth gear (15) cooperatees with tooth's socket (17) and constitutes the structure that reciprocates of first cylinder (4), ratchet (16) are between second straight-teeth gear (15) and the rotatory handle of second (18), the top of ratchet (16) is equipped with a pawl (23), the left end rigid coupling of pawl (23) has a handle (22), the left side of first base (1) is equipped with a cuboid dead slot (25), handle (22) are in cuboid dead slot (25), the inside of pawl (23) is equipped with a torsional spring (21), the left side of torsional spring (21) is turned round the arm and pawl (23) rigid coupling, the right torque arm of the torsion spring (21) is fixedly connected with a rotating shaft (26), and the rotating shaft (26) is fixedly connected with the first base (1).
5. The interventional clinical treatment catheter fixing device according to claim 1, wherein: and a thin silica gel gasket (27) is arranged on the inner side surface of the fourth connecting rod (10).
CN202021261302.1U2020-07-012020-07-01 Interventional clinical treatment catheter fixation deviceExpired - Fee RelatedCN213158795U (en)

Priority Applications (1)

Application NumberPriority DateFiling DateTitle
CN202021261302.1UCN213158795U (en)2020-07-012020-07-01 Interventional clinical treatment catheter fixation device

Applications Claiming Priority (1)

Application NumberPriority DateFiling DateTitle
CN202021261302.1UCN213158795U (en)2020-07-012020-07-01 Interventional clinical treatment catheter fixation device

Publications (1)

Publication NumberPublication Date
CN213158795Utrue CN213158795U (en)2021-05-11

Family

ID=75790341

Family Applications (1)

Application NumberTitlePriority DateFiling Date
CN202021261302.1UExpired - Fee RelatedCN213158795U (en)2020-07-012020-07-01 Interventional clinical treatment catheter fixation device

Country Status (1)

CountryLink
CN (1)CN213158795U (en)

Cited By (3)

* Cited by examiner, † Cited by third party
Publication numberPriority datePublication dateAssigneeTitle
CN113599668A (en)*2021-08-132021-11-05乐陵市人民医院Vascular surgery intervention catheter fixer
CN113598901A (en)*2021-08-052021-11-05江苏省人民医院(南京医科大学第一附属医院) A medical multifunctional vocal cord filling and puncturing device
CN114983573A (en)*2022-05-242022-09-02河北工业大学Clamping interval adjustable intervenes operation with delivering robot in succession

Cited By (4)

* Cited by examiner, † Cited by third party
Publication numberPriority datePublication dateAssigneeTitle
CN113598901A (en)*2021-08-052021-11-05江苏省人民医院(南京医科大学第一附属医院) A medical multifunctional vocal cord filling and puncturing device
CN113599668A (en)*2021-08-132021-11-05乐陵市人民医院Vascular surgery intervention catheter fixer
CN114983573A (en)*2022-05-242022-09-02河北工业大学Clamping interval adjustable intervenes operation with delivering robot in succession
CN114983573B (en)*2022-05-242024-03-22河北工业大学 A continuous delivery robot for interventional surgery with adjustable clamping distance

Similar Documents

PublicationPublication DateTitle
CN213158795U (en) Interventional clinical treatment catheter fixation device
CN109044710B (en)Head auxiliary fixing device for bronchial cannula
CN101569556B (en)Laparoscope holding fixer
CN204501488U (en)Through right side radial artery intervene operation arm fixed mount
CN110522987B (en)Cardiovascular patient's operation advancing device
CN109107005A (en)A kind of pediatric medicine adjustable atomization suction apparatus
CN222584469U (en) A hysteroscopic endoscope convenient for adjustment in obstetrics and gynecology
CN109011107A (en)A kind of Gastroenterology dept.'s gastroscope pipe fixing device
CN209316365U (en)A kind of hand and foot surgery nursing bracket
CN113384349A (en)Auxiliary manipulator for digestive endoscope and use method
CN208989074U (en)A kind of power-assisted guide type anaesthetic puncture needle
CN208447683U (en)A kind of slight drag stapler
CN215349564U (en)Adjustable mouth gag
CN208404693U (en)A kind of angular transformation mechanism and the stapler with the structure
CN114848148A (en)Bronchoscope surgical robot
CN202168852U (en)Intelligent guidance fracture therapeutic apparatus
CN218528767U (en)Multi-angle adjusting device for patient limb examination
CN113456992A (en)Cardiovascular and cerebrovascular nursing is with interveneeing catheter fixation ware
CN221357167U (en)Multifunctional mouth gag for robot operation
CN211797499U (en)Fixing device for pediatric bronchoscope examination
CN220213332U (en) An ultrasonic interventional surgical operating table with adjustment function
CN223009253U (en)Gastroenteroscope inspection car
CN219184030U (en)Flexible needle convenient to location is surveyed
CN216496976U (en) Cardiovascular guidewire interventional aids
CN215689519U (en)Head support for plastic cosmetology department

Legal Events

DateCodeTitleDescription
GR01Patent grant
GR01Patent grant
CF01Termination of patent right due to non-payment of annual fee
CF01Termination of patent right due to non-payment of annual fee

Granted publication date:20210511


[8]ページ先頭

©2009-2025 Movatter.jp