Movatterモバイル変換


[0]ホーム

URL:


CN212272493U - An electric inflator - Google Patents

An electric inflator
Download PDF

Info

Publication number
CN212272493U
CN212272493UCN202021379744.6UCN202021379744UCN212272493UCN 212272493 UCN212272493 UCN 212272493UCN 202021379744 UCN202021379744 UCN 202021379744UCN 212272493 UCN212272493 UCN 212272493U
Authority
CN
China
Prior art keywords
assembly
switch element
power switch
housing
casing
Prior art date
Legal status (The legal status is an assumption and is not a legal conclusion. Google has not performed a legal analysis and makes no representation as to the accuracy of the status listed.)
Withdrawn - After Issue
Application number
CN202021379744.6U
Other languages
Chinese (zh)
Inventor
王伟吉
Current Assignee (The listed assignees may be inaccurate. Google has not performed a legal analysis and makes no representation or warranty as to the accuracy of the list.)
Dasheng Tiancheng Technology Huizhou Co ltd
Original Assignee
Dasheng Tiancheng Technology Huizhou Co ltd
Priority date (The priority date is an assumption and is not a legal conclusion. Google has not performed a legal analysis and makes no representation as to the accuracy of the date listed.)
Filing date
Publication date
Family has litigation
First worldwide family litigation filedlitigationCriticalhttps://patents.darts-ip.com/?family=73898596&utm_source=google_patent&utm_medium=platform_link&utm_campaign=public_patent_search&patent=CN212272493(U)"Global patent litigation dataset” by Darts-ip is licensed under a Creative Commons Attribution 4.0 International License.
Application filed by Dasheng Tiancheng Technology Huizhou Co ltdfiledCriticalDasheng Tiancheng Technology Huizhou Co ltd
Priority to CN202021379744.6UpriorityCriticalpatent/CN212272493U/en
Application grantedgrantedCritical
Publication of CN212272493UpublicationCriticalpatent/CN212272493U/en
Withdrawn - After Issuelegal-statusCriticalCurrent
Anticipated expirationlegal-statusCritical

Links

Images

Landscapes

Abstract

Translated fromChinese

本实用新型提供一种电动打气装置,包括壳体,壳体包括至少一个侧壁且在侧壁上设置枢接孔;控制组件,设置在壳体内,包括控制电路板和电源开关元件,电源开关元件与控制电路板电连接并控制电路板;打气泵组件,与控制组件电连接,包括出气端,出气端在所述枢接孔位置;接管组件,可旋转地设置在侧壁外侧,包括打气接管、连接部件和打气接头,连接部件与打气接头分别连接在打气接管的两端,连接部件与出气端连接,连接部件包括开关操作部,开关操作部设置在壳体内且与电源开关元件对应设置,开关操作部随着接管组件相对于壳体的旋转位置不同而触发或不触发所述电源开关元件。通过接管组件的旋转实现电源开关元件的启闭,使用方便。

Figure 202021379744

The utility model provides an electric air pumping device, which comprises a casing, the casing comprises at least one side wall and a pivot hole is arranged on the side wall; a control assembly is arranged in the casing and comprises a control circuit board and a power switch element, the power switch The element is electrically connected to the control circuit board and controls the circuit board; the air pump assembly, which is electrically connected to the control assembly, includes an air outlet end, and the air outlet end is located at the position of the pivot hole; the takeover assembly, which is rotatably arranged on the outside of the side wall, includes an air outlet The connecting part and the pumping connector are respectively connected to the two ends of the pumping nozzle, the connecting part is connected with the air outlet, and the connecting part includes a switch operation part, which is arranged in the casing and corresponding to the power switch element , the switch operating part triggers or does not trigger the power switch element according to the different rotational positions of the take-over assembly relative to the housing. The opening and closing of the power switch element is realized by the rotation of the takeover assembly, which is convenient to use.

Figure 202021379744

Description

Electric inflating device
Technical Field
The utility model relates to an electronic technical field of inflating especially relates to an electronic device of inflating.
Background
The inflating pump drives the air bag component to move through the motor, so that the aim of air suction or air exhaust is fulfilled. However, the existing inflator pump has a complex structure, a large number of parts, and a complex assembly process, which results in a low assembly efficiency, and therefore, a more optimized design scheme is required to meet the market demand.
At present, an electric inflating device for inflating tires or other inflatable objects mainly comprises an inflating pump in a shell and a storage battery for supplying power to the inflating pump, and is provided with a control switch assembly for connecting the inflating pump and the storage battery, wherein the control switch assembly is provided with a power switch and an inflating operation key lamp which are exposed outside the shell, the power switch is used for controlling whether the power is switched on or not, the inflating operation key is used for starting the inflating pump or stopping the inflating pump, a tube connecting assembly is arranged on the outer side of the shell, one end of a tube of the tube connecting assembly is provided with an inflating joint, and the other end of the tube connecting assembly penetrates through the shell and is connected with an air outlet end.
When the existing electric inflating device is used, after an inflating joint at the tail end of a connecting pipe assembly is connected with an inflating valve of a tire or an air nozzle of an object to be inflated, a power switch is firstly switched to an opening position, then, an inflating pump is started through an inflating operation key until the tire or the object to be inflated stops the inflating pump through the inflating operation key, the inflating joint of the connecting pipe assembly is detached from the inflating valve of the tire or the air nozzle of the object to be inflated, when the electric inflating device is not used, the power switch is switched to a closing position, and then the connecting pipe assembly is collected.
Although the existing electric inflating device can provide a labor-saving appliance for conveniently inflating tires or objects to be inflated, the independent power switch and the inflating operation key of the electric inflating device need to be switched and operated respectively, so that the electric inflating device is inconvenient to use. When the electric inflating device is not used, a user forgets to switch the power switch to the closed position for a long time.
The above background disclosure is only provided to aid in understanding the concepts and technical solutions of the present invention, and it does not necessarily belong to the prior art of the present patent application, and it should not be used to assess the novelty and inventive step of the present application without explicit evidence that the above content has been disclosed at the filing date of the present patent application.
Disclosure of Invention
The utility model discloses a solve current problem, provide an electronic inflating device.
In order to solve the above problem, the utility model discloses a technical scheme as follows:
an electric inflating device comprises a shell, wherein the shell comprises at least one side wall, and a pin joint hole is formed in the side wall; the control assembly is arranged in the shell and comprises a control circuit board and a power switch element, and the power switch element is electrically connected with the control circuit board and controls the circuit board; the inflating pump assembly is electrically connected with the control assembly and comprises an air outlet end, and the air outlet end is arranged at the position of the pivot hole; the connecting pipe assembly is rotatably arranged on the outer side of the side wall and comprises an inflating connecting pipe, a connecting part and an inflating joint, the connecting part is connected with the inflating joint at two ends of the inflating connecting pipe respectively, the connecting part is connected with the air outlet end, the connecting part comprises a switch operation part, the switch operation part is arranged in the shell and corresponds to the power switch element, and the switch operation part is triggered or not triggered along with the connecting pipe assembly relative to different rotating positions of the shell.
Preferably, the power switching element is a contact type switching element and includes a contact portion, and the switch operation portion activates or deactivates the power switching element with or without contacting the contact portion.
Preferably, the power switching element is a normally-closed contact-type power switching element, and the power switching element is in a closed state when the contact portion is in contact with the switch operating portion; when the contact portion is not in contact with the switch operation portion, the power switch element is in an on state.
Preferably, when the pipe connecting assembly is rotatably retracted to the side position of the side wall of the housing, the switch operating portion touches the contact portion of the power switch element, and the power switch element is in a closed state; when the pipe connecting component is screwed away from the side wall of the shell and is positioned at the front end of the shell, the switch operation part is separated from the contact part of the power switch element, so that the contact part is flicked to enable the power switch element to be in an opening state.
Preferably, the switch operation part is a sector piece with an included angle less than or equal to 100 °, and the switch operation part is separated from the contact part of the power switching element when the pipe joint assembly rotates by an angle greater than 100 °.
Preferably, the power switching element is an inductive switching element, and is activated or deactivated by sensing a position of the switch operation portion.
Preferably, the control assembly further includes a display panel exposed to the front surface of the housing and electrically connected to the control circuit board.
Preferably, the casing is a cuboid, the pump assembly and the control assembly are arranged in parallel at the front end of the casing, the power storage assembly is arranged at the rear end of the casing, the power storage assembly is electrically connected to the control assembly, the control circuit board of the control assembly is provided with a charging connecting element, and the charging connecting element is exposed out of the casing.
Preferably, a protective cover is disposed between the pump assembly and the control assembly.
Preferably, the length of the pipe connecting component is equal to the length of the housing, the pivot hole is arranged at the front end of the housing, and the clamping component is arranged at the rear end of the outer part of the housing and used for fixing the pipe connecting component.
The utility model has the advantages that: the power supply switch element is turned on and off through rotation of the connecting pipe assembly, so that the power supply is switched on when the electric inflating device is in a working state, and the power supply is switched off when the electric inflating device is in a non-working state, and extra power supply opening or closing operation is not needed.
Further, the utility model discloses an electronic device overall structure overall arrangement of inflating is compact, has reduced the product volume, portable and accomodate.
Drawings
Fig. 1 is a schematic view of a first electric pump according to an embodiment of the present invention.
Fig. 2 is a schematic view of a second electric pump according to an embodiment of the present invention.
Fig. 3 is a schematic view of a third electric pump according to an embodiment of the present invention.
Fig. 4 is a schematic view illustrating a partially exploded electric pump according to an embodiment of the present invention.
Fig. 5 is a schematic view illustrating a state in which the inflation tube of the electric inflation device of the embodiment of the present invention is retracted and the power switching element is turned off.
Fig. 6 is a schematic view of an internal state of the electric pump according to the embodiment of the present invention.
Fig. 7 is a schematic view illustrating a state in which an inflation tube of the electric inflation device of the embodiment of the present invention is rotated to the front end of the housing and the power switching element is turned on.
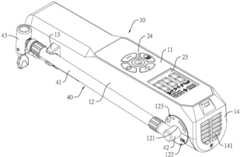
Wherein, 10-shell, 101-upper half shell, 102-lower half shell, 11-front, 12-connecting tube assembling side wall, 121-pivot hole, 122-switch position mark, 123-rotation direction mark, 13-clamping piece, 14-front end wall, 141-heat dissipation hole, 15-rear end wall, 151-heat dissipation hole, 16-fan, 17-cover plate, 20-control component, 21-control circuit board, 22-power switch element, 221-contact part, 23-display panel, 24-button, 25-charging connecting element, 30-inflating pump, 31-air outlet end, 32-protecting cover, 40-connecting tube component, 41-inflating connecting tube, 42-connecting part, 421-switch operating part, 43-inflating joint, 50-electricity storage component.
Detailed Description
In order to make the technical problem, technical scheme and beneficial effect that the embodiment of the present invention will solve more clearly understand, the following combines the drawings and embodiment, and goes forward the further detailed description of the present invention. It should be understood that the specific embodiments described herein are merely illustrative of the invention and are not intended to limit the invention.
It will be understood that when an element is referred to as being "secured to" or "disposed on" another element, it can be directly on the other element or be indirectly on the other element. When an element is referred to as being "connected to" another element, it can be directly connected to the other element or be indirectly connected to the other element. In addition, the connection may be for either a fixing function or a circuit connection function.
It is to be understood that the terms "length," "width," "upper," "lower," "front," "rear," "left," "right," "vertical," "horizontal," "top," "bottom," "inner," "outer," and the like are used in the orientation or positional relationship indicated in the drawings for convenience in describing the embodiments of the present invention and to simplify the description, and are not intended to indicate or imply that the device or element so referred to must have a particular orientation, be constructed and operated in a particular orientation, and are not to be construed as limiting the invention.
Furthermore, the terms "first", "second" and "first" are used for descriptive purposes only and are not to be construed as indicating or implying relative importance or implicitly indicating the number of technical features indicated. Thus, a feature defined as "first" or "second" may explicitly or implicitly include one or more of that feature. In the description of the embodiments of the present invention, "a plurality" means two or more unless specifically limited otherwise.
As shown in fig. 1 to 4, the present invention relates to an electric pump. The electric pump device includes ahousing 10, acontrol assembly 20, apump 30, and ahose assembly 40.
As shown in fig. 1 to 4, thehousing 10 is a hollow component having an accommodating space therein, the housing has afront surface 11, thehousing 10 has anozzle assembling sidewall 12 adjacent to thefront surface 11, thenozzle assembling sidewall 12 has apivot hole 121, thepivot hole 121 is a through hole penetrating the accommodating space inward from the outer surface of thenozzle assembling sidewall 12, the outer surface of thenozzle assembling sidewall 12 can further have aswitch position mark 122, such as ON/OFF, at the periphery of thepivot hole 121, and arotation direction mark 123, such as an arrow, can be further added.
As shown in fig. 1 to 4, in a preferred embodiment, the two opposite ends (front end and rear end) of thehousing 10 in the length direction are afront end wall 14 and arear end wall 15, respectively. Thepivot hole 121 is disposed near the front end of thenozzle assembly sidewall 12, and thenozzle assembly sidewall 12 may further be provided near the rear end with aclamping member 13 for clamping and fixing thenozzle assembly 40.
As shown in fig. 1 to 4, thehousing 10 may be formed by relatively combining a plurality of components and fixed by a screw-locking method, a snap-fit method, or the like. In a preferred embodiment, thehousing 10 includes an upper half-shell member 101 and a lower half-shell member 102 combined in an upper-lower opposite manner and fixed by a plurality of screws.
In addition, thecasing 10 is provided withheat radiation holes 141, 151 for ventilation and heat radiation in one or both of thefront end wall 14 and therear end wall 15. Thefan 16 may be additionally disposed inside thecasing 10 adjacent to thefront end wall 14 having theheat dissipation holes 141, 151, and thefan 16 may be electrically connected to thecontrol assembly 20 for assisting the heat dissipation airflow by power-on operation.
As shown in fig. 1 to 4, thecontrol assembly 20 is installed in thehousing 10, thecontrol assembly 20 includes acontrol circuit board 21 having a control circuit, apower switch element 22 and adisplay panel 23, thecontrol circuit board 21 is installed inside thehousing 10, thepower switch element 22 is adjacent to thepivot hole 121 and electrically connected to thecontrol circuit board 21, thepower switch element 22 is used for controlling whether to turn on the power supply, thepower switch element 22 may be a contact switch element or a sensing switch element, and the contact switch element and the sensing switch element may both adopt conventional electronic elements, and detailed construction thereof is not described again. Thedisplay panel 23 is exposed on thefront surface 11 of thehousing 10 and electrically connected to thecontrol circuit board 21, and thedisplay panel 23 has a display function of an on-off state or a use state (such as an air pressure value). In a preferred embodiment, thecontrol unit 20 is mounted inside thehousing 10 at a front position adjacent to thefront face 11.
As shown in fig. 1 to 4, thedisplay panel 23 of thecontrol component 20 can be a touch display panel and has control functions such as operation and setting, or thedisplay panel 23 is a display panel with a simple display function, thecontrol component 20 has at least onekey 24, thekey 24 is exposed on the front surface of thehousing 10 and electrically connected to thecontrol circuit board 21, and thekey 24 performs control functions such as operation and setting.
As shown in fig. 3 to 4, theinflation pump 30 is installed in thehousing 10 and electrically connected to thecontrol component 20, theinflation pump 30 has a function of controlled pressurized air output, and theinflation pump 30 includes an airoutlet end portion 31, and a position of the airoutlet end portion 31 corresponds to a position of thepivot hole 121.
As shown in fig. 1 to 4, thetube connecting assembly 40 is rotatably disposed on the connecting tube assemblingside wall 12 of thehousing 10, thetube connecting assembly 40 includes aninflating connecting tube 41, a connectingmember 42 and aninflating joint 43, the inflatingconnecting tube 41 is a flexible hose, the connectingmember 42 and the inflatingjoint 43 are respectively assembled at both ends of theinflating connecting tube 41, and the connectingmember 42 rotatably passes through thepivot hole 121 of thehousing 10 and is hermetically connected to theair outlet end 31 of the inflatingpump 30. The connectingmember 42 has aswitch operation portion 421, theswitch operation portion 421 is located in thehousing 10 and corresponds to the position of thepower switch element 22, and theswitch operation portion 421 changes the power switch state of thepower switch element 22 according to the rotation of theconnecting tube assembly 40 relative to thehousing 10.
In this embodiment, the connection pipe assembly can be automatically switched to the power-on state when being screwed to the front end of the housing, and can be automatically switched to the power-off state when being screwed to the retracted position at one side of the housing, so as to improve the convenience of the electric inflating device.
As shown in fig. 1 to 4, in a preferred embodiment, thepower switching element 22 is a normally-closed contact-typepower switching element 22, and includes acontact portion 221, and when thecontact portion 221 is pressed, thepower switching element 22 is in an "off" state, and when thecontact portion 221 is not pressed, thepower switching element 22 is in an "on" state. Therefore, when thetube assembly 40 is rotated to be retracted to the side of thetube assembly sidewall 12 of thehousing 10, theswitch operation portion 421 can touch thecontact portion 221 of thepower switch 22 to make thepower switch 22 in the off state, and when thetube assembly 40 is rotated away from thetube assembly sidewall 12 of thehousing 10 to the front end of thehousing 10, theswitch operation portion 421 is separated from thecontact portion 221 of thepower switch 22 to make thecontact portion 221 be sprung open to switch thepower switch 22 to the on state. As described above, theswitch operation portion 421 may be a fan-shaped piece having an included angle of 100 degrees or less, and when thepipe joint assembly 40 is rotated by an angle of more than 100 degrees, theswitch operation portion 421 is separated from thecontact portion 221 of thepower switching element 22. In a preferred embodiment, theswitch operation portion 421 is a fan-shaped piece with an angle of 90 degrees.
In addition, when the power switch element is a sensing power switch element (not shown), the switching state of the power switch element can be changed by sensing the position of the switch operation part by the sensing power switch element, which is not described herein again.
As mentioned above, the electric inflating device of the utility model can adopt the direct external power supply to perform the inflating function. Alternatively, the electric pump may be provided with an electric storage assembly, wherein the housing is provided with a battery connecting assembly (not shown) in the accommodating space thereof, the battery connecting assembly being electrically connected to the control assembly and being capable of accommodating the battery, and a detachable cover is provided at a position of the housing corresponding to the battery connecting assembly, the battery connecting assembly being capable of detaching the battery to provide electric energy required by the electric pump when in use. Alternatively, as shown in fig. 3 to 4, anelectricity storage component 50 having charging and discharging functions may be further disposed at the rear end of the accommodating space inside thecasing 10, and theelectricity storage component 50 is electrically connected to thecontrol component 20. In a preferred embodiment, acharging connection element 25 may be further disposed on thecontrol circuit board 21 of thecontrol assembly 20, thecharging connection element 25 is exposed outside thehousing 10, thecharging connection element 25 may be externally connected to a charging wire set to connect to an external power source, so as to charge thepower storage assembly 50, and thehousing 10 may further be provided with a cover plate 17 at a position corresponding to thecharging connection element 25, so as to provide dust-proof and water-proof functions.
As shown in fig. 3 to 4, in the electric pump device, thehousing 10 is preferably an elongated member, such as a rectangular parallelepiped; theinflation pump 30 and thecontrol assembly 20 are juxtaposed at the front end of the interior of thehousing 10, aprotective cover 32 can be disposed between theinflation pump 30 and thecontrol assembly 20, theinflation pump 30 and thecontrol assembly 20 are separated by theprotective cover 32, and the battery connecting assembly or thepower storage assembly 50 can be disposed at the rear end of the interior of thehousing 10, so as to provide a better space configuration and fully utilize the interior space of thehousing 10.
In this embodiment, the casing is a long hollow component, the inflation pump and the control assembly are disposed in parallel at the front end of the casing, the tube connecting assembly is pivotally connected to the front end of the tube connecting assembly side of the casing, and the electricity storage assembly is disposed at the rear end of the casing.
As shown in fig. 1 and 5, the electric inflating device of the present invention is in a folded state, thetube assembly 40 is located outside thetube assembly sidewall 12 of thehousing 10, and the length of thetube assembly 40 is equal to or slightly different from the length of thehousing 10, so that the folded electric inflating device has a smaller product volume for carrying and storing. When the junction assembly is in the collapsed state, theswitch operation portion 421 of theconnection member 42 of thejunction assembly 40 is disengaged from thepower switch element 22, and the power is turned off.
In this embodiment, the tube assembly can be retracted to one side of the housing and has a length equivalent to that of the housing, so that the electric inflating device can effectively reduce the overall size of the product, thereby facilitating carrying, use and storage.
When a user wants to use the electric inflating device of the present invention to inflate a tire or other inflatable objects of a vehicle, as shown in fig. 5 to 7, the user unscrews the tube connecting assembly 40 forward from the connecting tube assembling sidewall 12 of the housing 10, at this time, the switch operation portion 421 of the connecting member 42 of the tube connecting assembly 40 is screwed to the contact portion 221 of the power switch element 22, the power switch element 22 is automatically switched to the power on state, the control assembly 20 is turned on the electric storage assembly 50, the user can connect the valve of the tire or the valve of the object to be inflated by using the inflating joint 43 of the tube connecting assembly 40, and then the user can operate the inflating pump 30 through the button or the touch display panel of the control assembly 20, so that the pressurized air output by the inflating pump 30 passes through the tube connecting assembly 40 to the tire or the object to be inflated, the tube connecting assembly 40 is removed, and the tube connecting assembly 40 is screwed back to the position of the connecting tube assembling sidewall 12 of the housing 10, and is automatically switched to the power-off state by disengaging the switch operation portion 421 of the connection member 42 of the junction block assembly 40 from the power switching element 22.
The utility model provides an electronic device of inflating realizes opening and close of switch element through the rotation of connecting the pipe assembly, realizes switch on under electronic device operating condition of inflating, and power off does not need extravagant opening or closing power operation under the electronic device non-operating condition of inflating.
Further, the utility model discloses an electronic device overall structure overall arrangement of inflating is compact, has reduced the product volume, portable and accomodate.
The methods disclosed in the several method embodiments provided by the present invention can be combined at will without conflict to obtain new method embodiments.
Features disclosed in several of the product embodiments provided in the present application may be combined in any combination to yield new product embodiments without conflict.
The features disclosed in the several method or apparatus embodiments provided in the present application may be combined arbitrarily, without conflict, to arrive at new method embodiments or apparatus embodiments.
The foregoing is a more detailed description of the present invention, taken in conjunction with the specific preferred embodiments thereof, and it is not intended that the invention be limited to the specific embodiments shown and described. To the technical field of the utility model belongs to the prerequisite of not deviating from the utility model discloses, can also make a plurality of equal substitution or obvious variants, performance or usage are the same moreover, all should regard as belonging to the utility model's scope of protection.

Claims (10)

Translated fromChinese
1.一种电动打气装置,其特征在于,包括壳体,所述壳体包括至少一个侧壁且在所述侧壁上设置枢接孔;1. An electric air pump, characterized in that it comprises a casing, the casing comprises at least one side wall and a pivot hole is provided on the side wall;控制组件,设置在所述壳体内,包括控制电路板和电源开关元件,所述电源开关元件与所述控制电路板电连接并控制所述电路板;a control assembly, disposed in the housing, including a control circuit board and a power switch element, the power switch element is electrically connected to the control circuit board and controls the circuit board;打气泵组件,与所述控制组件电连接,包括出气端,所述出气端在所述枢接孔位置;an air pump assembly, which is electrically connected to the control assembly, and includes an air outlet, the air outlet is located at the pivot hole;接管组件,可旋转地设置在所述侧壁外侧,包括打气接管、连接部件和打气接头,所述连接部件与所述打气接头分别连接在所述打气接管的两端,所述连接部件与所述出气端连接,所述连接部件包括开关操作部,所述开关操作部设置在所述壳体内且与所述电源开关元件对应设置,所述开关操作部随着所述接管组件相对于所述壳体的旋转位置不同而触发或不触发所述电源开关元件。The nozzle assembly, which is rotatably arranged on the outside of the side wall, includes a gas nozzle, a connecting part and a gas nozzle. For the connection of the air outlet, the connection part includes a switch operation part, the switch operation part is arranged in the casing and is correspondingly arranged with the power switch element, and the switch operation part is relative to the take-over assembly relative to the power switch element. The power switch element is activated or deactivated depending on the rotational position of the housing.2.如权利要求1所述的电动打气装置,其特征在于,所述电源开关元件是接触式开关元件且包括接触部,所述开关操作部以接触或不接触所述接触部的方式触发或不触发所述电源开关元件。2 . The electric air pump according to claim 1 , wherein the power switch element is a contact switch element and includes a contact portion, and the switch operation portion triggers or triggers in a manner of contacting or not contacting the contact portion. 3 . The power switch element is not activated.3.如权利要求2所述的电动打气装置,其特征在于,所述电源开关元件是常闭型接触式电源开关元件,所述接触部与所述开关操作部接触时,所述电源开关元件处于关闭的状态;所述接触部与所述开关操作部不接触时,所述电源开关元件处于开启的状态。3 . The electric inflator according to claim 2 , wherein the power switch element is a normally closed contact type power switch element, and when the contact portion is in contact with the switch operation portion, the power switch element is in an off state; when the contact portion is not in contact with the switch operating portion, the power switch element is in an on state.4.如权利要求3所述的电动打气装置,其特征在于,所述接管组件旋转收合至所述壳体的所述侧壁的侧边位置时,所述开关操作部触压所述电源开关元件的所述接触部,所述电源开关元件处于关闭的状态;4 . The electric air pumping device according to claim 3 , wherein when the nozzle assembly is rotated and folded to the side position of the side wall of the housing, the switch operating portion touches the power supply. 5 . the contact part of the switch element, the power switch element is in a closed state;所述接管组件旋离所述壳体的所述侧壁且处于所述壳体的前端的位置时,所述开关操作部脱离所述电源开关元件的接触部,使所述接触部弹开而使所述电源开关元件处于开启的状态。When the take-over assembly is rotated away from the side wall of the housing and is at the front end of the housing, the switch operating portion is separated from the contact portion of the power switch element, so that the contact portion is bounced open and is removed. The power switch element is turned on.5.如权利要求4所述的电动打气装置,其特征在于,所述开关操作部是夹角小于或等于100°的扇形片体,所述接管组件旋转大于100°的角度时使所述开关操作部脱离所述电源开关元件的所述接触部。5 . The electric air pumping device according to claim 4 , wherein the switch operating part is a sector-shaped body with an included angle less than or equal to 100°, and the switch is rotated by an angle greater than 100° when the take-over assembly rotates. 6 . The operating portion is disengaged from the contact portion of the power switch element.6.如权利要求1所述的电动打气装置,其特征在于,所述电源开关元件是感应式开关元件,通过感应所述开关操作部的位置而触发或不触发。6 . The electric inflator according to claim 1 , wherein the power switch element is an inductive switch element, which is triggered or not triggered by sensing the position of the switch operating portion. 7 .7.如权利要求1-6任一所述的电动打气装置,其特征在于,所述控制组件还包括显示面板,所述显示面板显露于所述壳体的正面且电性连接所述控制电路板。7. The electric inflator according to any one of claims 1-6, wherein the control assembly further comprises a display panel, the display panel is exposed on the front of the housing and is electrically connected to the control circuit plate.8.如权利要求1-6任一所述的电动打气装置,其特征在于,所述壳体是长方体形,所述打气泵组件和所述控制组件并列设置于所述壳体内部的前端位置,所述壳体内部的后端位置设置储电组件,所述储电组件电性连接所述控制组件,所述控制组件的所述控制电路板设置充电连接元件,所述充电连接元件显露于所述壳体外。8. The electric air pumping device according to any one of claims 1-6, wherein the housing is in the shape of a rectangular parallelepiped, and the air pump assembly and the control assembly are arranged side by side at a front end position inside the housing , a power storage assembly is arranged at the rear end position inside the casing, the power storage assembly is electrically connected to the control assembly, and the control circuit board of the control assembly is provided with a charging connection element, and the charging connection element is exposed on the outside the housing.9.如权利要求8所述的电动打气装置,其特征在于,所述打气泵组件和所述控制组件之间设置护盖。9 . The electric air pumping device according to claim 8 , wherein a protective cover is provided between the air pump assembly and the control assembly. 10 .10.如权利要求8所述的电动打气装置,其特征在于,所述接管组件的长度与所述壳体的长度相等,所述枢接孔设置在所述壳体的前端位置,所述壳体的外部的后端位置设置夹持件,所述夹持件用于固定所述接管组件。10 . The electric air pump according to claim 8 , wherein the length of the nozzle assembly is equal to the length of the casing, the pivot hole is provided at the front end of the casing, and the casing is 10 . A clamp is provided at the rear end position of the outside of the body, and the clamp is used to fix the nozzle assembly.
CN202021379744.6U2020-07-142020-07-14 An electric inflatorWithdrawn - After IssueCN212272493U (en)

Priority Applications (1)

Application NumberPriority DateFiling DateTitle
CN202021379744.6UCN212272493U (en)2020-07-142020-07-14 An electric inflator

Applications Claiming Priority (1)

Application NumberPriority DateFiling DateTitle
CN202021379744.6UCN212272493U (en)2020-07-142020-07-14 An electric inflator

Publications (1)

Publication NumberPublication Date
CN212272493Utrue CN212272493U (en)2021-01-01

Family

ID=73898596

Family Applications (1)

Application NumberTitlePriority DateFiling Date
CN202021379744.6UWithdrawn - After IssueCN212272493U (en)2020-07-142020-07-14 An electric inflator

Country Status (1)

CountryLink
CN (1)CN212272493U (en)

Cited By (1)

* Cited by examiner, † Cited by third party
Publication numberPriority datePublication dateAssigneeTitle
CN111779652A (en)*2020-07-142020-10-16大胜天成科技(惠州)有限公司 An electric inflator

Cited By (2)

* Cited by examiner, † Cited by third party
Publication numberPriority datePublication dateAssigneeTitle
CN111779652A (en)*2020-07-142020-10-16大胜天成科技(惠州)有限公司 An electric inflator
CN111779652B (en)*2020-07-142025-04-08大胜天成科技(惠州)有限公司 Electric pumping device

Similar Documents

PublicationPublication DateTitle
CN109139414B (en)Air charging device
US9371828B2 (en)External automatic control smart air pump
CN212272493U (en) An electric inflator
CN111779652B (en) Electric pumping device
CN216278330U (en)Air pump
CN103775362B (en) External automatic control intelligent air pump
CN220705979U (en)Internal and external dual-purpose pump convenient to switch
TWM605531U (en)Electric air pump
TW593068B (en)Replaceable electric-heating sealing device
CN220850133U (en)Air duct mechanism, air pump and inflation equipment
CN220157741U (en)Multifunctional blowing device
CN109404269B (en)Air charging device
CN215398553U (en)Wireless inflation integrated machine with storage function and automobile starting power supply
CN115288974A (en)Emergent all-in-one of inflating pump
CN223062684U (en) Axial flow air pump
CN223126407U (en) Multifunctional foldable vacuum cleaner
CN214258254U (en)Hair-dryer convenient to accomodate and carry
CN116616546A (en) A multifunctional hair dryer
CN219865418U (en)Internal and external dual-purpose pump
CN111928110A (en)Inflating equipment
CN216232158U (en)Novel car washing and inflating integrated machine
CN219622830U (en)Pop-up internal and external dual-purpose pump
CN221423363U (en)Hand-held inflator pump
CN103446726B (en)A kind of tubular blows up a balloon machine
CN218105475U (en)Inflatable pillow

Legal Events

DateCodeTitleDescription
GR01Patent grant
GR01Patent grant
AV01Patent right actively abandoned
AV01Patent right actively abandoned
AV01Patent right actively abandoned

Granted publication date:20210101

Effective date of abandoning:20250408

AV01Patent right actively abandoned

Granted publication date:20210101

Effective date of abandoning:20250408


[8]ページ先頭

©2009-2025 Movatter.jp