









技术领域technical field
本实用新型涉及一种卫浴的领域,具体是指一种具有肩颈水单元的淋浴柱。The utility model relates to the field of sanitary ware, in particular to a shower column with a shoulder and neck water unit.
背景技术Background technique
现有的淋浴柱一般只设置有头部花洒和手持花洒,在淋浴过程中,无法喷洗到人的肩部和颈部,使用手持花洒时也很难对肩颈部位进行清洗,而且在淋浴柱使用过程中,用户需要使用淋浴用品时,需要到其他地方取用,并不十分方便。The existing shower column is generally only provided with a head shower and a hand-held shower. During the shower, the shoulders and necks cannot be sprayed, and it is also difficult to clean the shoulders and necks when using the hand-held shower. , and in the process of using the shower column, when the user needs to use the shower supplies, they need to go to other places to get them, which is not very convenient.
实用新型内容Utility model content
本实用新型的目的在于克服上述现有技术中的不足,提供一种可冲洗肩颈部和置放淋浴用品并可独立控制肩颈水单元的第一出水构件和第二出水构件的淋浴柱。The purpose of this utility model is to overcome the above-mentioned deficiencies in the prior art, and to provide a shower column capable of flushing the shoulder and neck and placing shower supplies and independently controlling the first and second water outlet members of the shoulder and neck water unit.
为了解决上述技术问题,本实用新型提供了一种具有肩颈水单元的淋浴柱,包括:In order to solve the above technical problems, the utility model provides a shower column with a shoulder and neck water unit, including:
淋浴龙头,固设在墙面上,所述淋浴龙头应用于接通外界水源到一第一水路;The shower faucet is fixed on the wall, and the shower faucet is used to connect the external water source to a first water channel;
管体,所述管体的一端连接所述淋浴龙头,所述管体从所述淋浴龙头往上延伸一段距离;a pipe body, one end of the pipe body is connected to the shower faucet, and the pipe body extends upward from the shower faucet for a distance;
肩颈水单元,设置在所述管体上,所述肩颈水单元朝上的一面具有置物面,朝下的一面设置有连通所述第一水路的第一出水构件和第二出水孔构件,所述肩颈水单元的在所述管体上的高度配置成从所述第一出水构件和第二出水孔构件喷出的水流可冲洗肩部或颈部;The shoulder and neck water unit is arranged on the pipe body. The upward side of the shoulder and neck water unit has a storage surface, and the downward side is provided with a first water outlet member and a second water outlet member that communicate with the first water channel. , the height of the shoulder and neck water unit on the pipe body is configured so that the water flow sprayed from the first water outlet member and the second water outlet hole member can wash the shoulder or neck;
所述肩颈水单元内还设置在有控制组件,所述控制组件可用于独立控制所述第一水路连通所述第一出水构件或第二出水构件。A control assembly is also provided in the shoulder and neck water unit, and the control assembly can be used to independently control the first water channel to communicate with the first water outlet member or the second water outlet member.
优选地,所述肩颈水单元朝下的一面设置有与水平面成一定夹角并朝向远离所述管体一侧的出水面,所述第一出水构件和第二出水构件设置在所述出水面上。Preferably, the downward-facing side of the shoulder and neck water unit is provided with a water outlet surface that forms a certain angle with the horizontal plane and faces away from the side of the pipe body, and the first water outlet member and the second water outlet member are arranged on the outlet surface. on the water.
优选地,所述第一出水构件包括复数个设置在所述出水面上的第一出水孔,所述第二出水构件包括复数个设置在所述出水面上的第二出水孔,所述第一出水孔的孔径大于所述第二出水孔的孔径。Preferably, the first water outlet member includes a plurality of first water outlet holes disposed on the water outlet surface, the second water outlet member includes a plurality of second water outlet holes disposed on the water outlet surface, and the second water outlet member includes a plurality of second water outlet holes disposed on the water outlet surface. The diameter of the first water outlet hole is larger than that of the second water outlet hole.
优选地,所述第一出水孔沿所述肩颈水单元的长度方向间隔布置在所述出水面上,多个所述第二出水孔毗邻构成出水孔组,多个所述出水孔组沿所述肩颈水单元的长度方向间隔布置在所述出水面上。Preferably, the first water outlet holes are arranged at intervals along the length direction of the shoulder and neck water unit on the water outlet surface, a plurality of the second water outlet holes are adjacent to form a water outlet hole group, and a plurality of the water outlet hole groups are arranged along the The length direction of the shoulder and neck water units is arranged on the water outlet surface at intervals.
优选地,所述肩颈水单元内设置有连通所述第一出水构件和所述第一水路的第一出水通道,所述肩颈水单元内设置有连通所述第二出水构件和所述第一水路的第二出水通道,所述第一水路、第一出水通道和第二出水通道连通在一阀腔,所述控制组件设置在所述阀腔内。Preferably, the shoulder and neck water unit is provided with a first water outlet channel that communicates with the first water outlet member and the first water channel, and the shoulder and neck water unit is provided with a first water outlet channel that communicates with the second water outlet member and the first water channel. The second water outlet channel of the first water channel, the first water channel, the first water outlet channel and the second water outlet channel communicate with a valve cavity, and the control assembly is arranged in the valve cavity.
优选地,所述控制组件包括设置在所述阀腔内的阀芯,所述阀芯连通所述第一水路并可选择性的连通第一出水通道或第二出水通道。Preferably, the control assembly includes a valve core disposed in the valve cavity, the valve core communicates with the first water path and can selectively communicate with the first water outlet channel or the second water outlet channel.
优选地,所述控制组件还包括传动控制所述阀芯的控制件,所述控制件包括第一按压件和第二按压件,所述第二按压件与所述肩颈水单元固接,所述第一按压件可相对所述第二按压件移动并带动所述阀芯的一控制轴移动,所述阀芯可控制连通所述第一出水通道或第二出水通道。Preferably, the control assembly further includes a control member for driving and controlling the valve core, the control member includes a first pressing member and a second pressing member, and the second pressing member is fixedly connected to the shoulder and neck water unit, The first pressing member can move relative to the second pressing member and drive a control shaft of the valve core to move, and the valve core can be controlled to communicate with the first water outlet channel or the second water outlet channel.
优选地,所述淋浴柱还包括连接所述管体另一端的头部花洒,所述淋浴龙头还应用于接通外界水源到一第二水路,所述第二水路延伸在所述管体内并连通所述头部花洒。Preferably, the shower column further includes a head shower connected to the other end of the pipe body, the shower faucet is also used to connect an external water source to a second water channel, and the second water channel extends in the pipe body And communicate with the head shower.
优选地,所述淋浴柱还包括手持花洒,所述淋浴龙头还应用于接通外界水源到一第三水路并连通到所述手持花洒,所述手持花洒还包括花洒连接管,所述花洒连接管一端连接所述手持花洒,另一端连接所述淋浴龙头,所述第三水路延伸在所述花洒连接水管中,所述肩颈水单元还设置有供所述手持花洒插接的插接孔。Preferably, the shower column further comprises a hand shower, the shower faucet is also used to connect an external water source to a third water channel and is connected to the hand shower, and the hand shower further comprises a shower connection pipe, One end of the shower connecting pipe is connected to the hand-held shower, and the other end is connected to the shower faucet. The third water channel extends in the shower connecting water pipe. The plug hole for the shower plug.
优选地,还包括连通所述淋浴龙头和肩颈水单元的连接水管,所述第一水路延伸在所述连接水管内。Preferably, it also includes a connecting water pipe connecting the shower faucet and the shoulder and neck water unit, and the first water path extends in the connecting water pipe.
优选地,所述肩颈水单元还包括固定组件,所述固定组件可使所述肩颈水单元相对所述管体的轴向移动并固定。Preferably, the shoulder and neck water unit further includes a fixing component, and the fixing component can make the shoulder and neck water unit move axially relative to the pipe body and fix it.
优选地,所述固定组件设置在所述肩颈水单元上,所述固定组件可夹抵所述管体并使所述肩颈水单元固定在所述管体上,所述固定组件可解除夹抵所述管体,使所述肩颈水单元可相对所述管体的轴向移动。Preferably, the fixing component is arranged on the shoulder and neck water unit, the fixing component can clamp against the tube body and fix the shoulder and neck water unit on the tube body, and the fixing component can be released Clamp against the pipe body, so that the shoulder and neck water unit can move relative to the axial direction of the pipe body.
优选地,所述固定组件包括第一弯臂和第二弯臂,所述第一弯臂和所述第二弯臂之间界定出供所述管体穿过的夹抵通道,所述固定组件还包括设置在所述夹抵通道内的第三弯臂,所述第三弯臂可朝向所述夹抵通道移动将所述管体夹紧,所述第一弯臂和所述第二弯臂的一端铰接,所述第一弯臂和所述第二弯臂的另一端抵接并界定出供滑件,所述固定组件还包括推抵件,所述推抵件包括所述第三弯臂和滑动穿过所述供滑件的滑动杆,所述推抵件还包括可相对所述滑动杆转动的控制钮,所述控制钮与所述滑动杆连接并可相对所述滑动杆旋转,当所述控制钮旋进所述供滑件时,推动所述滑动杆相对所述供滑件滑动,所述第三弯臂开口朝向所述夹抵通道移动将所述管体夹紧。Preferably, the fixing assembly includes a first curved arm and a second curved arm, a clamping channel for the pipe body to pass through is defined between the first curved arm and the second curved arm, and the fixing The assembly also includes a third curved arm disposed in the clamping channel, the third curved arm can move toward the clamping channel to clamp the pipe body, the first curved arm and the second curved arm One end of the curved arm is hinged, the other ends of the first curved arm and the second curved arm abut and define a sliding part, and the fixing assembly further includes a pushing piece, and the pushing piece includes the first piece. Three curved arms and a sliding rod slid through the sliding supply member, the pushing member further includes a control button rotatable relative to the sliding rod, the control button is connected with the sliding rod and can slide relative to the sliding rod The rod rotates, and when the control knob is screwed into the sliding member, the sliding rod is pushed to slide relative to the sliding member, and the opening of the third curved arm moves toward the clamping channel to clamp the pipe body. tight.
相较于现有技术,本实用新型的技术方案具备以下有益效果:Compared with the prior art, the technical solution of the present utility model has the following beneficial effects:
相较于现有技术,本实用新型的技术方案具备以下有益效果:Compared with the prior art, the technical solution of the present utility model has the following beneficial effects:
1.肩颈水单元的高度配置成可对用户的肩颈部进行冲洗,提高用户体验;1. The height of the shoulder and neck water unit is configured to flush the user's shoulder and neck to improve the user experience;
2.肩颈水单元集成置物功能,可以方便用户取用淋浴用品;2. The shoulder and neck water unit integrates the storage function, which can facilitate users to take shower supplies;
3.肩颈水单元集成花洒插座功能,用户可放置手持花洒在插接孔上,提高用户体验;3. The shoulder and neck water unit integrates the function of the shower socket, and the user can place the hand shower on the socket to improve the user experience;
4.肩颈水单元可相对管体的轴向移动,调整高度,提高用户体验。4. The shoulder and neck water unit can move relative to the axial direction of the tube body to adjust the height and improve the user experience.
5.肩颈水单元上的第一出水构件和第二出水构件可通过控制组件独立控制,这样用户不需要弯腰就可以控制肩颈水单元。5. The first water outlet member and the second water outlet member on the shoulder and neck water unit can be independently controlled by the control assembly, so that the user can control the shoulder and neck water unit without bending over.
附图说明Description of drawings
图1为本实用新型优选实施例中淋浴柱的立体爆炸图;1 is a perspective exploded view of a shower column in a preferred embodiment of the present invention;
图2为本实用新型优选实施例中淋浴龙头的局部剖面图;2 is a partial cross-sectional view of a shower faucet in a preferred embodiment of the present invention;
图3为本实用新型优选实施例中淋浴龙头背后的立体图;3 is a perspective view of the back of the shower faucet in the preferred embodiment of the present invention;
图4为本实用新型优选实施例中固定组件俯视图;FIG. 4 is a top view of the fixing assembly in the preferred embodiment of the present invention;
图5为本实用新型优选实施例中肩颈水单元的立体图;5 is a perspective view of a shoulder and neck water unit in a preferred embodiment of the present invention;
图6为本实用新型优选实施例中肩颈水单元另一视角的立体图;6 is a perspective view of another perspective view of the shoulder and neck water unit in the preferred embodiment of the present utility model;
图7为本实用新型优选实施例中肩颈水单元出水面的局部放大图;7 is a partial enlarged view of the water outlet surface of the shoulder and neck water unit in the preferred embodiment of the present invention;
图8为本实用新型优选实施例中肩颈水单元内部流道示意图;8 is a schematic diagram of the internal flow channel of the shoulder and neck water unit in the preferred embodiment of the present invention;
图9为本实用新型优选实施例中肩颈水单元侧视剖视图;9 is a side cross-sectional view of a shoulder and neck water unit in a preferred embodiment of the present invention;
图10为本实用新型优选实施例中肩颈水单元另一位置的侧视剖视图。10 is a side sectional view of another position of the shoulder and neck water unit in the preferred embodiment of the present invention.
具体实施方式Detailed ways
下文结合附图和具体实施方式对本实用新型做进一步说明。The present invention will be further described below with reference to the accompanying drawings and specific embodiments.
在下文中被用于描述附图的某些方向性术语,例如“内”、“外”、“上方”、“下方”和其它方向性术语,将被理解为具有其正常含义并且指正常看附图时所涉及的那些方向。除另有指明,本说明书所述方向性术语基本按照本领域技术人员所理解的常规方向。Certain directional terms used hereinafter to describe the drawings, such as "inside", "outside", "above", "below" and other directional terms, will be understood to have their normal meanings and refer to the normal view of the drawings. those directions involved in the diagram. Unless otherwise indicated, the directional terms described in this specification are generally in accordance with the conventional directions as understood by those skilled in the art.
本实用新型中所使用的术语“第一”、“第一个”、“第二”、“第二个”及其类似术语,在本实用新型中并不表示任何顺序、数量或重要性,而是用于将一个部件与其它部件进行区分。The terms "first", "first", "second", "second" and similar terms used in the present invention do not imply any order, quantity or importance in the present invention, Rather, it is used to distinguish one component from other components.
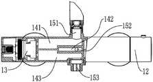
参阅图1-图10所示,一种具有肩颈水单元的淋浴柱100,包括淋浴龙头1、管体2、头部花洒3、肩颈水单元4和手持花洒5,所述淋浴龙头1固设在墙面上,所述淋浴龙头1与墙面的固接处分别设置有冷热进水口11,外界的冷水或热水通过所述进水口11进入所述淋浴龙头1,所述淋浴龙头1内还设置有与所述进水口11连通的恒温阀12,所述恒温阀12用于混合热水或冷水并流出由用户预设恒定温度的混合水。1-10, a
所述淋浴龙头1内还设置有切换阀13,所述切换阀13接收来自所述恒温阀12流出的混合水,所述淋浴龙头1内还设置有相互隔绝的第一通道141、第二通道142和第三通道143,所述第一通道141和第三通道143分别与所述切换阀13连通,所述切换阀13可以将所述混合水切换至所述第一通道141或第三通道143的其中之一。所述第二通道142始终与所述恒温阀12连通,并接收来自所述恒温阀12的混合水。The shower faucet 1 is also provided with a switching
所述淋浴龙头1外还设置有与所述第一通道141连通的第一出口151,与所述第二通道142连通的第二出口和与所述第三通道143连通的第三出口153。在本实施例中,所述第一出口151凸设在所述淋浴龙头1外,所述第一出口151竖直朝上,所述第一出口151沿着周缘设置有外螺纹,所述第二出口也凸设在所述淋浴龙头1外,所述第三出口153竖直朝下,所述第二出口朝向墙面并与水平面平行。The shower faucet 1 is also provided with a
所述淋浴龙头1用于将外界水源接通至所述第一出口151、第二出口或者第三出口153,所述淋浴柱100还包括连接所述第一出口151、第二出口或者第三出口153的水路,所述水从所述第一出口151、第二出口或者第三出口153流出后并通过所述水路分别流至所述头部花洒3、肩颈水单元4和手持花洒5,所述水路包括与所述肩颈水单元4连通的第一水路、与所述头部花洒3连通的第二水路和与所述手持花洒5连通的第三水路,所述淋浴龙头1应用于接通外界水源到所述水路,后文会具体说明。The shower faucet 1 is used to connect the external water source to the
所述淋浴柱100的所述管体2为贯穿的管状,所述管体2连接至所述第一出口151,所述管体2的一端设置有与所述第一出口151适配安装的内螺纹结构。所述管体2从所述淋浴龙头1的第一出口151向上延伸一段距离,所述管体2依次从所述第一出口151延伸有第一管段21、第二管段22和第三管段23,所述第一管段21沿竖直方向延伸,所述第二管段22沿水平方向延伸,所述第三管段23竖直向下延伸,所述第二水路延伸在所述管体2内,在本实施例中,因为所述管体2为贯穿的管状,所以水可以直接在管体2内流淌,在一些简单替换中,也可以采用延伸在管体2的塑胶水管,并不以此为限。The pipe body 2 of the
所述头部花洒3设置在所述第三管段23末端,水从所述第一出口151出发流经所述第二水路并从所述头部花洒3喷出。所述头部花洒3喷出的水流竖直朝下,用户可以站在所述头部花洒3的喷洒范围内接受水的喷淋。The
肩颈水单元4为方形结构,所述肩颈水单元4还包括固定组件41,所述肩颈水单元4通过所述固定组件41设置在所述管体2的第一管段21上,所述肩颈水单元4朝上的一面设置有置物面42,所述置物面42与水平面平行,用户可将一些淋浴用品放置在所述置物面42上,淋浴用品如洗发水、沐浴乳或者肥皂等。在一些简单替换中,所述置物面42也可以不与水平面平行,所述置物面42只要配置成可以稳定地将淋浴用品放置即可。所述肩颈水单元4朝下的一面设置有出水面43,所述出水面43与水平面成一定夹角并朝向远离所述管体2的一侧,所述出水面43与水平面成四十五度夹角。The shoulder and neck water unit 4 has a square structure, and the shoulder and neck water unit 4 further includes a fixing
所述出水面43上设置有连通所述第一水路的第一出水构件44和第二出水构件45,所述第一出水构件44包括复数个设置在所述出水面43上的第一出水孔441,所述第二出水构件45包括复数个设置在所述出水面43上的第二出水孔451,所述第一出水孔441的孔径大于所述第二出水孔451的孔径,所述第一出水孔441沿所述肩颈水单元4的长度方向间隔布置在所述出水面43上,多个所述第二出水孔451毗邻构成出水孔组452,多个所述出水孔组452沿所述肩颈水单元4的长度方向间隔布置在所述出水面43上,在本实施例中,所述出水孔组452的外轮廓与所述第一出水孔441大致相同,且所述出水孔组452包含九个所述第二出水孔451,在相同出水压力的情况下,所述第二出水孔451喷出的水流冲击力更大,可以起到更好的按摩的效果。The
所述肩颈水单元4朝下的一面还设置有通水口46,所述通水口46突出所述肩颈水单元4朝下的一面,所述淋浴柱100还包括连通所述通水口46和所述第二出口的连接水管6,所述第一水路在所述连接水管6内延伸,所述肩颈水单元4内设置有连通所述第一出水构件44和所述第一水路的第一出水通道471,所述肩颈水单元4内还设置有连通所述第二出水构件45和所述第一水路的第二出水通道472,所述第一水路、第一出水通道471和第二出水通道472连通在一阀腔48。所述淋浴柱100在所述阀腔48内还设置有控制组件7,所述控制组件7可用于独立控制所述第一水路连通所述第一出水构件44或第二出水构件45。The downward side of the shoulder and neck water unit 4 is also provided with a
水从所述第二出口出发流经所述连接水管6并接通至所述通水口46,随后从所述出水面43的第一出水构件44或第二出水构件45喷洒而出,所述肩颈水单元4的相对地面的高度配置成从所述出水面43喷出的水流可冲用户的肩部和颈部。在本实施例中,所述连接水管6设置在所述管体2外,所述连接水管6为可挠性的材质制成,比如橡胶、硅胶等。From the second outlet, water flows through the connecting
所述控制组件7包括设置在所述阀腔48内的阀芯71,所述阀芯71连通所述第一水路并可选择性的连通第一出水通道471或第二出水通道472,所述控制组件7还包括设置在所述阀腔48内并传动控制所述阀芯71的控制件72,所述控制件72可以依据所述阀芯71的种类进行选择。The
当所述阀芯71是旋转阀芯时,所述控制件72可以是旋钮;当所述阀芯71的球阀时,所述控制件72可以是操纵杆;当所述阀芯71是按压阀芯时,所述控制件72可以是按钮。在本实施例中,所述阀芯71为按压阀芯,所述控制件72是按钮。When the
更具体的,所述控制件72为自动笔芯结构,所述控制件72包括第一按压件721和第二按压件722,所述第二按压件722与所述肩颈水单元4固接,所述第一按压件721可相对所述第二按压件722移动并带动所述阀芯71的一控制轴711移动,所述阀芯71可选择性的连通所述第一出水通道471或所述第二出水通道472。More specifically, the control member 72 is an automatic refill structure, and the control member 72 includes a first pressing
所述固定组件41夹抵并设置在所述管体2上,所述肩颈水单元4架设在所述固定组件41上,所述固定组件41还可以使所述肩颈水单元4相对所述管体2的轴向移动并固定,所述固定组件41可夹抵所述管体2使所述肩颈水单元4固定在所述管体2上,所述固定组件41可解除夹抵所述管体2,使所述肩颈水单元4可相对所述管体2的轴向移动调整在所述管体2上的高度,所述肩颈水单元4朝下的一面还设置有供所述固定组件41嵌入的嵌入槽50,在安装时可以先将所述固定组件41夹抵所述管体2后,再将所述肩颈水单元4的嵌入槽50对准所述固定组件41安装。The fixing
所述固定组件41包括第一弯臂411和第二弯臂412,所述第一弯臂411和所述第二弯臂412之间界定出供所述管体2穿过的夹抵通道413,所述固定组件41还包括设置在所述夹抵通道413内的第三弯臂414,所述第三弯臂414可朝向所述夹抵通道413移动将所述管体2夹紧。The fixing
所述第一弯臂411和所述第二弯臂412的一端铰接,所述第一弯臂411、第二弯臂412相对铰接处枢转并将所述管体2套设在所述夹抵通道413内,所述第一弯臂411和所述第二弯臂412的另一端抵接并界定出供滑件415,所述固定组件41还包括推抵件416,所述推抵件416包括所述第三弯臂414和滑动穿过所述供滑件415的滑动杆4161,所述推抵件416还包括可相对所述滑动杆4161转动的控制钮4162,所述控制钮4162与所述滑动杆4161连接并可相对所述滑动杆4161旋转。One end of the first
当所述控制钮4162旋进所述供滑件415时,推动所述滑动杆4161相对所述供滑件415滑动,所述第三弯臂414开口朝向所述夹抵通道413移动将所述管体2夹紧,然后所述肩颈水单元4架设在所述固定组件41上。When the
所述手持花洒5用于用户手持并适用喷淋一些难喷淋的部位,所述手持花洒5还包括一花洒连接管51,所述花洒连接管51的一端连接所述第三出口153,所述花洒连接管51的另一端连接所述手持花洒5,所述第三水路延伸在所述花洒连接管51内。所述肩颈水单元4还设置有供所述手持花洒5插接的插接孔49,当用户不需要使用所述手持花洒5时,可放置进所述插接孔49。The hand shower 5 is used by the user to hold and spray some difficult-to-spray parts. The hand shower 5 further includes a
在使用所述淋浴柱100时,因为所述第二通道142始终连通所述恒温阀12,故水流经所述第三出口153后进入所述连接水管6,随后进入所述通水口46中,后进入所述第一出水通道471中。当用户选择按压所述控制件72时,所述阀芯71连通所述第一出水通道471或第二出水通道472,水从所述出水面43喷出。When using the
当用户需要使用所述头部花洒3或者手持花洒5时,可以使用所述切换阀13并选择性地连通所述第二水路或者第三水路,或者同时连通所述第二水路和第三水路。这样可以实现单独头部花洒3出水、单独手持花洒5出水、头部花洒3和手持花洒5都出水的功效。When the user needs to use the
以上所述,仅为本实用新型较佳的具体实施方式,但本实用新型的设计构思并不局限于此,任何熟悉本技术领域的技术人员在本实用新型揭露的技术范围内,利用此构思对本实用新型进行非实质性的改动,均属于侵犯本实用新型保护范围的行为。The above description is only a preferred embodiment of the present invention, but the design concept of the present invention is not limited to this. Any insubstantial modification of the present invention is an act infringing the protection scope of the present invention.
| Application Number | Priority Date | Filing Date | Title |
|---|---|---|---|
| CN201922097687.6UCN211796085U (en) | 2019-11-28 | 2019-11-28 | Shower column with shoulder and neck water unit |
| Application Number | Priority Date | Filing Date | Title |
|---|---|---|---|
| CN201922097687.6UCN211796085U (en) | 2019-11-28 | 2019-11-28 | Shower column with shoulder and neck water unit |
| Publication Number | Publication Date |
|---|---|
| CN211796085Utrue CN211796085U (en) | 2020-10-30 |
| Application Number | Title | Priority Date | Filing Date |
|---|---|---|---|
| CN201922097687.6UActiveCN211796085U (en) | 2019-11-28 | 2019-11-28 | Shower column with shoulder and neck water unit |
| Country | Link |
|---|---|
| CN (1) | CN211796085U (en) |
| Publication number | Priority date | Publication date | Assignee | Title |
|---|---|---|---|---|
| CN110477787A (en)* | 2019-08-22 | 2019-11-22 | 路达(厦门)工业有限公司 | A kind of shower bath with shoulder neck water unit |
| CN110584516A (en)* | 2019-08-22 | 2019-12-20 | 路达(厦门)工业有限公司 | Shower device |
| CN110840306A (en)* | 2019-11-28 | 2020-02-28 | 路达(厦门)工业有限公司 | Shower column with shoulder and neck water unit |
| CN116998933A (en)* | 2022-04-29 | 2023-11-07 | 厦门松霖科技股份有限公司 | bathtub |
| Publication number | Priority date | Publication date | Assignee | Title |
|---|---|---|---|---|
| CN110477787A (en)* | 2019-08-22 | 2019-11-22 | 路达(厦门)工业有限公司 | A kind of shower bath with shoulder neck water unit |
| CN110584516A (en)* | 2019-08-22 | 2019-12-20 | 路达(厦门)工业有限公司 | Shower device |
| CN110584516B (en)* | 2019-08-22 | 2025-05-16 | 路达(厦门)工业有限公司 | A shower device |
| CN110477787B (en)* | 2019-08-22 | 2025-05-23 | 路达(厦门)工业有限公司 | Shower device with shoulder and neck water unit |
| CN110840306A (en)* | 2019-11-28 | 2020-02-28 | 路达(厦门)工业有限公司 | Shower column with shoulder and neck water unit |
| CN116998933A (en)* | 2022-04-29 | 2023-11-07 | 厦门松霖科技股份有限公司 | bathtub |
| Publication | Publication Date | Title |
|---|---|---|
| CN211796085U (en) | Shower column with shoulder and neck water unit | |
| CN110840306A (en) | Shower column with shoulder and neck water unit | |
| CN101133218B (en) | shower | |
| US7987533B2 (en) | Shower water toy construction system | |
| CN101970121B (en) | hand shower assembly | |
| CN105708373B (en) | A kind of Multifunctional shower bath equipment and shower method | |
| CN211270384U (en) | Shower unit with shoulder and neck water unit | |
| CN110477787B (en) | Shower device with shoulder and neck water unit | |
| WO1996022722A1 (en) | Bidet | |
| KR200475805Y1 (en) | Shower faucet furnished shelf | |
| CN211037158U (en) | Shower column with shoulder and neck water unit | |
| CN104619223A (en) | shower | |
| CN211381020U (en) | shower column | |
| WO2014142479A1 (en) | Showerhead | |
| CN110464239B (en) | Shower column | |
| CN111851660B (en) | A rotatable combined shower device | |
| CN211381019U (en) | A water outlet module that can be mounted on the column body of a shower column and a shower column using the water outlet module | |
| CN110464238B (en) | A water outlet module that can be mounted on a shower column and a shower column using the water outlet module | |
| CN108787275B (en) | Shower device with adjustable arm | |
| CN107468126A (en) | A kind of shower faucet with heating chamber | |
| KR20080004251U (en) | Water heater connection structure | |
| CN205411031U (en) | Multi -functional shower device | |
| WO2010012134A1 (en) | New type drill-free shower system | |
| CN107552257A (en) | Multifunctional shower faucet | |
| CN201235319Y (en) | Dual-insertion shower nozzle |
| Date | Code | Title | Description |
|---|---|---|---|
| GR01 | Patent grant | ||
| GR01 | Patent grant |