

技术领域technical field
本实用新型涉及医疗设备领域,特别涉及一种腹腔穿刺引流装置。The utility model relates to the field of medical equipment, in particular to an abdominal cavity puncture and drainage device.
背景技术Background technique
目前,临床上心脏、肝脏、肾脏等发生病变时均能产生腹水,当腹腔内液体增加超过200ml 即可作为一种病征,临床在查找病因对症治疗的同时,还需要对腹水进行引流。医生通常对腹腔积液的病人实行腹腔穿刺引流,为病人将腹水引流出来以减轻病人的痛苦。常规B超引导下腹腔穿刺引流术,定位不准确,无法对位置较深的病灶以及穿刺间隙较窄或较小的病灶进行穿刺,并且手术成功率低,导致术后并发症多,操作中比较困难;穿刺完成后,引流速度不易掌握和控制,容易给病人造成不适;引流完成后,如果需要注射药物,还得进行二次穿刺,这样不仅给医务人员带来极大的工作难度,而且增大了病人的治疗风险和痛苦,容易造成医疗纠纷。At present, clinically, ascites can be produced when the heart, liver, kidney, etc. have pathological changes. When the intra-abdominal fluid increases by more than 200ml, it can be regarded as a symptom. In clinical practice, while finding the cause and symptomatic treatment, it is also necessary to drain the ascites. Doctors usually perform paracentesis and drainage on patients with ascites to relieve the pain of the patients by draining the ascites. Conventional B-ultrasound-guided abdominal puncture and drainage is inaccurate in positioning, unable to puncture deep lesions and lesions with narrow or small puncture gaps, and the success rate of the operation is low, resulting in many postoperative complications. Difficulty; after the puncture is completed, the drainage speed is not easy to grasp and control, and it is easy to cause discomfort to the patient; after the drainage is completed, if a drug needs to be injected, a second puncture has to be performed, which not only brings great difficulty to the medical staff, but also increases the difficulty of the operation. It increases the risk and pain of the patient's treatment, and it is easy to cause medical disputes.
实用新型内容Utility model content
针对现有技术中的上述不足,本实用新型提供了一种腹腔穿刺引流装置,其操作简便,穿刺成功率高,术后并发症少。In view of the above deficiencies in the prior art, the present invention provides an abdominal cavity puncture and drainage device, which is easy to operate, has a high puncture success rate, and has few postoperative complications.
一种腹腔穿刺引流装置,包括引流主管及设于引流主管内部的穿刺针,所述引流主管为中空结构,所述引流主管上依次设有注射支管、流量计、调速开关、引流支管,所述注射支管通过单向阀连接有注射器,所述引流支管通过单向阀连接有引流袋,所述引流袋通过气管连接有负压球,所述负压球上设有排气阀;An abdominal cavity puncture and drainage device, comprising a drainage main pipe and a puncture needle arranged inside the drainage main pipe, wherein the drainage main pipe is a hollow structure, and an injection branch pipe, a flow meter, a speed control switch and a drainage branch pipe are arranged on the drainage main pipe in sequence. The injection branch pipe is connected with a syringe through a one-way valve, the drainage branch pipe is connected with a drainage bag through the one-way valve, the drainage bag is connected with a negative pressure ball through the trachea, and an exhaust valve is arranged on the negative pressure ball;
所述穿刺针的尾部设有肝素帽,所述肝素帽通过棉线连接有定位板,所述定位板上设有按压板,所述按压板通过伸缩杆连接有定位圈。The tail of the puncture needle is provided with a heparin cap, the heparin cap is connected with a positioning plate through a cotton thread, a pressing plate is arranged on the positioning plate, and a positioning ring is connected with the pressing plate through a telescopic rod.
作为优选的,所述引流主管的侧壁上设有刻度线。Preferably, a scale line is provided on the side wall of the drainage main pipe.
作为优选的,所述注射支管上的单向阀的流向为自所述注射支管至所述引流主管,所述引流支管上的单向阀的流向为自所述引流主管至所述引流支管。Preferably, the flow direction of the one-way valve on the injection branch pipe is from the injection branch pipe to the drainage main pipe, and the flow direction of the one-way valve on the drainage branch pipe is from the drainage main pipe to the drainage branch pipe.
作为优选的,所述穿刺针富有弹性且不易折断。Preferably, the puncture needle is elastic and not easily broken.
作为优选的,所述引流主管的内径稍大于所述穿刺针的直径,所述穿刺针的直径为 18G-23G。Preferably, the inner diameter of the drainage main pipe is slightly larger than the diameter of the puncture needle, and the diameter of the puncture needle is 18G-23G.
作为优选的,所述穿刺针在超声波下显影清晰。Preferably, the puncture needle is clearly visualized under ultrasonic waves.
本实用新型的有益效果为:The beneficial effects of the present utility model are:
本实用新型利用穿刺针直径较细在超声波下显影清晰的特点,对组织损伤小、准确率高,可以穿刺路径过程中间隙较窄及位置较深的病灶,通过穿刺针的引导作用,可准确置入引流管;通过引流管上的引流支管和调速开关可以控制流速,引流完成后可以通过注射支管进行药物注射,防止二次穿刺,减轻了病人痛苦。The utility model utilizes the characteristics of the puncture needle that the diameter of the puncture needle is relatively small and can be clearly visualized under ultrasonic waves, so that the damage to the tissue is small and the accuracy rate is high. The drainage tube is placed; the flow rate can be controlled by the drainage branch tube and the speed control switch on the drainage tube. After the drainage is completed, the drug can be injected through the injection branch tube to prevent the second puncture and relieve the pain of the patient.
附图说明Description of drawings
为了更清楚地说明本实用新型实施例的技术方案,下面将对实施例中所需要使用的附图作简单地介绍,应当理解,以下附图仅示出了本实用新型的某些实施例,因为不应该被看作是对范围的限定,对于本领域普通技术人员来讲,在不付出创造性劳动的前提下,还可以根据这些附图获得其他相关的附图。In order to illustrate the technical solutions of the embodiments of the present invention more clearly, the accompanying drawings that need to be used in the embodiments will be briefly introduced below. It should be understood that the following drawings only show some embodiments of the present invention. Since it should not be regarded as a limitation of the scope, for those of ordinary skill in the art, other related drawings can also be obtained according to these drawings without any creative effort.
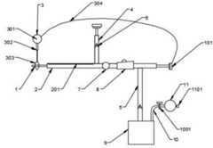
图1为腹腔穿刺引流针的结构示意图;Figure 1 is a schematic structural diagram of a peritoneal puncture and drainage needle;
图2为腹腔穿刺引流针与导丝搭配使用示意图;Figure 2 is a schematic diagram of the collocation of a peritoneal puncture and drainage needle with a guide wire;
1-穿刺针、101-肝素帽、2-引流主管、201-刻度线、3-定位板、301-按压板、302-伸缩杆、303-定位圈、304-棉线、4-注射支管、5-引流支管、6-单向阀、7流量计、8-调速开关、9-引流袋、10-气管、1001-阀门、11-负压球、1101-排气阀。1- puncture needle, 101- heparin cap, 2- drainage main pipe, 201- scale line, 3- positioning plate, 301- pressing plate, 302- telescopic rod, 303- positioning ring, 304- cotton thread, 4- injection branch tube, 5 -Drainage branch, 6-check valve, 7-flow meter, 8-speed switch, 9-drainage bag, 10-trachea, 1001-valve, 11-negative pressure ball, 1101-exhaust valve.
具体实施方式Detailed ways
为了使本实用新型的目的、技术方案和优点更容易被清楚地理解,下面将结合本实用新型实施例中的附图,对本实用新型实施例中的技术方案进行清楚、完整地描述,显然,所描述的实施例是本实用新型一部分实施例,而不是全部的实施例。通常在此处附图中描述和示出的本实用新型实施例的组件可以以各种不同的配置来布置和设计。In order to make the purpose, technical solutions and advantages of the present utility model easier to be understood clearly, the technical solutions in the embodiments of the present utility model will be described clearly and completely below in conjunction with the accompanying drawings in the embodiments of the present utility model. Obviously, The described embodiments are some, but not all, embodiments of the present invention. The components of the embodiments of the invention generally described and illustrated in the drawings herein may be arranged and designed in a variety of different configurations.
如图1-图2所示,一种腹腔穿刺引流装置,包括引流主管2及设于引流主管2内部的穿刺针1,引流主管2为中空结构,引流主管2的内径稍大于穿刺针1的直径,穿刺针1的直径为18G-23G,直径较细则对组织的损伤较小,穿刺针1在超声下显影清晰,医护人员能够在超声波直视下穿刺病灶;As shown in Figures 1-2, an abdominal cavity puncture and drainage device includes a drainage
引流主管2上依次设有注射支管4、流量计7、调速开关8、引流支管5,引流支管5通过单向阀6连接有引流袋9,引流支管5上的单向阀6的流向为自引流主管2至引流支管5,这样可以防止倒流发生二次感染,引流袋9通过气管10连接有负压球11,负压球11上设有排气阀1101,负压球11可以加速腹水流出;流量计7用来观察腹水的流速,以控制调速开关8,防止流速太快病人产生不适,或者流速太小,时间耗费太多;The drainage
注射支管4通过单向阀6连接有注射器,注射支管4上的单向阀6的流向为自注射支管 4至引流主管2,这样可以方便药物注射;The injection branch pipe 4 is connected with a syringe through the one-
穿刺针1的尾部设有肝素帽101,肝素帽101通过棉线304连接有定位板3,定位板3上设有按压板301,按压板301通过伸缩杆302连接有定位圈303,这样可以在穿刺的时候按住定位板3上的按压板301,通过定位圈303固定皮肤,防止因皮肤松弛产生穿刺偏差。The tail of the puncture needle 1 is provided with a
穿刺针1利用定位板3完成穿刺后,拔出穿刺针1并在引流主管2的尾部盖上肝素帽101,防止细菌进入和腹水外流。After the puncture needle 1 is punctured with the positioning plate 3, the puncture needle 1 is pulled out and a
工作原理:working principle:
本实用新型利用腹腔穿刺引流针直径较细及对组织损伤小的特点,可以穿刺路径过程中间隙较窄及位置较深的病灶,避免了由于引流管较粗无法使用超声波定位架盲穿及容易损伤病灶周围脏器的缺点;同时本实用新型集穿刺、引流、用药注射于一体,减少了医护人员工作量和病人的痛苦。本实用新型具有操作简单、穿刺成功率高,术后并发症少等特点。The utility model utilizes the characteristics of the abdominal cavity puncture and drainage needle with a relatively small diameter and little damage to the tissue, and can puncture the lesions with narrow gaps and deep positions in the process of puncturing the path, avoiding the inability to use an ultrasonic positioning frame for blind piercing due to the thick drainage tube, and is easy to puncture. The disadvantage of damaging the organs around the lesion; at the same time, the utility model integrates puncture, drainage and drug injection, which reduces the workload of medical staff and the pain of patients. The utility model has the characteristics of simple operation, high puncture success rate and less postoperative complications.
以上所述仅为本实用新型专利的较佳实施例而已,并不用以限制本实用新型专利,凡在本实用新型专利的精神和原则之内所作的任何修改、等同替换和改进等,均应包含在本实用新型专利的保护范围之内。The above are only the preferred embodiments of the present invention patent, and are not intended to limit the present invention patent. Any modifications, equivalent replacements and improvements made within the spirit and principles of the present invention patent shall be Included within the scope of protection of this utility model patent.
| Application Number | Priority Date | Filing Date | Title |
|---|---|---|---|
| CN201921332407.9UCN211535834U (en) | 2019-08-16 | 2019-08-16 | Abdominocentesis drainage device |
| Application Number | Priority Date | Filing Date | Title |
|---|---|---|---|
| CN201921332407.9UCN211535834U (en) | 2019-08-16 | 2019-08-16 | Abdominocentesis drainage device |
| Publication Number | Publication Date |
|---|---|
| CN211535834Utrue CN211535834U (en) | 2020-09-22 |
| Application Number | Title | Priority Date | Filing Date |
|---|---|---|---|
| CN201921332407.9UExpired - Fee RelatedCN211535834U (en) | 2019-08-16 | 2019-08-16 | Abdominocentesis drainage device |
| Country | Link |
|---|---|
| CN (1) | CN211535834U (en) |
| Publication number | Priority date | Publication date | Assignee | Title |
|---|---|---|---|---|
| CN110755698A (en)* | 2019-08-16 | 2020-02-07 | 柳州市人民医院 | Abdominocentesis drainage device |
| Publication number | Priority date | Publication date | Assignee | Title |
|---|---|---|---|---|
| CN110755698A (en)* | 2019-08-16 | 2020-02-07 | 柳州市人民医院 | Abdominocentesis drainage device |
| Publication | Publication Date | Title |
|---|---|---|
| CN203710428U (en) | Disposable fast e multi-purpose body cavity effusion drainage device | |
| CN209221292U (en) | A kind of splanchnocoel catheter drainage device | |
| CN211535834U (en) | Abdominocentesis drainage device | |
| CN209286272U (en) | Convenient for the percutaneous puncture negative pressure drainage flusher of the abscess of neck of vacuum cavitations | |
| CN208958893U (en) | Disposable flushable drainage bag | |
| CN206355113U (en) | A kind of thoracocentesis abdominocentesis drain device | |
| CN203943935U (en) | The anti-blocking o urethral catheterization device of pressure measurement noinvasive | |
| CN110755698A (en) | Abdominocentesis drainage device | |
| CN204684285U (en) | A kind of puncturing drainage apparatus being suitable for kidney contusion | |
| CN209033292U (en) | A thoracoabdominal drainage tube | |
| CN103055405A (en) | Deep multifunctional combined drainage device | |
| CN208958882U (en) | A kind of novel wall of the chest hypohydrops flow diverter | |
| CN207186907U (en) | Drainage tube | |
| CN207384537U (en) | A kind of drainage tube with guiding puncture | |
| CN215023285U (en) | New type of closed negative pressure drainage device | |
| CN205697949U (en) | Pleura cavity puncture needle thimble assembly and pleura cavity puncture needle | |
| CN210844499U (en) | An extracorporeal implantable thoracoabdominal double cavity irrigation and drainage pipeline device | |
| CN2129589Y (en) | Multifunction puncture outfit | |
| CN209475232U (en) | Percutaneous negative pressure drainage and irrigation device for complex neck abscess | |
| CN209827912U (en) | Drainage catheter | |
| CN206045160U (en) | A kind of double bolloon hemostasis by compression kidney fistulation pipe device | |
| CN202376603U (en) | Double-cavity air bag drainage tube | |
| CN204951738U (en) | Drainage device based on wicresoft with prevent blockking up thorax hydrops | |
| CN220276019U (en) | Shallow superficial abscess puncture drainage device | |
| CN219049732U (en) | Disposable negative pressure drainage device for scalp effusion |
| Date | Code | Title | Description |
|---|---|---|---|
| GR01 | Patent grant | ||
| GR01 | Patent grant | ||
| CF01 | Termination of patent right due to non-payment of annual fee | Granted publication date:20200922 | |
| CF01 | Termination of patent right due to non-payment of annual fee |