Movatterモバイル変換


[0]ホーム

URL:


CN211311466U - Sample treatment culture apparatus for aquatic product detection - Google Patents

Sample treatment culture apparatus for aquatic product detection
Download PDF

Info

Publication number
CN211311466U
CN211311466UCN201922274308.6UCN201922274308UCN211311466UCN 211311466 UCN211311466 UCN 211311466UCN 201922274308 UCN201922274308 UCN 201922274308UCN 211311466 UCN211311466 UCN 211311466U
Authority
CN
China
Prior art keywords
sample
diluter
cylinder
host
rotating frame
Prior art date
Legal status (The legal status is an assumption and is not a legal conclusion. Google has not performed a legal analysis and makes no representation as to the accuracy of the status listed.)
Expired - Fee Related
Application number
CN201922274308.6U
Other languages
Chinese (zh)
Inventor
徐连伟
才勇
王春丽
陈福海
王一凡
司静文
张倩
于洋
李莹
张威
梁海婷
李疆
Current Assignee (The listed assignees may be inaccurate. Google has not performed a legal analysis and makes no representation or warranty as to the accuracy of the list.)
Individual
Original Assignee
Individual
Priority date (The priority date is an assumption and is not a legal conclusion. Google has not performed a legal analysis and makes no representation as to the accuracy of the date listed.)
Filing date
Publication date
Application filed by IndividualfiledCriticalIndividual
Priority to CN201922274308.6UpriorityCriticalpatent/CN211311466U/en
Application grantedgrantedCritical
Publication of CN211311466UpublicationCriticalpatent/CN211311466U/en
Expired - Fee Relatedlegal-statusCriticalCurrent
Anticipated expirationlegal-statusCritical

Links

Images

Landscapes

Abstract

A sample processing and culturing device for aquatic product detection relates to a sample processing device, which comprises a main incubator, a diluter host and a rotating frame; a diluter host is arranged on the front side of the main incubator, a rotating frame is arranged on a base plate adjacent to the diluter host, and a sample sterile bag for dilution is placed on the rotating frame; the sample treatment and culture device for aquatic product detection further comprises a fungus bag containing device and an existing vortex oscillator; the vortex oscillator is arranged close to the rotating frame and is installed on the base plate, and the fungus bag containing device comprises a cylinder and a cover; the one end of cylinder is inwards processed to have the cavity, and the inside processing of another terminal surface of cylinder has the socket joint with vortex oscillator looks adaptation, and the fungus bag holds the device and installs on the vortex oscillator through the socket joint, is equipped with a plurality of boxes that can hold aseptic bag of sample in the cavity, and the upper end edge of cylinder passes through the hinge and is connected with the lid. The utility model discloses the structure is simple and convenient, and the simple operation collects sample preliminary treatment and bacterial colony and cultivates in an organic whole.

Description

Sample treatment culture apparatus for aquatic product detection
Technical Field
The utility model relates to a sample processing apparatus, concretely relates to sample processing culture apparatus that aquatic products detected usefulness.
Background
The microorganisms contained in the aquatic products generally comprise the original bacteria of the aquatic products, the bacteria are widely distributed in water, such as cold-source bacteria of botulinus, vibrio cholerae and the like, the artificially polluted bacteria are mainly distributed in the intestinal tracts of people or animals and in the water environment polluted by excrement of the people or animals, the common bacteria comprise salmonella, escherichia coli and the like, besides, the bacteria also comprise viruses, the double-shell mollusks are mainly used as inhabitation objects, food-borne diseases caused by the viruses are one of main factors influencing food safety, the detection of the aquatic product microorganisms mainly aims at common pollution, such as the total number of escherichia coli colonies and pathogenic bacteria, the traditional microorganism detection is mainly judged by separation culture, biochemical test and serological test, the aquatic product solid samples are subjected to a series of treatment before detection to be prepared into samples, and then are subjected to colony culture in an incubator, the dilution and homogenization of the sample pretreatment are key operations, the existing microorganism inspection incubator has single function, cannot perform centralized treatment and has low working efficiency.
SUMMERY OF THE UTILITY MODEL
The utility model provides a sample processing and culturing device for aquatic product detection, which is simple and convenient to operate, saves time and is operated by sample pretreatment and bacterial colony culture, and overcomes the defects of the prior art.
The technical scheme of the utility model is that:
a sample processing and culturing device for aquatic product detection comprises a main culture box, a diluter main machine and a rotating frame; the front part of the main incubator is provided with a chamber door which is arranged in a sliding way, and the chamber door is provided with an observation window; the lower surface of the main incubator is fixedly connected with a base plate, the front side of the main incubator is provided with a diluter host, the upper surface of the diluter host is provided with a liquid inlet pipe and a liquid outlet pipe, the middle part of the upper surface of the diluter host is provided with a control display screen, the front part of the upper surface of the diluter host is provided with a control button, the base plate close to the diluter host is provided with a rotating frame, and a sample aseptic bag for dilution is placed on the rotating frame; the sample treatment and culture device for aquatic product detection further comprises a fungus bag containing device and a vortex oscillator; the vortex oscillator is arranged close to the rotating frame and is installed on the base plate, and the fungus bag containing device comprises a cylinder and a cover; the one end of cylinder is inwards processed to have the cavity, and the inside processing of another terminal surface of cylinder has the socket joint with vortex oscillator looks adaptation, and the fungus bag holds the device and installs on the vortex oscillator through the socket joint, is equipped with a plurality of boxes that can hold aseptic bag of sample in the cavity, and the upper end edge of cylinder passes through the hinge and is connected with the lid.
The utility model discloses compare prior art's beneficial effect is:
the utility model utilizes the bacteria bag containing device, the aseptic bag mixed with the sample and the diluent is arranged in the box in the bacteria bag containing device, the bacteria bag containing device is inserted on the fitting part of the prior vortex oscillator through the socket joint at the bottom, the vortex oscillation mixing can be started by holding the device, the sample in the device can be fully mixed to achieve the purpose of homogenization, after the vortex oscillation mixing is finished, the device is taken down and put on the experiment table, the lock catch is loosened, the cover is opened, the aseptic bag after the homogenization can be taken out, the structure replaces the traditional operation mode of homogenizing by utilizing the stirrer, the sample is homogenized through the stirrer, the sample can inevitably contact with the stirrer, even if the bacteria bag is repeatedly sterilized, the aseptic stirring can not be realized, the operation is complex and the aseptic requirement can not be reached, the operation of homogenizing the sample is simple and convenient through the bacteria bag containing device and the vortex oscillator, but also can meet the requirement of sterility. Also overcome the gear and stirred the vibrations of the single direction that the vibrations pole brought, the poor drawback of homogeneity effect, through controlling the dilution multiple that the button adjusted needs, through the diluter host computer of work, the diluent flows along the drain pipe automatically, flows into the aseptic bag that is equipped with the sample in advance, and operating time is saved to this kind of operating method, has avoided instability and secondary pollution that manual operation brought, the utility model discloses sample processing culture apparatus is multiple functional, can accomplish to prepare two key operations consuming time and energy of sample in-process dilution and homogeneity, collection sample preliminary treatment, bacterial colony culture operation integration work, improved working method, be favorable to improving aquatic products detection operating efficiency.
The invention will be further described with reference to the accompanying drawings and embodiments:
drawings
FIG. 1 is an overall view of a sample treatment/culture apparatus for aquatic product examination according to the present invention;
FIG. 2 is a structural view of the fungus bag holding device;
FIG. 3 is a schematic structural view of a box placed in a chamber of a fungus bag containing device;
fig. 4 is a schematic structural diagram of a box placed in a groove in a fungus bag containing device.
Detailed Description
Referring to fig. 1 and 2, a sample processing and culturing device for detecting aquatic products according to the present embodiment includes a main incubator 1, a dilutermain unit 2, and a rotatingrack 3; the front part of the main incubator 1 is provided with a chamber door 1-1, the chamber door 1-1 is arranged in a sliding way, and the chamber door 1-1 is provided with an observation window 1-2; the lower surface of the main incubator 1 is fixedly connected with a backing plate 4, the front side of the main incubator 1 is provided with adiluter host 2, the upper surface of thediluter host 2 is provided with a liquid inlet pipe 2-1 and a liquid outlet pipe 2-2, the middle part of the upper surface of thediluter host 2 is provided with an operation display screen 2-3, the front part of the upper surface of thediluter host 2 is provided with an operation button 2-4, the backing plate 4 adjacent to thediluter host 2 is provided with a rotatingframe 3, and a sample sterile bag for dilution is placed on the rotatingframe 3;
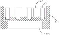
the sample treatment and culture device for aquatic product detection further comprises a fungusbag containing device 5 and avortex oscillator 6; thevortex oscillator 6 is arranged adjacent to the rotatingframe 3 and is installed on the base plate 4, and the fungusbag containing device 5 comprises a cylinder 5-1 and a cover 5-2; a cavity 5-3 is formed in one end face of the cylinder 5-1 in an inward mode, a sleeve joint 5-4 matched with thevortex oscillator 6 is formed in the other end face of the cylinder 5-1 in an inward mode, the fungusbag containing device 5 is installed on thevortex oscillator 6 through the sleeve joint 5-4, a plurality ofboxes 7 capable of containing aseptic bags of samples are arranged in the cavity 5-3, and the edge of the upper end of the cylinder 5-1 is connected with the cover 5-2 through ahinge 8. Thebox 7 in the above embodiment plays a role in protecting the aseptic bag, and prevents direct contact with the column 1 or mutual collision in the vibration process, so as to avoid damage and influence on the integrity of the bag.
The dilution technique of the diluent in the above embodiment is related art CN 206940891U.
The main incubator 1 is used for cultivating pretreated aquatic product sample flora, the front part of the main incubator 1 is provided with a chamber door 1-1 which is arranged in a side-sliding manner, a culture dish is taken and placed into the main incubator 1 through opening and closing the chamber door 1-1, the chamber door 1-1 is provided with an observation window 1-2, the condition in the main incubator 1 can be observed at any time through the observation window 1-2, the lower surface of the main incubator 1 is fixedly connected with a backing plate 4, the backing plate 4 enables the main incubator 1, arotating frame 3, a fungusbag containing device 5 and an existingvortex oscillator 6 to be in the same plane, so that the operation of a tester is convenient, the tester can be assisted to improve the working efficiency, the front side of the main incubator 1 is provided with adiluter host 5, the upper surface of thediluter host 5 is provided with a liquid inlet pipe 2-1, and a diluent enters thediluter host 5 through the liquid inlet, the upper surface of the dilutermain machine 5 is also provided with a liquid outlet pipe 2-2, the middle part of the upper surface of the dilutermain machine 2 is provided with an operation display screen 2-3, the front part of the upper surface of the dilutermain machine 2 is also provided with an operation key 2-4, the required dilution times are adjusted by operating the control buttons 2-4, the dilution liquid automatically flows out through the liquid outlet pipe 2-3 and flows into a sterile bag filled with samples after working through thediluter host machine 2, simple and convenient operation, saves the operation time, greatly improves the sterility degree compared with the manual dilution operation, by rotating the rotary disc 3-3 of the rotatingframe 3, the test personnel can conveniently contain the diluent in the sterile bag which is arranged on the rotating frame and is filled with the sample, the operation is convenient, through the homogenization system that fungus bag helddevice 5 andcurrent vortex oscillator 6 constitutes, the sample intensive mixing in order to reach the purpose of homogeneity in the aseptic bag. The dilutermain machine 2 can also adopt a D-50 precision dilution liquid distributor in the existing market, and the VORTEX oscillator can adopt a VORTEX series VORTEX mixer in the market.
Preferably, as shown in FIG. 1, the column 5-1 is a cylinder. Easily obtained materials and convenient processing and operation. Generally, referring to fig. 1, the rotatingframe 3 comprises a base 3-1, a support rod 3-2 and a rotating disc 3-3, the base 3-1 is installed on a base plate 4, the support rod 3-2 is fixedly connected to the upper surface of the base 3-1, the upper end of the support rod 3-2 is connected with the rotating disc 3-3 through a bearing, and a rectangular blind accommodating hole 3-4 is formed in the upper surface of the rotating disc 3-3. The rectangular containing blind holes 3-4 are convenient for taking and placing aseptic bags, the aseptic bags containing samples are placed in the containing blind holes 3-4, a tester rotates the rotary table 3-3 to turn the aseptic bag without diluent to the front of the tester, the rotary table 3-3 is continuously rotated after the diluent is injected, and the diluent is injected into the next aseptic bag, so that the continuous circulation is realized, the operation is convenient, the time and the labor are saved, and the injection efficiency of the diluent is also improved.
Further, as shown in FIG. 3, thecartridge 7 is adhered to the bottom or side of the chamber 5-3. Thebox 7 can be a hard plastic open box, the materials are convenient to obtain, the box is cheap and easy to obtain, and 6 or 7 boxes or the number of theboxes 7 is matched with the volume of the column 5-1. Alternatively, as shown in fig. 4, the bottom surface of the chamber 5-3 is formed with a groove in which thecartridge 7 is placed. The recess of processing certain degree of depth, convenient fixedbox 7,box 7 at this moment can take the square open box of rigid plastic preparation, has changed the fixed mode ofbox 7, also conveniently gets to put and change, andbox 7 at this moment can save to bond fixedly. Thebox 7 in the above embodiment plays a role in protecting the aseptic bag, and prevents direct contact with the column 1 or mutual collision in the vibration process, so as to avoid damage and influence on the integrity of the bag.
As shown in fig. 2, in order to ensure that the lid 5-2 firmly covers the column 5-1, a latch 5-5 is arranged at the side wall of the lid 5-2 opposite to the hinge, a hemispherical protrusion 5-6 is arranged at the outer side wall of the column 5-1, and the latch 5-5 is fastened with the protrusion 5-6 when the lid 5-2 is in a closed state. So set up, be convenient for when aseptic bag vibrations, can not lead to the lid to open because of vibrations, influence homogeneity work.
An operator firstly adjusts the required dilution multiple through the control key 2-4, the dilutermain machine 2 works, the control display screen 2-3 can display relevant parameters, the diluent automatically flows out from the liquid outlet pipe 2-2 and flows into a sterile bag filled with samples, the aseptic bag without the diluent is transferred to an operator by rotating the rotary disc 3-3, the rotary disc 3-3 is continuously rotated after the diluent is injected, the diluent is injected into the next aseptic bag, so circulation operation, the back in diluent and the aseptic bag of sample addition, holdsdevice 5 with the fungus bag and installs onvortex oscillator 6, places aseptic bag in fungus bag holdsbox 7 in thedevice 5, startsvortex oscillator 6 work, holds the aseptic bag vibrations inbox 7 the inside, and its inside sample can obtain abundant mixing with the diluent, reaches the purpose of homogeneity.
The present invention has been disclosed in the above embodiments, but not limited to the embodiments of the present invention, and any person skilled in the art can easily modify, change and modify the above embodiments according to the technical spirit of the present invention without departing from the scope of the present invention.

Claims (6)

1. A sample processing and culturing device for aquatic product detection comprises a main culture box (1), a diluter main machine (2) and a rotating frame (3); the front part of the main incubator (1) is provided with a chamber door (1-1), the chamber door (1-1) is arranged in a sliding way, and the chamber door (1-1) is provided with an observation window (1-2); the lower surface of the main incubator (1) is fixedly connected with a base plate (4), the front side of the main incubator (1) is provided with a diluter host (2), the upper surface of the diluter host (2) is provided with a liquid inlet pipe (2-1) and a liquid outlet pipe (2-2), the middle part of the upper surface of the diluter host (2) is provided with an operation display screen (2-3), the front part of the upper surface of the diluter host (2) is provided with an operation key (2-4), the base plate (4) adjacent to the diluter host (2) is provided with a rotating frame (3), and a sample sterile bag for dilution is placed on the rotating frame (3);
the method is characterized in that: the sample processing and culturing device for detecting the aquatic products also comprises a fungus bag containing device (5) and a vortex oscillator (6); the vortex oscillator (6) is arranged close to the rotating frame (3) and is installed on the base plate (4), and the fungus bag containing device (5) comprises a cylinder (5-1) and a cover (5-2); one end face of the cylinder (5-1) is inwards processed with a cavity (5-3), the other end face of the cylinder (5-1) is inwards processed with a socket (5-4) matched with the vortex oscillator (6), the fungus bag containing device (5) is installed on the vortex oscillator (6) through the socket (5-4), a plurality of boxes (7) capable of containing sample aseptic bags are arranged in the cavity (5-3), and the upper end edge of the cylinder (5-1) is connected with the cover (5-2) through a hinge (8).
CN201922274308.6U2019-12-172019-12-17Sample treatment culture apparatus for aquatic product detectionExpired - Fee RelatedCN211311466U (en)

Priority Applications (1)

Application NumberPriority DateFiling DateTitle
CN201922274308.6UCN211311466U (en)2019-12-172019-12-17Sample treatment culture apparatus for aquatic product detection

Applications Claiming Priority (1)

Application NumberPriority DateFiling DateTitle
CN201922274308.6UCN211311466U (en)2019-12-172019-12-17Sample treatment culture apparatus for aquatic product detection

Publications (1)

Publication NumberPublication Date
CN211311466Utrue CN211311466U (en)2020-08-21

Family

ID=72065923

Family Applications (1)

Application NumberTitlePriority DateFiling Date
CN201922274308.6UExpired - Fee RelatedCN211311466U (en)2019-12-172019-12-17Sample treatment culture apparatus for aquatic product detection

Country Status (1)

CountryLink
CN (1)CN211311466U (en)

Cited By (2)

* Cited by examiner, † Cited by third party
Publication numberPriority datePublication dateAssigneeTitle
CN112111389A (en)*2020-09-102020-12-22山东邦众医疗器械检验检测中心有限公司Incubator for microbial detection
CN118853358A (en)*2024-09-242024-10-29湖南巨强再生资源科技发展有限公司 A carrier and bacterial liquid mixing device for producing composite bacterial agent

Cited By (2)

* Cited by examiner, † Cited by third party
Publication numberPriority datePublication dateAssigneeTitle
CN112111389A (en)*2020-09-102020-12-22山东邦众医疗器械检验检测中心有限公司Incubator for microbial detection
CN118853358A (en)*2024-09-242024-10-29湖南巨强再生资源科技发展有限公司 A carrier and bacterial liquid mixing device for producing composite bacterial agent

Similar Documents

PublicationPublication DateTitle
CN211311466U (en)Sample treatment culture apparatus for aquatic product detection
CN205295354U (en)Immunity bacteria cultivation of clinical laboratory device
JP2008237203A (en) Automatic cell culture equipment
CN212110876U (en)Microorganism sample detection device
CN206638659U (en)A kind of food safety monitoring device
CN219217995U (en)Culture dish
CN118464495A (en)Sampling system and method for food detection
CN211847733U (en)High-temperature solid fermentation equipment of straw fertilizer
CN210709016U (en)Earthworm refuse disposal equipment with content detection function
CN213427430U (en)Fermentation cylinder is used in fungus class cultivation
CN113667592A (en)Online rapid detection system and method for field fecal coliform
CN210775179U (en)Quick detection device of pesticide residue
CN206940891U (en)A kind of incubator for aquatic products Micro biological Tests
CN214457918U (en) A microbial culture device for microbial testing
CN214571888U (en)Biological extraction and collection device
CN223244110U (en)Solid waste lixivium preparation equipment
CN211255944U (en) A detection device for microorganisms in food
CN207147803U (en)Food medicament residue sampler
CN213924762U (en)Microbial detection pretreatment culture medium filling device
CN220745926U (en)Fermentation cylinder of sample convenience
CN206244798U (en)A kind of intelligent shaking table for biologic test
CN219186631U (en)Stirring assembly for liquid medicine mixing barrel
CN208166993U (en)A kind of save set of agricultural microbiological culture media
CN119147340A (en)Solid waste lixivium preparation equipment
CN217398790U (en) A kind of biological organic fertilizer mixing fermentation tank

Legal Events

DateCodeTitleDescription
GR01Patent grant
GR01Patent grant
CF01Termination of patent right due to non-payment of annual fee

Granted publication date:20200821

Termination date:20211217

CF01Termination of patent right due to non-payment of annual fee

[8]ページ先頭

©2009-2025 Movatter.jp