Movatterモバイル変換


[0]ホーム

URL:


CN210468272U - Cable butt joint device for commodity theft prevention - Google Patents

Cable butt joint device for commodity theft prevention
Download PDF

Info

Publication number
CN210468272U
CN210468272UCN201920781668.2UCN201920781668UCN210468272UCN 210468272 UCN210468272 UCN 210468272UCN 201920781668 UCN201920781668 UCN 201920781668UCN 210468272 UCN210468272 UCN 210468272U
Authority
CN
China
Prior art keywords
cable
terminal
fixed terminal
movable terminal
movable
Prior art date
Legal status (The legal status is an assumption and is not a legal conclusion. Google has not performed a legal analysis and makes no representation as to the accuracy of the status listed.)
Active
Application number
CN201920781668.2U
Other languages
Chinese (zh)
Inventor
忻宏
Current Assignee (The listed assignees may be inaccurate. Google has not performed a legal analysis and makes no representation or warranty as to the accuracy of the list.)
Hangzhou Langhong Zhilian Technology Co Ltd
Original Assignee
Hangzhou Langhong Zhilian Technology Co Ltd
Priority date (The priority date is an assumption and is not a legal conclusion. Google has not performed a legal analysis and makes no representation as to the accuracy of the date listed.)
Filing date
Publication date
Application filed by Hangzhou Langhong Zhilian Technology Co LtdfiledCriticalHangzhou Langhong Zhilian Technology Co Ltd
Priority to CN201920781668.2UpriorityCriticalpatent/CN210468272U/en
Application grantedgrantedCritical
Publication of CN210468272UpublicationCriticalpatent/CN210468272U/en
Activelegal-statusCriticalCurrent
Anticipated expirationlegal-statusCritical

Links

Images

Landscapes

Abstract

The utility model provides a cable butt joint device for commodity theft prevention, which comprises a fixed terminal and a movable terminal, wherein the fixed terminal and the movable terminal respectively comprise at least two electric contact points; the fixed terminal is connected to the alarm device through a cable and is configured to be embedded and mounted on the supporting surface; further comprising a locking member configured to be able to lock the movable terminal and the fixed terminal when the two are mated; when the fixed terminal and the movable terminal are butted, the electric contact points on the fixed terminal and the movable terminal can form at least two electric paths. The utility model discloses divide into the cable above the holding surface and the part below the holding surface, two parts combine in desktop department through cable interfacing apparatus, and fixed terminal among the cable interfacing apparatus is installed in the holding surface with embedding, docks through movable terminal and it, and movable terminal exposes above the desktop, and movable terminal volume is little, thickness is thin, is favorable to the pleasing to the eye of show face.

Description

Cable butt joint device for commodity theft prevention
Technical Field
The utility model relates to a show commodity theftproof field.
Background
In the field of anti-theft of display goods, a display surface (or a supporting surface) is generally used for displaying goods, the display goods need to be connected with an anti-theft device, the prior art uses a cable to connect the goods and an anti-theft device, in many cases, the anti-theft device can be multi-port, the multi-port anti-theft device can provide anti-theft security for a plurality of goods at the same time, for example, the goods displayed on the same supporting surface can be connected to the same anti-theft device through the cable, in order to ensure the beauty of the display surface, the anti-theft device is generally arranged below a table top, in the case of one anti-theft device, an opening is often adopted on the display surface, all or part of the wiring of the goods on the display surface extends to the lower part of the display surface through the opening to be connected with the anti-theft device, which inevitably causes a plurality of wiring on the display surface, leading the display, the wiring can interfere with each other, and the commodity experience is influenced.
In order to overcome the problems, in the prior art, a one-to-one wiring hole mode is adopted, namely a wiring hole from top to bottom is arranged near a commodity, the mode can reduce the crossing and interference of the wiring on the table top to a certain extent, but the wiring holes are arranged too many, so that the display surface is not attractive, and if the wiring holes do not fix the cables, the cables are pulled during the display, so that the cables below the table top are possibly interfered with each other, and the overall layout is influenced; in addition, the cable pulling can increase the cable and damage the probability about the desktop about, changes at every turn and all needs to operate below the desktop, and is very inconvenient.
Disclosure of Invention
The utility model aims to solve the technical problem that a cable interfacing apparatus for commodity theftproof is provided, the problem that exists in the background art can be overcome.
The utility model provides a technical scheme that technical problem adopted is:
a cable butt-joint device for preventing the theft of commodities,
comprises a fixed terminal and a movable terminal,
the fixed terminal and the movable terminal respectively comprise at least two electric contact points;
the fixed terminal is connected to the alarm device through a cable and is configured to be embedded and mounted on the supporting surface;
further comprising a locking member configured to be able to lock the movable terminal and the fixed terminal when the two are mated;
when the fixed terminal and the movable terminal are butted, the electric contact points on the fixed terminal and the movable terminal can form at least two electric paths.
In some preferred forms, the fixed terminal is provided with an electrical contact, and the movable terminal is also provided with an electrical contact, when the fixed terminal and the movable terminal are butted, the electrical contact thereon can contact and conduct to form two electrical paths (a positive one and a negative one), and when the power supply is switched on, the two electrical paths can combine with the conducting wires in the cable to form an electrical loop.
In some preferred forms, the two electrical paths are isolated from each other to prevent cross-circuit interference from forming a good electrical loop. In some preferred forms, some isolation may be provided, for example by an insulating member, and in some preferred forms, some distance may be left in place during the arrangement, and no isolation may be provided, and in some preferred forms, the electrical contact points of the same terminal (fixed terminal or movable terminal) may be spaced apart or isolated from each other.
In some preferred modes, the electric contact points on the fixed terminal or the movable terminal have corresponding relations in position, so that when the fixed terminal or the movable terminal is butted, the electric contact points can be aligned, in some preferred modes, the electric contact points on the same terminal (the fixed terminal or the movable terminal) can be respectively connected with two wires in the cable, in some preferred modes, the electric contact points are at least one, and can also be two or even more. For example, in some preferred embodiments, there are two electrical contacts, one for each of the positive and negative terminals, and connected to the conductors on the terminals, and a corresponding structure on the other terminal, so that when power is applied, an electrical circuit is completed through the cable.
In some preferred forms, one of the movable and fixed terminals is provided with a connector and the other with a connector hole, for example, the connector is microsub, the connector hole is a corresponding mating hole, the connector and the connector hole have electrical contacts, and the usual electrical contact conduction entails conduction of at least two electrical contacts, a positive one and a negative one forming an electrical circuit of the two-way conduction.
In some preferred forms, the two electrical contacts of the movable terminal and the two electrical contacts of the fixed terminal are in one-to-one contact, two electrical paths isolated from each other, so as to form a closed electrical circuit.
In some preferred forms, the end of the fixed terminal is configured to be partially or entirely exposed to the supporting surface. In some preferred forms, the fixed terminal may be embedded in the supporting surface, and in some preferred forms, the fixed terminal may be partially embedded in the supporting surface.
In some preferred forms, the fixed terminal is configured to be capable of adapting to support surfaces of different thicknesses. In some preferred forms, the fixed terminal is configured to have two parts whose mutual distance can be adjusted, one of the parts is fixed on the lower surface of the supporting surface, and the other part can pass through the parts of the supporting surface and is configured to be relatively movable, for example, the two parts are screwed together, or the two parts can slide relatively, so that when the screw is screwed inward and outward, the distance between the two parts can be adjusted, when the supporting surface is a little thicker, the part passing through the supporting surface can be moved downward, and when the supporting surface is a little thinner, the part passing through the supporting surface can be moved upward, so as to meet the requirements of supporting surfaces with different thicknesses.
In some preferred forms, the locking member includes an elastic body provided on the fixed terminal and/or the movable terminal. In some preferred modes, a hook part is arranged on the elastic body, and the hook part can be used for hooking a connecting hole in the other component to realize the connection of the two components. In some preferred modes, the elastic body and the connection hole are respectively arranged on the fixed terminal and the movable terminal, for example, if the elastic body is arranged on the fixed terminal, the connection hole is arranged on the movable terminal, and if the elastic body is arranged on the movable terminal, the connection hole is arranged on the fixed terminal, so that the fixed terminal and the movable terminal are in butt joint with each other.
Further, the movable terminal includes a cable configured to be directly or indirectly connected to an item of merchandise.
Further, the outgoing direction of the cable on the movable terminal is configured to be parallel to the supporting surface. Is beneficial to the regulation of the wiring of the desktop.
Further, the joint of the cable and the movable terminal is provided with a cable protection structure so as to prolong the bending life of the cable.
Further, a limiting structure is arranged on the fixed terminal and/or the movable terminal, and the limiting structure is configured to be used for guiding and/or limiting the accurate alignment of the electric contact point when the movable terminal is butted with the fixed terminal. In some preferred forms, the retention structure may be a fool-proof structure, for example, when the connector is a connector having a forward and reverse orientation, the fool-proof structure may be provided to assist in protecting the connector.
Further, in the state that the movable terminal is butted with the fixed terminal, the movable terminal can partially or completely cover the exposed part and the supporting surface part of the fixed terminal.
Furthermore, an indicator light is arranged on the movable terminal and used for indicating the working state.
The utility model has the advantages that: the utility model discloses divide into the cable above the holding surface and the part below the holding surface, two parts combine in desktop department through cable interfacing apparatus, install in the holding surface fixed terminal among the cable interfacing apparatus with embedding, dock through movable terminal and it, movable terminal exposes above the desktop, movable terminal volume is little, thickness is thin, be favorable to the pleasing to the eye of show face, and, the cable divide into two parts from top to bottom through interfacing apparatus, two parts cable above the holding surface and below the holding surface can not influence each other, be favorable to the cable overall arrangement among the commodity anti-theft system. Simultaneously, because of the show product is often taken up by the customer and is experienced, must have the cable to buckle because of transition tensile or transition and lead to damaging, when maintaining the change damage the cable the utility model relates to a can simplify fortune dimension operation, all change operations are all gone on above the holding surface, and maintainer need not handle down at the table, has promoted fortune dimension efficiency.
Drawings
Fig. 1 is a schematic diagram of the cooperation of the fixed terminal and the movable terminal of the present invention.
Fig. 2 is a schematic view of the movable terminal of the present invention.
Fig. 3 is an exploded view of the overall structure of the present invention.
Fig. 4 is a schematic view of the fixing terminal of the present invention.
Fig. 5 is a schematic view of the locking mechanism of the present invention.
Fig. 6 is an application scene diagram of the present invention.
Fig. 7 is an exploded view of the movable terminal and locking mechanism of the present invention.
Fig. 8 is a schematic view of the electrical contact points on the fixed terminal and the movable terminal of the present invention.
Detailed Description
The following detailed description of the embodiments of the present invention is provided in connection with the accompanying drawings, and it should be noted that the embodiments are only specific illustrations of the present invention, and should not be construed as limitations of the present invention.
The technical terms related to the present invention are first explained with reference to the embodiments, and the terms are explained to enable those skilled in the art to more accurately understand the technical solution of the present invention, and do not necessarily limit the protection scope of the present invention.
Anti-theft commodity
The merchandise anti-theft referred to in the present invention is generally used in a place with merchandise display requirements, the merchandise display generally refers to the display of electronic products, such as mobile phones, tablets, etc., some functions of these merchandise can be known to users only when they are used, these merchandise generally have some human-computer interactive interfaces, the exhibited person can contact and use all or part of the functions of these merchandise exemplarily or exhibitively within a certain range, thereby understanding the performance of the merchandise, in the industry, sometimes this merchandise with functional display requirements will also be referred to as merchandise with experience requirements, i.e. the exhibited person can operate and experience the merchandise displayed within a limited condition and range, therefore, these merchandise will be directly contacted by the experienced person, and these merchandise themselves have mobility and portability, therefore, there is a great risk of theft, which necessitates anti-theft measures during the display of the goods, which are not limited to the use of the experiencers, but are only limited to the use of the experiencers to take away from the place, even in some cases, the anti-theft measures need to be considered as far as possible to not hinder the use of the experiencers, so that the experiencers can obtain better use experience, and the technology or industry which adopts the anti-theft measures to prevent the goods in the display or the experience from being stolen and needs to reduce the influence of the anti-theft measures on the goods experience as far as possible is one of the anti-theft of goods and is also the field on which the utility model is based, which is distinguished from the carry-on anti-theft (EAS) of goods in the mass selling.
Cable with a flexible connection
The cable is a concept of connection and/or transmission in the present invention, in some cases, the cable may be a purely mechanical connection, connecting two objects, in some cases, the cable may provide power transmission (strong current) to establish power connection for two parties connected by the cable, one party may provide power to the other party, or both parties may have power to transmit each other, in some cases, the cable may provide data transmission (including weak current) to provide power and data connection for two parties connected by the cable, one party may provide power or transmit data signals to the other party, or both parties may have power and data signals to transmit each other, in some cases, the power of the transmission line in the cable may be used as an induction loop, i.e. a determination factor for detecting whether the cable is on or off, for example, when there is power transmission in the cable, the sensing loop can be considered to be smooth, the cable is in a normal connection state, at the moment, if the cable is connected with the commodity and the anti-theft host machine, the commodity can be considered to be in a safe state, or when signals are transmitted in the cable, the sensing loop can also be considered to be smooth, the cable is in a normal connection state, at the moment, if the cable is connected with the commodity and the anti-theft host machine, the commodity can be considered to be in a safe state, under the condition, the cable can play a sensing role and equivalently play a part of a sensor, and the cable at the moment can be used as a part of the sensor. In fact, the effect of the cable in the anti-theft field is also the common technical means in the field, the utility model does not relate to the structure and the function of the cable per se, and the utility model discloses only make the improvement to some application occasions of cable.
Alarm device
The utility model discloses also can adopt this mode, alarm device's typical example is the alarm for send the warning prompt tone, indicate the staff in the sales space, commodity probably is in safe or non-safe state, alarm device also is a common anti-theft device, and mainly used carries out alarm operation according to the safety signal that monitoring device/sensor cable etc. sent, and alarm device triggers the mode of reporting to the police, has had a lot of among the prior art, for example the electricity connection disconnection triggers the warning, and this is the more common warning trigger mode in present commodity theftproof field, the utility model discloses also can adopt this mode, alarm device is the alarm for send the warning prompt tone, indicate the sales space in, commodity probably is in safe or non-safe state. Generally speaking, this kind of alarm function of alarm device can be called sending alarm signal, and alarm signal for example warning prompt tone still can include light signal sometimes, is called audible-visual annunciator, the utility model discloses do not improve alarm itself.
Monitoring device
In the field of commodity theft prevention, the monitoring device is relatively wide in scope, and may include the above-mentioned alarm device, a sensor for sensing whether a commodity is in a safe state, a cable, and even some data acquisition devices, and the monitoring device itself may also perform power transmission, for example, an electric power storage module is provided, so that when other devices are connected to the monitoring device through the cable, the monitoring device may also be used as a component of power transmission. Likewise, the present invention does not improve the monitoring device itself.
Electrical contact point
The utility model discloses in, the electric contact mainly used realizes the electric conductance and leads to, usually speaking, realizes that the electric conductance needs to have the electric current inflow and flow out, consequently need have the electric path of two at least intercommunications, and a power connection is anodal, and a power connection negative pole forms a complete return circuit.
Detailed description of the preferred embodiments
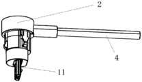
As shown in fig. 1, the present invention includes a fixedterminal 1 and amovable terminal 2, wherein the fixedterminal 1 can be installed to a supportingsurface 3, and themovable terminal 2 can be operatively combined with the fixedterminal 1 to form an application state as shown in fig. 6, in which the fixedterminal 1 and its cable are completely hidden below the supportingsurface 3, and themovable terminal 2 is connected to an article ofmerchandise 100 through afirst cable 4 above the supporting surface, or the article ofmerchandise 100 is connected through a base 200 having a connector.
In this scenario, the entire display surface is clean and tidy, the cables do not interfere with each other, and thecables 4 on the supporting surface can move along with the merchandise without affecting the part below the supporting surface.
As shown in fig. 1-3, theconnector 21 is disposed on themovable terminal 2, theconnector 21 has anelectrical contact point 211, theconnector 21 can be electrically connected with thefirst cable 4 from the inside of themovable terminal 2, from this point of view, themovable terminal 2 is equivalent to a connector seat, the electrical connection between theconnector 21 and thefirst cable 4 is the conventional technology, the utility model discloses do not change the connection mode of theconnector 21 and thecable 4, the utility model discloses what improved is the structure of themovable terminal 2.
As shown in fig. 4, aconnector hole 11 is formed in the fixedterminal 1, an electrical contact point matched with theconnector 21 is also formed in theconnector hole 11, theconnector hole 11 and theconnector 21 are matched, when theconnector 21 is inserted into theconnector hole 11, the connector hole and the connector are electrically communicated, and in a preferable mode, when the electrical connection between the connector and the connector hole is not disconnected under an authorized state, an alarm can be set off. In some preferred forms, the fixedterminal 1 may be connected to an anti-theft device such as an alarm or to an external power source via asecond cable 5 located below the support surface.
In some preferred forms, as shown in fig. 8, the fixedterminal 1 is provided with two first electric contact points 16, and correspondingly, themovable terminal 2 is also provided with two second electric contact points 26, when the fixedterminal 1 and themovable terminal 2 are butted, one of the first electric contact points 16 will be butted with one of the second electric contact points 26, and the other of the first electric contact points 16 will be butted with the other of the second electric contact points 26, so as to form two electric paths as described above, and all four electric contact points can be respectively connected with the cable connected with the terminal, and when the electric path is electrified, an electric loop is formed. The butt joint mode of electric contact and cable can be directly welded, also can be through the chip connection, and these are conventional modes, the utility model discloses do not make improvement and restriction.
In some preferred manners, a portion of themovable terminal 2 can be inserted into the fixedterminal 1, and a fool-proof structure is provided at a joint section of the two, for example, as shown in fig. 4, a table 12 is provided in the fixedterminal 1, and correspondingly, as shown in fig. 1 and 3, aflat surface 22 is provided at one side of themovable terminal 2, and for a directional connector (e.g., microsub), the fool-proof structure can protect the connector from being damaged by the insertion direction.
In some preferred forms, as shown in fig. 1 and 4, the fixedterminal 1 comprises asupport ring 13, thesupport ring 13 may have anupper surface 131, and theupper surface 131 may be used for connecting with the bottom surface of thesupport surface 3, and the connection may be made by adhesive bonding or by screws or the like.
In some preferred forms, as shown in fig. 1 and 4, the lower end of the fixedterminal 1 is provided with a firstexternal thread section 14 that can match the internal thread of thesupport ring 13, so that the fixedterminal 1 and thesupport ring 13 can move relatively to adjust the relative positions of the fixedterminal 1 and thesupport ring 13, and when thesupport ring 13 is fixed, the height of the fixedterminal 1 can be adjusted to fit support surfaces of different thicknesses.
In some preferred manners, the lower end of the fixedterminal 1 may be exposed to the supportingsurface 3.
In some preferred forms, the fixedterminal 1 comprises asecond cable 5, thesecond cable 5 being configured to be directly or indirectly connectable to an anti-theft device, such as an alarm or a monitoring device. In some preferred ways, thesecond cable 5 may also be connected to an external power supply.
In some preferred forms, thesecond cable 5 protrudes from the tip (lower end) of the fixed terminal.
As shown in fig. 1, 5 and 7, themovable terminal 2 includes at least onelocking mechanism 23, and thelocking mechanism 23 is fixedly connected to amain body 24 of themovable terminal 2, and the fixed connection may be a welded or other fixed connection. The connectors and fool-proofing structure described above are also provided on themain body 24.
In some preferred ways, the outlet direction of thefirst cable 4 on themovable terminal 2 is configured to be parallel to the supportingsurface 3, as shown in fig. 8, which is beneficial to the regulation of the desk wiring.
In some preferred manners, as shown in fig. 7, thefirst collar 231 is further provided with arelief groove 233 of thefirst cable 4, and when thefirst collar 231 and themain body 24 are combined, thefirst cable 4 can be led out from therelief groove 233.
In some preferred forms, acable protector 41 is provided at the junction of thefirst cable 4 and themain body 24.
In some preferred manners, as shown in fig. 5, thelocking mechanism 23 includes afirst collar 231 and anelastic member 232, an outer end of theelastic member 232 is provided with ahook portion 2321, since the elastic member has a certain elasticity, when the movable terminal and the fixed terminal need to be installed, the connector is aligned to the direction of the connector hole (or along the direction of the fool-proof structure) to press the movable terminal inwards, at this time, an outer edge of the fixed terminal will press the hook portion inwards until the hook portion extends into theconnection hole 15, so that thehook portion 2321 can hook theconnection hole 15 on the side wall of the fixed terminal 1 from inside outwards to complete the connection, which is referred to as a locking state of thelocking mechanism 23, in this state, themovable terminal 2 and the fixedterminal 1 form a lock, and this state can be used for merchandise theft prevention.
In some preferred forms, when replacement or repair or authorized removal for other reasons is required, theelastic member 232 is moved inward by pressing thefirst collar 231 inward, and thehook portion 2321 is disengaged from theconnection hole 15, which is referred to as a non-locking state of thelocking mechanism 23, in which themovable terminal 2 and the fixedterminal 1 are unlocked.
In some preferred forms, unlocking may also be accomplished by inwardly squeezing theresilient member 232.
In some preferred manners, theelastic members 232 and the connection holes 15 are arranged in pairs and corresponding in position, in some preferred manners, the number of theelastic members 232 may be smaller than that of the connection holes 15, in some preferred manners, at least oneelastic member 232 and at least oneconnection hole 15 are arranged, and in some preferred manners, theelastic members 232 and the connection holes 15 may also be respectively arranged in a plurality of matching numbers and positions. In the present embodiment, theelastic member 232 and theconnection hole 15 are each 3, and are uniformly distributed in the circumferential direction of the fixed terminal and the movable terminal.
In some preferred manners, themain body 24 of themovable terminal 2 is provided with a groove 241, and the groove 241 can be used for giving way to theelastic member 232. In some preferred manners, as shown in fig. 5, theelastic member 232 is provided with alimit block 2322, and correspondingly, as shown in fig. 7, the groove 241 is provided with alimit step 2411, and when thelocking mechanism 23 is mounted on themain body 24, thelimit block 2322 cooperates with thelimit step 2411 to form a mounting limit.
In some preferred modes, when themovable terminal 2 and the fixedterminal 1 are in a butt-joint state, themovable terminal 2 can partially or completely cover the exposed and supporting surface part of the fixedterminal 1 so as to maintain the beauty on the supporting surface 3 (display surface).
In some preferred modes,movable terminal 2 can also be provided with the pilot lamp (not shown in the figure), and the pilot lamp can adopt the lamp of conventional small square or small circle punctiform, can change colour by monochromatic or red-yellow-green, can be used for instructing operating condition, and the pilot lamp is also the conventional technique in this field the utility model discloses in, the pilot lamp is an application scene, the utility model discloses do not make the improvement to pilot lamp and connection structure.
In some preferred modes, the elastic element does not need a material with high elasticity and can be made of plastic with certain elasticity.

Claims (10)

CN201920781668.2U2019-05-282019-05-28Cable butt joint device for commodity theft preventionActiveCN210468272U (en)

Priority Applications (1)

Application NumberPriority DateFiling DateTitle
CN201920781668.2UCN210468272U (en)2019-05-282019-05-28Cable butt joint device for commodity theft prevention

Applications Claiming Priority (1)

Application NumberPriority DateFiling DateTitle
CN201920781668.2UCN210468272U (en)2019-05-282019-05-28Cable butt joint device for commodity theft prevention

Publications (1)

Publication NumberPublication Date
CN210468272Utrue CN210468272U (en)2020-05-05

Family

ID=70438838

Family Applications (1)

Application NumberTitlePriority DateFiling Date
CN201920781668.2UActiveCN210468272U (en)2019-05-282019-05-28Cable butt joint device for commodity theft prevention

Country Status (1)

CountryLink
CN (1)CN210468272U (en)

Similar Documents

PublicationPublication DateTitle
US11381042B2 (en)Security connector
US11816966B2 (en)Low profile merchandise security system
US20090047824A1 (en)Connector Alignment System
CN113706805B (en)Commodity security system
CN111124045B (en)Computer terminal with user replaceable panel
CN210039007U (en)Alarm for commodity anti-theft and powered by sensor
CN210468272U (en)Cable butt joint device for commodity theft prevention
US8988898B2 (en)Power cable having security feature
KR101507856B1 (en)Theft alarm connector for electronic equipment
CN212675663U (en)Safety device for commodity display
CN210468306U (en)Cable butt joint device for commodity theft prevention
CN210468307U (en)L-shaped connector for commodity anti-theft
CN210643480U (en)Locking and unlocking device for commodity anti-theft
CN210468305U (en)Cable butt joint device for commodity theft prevention
CN213935118U (en)Safety device for commodity display
CN210430320U (en)Contact type charging device for commodity anti-theft
CN210468302U (en)Cable butt joint device for commodity theft prevention
CN210659608U (en)Locking and unlocking device for commodity anti-theft
CN112288972B (en)Safety device for commodity display
CN211182727U (en)Cable butt joint device for commodity theft prevention
CN211628354U (en)Safety device for commodity anti-theft
US10074250B2 (en)Anti-theft device for monitoring connection between a male plug and a female receptacle
CN213399874U (en)Safety device for commodity anti-theft
CN209880967U (en)Sensor for commodity anti-theft
WO2018170251A1 (en)Security connector

Legal Events

DateCodeTitleDescription
GR01Patent grant
GR01Patent grant

[8]ページ先頭

©2009-2025 Movatter.jp