Movatterモバイル変換


[0]ホーム

URL:


CN210446771U - Air frying pan - Google Patents

Air frying pan
Download PDF

Info

Publication number
CN210446771U
CN210446771UCN201920962241.2UCN201920962241UCN210446771UCN 210446771 UCN210446771 UCN 210446771UCN 201920962241 UCN201920962241 UCN 201920962241UCN 210446771 UCN210446771 UCN 210446771U
Authority
CN
China
Prior art keywords
air
hot air
disc
shaped body
blade
Prior art date
Legal status (The legal status is an assumption and is not a legal conclusion. Google has not performed a legal analysis and makes no representation as to the accuracy of the status listed.)
Withdrawn - After Issue
Application number
CN201920962241.2U
Other languages
Chinese (zh)
Inventor
郭鑫
李斌
牛军营
张西洋
Current Assignee (The listed assignees may be inaccurate. Google has not performed a legal analysis and makes no representation or warranty as to the accuracy of the list.)
Yueda Electronic Technology Co ltd
Original Assignee
Yueda Electronic Technology Co ltd
Priority date (The priority date is an assumption and is not a legal conclusion. Google has not performed a legal analysis and makes no representation as to the accuracy of the date listed.)
Filing date
Publication date
Application filed by Yueda Electronic Technology Co ltdfiledCriticalYueda Electronic Technology Co ltd
Priority to CN201920962241.2UpriorityCriticalpatent/CN210446771U/en
Application grantedgrantedCritical
Publication of CN210446771UpublicationCriticalpatent/CN210446771U/en
Withdrawn - After Issuelegal-statusCriticalCurrent
Anticipated expirationlegal-statusCritical

Links

Images

Landscapes

Abstract

Translated fromChinese

一种空气炸锅,包括机座;锅体;烤盘;热风装置;其特征在于:所述烤盘包括有盘状本体,盘状本体上开设有漏油孔,盘状本体的上端面上间隔凸设有若干个凸起件,各凸起件的上端面整体构成用于放置食物的支撑面;相邻两个凸起件之间形成有供热风流过的导流通道;所述热风装置包括有热风风叶;驱动电机;加热件;该热风风叶包括一转盘和若干个叶片,所述叶片向下凸设在转盘的下端面上并环绕转盘的边缘周向间隔设置,各叶片沿着转盘的旋转方向倾斜设置,相邻两个叶片之间形成能使通过的热风旋转的出风口,所述转盘的下端面与各叶片之间形成供热风进入的入风口。本申请能改善热风循环路径,进而提高烹饪效果。

Figure 201920962241

An air fryer, comprising a machine base; a pot body; a baking pan; A number of protruding pieces are arranged on the spaced protrusions, and the upper end surface of each protruding piece integrally forms a supporting surface for placing food; a diversion channel for hot air to flow through is formed between two adjacent protruding pieces; the hot air The device includes a hot air fan blade; a driving motor; a heating element; the hot air fan blade includes a turntable and a plurality of blades, the blades are downwardly protruded on the lower end surface of the turntable and circumferentially spaced around the edge of the turntable. It is inclined along the rotation direction of the turntable, an air outlet for passing hot air to rotate is formed between two adjacent blades, and an air inlet for hot air to enter is formed between the lower end surface of the turntable and each blade. The present application can improve the hot air circulation path, thereby improving the cooking effect.

Figure 201920962241

Description

Air frying pan
Technical Field
The utility model belongs to the technical field of kitchen appliance, concretely relates to air is fried pot.
Background
The fried food such as the chips, the fried chicken wings and the like is popular with people due to crisp taste and sharp aroma, but the fried food has higher heat and fat and is contrary to the current healthy life concept of people; and the oil can generate a carcinogenic substance after being repeatedly used at high temperature, and is very harmful to human bodies.
The air fryer fries food through high-speed heated air circulation technique, when can satisfy people to the taste demand of fried food, because it need not the use oil, smell, the steam of production are few, can also satisfy people's healthy demand, have better market prospect.
The existing air fryer mostly comprises a frame, a pot body arranged in the frame, a baking tray arranged in the pot body and used for placing food, and a hot air device which can generate circulating hot air in the frame, wherein the frame is provided with the frame, and the air device comprises a structure disclosed by the utility model patent with the patent number of 201720105061.3, namely an air fryer (with the publication number of CN206867131U) and a utility model patent with the patent number of 201720236156.9, namely an air fryer with improved thermal efficiency (with the publication number of CN207101153U) and the like. The air fryer can fry food well, but in the actual use process, the flow direction of the high-speed circulating hot air directly influences the cooking effect of the air fryer, and if the hot air cannot flow through the food uniformly, the food is heated unevenly; and the structure of the baking tray can also generate great influence on the flow direction of hot air, and the reasonable arrangement of the baking tray can also improve the cooking effect of the air fryer.
SUMMERY OF THE UTILITY MODEL
The utility model discloses the first technical problem that will solve is to prior art's current situation, provides one kind and can improve hot air circulation route, and then improves the air of culinary art effect and explodes pot.
The utility model discloses the second technical problem that will solve is to prior art's current situation, provides one kind and can support the overware after cooking to the air that realizes the overware oil logging explodes pot.
The utility model provides a technical scheme that above-mentioned first technical problem adopted does: an air fryer comprises a machine base; a pan body arranged in the base; a baking tray arranged in the pan body; the hot air device is arranged in the base and used for generating hot air, and the hot air device is arranged above the baking tray; the method is characterized in that:
the baking tray comprises a disc-shaped body, oil leakage holes are formed in the disc-shaped body, a plurality of protruding pieces are convexly arranged on the upper end face of the disc-shaped body at intervals, and the upper end faces of the protruding pieces integrally form a supporting face for placing food; a flow guide channel for hot air to flow through is formed between every two adjacent convex parts;
the hot air device comprises a hot air fan blade; the driving motor can drive the hot air fan blade to rotate; and a heating element; the hot-air fan blade comprises a rotary table and a plurality of blades, the blades are arranged on the lower end face of the rotary table in a downward protruding mode and circumferentially arranged at intervals around the edge of the rotary table, each blade is arranged in an inclined mode along the rotating direction of the rotary table, an air outlet enabling hot air to pass through is formed between every two adjacent blades, and an air inlet allowing hot air to enter is formed between the lower end face of the rotary table and each blade.
In order to further improve the cooking efficiency, the convex pieces are of strip-shaped structures, and the convex pieces are radially distributed around the outward edge of the middle part of the disc-shaped body; and the flow guide channel for supplying hot air to flow from the outer edge of the disc-shaped body to the middle part is formed between every two adjacent convex parts. Therefore, hot air blown out from the air outlet outside the hot air fan blade can flow to the baking tray along the pan body, and flows to the middle part of the baking tray from the outer edge of the baking tray along the diversion channel, then moves upwards under the action of the air inlet of the hot air fan blade and is sucked into the air inlet again, and is blown out from the air outlet to complete a complete hot air circulation, so that the protruding part of the strip-shaped structure can be better matched with the hot air fan blade, and the cooking efficiency is improved.
As a modification, each of the projecting members is curved in a clockwise or counterclockwise direction. Therefore, hot air blown to the middle part from the outer edge of the baking tray can generate a rotational flow, so that the cooking efficiency can be further improved while the hot air circulation is improved.
In order to facilitate the oil on the disc-shaped body to leak from the oil leakage hole and prevent the oil from accumulating on the disc-shaped body to affect cooking, the disc-shaped body is preferably of a structure with a low middle part and a high outer edge, and the oil leakage hole is formed in the middle of the disc-shaped body.
Preferably, the oil leakage hole is located at the center of the disc-shaped body and on a plurality of concentric circumference lines with the center of the disc-shaped body as the center of a circle, and the inner end of the flow guide channel corresponds to the oil leakage hole. Therefore, when the cooking effect can be improved by hot air in the flow guide channel, oil dispersed on the disc-shaped body can be blown to the oil leakage hole in a concentrated mode, and the oil can smoothly flow out of the oil leakage hole.
In the above scheme, in order to improve the structural stability and improve the air inlet efficiency of the air inlet and the air outlet efficiency of the air outlet, the hot air fan blade further comprises an air guide ring, and the air guide ring is connected with the lower end part of each blade.
Preferably, each blade and the radial direction of the rotating disc are inclined at an angle of 20-80 degrees; the number of the blades is at least 10.
The utility model provides a technical scheme that above-mentioned second technical problem adopted does: the upper end face of the disc-shaped body is provided with a lifting handle, and the upper part of the machine base is provided with a support capable of supporting the lifting handle to enable the disc-shaped body to be vertically placed.
In order to further improve the supporting stability and collect oil and water, an oil collecting tank used for supporting the baking tray and collecting the oil and water on the baking tray is arranged at the bottom of the base. The baking tray is supported on the oil collecting tank in a vertical state, so that the oil and water drained from the baking tray can be collected into the oil collecting tank, and the baking tray is more sanitary.
Compared with the prior art, the utility model has the advantages of: the hot air fan blade is arranged to be of a structure that the blades are arranged on the edge of the lower end face of the rotary table at intervals, the blades are obliquely arranged along the rotating direction of the rotary table to form air outlets on the side face, air inlets are formed between the lower end face of the rotary table and the blades, negative pressure can be formed inside the fan blade when the fan blade rotates, an air channel which is thrown out of the air outlets on the side face after air is sucked from the middle air inlet is formed, the flowing path of air flow can be optimized, and air flow circulation is effectively achieved.
Through set up a plurality of protruding piece on the overware, the hot-blast ability that the air outlet of edgewise was thrown away flows to the middle part of overware through the water conservancy diversion passageway between each protruding piece from the outward flange of overware, upwards inhales the income wind gap of hot-blast fan blade again, accomplishes heated air circulation, so the overware structure of this application can cooperate better with the structure of hot-blast fan blade, optimizes hot-blast circulation route, has improved circulation efficiency. Meanwhile, the circularly flowing hot wind energy flows through the adjacent protruding parts, so that the food on the protruding parts can be heated, and the cooking effect is improved; and because the food can be supported on the protruding part and can not be directly contacted with the oil leakage hole on the baking tray, the oil leakage hole can be effectively prevented from being blocked by the food, so that the oil is accumulated on the baking tray, and the separation of the food and the oil is realized.
Through setting up the handle on the overware, set up the support on the frame for the overware can be supported on the support with the gesture of putting immediately through the handle, so, can realize accomodating of overware and can drip the grease on the overware dry after having cooked, improve the health of using.
Drawings
FIG. 1 is a schematic structural view of a baking tray according to an embodiment of the present invention;
FIG. 2 is a schematic structural view of another view angle of the bakeware in the embodiment of the present invention;
FIG. 3 is a schematic view showing the flow direction of hot air on the baking tray according to the embodiment of the present invention;
fig. 4 is a schematic structural diagram of a hot air blade in an embodiment of the present invention;
fig. 5 is a top view of the hot wind blade in the embodiment of the present invention;
fig. 6 is a schematic structural view of an oil smoke filtering assembly in an embodiment of the present invention;
fig. 7 is an exploded perspective view of the oil smoke filter assembly in the embodiment of the present invention;
FIG. 8 is a schematic structural view of an air fryer in an embodiment of the present invention;
FIG. 9 is a schematic structural view of the baking tray of the embodiment of the present invention vertically placed on the air fryer;
fig. 10 is a schematic structural view of a motor frame according to an embodiment of the present invention;
FIG. 11 is a schematic structural view of an air fryer at another viewing angle (with the housing omitted) according to an embodiment of the present invention;
FIG. 12 is a schematic view of an air fryer with another view angle according to an embodiment of the present invention (the outer shell is omitted);
fig. 13 is a schematic structural view of a pot cover in an embodiment of the present invention;
fig. 14 is an exploded perspective view of the lid of the embodiment of the present invention;
fig. 15 is a schematic partial structural view of an upper reflection plate in an embodiment of the present invention;
fig. 16 is a schematic structural view of the embodiment of the present invention in an opened state of the lid;
fig. 17 is an external schematic view of the pot cover in the closed state according to the embodiment of the present invention;
fig. 18 is a schematic structural view of the embodiment of the present invention in a state that the lid is closed;
fig. 19 is a schematic structural view of the embodiment of the present invention in the state that the micro switch is turned on;
fig. 20 is a schematic structural diagram of the micro switch in the embodiment of the present invention in the closed state.
Detailed Description
The present invention will be described in further detail with reference to the following embodiments.
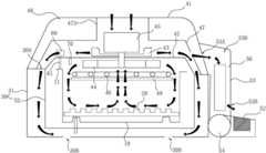
1-20, a preferred embodiment of the air fryer of the present application, the air fryer includes a housing; apan body 10 arranged in the machine base; abaking tray 20 arranged in thepot body 10. The base can be an integrated structure, and can also be a split structure with a base and a pot cover. In this embodiment, the base is a split structure having abase 30 and alid 40, thelid 40 is hinged to thebase 30 at the rear side thereof to be opened and closed by rotation, and thepot body 10 is disposed in thebase 30.
The method comprises the following specific steps:
as shown in fig. 1 to 3 and 9, thebaking tray 20 includes a tray-shaped body 21, the tray-shaped body 21 is provided withoil leakage holes 22, a plurality of protrudingmembers 23 are protruded from the upper end surface of the tray-shaped body 21 at intervals, the upper end surface of each protrudingmember 23 integrally forms a supporting surface for placing food, and aflow guide channel 24 for hot air to pass through is formed between two adjacent protrudingmembers 23. In this embodiment, the protrudingmembers 23 are in a strip structure, and each protrudingmember 23 is radially distributed around the middle outward edge of the disc-shaped body 21; the above-mentionedflow guide channel 24 for hot air to flow from the outer edge of the disc-shaped body 21 to the middle is formed between twoadjacent protruding pieces 23. To improve the efficiency of the hot air circulation, each of theprotrusions 23 is bent in a clockwise or counterclockwise direction.
In order to enable oil water to leak down from theoil leakage hole 22 and prevent the oil water from accumulating on the disc-shaped body 21, the disc-shaped body 21 is designed to be a structure with a low middle part and a high outer edge, and theoil leakage hole 22 is arranged in the middle of the disc-shaped body 21. The method specifically comprises the following steps: theoil leakage holes 22 are positioned at the center of the disc-shaped body 21 and on a plurality of concentric circumference lines with the center of the disc-shaped body 21 as the center of a circle, and the inner ends of theflow guide channels 24 correspond to theoil leakage holes 22. The protrudingmembers 23 include a first set of protrudingmembers 231, a second set of protrudingmembers 232, and a third set of protrudingmembers 233, wherein the first set of protrudingmembers 231 are radially distributed toward the outer edge with the center of the disc-shaped body 21 as the starting point; the second group of protrudingmembers 232 are located between two adjacent first group of protrudingmembers 231 and radially distributed toward the outer edge with the concentric circumference of the inner ring oil leakage hole as the starting point; the third set of protrudingmembers 233 are located between two adjacent second set of protrudingmembers 232 and the adjacent first and second sets of protruding members, and radially distributed toward the outer edge with the concentric circumference of the outermost ring of oil leaking holes as the starting point. Thus, the starting point of the first set of projectingmembers 231 corresponds to theoil leakage hole 22 in the center of the disc-shaped body 21, the starting point of the second set of projectingmembers 232 corresponds to theoil leakage hole 22 in the inner ring of the disc-shaped body 21, and the starting point of the third set of projectingmembers 233 corresponds to theoil leakage hole 22 in the outer ring of the disc-shaped body 21. Of course, theoil leakage holes 22 are not limited to the above distribution, and the arrangement of theoil leakage holes 22 may be increased or decreased; the projectingmembers 23 are also not limited to the above-described distribution structure.
In order to take the baking tray, ahandle 25 is arranged on the upper end surface of the disc-shapedbody 21. The two handles 25 are positioned at the left side and the right side of the disc-shapedbody 21; and thehandle 25 has a hook portion that can be hooked on the air fryer to erect the disc-shapedbody 21. The specific structure of thehandle 25 is as follows: the handle is in an inverted L shape as a whole, and includes avertical rod 251 whose lower end is supported on the upper end surface of the disc-shapedbody 21, and across rod 252 connected to the upper end of thevertical rod 251, and the other end of thecross rod 252 extends toward the lower side of the disc-shapedbody 21 to form the above-mentioned hook with thevertical rod 251.
In order to make thebaking tray 20 stand after cooking, the upper part of the base is provided with abracket 51 which can support thehandle 25 to make thebaking tray 20 stand. The twobrackets 51 are arranged at the rear side of the machine base at intervals from left to right; thebracket 51 is a lug that is raised on the base for engaging thehandle 25 to facilitate hanging and buckling of the handle. In order to further improve the supporting strength and collect the oil and water drained from thebaking tray 20 when standing, anoil collecting tank 52 for supporting thebaking tray 20 and collecting the oil and water on thebaking tray 20 is provided at the bottom of the base. Thus, thehandle 25 on thebaking tray 20 can be hung and buckled on thebracket 51 to enable thebaking tray 20 to be vertically placed, the bottom of thebaking tray 20 is supported on theoil collecting tank 52 in the vertically placed state, oil and water can flow into theoil collecting tank 52 along thebaking tray 20, the collection of the oil and water on thebaking tray 20 is realized, and the use sanitation is improved.
As shown in fig. 13, 14, 16 and 18, thelid 40 includes ahousing 41 having afirst air inlet 41A; anupper reflection plate 42 provided in thehousing 41; acold air blade 43 disposed above theupper reflection plate 42 corresponding to thefirst air inlet 41A; ahot air blade 44 disposed below theupper reflection plate 42; the output shaft of the drivingmotor 45 arranged above theupper reflecting plate 42 sequentially penetrates through the coldair fan blade 43 and theupper reflecting plate 42 and then is connected with the hotair fan blade 44; aheating element 46 and amotor frame 47 which are arranged below the hotair fan blade 44. Thehot air blade 44, theheating element 46 and the drivingmotor 45 form a hot air device capable of generating hot air, and thecold air blade 43 and the drivingmotor 45 form a cold air device capable of generating cold air.
Wherein, themotor frame 47 is arranged above theupper radiation plate 42 and used for supporting the drivingmotor 45; the lower part of themotor frame 47 is connected with the outer edge of the upper reflectingplate 42 and then transversely arranged in theshell 41 to separate the cavity of theshell 41 up and down; a cavity is formed between themotor frame 47 and theupper reflecting plate 42, and the cold air fan blade 43 (the coldair fan blade 43 adopts a conventional fan blade structure) is arranged in the cavity; a second ventilation opening 47C for cold air to flow out of the pot cover is arranged on the lower part of themotor frame 47 or/and the outer edge of theupper reflection plate 42.
The specific structure of themotor frame 47 is: the air conditioner comprises arack body 470 with a hollow interior, wherein a mountinghole 471 is formed in the top of therack body 470 and used for mounting the drivingmotor 45, asecond air inlet 47A for allowing outside cold air to enter is formed between the mountinghole 471 and the drivingmotor 45, and thesecond air inlet 47A is opposite to thefirst air inlet 41A and is communicated with the interior of therack body 470; therack body 470 outside the mountinghole 471 is provided with a plurality offirst ventilation openings 47B communicated with the inside of therack body 470 for supplying cold air to thehousing 41. In this embodiment, thewhole rack body 470 is in the shape of an inverted bowl (therack body 470 is inverted on theupper radiation plate 42 to form the cavity), and thefirst ventilation openings 47B are circumferentially spaced along the sidewall of therack body 470. The lower edge of theframe body 470 is formed with asupport ring 472 protruding outward, thesupport ring 472 is provided with a plurality ofsecond ventilation openings 47C, and thesecond ventilation openings 47C are distributed along the circumferential direction of thesupport ring 472. The top of theframe body 470 is provided with aprotruding seat 473 in an upward protruding manner, the protrudingseat 473 penetrates the mountinghole 471 from top to bottom to accommodate the drivingmotor 45, and the drivingmotor 45 is connected in the mountinghole 471 through a connecting member. Please refer to fig. 10, 11, 12 specifically.
In this embodiment, in order to improve the hot air circulation efficiency, the hot air circulation system further includes alower reflection plate 48, thelower reflection plate 48 is connected to theupper reflection plate 42 and is disposed between thehot air blade 44 and the heating member 46 (in this embodiment, theheating member 46 is a heating pipe), and thelower reflection plate 48 is provided with a throughhole 480 opposite to theair inlet 44A of thehot air blade 44. The connecting structure of thelower reflection plate 48 and theupper reflection plate 42 is as follows: the side wall of the lower reflectingplate 48 is connected with theupper reflecting plate 42 through at least three connectingpieces 481, and two ends of each connectingpiece 481 are connected with the upper reflecting plate and the lower reflecting plate through screws; the connectingpieces 481 in this embodiment are four pieces and are circumferentially spaced along the side wall of thelower reflection plate 48. In order to further gather the hot air flow, thelower reflection plate 48 includes a panel and a sidewall bent downward along an outer edge of the panel, the throughhole 480 is formed on the panel of thelower reflection plate 48, and theconnection piece 480 is connected to the sidewall of thelower reflection plate 48.
As shown in fig. 4 and 5, thehot wind blade 44 includes arotating disk 441 connected to an output shaft of the drivingmotor 45 and a plurality of blades 442 (in this embodiment, theblades 442 and therotating disk 441 are an integral connector, and may be separately manufactured, and then theblades 442 and therotating disk 441 are connected through a subsequent process), theblades 442 are protruded downward on a lower end surface of therotating disk 441 and circumferentially arranged at intervals around an edge of therotating disk 441, eachblade 442 is obliquely arranged along a rotation direction of therotating disk 441, anair outlet 44B enabling a passing air flow to rotate is formed between twoadjacent blades 442, and anair inlet 44A for the air flow to enter is formed between the lower end surface of therotating disk 441 and eachblade 442. In order to improve the air inlet efficiency of theair inlet 44A and the air outlet efficiency of theair outlet 44B, thehot air blade 44 further includes anair guiding ring 443, and theair guiding ring 443 is connected to the lower end of eachblade 442. The number of theblades 442 is at least 10, in this embodiment 13, eachblade 442 and the radial direction of therotating disc 441 are inclined at an angle of 20-80 degrees, and the inclination angle a is 49.53 degrees in this embodiment. In order to improve the strength of theturntable 441, reinforcingribs 444 are arranged on the end face of theturntable 441.
In order to filter the oil smoke, thepot cover 40 further includes an oilsmoke filtering component 49 for filtering the oil smoke, as shown in fig. 6, 7, 13, 14, 16, and 18, the oilsmoke filtering component 49 is disposed below theheating component 46 and connected to the lower reflection plate 48 (i.e., disposed below theair inlet 44A of the hot air blade 44). Thelampblack filtering component 49 comprises asupport 491 which can be connected to thelower reflection plate 48 and afiltering layer 492 arranged on thesupport 491, thefiltering layer 492 comprises at least two layers which are sequentially distributed on thesupport 491 at intervals, and a space for air flow to flow through is arranged between the two adjacent filtering layers 492. Asupport piece 493 is included for preventing adjacent filter layers 492 from fitting to each other, and thesupport piece 493 is connected to thesupport 491 and is positioned in the space between the adjacent filter layers 492.
The method specifically comprises the following steps: the supportingmember 493 is a supporting bar transversely placed in the space, and the end of the supporting bar is connected to thebracket 491. Thebracket 491 is integrally annular frame structure, and the outer side wall of thebracket 491 is provided with a connecting piece which can be detachably connected to the air fryer. In this embodiment, the connector includes a tongue 494 (in this embodiment, the side wall of thelower reflection plate 48 is provided with asocket 482, and thetongue 494 is inserted into the socket 482), thetongue 494 is connected to the outer side wall of one side of thebracket 491; the outer side wall of the other side of thesupport 491 is provided with a clampinggroove 495 which is matched with aclamping hook 483 on the air fryer (in the embodiment, theclamping hook 483 is arranged on the side wall of the lower radiation plate 48). Theslots 495 extend circumferentially along the outer sidewall of thestent 491. To facilitate access, thesoot filter assembly 49 further includes ahandle 496, wherein thehandle 496 is engaged with thegroove 495. In this embodiment, the filter layers 492 are formed in two layers and are connected to the upper and lower edges of thesupport 491, respectively. The supportingmember 493 is a cross-shaped structure as a whole, but supporting thefiltering layer 492 without obstructing the flow of hot air may be implemented by other supporting members. By arranging the oilfume filtering component 49, oil fume of a part of wind can be filtered, and the oil fume is prevented from being adhered to theheating component 46 and thehot wind blade 44 to influence the use.
In this embodiment, in order to facilitate the opening and closing of thelid 40, the air fryer further includes arotating mechanism 50, thelid 40 is hinged to the base 30 through therotating mechanism 50, thebracket 51 is disposed on the left and right sides of therotating mechanism 50, and theoil collecting tank 52 is disposed at the hinged position of therotating mechanism 50 and thebase 30. Wherein, the rotatingmechanism 50 comprises arotating plate 53 and arotating shaft 54, the upper end of therotating plate 53 is connected with the rear side of thepot cover 40, and the lower end is rotatably connected with the base 30 through the rotatingshaft 54; theoil sump 52 is disposed on theshaft 54 and connected to thebase 30. The rotatingplate 53 is provided therein with aspace 530 for accommodating a circuit board, and therotating plate 53 is provided with heat dissipating holes communicating with thespace 530. The method specifically comprises the following steps: the rotatingplate 53 is provided with afourth air inlet 53A and afourth air outlet 53B communicated with thespace 530, thefourth air inlet 53A is communicated with thefirst air vent 47B, and thefourth air outlet 53B is communicated with the outside.
In order to prevent oil and water adhered to thelid 40 from dripping everywhere after thelid 40 is opened, an oil guide channel is disposed on a working surface (i.e., the working surface of the upper reflection plate 42) of thelid 40 opposite to thepot body 10, the oil and water on the working surface being guided to the rear side of thelid 40 after thelid 40 is opened, and theoil collection groove 52 is located below an outlet of the oil guide channel after thelid 40 is opened. The method specifically comprises the following steps: the working surface of theupper reflection plate 42 is provided with a firstoil guide groove 421 and a secondoil guide groove 422 which extend from the left side and the right side of the working surface to the rear side relatively along the edge of the working surface, the firstoil guide groove 421 and the secondoil guide groove 422 form the oil guide channel, aspace 420 is left between the end part of the rear side of the firstoil guide groove 421 and the end part of the rear side of the secondoil guide groove 422, and thespace 420 is an outlet of the oil guide channel.
In this embodiment, theupper reflection plate 42 is in the shape of an inverted bowl as a whole, and the inner wall surface of theupper reflection plate 42 is the above-described working surface. The edge of theupper reflection plate 42 is provided with an outwardconvex connection ring 423, and theconnection ring 423 is connected with themotor frame 47 through a screw, so that themotor frame 47 and theupper reflection plate 42 separate the cavity of thehousing 41 up and down. Theupper reflection plate 42 includes a firstunit reflection plate 424 and a secondunit reflection plate 425 which are internally and externally sleeved, and the first unit reflection plate and the second unit reflection plate are connected by theconnection ring 423. Therefore, after thepot cover 40 is opened, oil and water on thepot cover 40 can flow to the outlet along the first oil guide groove and the second oil guide groove and then are collected into theoil collecting groove 52, so that the collection of the oil and water is realized, and the use sanitation is further improved. In order to exhaust the oil smoke generated in the working process, afirst exhaust port 411 is formed in thehousing 41, asecond exhaust port 426 is formed in theupper reflection plate 42, and thefirst exhaust port 411 and thesecond exhaust port 426 are connected through an exhaust pipe 427 (the bottom of theexhaust pipe 427 is connected to theupper reflection plate 42 and communicated with the second exhaust port, and the top of theexhaust pipe 427 penetrates through thefirst exhaust port 411 to exhaust the oil smoke). Thus, the generated oil smoke can be discharged to the outside through thesmoke discharge pipe 427. In this embodiment, thesmoke discharge pipe 427 is disposed obliquely.
As shown in fig. 18, the path of the hot wind circulation in this embodiment is: the hot air from theair outlet 44B of thehot air blade 44 enters thepot body 10 along thepot cover 40 and flows to thebaking tray 20 along the inner wall of thepot body 10, flows to the middle part of thebaking tray 20 along theflow guide channel 24 from the edge of thebaking tray 20, and is sucked into thehot air blade 44 after passing through the oilsmoke filtering component 49 and theheating component 46 in sequence under the negative pressure of theair inlet 44A of thehot air blade 44, and is blown out from theair outlet 44B of thehot air blade 44, thereby completing a complete hot air circulation. Of course, some hot air will flow to the lower part of thebaking tray 20 along the inner wall of thepot body 10 and will be sucked into thehot air blade 44 from theoil leakage hole 22 in the middle of thebaking tray 20. Therefore, a heat circulation space for circulating hot air is formed between the working surfaces of thepot body 10 and theupper reflection plate 42.
The temperature of the base 30 can be raised by the hot air circulation, in order to realize the heat dissipation of the base 30, the base 30 in this embodiment includes an outer wall 31 and an inner wall 32, and a hollow structure is formed between the outer wall 31 and the inner wall 32 of the base 30, a third air inlet 30A is opened on the upper end surface of the base 30 corresponding to the second air vent 47C, and a third air vent 30B communicated with the third air inlet 30A is opened on the outer wall 31 of the base 30 (when the pot cover 40 is covered on the base 30, the lower end surface of the support ring 472 on the motor frame 47 is in contact fit with the upper end surface of the base 30); a cold circulation space for cold air circulation is formed among the shell 41, the upper end surface of the upper reflecting plate 42, the motor frame 47 and the base 30; in this embodiment, the third ventilation opening 30B is disposed at the bottom and the rear side of the base 30, a part of the cool air flows out from the bottom of the base 30 to enter the outside, another part of the cool air flows out from the rear side of the base 30, and the cool air flowing out from the rear side of the base 30 can further cool the rotating plate 53.
Therefore, the cooling air circulation path in this embodiment is: after the outside air is sucked into themotor frame 47 along thefirst air inlet 41A of thehousing 41 and thesecond air inlet 47A of themotor frame 47, the outside air is blown out from thefirst ventilation opening 47B under the action of thecold air blade 43, and a part of cold air blown out from thefirst ventilation opening 47B enters therotating plate 53 from thefourth air inlet 53A, flows out from thefourth ventilation opening 53B after cooling the circuit board in therotating plate 53, and is blown to the outside; another part of the cool air is blown out from the second ventilation opening 47C of themotor frame 47 and enters the inside of the base 30 from the third ventilation opening 30A of the base 30 to cool the base 30, prevent the base from overheating, and then goes out from thethird ventilation opening 30B.
When the cooker is used, in order to avoid the situation that cooking is carried out without placing thecooker body 10, amicroswitch 60 for detecting whether thecooker body 10 is placed or not and atransmission piece 61 capable of triggering themicroswitch 60 are further arranged. As shown in fig. 18, 19 and 20, themicro switch 60 is a normally open structure, the air fryer only works when themicro switch 60 is open, thepan body 10 is provided with a trigger part which is matched with thetransmission member 61, the trigger part acts on thetransmission member 61 when thepan body 10 is positioned in the machine base to enable themicro switch 60 to be still in the open state, and thetransmission member 61 resets and drives themicro switch 60 to be closed when thepan body 10 is separated from the machine base. Since the base of the embodiment includes thebase 30 and thelid 40, in order to detect whether thelid 40 is closed or not, themicro switch 60 and thetransmission member 61 are disposed on the lid 40 (in this embodiment, themicro switch 60 and thetransmission member 61 are disposed on the motor frame 47), the trigger portion acts on thetransmission member 61 to make themicro switch 60 still in the open state when thelid 40 is closed and thepot body 10 is located in thebase 30, and thetransmission member 61 resets and drives themicro switch 60 to close when thelid 40 is opened or/and thepot body 10 is away from thebase 30. In order to ensure that thepot body 10 can be stably matched with thetransmission piece 61, the upper edge of thepot body 10 is provided with aflanging 11, and the trigger part is positioned on theflanging 11 so as to increase the contact surface of thepot body 10.
The specific structure of thetransmission member 61 is: thetransmission member 61 comprises atransmission rod 62 vertically arranged and aspring 63 sleeved on thetransmission rod 62 to enable the transmission rod to always have a downward moving trend, the lower end of thetransmission rod 62 is matched with the trigger part to be separated from or act on the trigger part, and the upper end of thetransmission rod 62 is matched with acontact 64 of themicroswitch 60 to be closed or separated from thecontact 64; in a state where the lower end of thetransmission lever 62 acts on the trigger portion, thetransmission lever 62 moves upward, and the upper end of thetransmission lever 62 is disengaged from thecontact 64 of themicroswitch 60; when the lower end of thetransmission rod 62 is separated from the trigger portion, thetransmission rod 62 moves downward and returns by thespring 63, and the upper end of thetransmission rod 62 contacts with thecontact 64 of themicroswitch 60 to drive thecontact 64 to close. (in this embodiment, the upper end of thetransmission rod 62 is protruded with astep 621, thestep 621 is located above thecontact 64 of themicro switch 60, when thetransmission rod 62 moves downwards, thestep 621 contacts with thecontact 64 of themicro switch 60 and drives thecontact 64 to be closed, and when thetransmission rod 62 moves upwards, thestep 621 is separated from thecontact 64 of themicro switch 60, and thecontact 64 is in an open state). In order to make thetransmission rod 62 work stably, thetransmission member 61 further comprises asupport seat 65 disposed on themotor frame 47 of thepot cover 40, aguide groove 650 is vertically disposed on a side surface of thesupport seat 65, and thetransmission rod 62 is disposed in theguide groove 650 and can move up and down along theguide groove 650; themicroswitch 60 is disposed at the upper portion of thesupport base 65. In order to limit the moving distance of thetransmission rod 62, afirst step 651 for limiting the highest position of thetransmission rod 62 is provided at the upper portion of theguide groove 650, asecond step 652 for limiting the lowest position of thetransmission rod 62 is provided at the lower portion, and aflange 622 for engaging with the first and second steps is provided on thetransmission rod 42. Thespring 63 is sleeved on thetransmission rod 62 and then positioned in theguide groove 650, the lower end of thespring 63 is supported on theflange 622, the upper end of thespring 63 can abut against thefirst step 651, and thespring 63 is compressed in the upward movement process of thetransmission rod 62, so that thetransmission rod 62 always has a downward movement tendency. Thus, when the lower end of thetransmission rod 62 is separated from the trigger portion (i.e. thepot body 10 is not put into the base 30 or/and thepot cover 40 is not covered), thetransmission rod 62 moves downwards under the action of thespring 63, the upper end of thetransmission rod 62 drives themicro switch 60 to be closed, and when themicro switch 60 is closed, the air fryer cannot perform cooking work. When the lower end of thetransmission rod 62 abuts against the trigger part (i.e. thepot body 10 is put into thebase 30 and thepot cover 40 is covered), thetransmission rod 62 moves upwards, the upper end of thetransmission rod 62 is far away from themicro switch 60, themicro switch 60 is in a normally open state, and the air fryer can perform cooking.
In order to prevent thelid 40 from being stuck or untight during the closing process, the closing surface of thelid 40 and thebase 30 is an inclined surface with an inclination B of less than or equal to 30 degrees, which is inclined toward the rear and lower side, as shown in fig. 17. And because the drivingmotor 45, theheating element 46, thehot air fan 44 and other parts are all arranged in thepot cover 40, thepot cover 40 is heavier, and in order to avoid accidental hand clamping when thepot cover 40 is opened, a torsional spring is arranged at the rotary joint of thepot cover 40 and thebase 30, namely, the torsional spring is arranged on therotating shaft 54 of therotating mechanism 50, so that thepot cover 40 can be slowly opened under the action of the torsional spring after being opened. As shown in fig. 16 and 18, in order to detect the temperature in the pan, atemperature detecting device 70 is further disposed on thepan cover 40, and thetemperature detecting device 70 can refer to the prior art and is not described herein.

Claims (9)

1. An air fryer comprises a machine base; a pan body (10) arranged in the machine base; a baking tray (20) arranged in the pan body (10); the hot air device is arranged in the base and used for generating hot air, and the hot air device is arranged above the baking tray (20); the method is characterized in that:
the baking tray (20) comprises a tray-shaped body (21), oil leakage holes (22) are formed in the tray-shaped body (21), a plurality of protruding pieces (23) are convexly arranged on the upper end face of the tray-shaped body (21) at intervals, and the upper end faces of the protruding pieces (23) integrally form a supporting face for placing food; a flow guide channel (24) for hot air to flow through is formed between every two adjacent convex pieces (23);
the hot air device comprises a hot air fan blade (44); a driving motor (45) which can drive the hot wind blade (44) to rotate; and a heating member (46); the hot air fan blade (44) comprises a rotary disc (441) and a plurality of blades (442), wherein the blades (442) are arranged on the lower end face of the rotary disc (441) in a downward protruding mode and are arranged at intervals in the circumferential direction of the edge of the rotary disc (441) in a surrounding mode, each blade (442) is arranged in an inclined mode along the rotating direction of the rotary disc (441), an air outlet (44b) enabling passing hot air to rotate is formed between every two adjacent blades (442), and an air inlet (44A) allowing hot air to enter is formed between the lower end face of the rotary disc (441) and each blade (442).
2. An air fryer according to claim 1, wherein: the bulges (23) are in a strip-shaped structure, and the bulges (23) are radially distributed around the middle part of the disc-shaped body (21) and the outward edge; and the flow guide channel (24) for hot air to flow from the outer edge of the disc-shaped body (21) to the middle part is formed between two adjacent convex pieces (23).
3. An air fryer according to claim 2, wherein: each of the protruding pieces (23) is bent in a clockwise or counterclockwise direction.
4. An air fryer according to claim 2, wherein: the disc-shaped body (21) is of a structure with a low middle part and a high outer edge, and the oil leakage hole (22) is formed in the middle of the disc-shaped body (21).
5. An air fryer according to claim 4, wherein: the oil leakage holes (22) are positioned at the center of the disc-shaped body (21) and on a plurality of concentric circumference lines taking the center of the disc-shaped body (21) as the circle center, and the inner ends of the flow guide channels (24) correspond to the oil leakage holes (22).
6. An air fryer according to claim 1, wherein: the hot air fan blade (44) also comprises an air guide ring (443), and the air guide ring (443) is connected with the lower end part of each blade (442).
7. An air fryer according to claim 1, wherein: each blade (442) and the rotary disc (441) are arranged in an inclined manner at an angle of 20-80 degrees in the radial direction; the number of vanes (442) is at least 10.
8. An air fryer according to claim 1, wherein: the upper end face of the disc-shaped body (21) is provided with a lifting handle (25), and the upper part of the machine base is provided with a bracket (51) which can support the lifting handle (25) to enable the disc-shaped body (21) to be vertically placed.
9. An air fryer according to claim 8, wherein: an oil collecting tank (52) used for supporting the baking tray (20) and collecting oil and water on the baking tray (20) is arranged at the bottom of the base.
CN201920962241.2U2019-06-242019-06-24Air frying panWithdrawn - After IssueCN210446771U (en)

Priority Applications (1)

Application NumberPriority DateFiling DateTitle
CN201920962241.2UCN210446771U (en)2019-06-242019-06-24Air frying pan

Applications Claiming Priority (1)

Application NumberPriority DateFiling DateTitle
CN201920962241.2UCN210446771U (en)2019-06-242019-06-24Air frying pan

Publications (1)

Publication NumberPublication Date
CN210446771Utrue CN210446771U (en)2020-05-05

Family

ID=70442097

Family Applications (1)

Application NumberTitlePriority DateFiling Date
CN201920962241.2UWithdrawn - After IssueCN210446771U (en)2019-06-242019-06-24Air frying pan

Country Status (1)

CountryLink
CN (1)CN210446771U (en)

Cited By (1)

* Cited by examiner, † Cited by third party
Publication numberPriority datePublication dateAssigneeTitle
CN110101316A (en)*2019-06-242019-08-09郭鑫A kind of air fryer

Cited By (1)

* Cited by examiner, † Cited by third party
Publication numberPriority datePublication dateAssigneeTitle
CN110101316A (en)*2019-06-242019-08-09郭鑫A kind of air fryer

Similar Documents

PublicationPublication DateTitle
US5513558A (en)Rapid cooking device
CN110101316A (en)A kind of air fryer
CN210902654U (en)Pot cover and air fryer with same
CN106361175A (en)Multifunctional air fryer with functions of oven and frying pan
CN108294640A (en)A kind of electric oven for frying function with air
CN110101317A (en)A kind of pot cover and the air fryer with the pot cover
CN104146623A (en)Electric oven with air frying function
CN110151002A (en) A baking pan and an air fryer with the baking pan
CN208740748U (en)A kind of electric oven for frying function with air
CN214549018U (en)Air fryer with uniform heating
CN210446767U (en) Oil fume filter assembly and air fryer with the oil fume filter assembly
CN210446768U (en)Air frying pan
CN204016036U (en)A kind of electric oven exploding function with air
CN211355052U (en)Baking tray and air fryer with same
CN210446771U (en)Air frying pan
CN210446774U (en)Air frying pan
CN214856129U (en)Frying basket assembly of air frying pot and air frying pot
CN210611930U (en) A kind of fan blade and air fryer with the fan blade
CN210446772U (en) an air fryer
CN214841068U (en) An all-in-one frying machine with a new oil receiving box
CN210446773U (en) Reflector and air fryer having the same
CN216724257U (en) A separate air fryer
CN215424222U (en)Multifunctional air cooking device with flow guide structure
CN213787007U (en)Air fryer with oil smoke filter screen
CN210041493U (en)Motor frame and air fryer with same

Legal Events

DateCodeTitleDescription
GR01Patent grant
GR01Patent grant
AV01Patent right actively abandoned
AV01Patent right actively abandoned
AV01Patent right actively abandoned

Granted publication date:20200505

Effective date of abandoning:20241029

AV01Patent right actively abandoned

Granted publication date:20200505

Effective date of abandoning:20241029


[8]ページ先頭

©2009-2025 Movatter.jp