Movatterモバイル変換


[0]ホーム

URL:


CN210077759U - Nail bin assembly for surgical instrument and surgical instrument - Google Patents

Nail bin assembly for surgical instrument and surgical instrument
Download PDF

Info

Publication number
CN210077759U
CN210077759UCN201920261188.3UCN201920261188UCN210077759UCN 210077759 UCN210077759 UCN 210077759UCN 201920261188 UCN201920261188 UCN 201920261188UCN 210077759 UCN210077759 UCN 210077759U
Authority
CN
China
Prior art keywords
surgical instrument
nail
pusher
staple cartridge
nail bin
Prior art date
Legal status (The legal status is an assumption and is not a legal conclusion. Google has not performed a legal analysis and makes no representation as to the accuracy of the status listed.)
Active
Application number
CN201920261188.3U
Other languages
Chinese (zh)
Inventor
孙宝峰
张志星
Current Assignee (The listed assignees may be inaccurate. Google has not performed a legal analysis and makes no representation or warranty as to the accuracy of the list.)
Jiangsu Fengh Medical Equipment Co Ltd
Original Assignee
Jiangsu Fengh Medical Equipment Co Ltd
Priority date (The priority date is an assumption and is not a legal conclusion. Google has not performed a legal analysis and makes no representation as to the accuracy of the date listed.)
Filing date
Publication date
Application filed by Jiangsu Fengh Medical Equipment Co LtdfiledCriticalJiangsu Fengh Medical Equipment Co Ltd
Priority to CN201920261188.3UpriorityCriticalpatent/CN210077759U/en
Application grantedgrantedCritical
Publication of CN210077759UpublicationCriticalpatent/CN210077759U/en
Activelegal-statusCriticalCurrent
Anticipated expirationlegal-statusCritical

Links

Images

Landscapes

Abstract

The utility model discloses a nail bin assembly for surgical instruments, which comprises a cutting knife, a pusher and a nail bin body extending along the lengthwise direction; the nail bin body is provided with a cutter slot extending along the longitudinal direction, one part of the cutter and one part of the pusher are both positioned in the cutter slot, one part of the cutter is positioned behind one part of the pusher, and one part of the cutter is adjacent to one part of the pusher; the cutting burr includes a coupling portion for detachable coupling with a pusher member of the surgical instrument. After the cutting knife finishes cutting the tissue, the cutting knife can return to the initial position under the drive of the knife pushing piece, namely, the cutting knife is no longer positioned at the front side of the nail bin, and the cutting knife is prevented from damaging the tissue of a patient and a doctor.

Description

Nail bin assembly for surgical instrument and surgical instrument
Technical Field
The utility model relates to a surgical instrument field.
Background
The surgical instrument is a surgical tool in medical operation, and the suture instrument is one of the surgical instruments, is a device used in medicine and replaces manual suture, and has the main working principle of utilizing suture nails to perform anastomosis on tissues, similar to a stapler. The stapling instrument includes a pair of cooperating elongated jaw members that may be adapted to be inserted into a patient to staple and/or cut tissue, and that may support a cartridge. At present, current nail storehouse generally includes the nail storehouse body and sets up the suturing nail in the nail storehouse body, and the nail storehouse body is provided with a plurality of nail chamber that are used for accomodating the suturing nail. The nail bin body is provided with a knife slot extending along the longitudinal axis of the nail bin body, and the nail cavities are arranged on two sides of the knife slot along the longitudinal axis. The knife slot is used for installing a cutting knife and can move along the knife slot. The cutting knife comprises a base part and a knife edge part extending from the base part, the base part is positioned in the knife slot and moves along the knife slot, and the knife edge part is positioned above the nail bin body and is used for cutting tissues. The suturing instrument is internally provided with a cutter pushing piece, when the nail bin provided with the cutting knife is arranged in the suturing instrument, the cutter pushing piece is matched with the cutting knife, and the cutter pushing piece pushes the cutting knife to enable the cutting knife to advance in the knife slot so as to cut tissues. However, in the prior art, when the nail bin with the cutting knife is installed in the suturing instrument, the cutting knife and the cutting knife cannot be fixedly matched, and the cutting knife can only be pushed to move forwards by the cutting knife and cannot be driven to return, namely, after the cutting knife cuts the tissue, the cutting knife cannot be brought back to the initial position by the cutting knife. Because the front side of the nail bin is positioned at the front end of the opening of the jaw member (namely the end effector), the blade part of the cutting knife which cannot return is exposed at the front side of the nail bin, and the blade part easily damages tissues in the process that a doctor takes the jaw member out of a patient body, and the doctor is easily injured by the blade part when replacing the nail bin.
SUMMERY OF THE UTILITY MODEL
An object of the utility model is to provide a nail storehouse subassembly for surgical instrument, nail storehouse subassembly include the cutting knife, and the cutting knife replies to initial position after the cutting tissue finishes.
In order to achieve the above purpose, the utility model discloses a following technical scheme realizes:
a cartridge assembly for a surgical instrument comprising a cutting knife, a pusher and a cartridge body extending in a lengthwise direction; the staple cartridge body is provided with a knife slot extending along the longitudinal direction, a part of the cutting knife and a part of the pusher are both positioned in the knife slot, the part of the cutting knife is positioned behind the part of the pusher, and the part of the cutting knife is adjacent to the part of the pusher; the cutting burr includes a coupling portion for detachably coupling with a pusher member of the surgical instrument.
Further, the staple cartridge body comprises an insertion end and a tail end; in an initial state, the pusher is located at the distal end of the cartridge body, and a portion of the pusher extends beyond an end surface of the distal end of the cartridge body.
Further, the staple cartridge body comprises an insertion end and a tail end; the pusher comprises an extension part extending backwards, and at least one part of the extension part exceeds the end surface of the tail end of the nail box body in an initial state.
Furthermore, the pusher comprises a limiting block and abutting pieces positioned on two sides of the limiting block, the limiting block is positioned in the knife slot, the part of the pusher comprises the limiting block, and the abutting pieces comprise abutting parts arranged in the nail bin body and the extending parts extending backwards from the abutting parts.
Further, the bottom surface of the extension part is higher than the bottom surface of the nail bin body.
Furthermore, the number of the pushing parts is two, each pushing part comprises two pushing blocks arranged in parallel, and the extending part extends backwards from the pushing blocks.
Furthermore, each abutting part comprises a first abutting block and a second abutting block which are arranged in parallel, the first abutting block is closer to the limiting block relative to the second abutting block, and the extending part extends backwards from the first abutting block.
Further, in the initial state and after the cutter retreats, the connecting part is positioned outside the nail bin body.
Further, the cutting burr includes a base portion, a blade portion extending upwardly from the base portion, and an attachment portion extending rearwardly from the base portion, the base portion being located within the burr slot, the portion of the cutting burr including the base portion; the additional portion includes the connecting portion.
Further, the connecting portion is a first accommodating structure, and the first accommodating structure is used for accommodating a part of the cutter pushing piece.
Further, the first accommodating structure is a concave part formed by downwards sinking.
Further, the staple cartridge body comprises an insertion end and a tail end; the knife slot divides the nail bin body into a first side part and a second side part, the tail end of the nail bin body is provided with a first protruding part and a second protruding part which protrude upwards from the top surface of the nail bin body, the first protruding part is located on the first side part, and the second protruding part is located on the second side part.
Further, the push-type broach piece comprises a second accommodating structure, and the second accommodating structure is used for accommodating a part of the cutting knife.
Further, the push-type broach piece comprises a body part extending along the lengthwise direction, and a first extension part and a second extension part extending downwards from the body part; the body part is provided with a notch formed by sinking upwards from the bottom surface of the body part; and another notch is formed by upward sinking between the first extension part and the second extension part, and the another notch is the second accommodating structure.
Further, the nail cartridge assembly further comprises a stitching nail and a nail pushing piece, the nail cartridge body is provided with a stitching nail cavity, the stitching nail is contained in the stitching nail cavity, and the nail pushing piece is used for pushing the stitching nail out of the stitching nail cavity; the pusher is used for pushing the nail pushing piece.
In order to achieve the above purpose, the utility model discloses still can realize through following technical scheme:
a surgical instrument comprising a shaft assembly, an end effector disposed at one end of the shaft assembly; the shaft assembly includes the push-knife, a portion of the push-knife being located within the end effector; the surgical instrument further comprises a staple cartridge assembly for a surgical instrument according to any of the above, said staple cartridge assembly being detachably mounted to said end effector.
Further, the end effector is provided with a limiting piece, and in an initial state, the limiting piece abuts against the cutter pushing piece; the nail bin assembly applies force to the limiting piece to enable the limiting piece to be separated from the knife pushing piece.
Further, the end effector comprises a staple bin seat and a staple abutting seat which is pivotally connected with the staple bin seat, and the staple bin assembly is detachably arranged on the staple bin seat; the limiting piece is pivotally arranged on the nail bin seat.
Furthermore, the limiting part comprises a main body part, a first convex column and a second convex column, the first convex column extends from the main body part to one side in the transverse direction, the second convex column extends from the main body part to the other side in the transverse direction, the nail bin seat comprises two opposite side walls, each side wall is provided with an accommodating hole, each accommodating hole comprises a first accommodating hole and a second accommodating hole, the first convex column is pivotally arranged in the first accommodating hole, and the second convex column is pivotally arranged in the second accommodating hole.
Furthermore, the limiting member further includes a protrusion extending from the main body, and the protrusion and the first protruding pillar extend in the same direction.
Furthermore, the limiting part further comprises a torsion spring, the torsion spring is wound on the first convex column, and one end of the torsion spring abuts against the convex block.
Further, the end effector comprises a nail bin seat and a nail abutting seat which is pivotally connected with the nail bin seat; the surgical instrument further comprises an elastic sheet arranged in the nail bin seat, one end of the elastic sheet abuts against the bottom wall of the nail bin seat, and the other end of the elastic sheet abuts against the knife pushing piece.
Further, the surgical instrument further comprises a handle assembly from which the shaft assembly extends; the handle assembly comprises a transmission mechanism, the transmission mechanism is connected to the rod body assembly, and the transmission mechanism drives the rod body assembly to move forwards or backwards.
The utility model has the advantages that: after the cutting knife finishes cutting the tissue, the cutting knife can return to the initial position under the drive of the knife pushing piece, namely, the knife edge part is no longer positioned at the front side of the nail bin, and the knife edge part is prevented from damaging the tissue of a patient and a doctor.
Drawings
Fig. 1 is a schematic structural view of an end effector and a knife pushing member of the stapler according to the present invention;
FIG. 2 is an exploded perspective view of the end effector and knife pusher member of FIG. 1;
FIG. 3 is a schematic view of the staple cartridge assembly and knife pusher of FIG. 2;
FIG. 4 is an enlarged view of the circled portion shown in FIG. 3;
FIG. 5 is a schematic view of the staple cartridge assembly of FIG. 3 shown at an alternate angle to the pusher member;
FIG. 6 is an enlarged view of the circled portion shown in FIG. 5;
FIG. 7 is an exploded perspective view of the cartridge assembly and knife pusher of FIG. 3;
FIG. 8 is an enlarged view of the circled portion shown in FIG. 7;
FIG. 9 is a further exploded perspective view of the staple cartridge assembly and pusher member of FIG. 7;
FIG. 10 is an enlarged view of the circled portion shown in FIG. 9;
FIG. 11 is a schematic structural diagram of the limiting member shown in FIG. 7;
fig. 12 is a schematic structural view of the pushing member shown in fig. 9;
FIG. 13 is a schematic view of the position-limiting member shown in FIG. 3 being disengaged from the second recess of the knife pushing member;
FIG. 14 is an enlarged view of the circled portion shown in FIG. 13;
fig. 15 is a schematic structural view of the cutting blade, the limiting member and the blade pushing member shown in fig. 13.
Detailed Description
Reference will now be made in detail to embodiments of the present invention, examples of which are illustrated in the accompanying drawings.
The terms "first", "second" and "first" are used for descriptive purposes only and are not to be construed as indicating or implying relative importance or implicitly indicating the number of technical features indicated. Thus, a feature defined as "first" or "second" may explicitly or implicitly include at least one such feature. In the description of the present invention, "a plurality" means at least two, e.g., two, three, etc., unless specifically limited otherwise. The meaning of "a number" is at least one.
The embodiments described below with reference to the drawings are exemplary and intended to be used for explaining the present invention, and should not be construed as limiting the present invention.
The utility model discloses an anastomat (not shown), it includes handle components, the pole body subassembly that extends from handle components and sets up in theend effector 100 of pole body subassembly one end. The handle component comprises a body and a transmission mechanism arranged on the body, the transmission mechanism is connected with the rod body component, and the transmission mechanism drives the rod body component to move forwards or backwards. As shown in fig. 1 to 2, theend effector 100 includes amagazine base 10 and astaple abutting base 20 pivotally connected to themagazine base 10, and thestaple cartridge assembly 30 can be engaged with themagazine base 10 and removed from themagazine base 10, i.e. thestaple cartridge assembly 30 is detachably mounted on themagazine base 10. Thecartridge assembly 30 includes acartridge 40 and a cuttingknife 50 disposed on thecartridge 40. The shaft assembly includes apusher member 60, a portion of thepusher member 60 being located within theend effector 100, thepusher member 60 being adapted to move thecutting blade 50 forward or backward. Themagazine base 10 is further provided with aspring plate 70, one end of thespring plate 70 abuts against thebottom wall 11 of themagazine base 10, the other end of thespring plate 70 abuts against the push-type cutter 60, and thespring plate 70 provides an upward supporting force for the push-type cutter 60, so that a part of the push-type cutter 60 abuts against the nail-abuttingbase 20. As used herein, the terms "anterior" and "posterior" are relative to aclinician manipulating stapler 100, the term "posterior" referring to a direction closer to the clinician, the term "anterior" referring to a direction further away from the clinician; as used herein, the term "longitudinal direction" refers to the direction extending between the front and back, and the term "transverse direction" refers to the direction perpendicular to the longitudinal direction; the terms "upper" and "lower" are used herein in a relative sense, i.e., "anvil seat 20" is "upper" and "cartridge seat 10" is "lower". The term "disposed" is used throughout to denote a connection or positional relationship between two components.
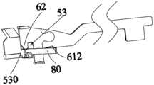
As shown in fig. 3 to 12, themagazine 40 includes staples (not shown), a staple pusher (not shown), amagazine body 41 extending in the longitudinal direction, apusher 42 attached to themagazine body 41, and abracket 43. The cuttingknife 50 is also mounted on thecartridge body 41, the cuttingknife 50 is disposed adjacent to thepusher 42, and thebracket 43 is used for limiting thepusher 42 and the cuttingknife 50, and preventing thepusher 42 and the cuttingknife 50 from being separated from thecartridge body 41 downwards. The abutting means that the cuttingknife 50 is adjacent to and abutted against thepusher 42, and the cuttingknife 50 and thepusher 42 are not fixed with each other, so that the cuttingknife 50 pushes thepusher 42 to advance forwards when advancing forwards, and thepusher 42 is left at the front side of thestaple cartridge body 41 when the cuttingknife 50 retreats. Thecartridge body 41 has a plurality ofstaple cavities 411, the staples are arranged in thestaple cavities 411, a part of the staple pusher is also arranged in thestaple cavities 411 and abuts against the bottoms of the staples, when thepusher 42 moves, thepusher 42 drives the staple pusher to move upwards, and the staple pusher pushes the staples out. Whenmagazine 40 is not in use, a cover (not shown) is attached tomagazine 40 to prevent dust from enteringmagazine 40. Themagazine body 41 is formed with aknife slot 412 along the longitudinal direction, and theknife slot 412 allows the cuttingknife 50 to move inward. Thecartridge body 41 comprises aninsertion end 413 and atip 414, and in an initial state, thepusher 42 is located at thetip 414 of thecartridge body 41, and when the cuttingknife 50 advances forward in theknife slot 412, the cuttingknife 50 pushes thepusher 42 forward, and thepusher 42 pushes the staple pusher to move upward, and the staple pusher pushes staples out from thestaple cavities 411. The cuttingknife 50 comprises abase part 51, aknife edge part 52 extending upwards from thebase part 51 and anadditional part 53 extending backwards from thebase part 51, thebase part 51 is positioned in theknife slot 412, theknife edge part 52 is positioned above theknife slot 412, in an initial state, theadditional part 53 exceeds the rear end surface of thenail bin body 41, theadditional part 53 comprises a connectingpart 530, the connectingpart 530 is positioned outside thenail bin body 41, and the connectingpart 530 is used for being detachably connected with theknife pushing part 60; the rear end surface of thecartridge body 41 is the end surface of thetip 414 of thecartridge body 41. The connectingportion 530 is a first receiving structure for receiving a portion of thepush blade 60, and the first receiving structure is a concave portion formed by recessing downward from the top surface of theadditional portion 53, that is, the connectingportion 530 is a concave portion. In the initial state, therecess 530 is located outside thecartridge body 41, and therecess 530 is used for accommodating a portion of theknife pushing element 60, so that theknife pushing element 60 is connected with the cuttingknife 50, and theknife pushing element 60 drives the cuttingknife 50 to advance forwards or backwards in theknife slot 412. Theknife slot 412 divides thecartridge body 41 into afirst side portion 4151 and asecond side portion 4152, theend 414 of thecartridge body 41 is provided with afirst protrusion 4161 and asecond protrusion 4162 protruding upward from the top surface thereof, thefirst protrusion 4161 is located on thefirst side portion 4151, thesecond protrusion 4162 is located on thesecond side portion 4152, in the initial state, thefirst protrusion 4161 and thesecond protrusion 4162 are located on both sides of theknife portion 52, and thefirst protrusion 4161 and thesecond protrusion 4162 are used for protecting theknife portion 52 in the initial state to prevent theknife portion 52 from being damaged by foreign objects, so that a doctor cannot be damaged by theknife portion 52 when the doctor is loaded into thecartridge 40. Thepusher 42 includes astop block 421 and two pushingmembers 422 located at two sides of thestop block 421, thestop block 421 is located in theknife slot 412, the pushingmembers 422 include a pushingportion 423 disposed in themagazine body 41 and an extendingportion 424 extending backward from the pushingportion 423, and in an initial state, the extendingportion 424 exceeds a rear end surface of themagazine body 41. The pushingportion 423 includes a first pushingblock 425 and a second pushingblock 426 disposed in parallel, the first pushingblock 425 is closer to the limitingblock 421 relative to the second pushingblock 426, the extendingportion 424 extends backward from the first pushingblock 425, and a bottom surface of the extendingportion 424 is higher than a bottom surface of themagazine body 41. The initial state is when thecartridge assembly 30 is not installed into theend effector 100. Thebase 51 of thecutting blade 50 and thestop 421 of thepusher 42 are both located in theblade slot 412, thebase 51 is located behind thestop 421 and thebase 51 abuts thestop 421, and thecutting blade 50 and thepusher 42 move along theblade slot 412. The term "beyond" is used in many instances herein to indicate that a feature is exposed from a reference surface relative to the reference surface.
Themagazine base 10 is further provided with a limitingmember 80 therein, the limitingmember 80 is pivotally mounted on themagazine base 10, and in an initial state, the limitingmember 80 abuts against thecutter pushing member 60. The limitingmember 80 includes a main body 81, a first protrudingcolumn 82 extending from the main body 81 to one side in the transverse direction, and a second protrudingcolumn 83 extending from the main body to the other side in the transverse direction, themagazine base 10 includes afirst side wall 12 and asecond side wall 13 disposed opposite to each other, thefirst side wall 12 is provided with afirst receiving hole 120, thesecond side wall 13 is provided with asecond receiving hole 130, the first protrudingcolumn 82 is received in thefirst receiving hole 120 and can rotate in thefirst receiving hole 120, and the second protrudingcolumn 83 is received in thesecond receiving hole 130 and can rotate in thesecond receiving hole 130. The position-limitingmember 80 further includes aprotrusion 84 extending from the main body 81, and theprotrusion 84 extends in the same direction as thefirst protrusion 82. The position-limitingmember 80 further includes atorsion spring 85, thetorsion spring 85 is wound around thefirst protrusion 82, and one end of the torsion spring is abutted against theprotrusion 84. The main body 81 includes two side arms disposed in parallel and a connectingarm 86 connecting the two side arms, the two side arms are afirst side arm 87 and asecond side arm 88 respectively, the firstconvex column 82 extends from thefirst side arm 87, the secondconvex column 83 extends from thesecond side arm 88, and a recedinggroove 89 penetrating in the up-down direction is formed between thefirst side arm 87 and thesecond side arm 88.
Thepush broach piece 60 includes abody portion 61 extending along a longitudinal direction, and afirst extension portion 62 and asecond extension portion 63 extending downward from thebody portion 61, a second receiving structure is formed between thefirst extension portion 62 and thesecond extension portion 63, the second receiving structure is used for receiving a part of thecutting blade 50, the second receiving structure is afirst recess 611 formed by upward recessing from a bottom surface of thebody portion 61 of thepush broach piece 60, thefirst recess 611 is used for receiving a part of theadditional portion 53 of thecutting blade 50, so that the connection between thepush broach piece 60 and thecutting blade 50 is more stable and reliable. Thepush knife 60 further includes asecond recess 612 formed by being recessed upward from the bottom surface of thebody portion 61, and the connectingarm 86 of the retainingmember 80 abuts against thesecond recess 612 to prevent thepush knife 60 from moving forward by an external force. The second extendingportion 63 is located between thefirst recess 611 and thesecond recess 612, and the second extendingportion 63 is disposed through the avoidinggroove 89.
Referring to fig. 13 and 15, when themagazine assembly 30 is used, the cover of themagazine 40 is removed, themagazine assembly 30 is pressed down and installed into themagazine base 10, and theretainer 80 is forced by themagazine assembly 30 to be separated from theknife pushing member 60. When themagazine assembly 30 is installed in themagazine base 10, the extendingportion 424 of thepusher 42 abuts against the side arm of the main body 81 of theretainer 80 to press the main body 81 of theretainer 80 downward, so that the main body 81 of theretainer 80 is separated from themain body 61 of thepusher 60, and at this time, thepusher 60 can move forward under the action of external force. When theanvil 20 pivots to close theend effector 100, thefirst extension 62 of thepusher member 60 moves downward under the action of theanvil 20 and into therecess 530 of theattachment portion 53 of thecutting blade 50. When thepush blade 60 moves forward, thepush blade 60 drives thecutting blade 50 to move forward. When the cuttingknife 50 moves from theend 414 of thecartridge body 41 to theinsertion end 413 of thecartridge body 41, the cutting of the tissue is completed. At this time, thepusher element 60 has to be retracted from theinsertion end 413 of thecartridge body 41 to thedistal end 414 of thecartridge body 41, and during the retraction process, thepusher element 60 brings the cuttingknife 50 back to thedistal end 414 of thecartridge body 41 as well, since thefirst extension 62 of thepusher element 60 is located in therecess 530 of theadditional portion 53 of the cuttingknife 50. When thecutting blade 50 is returned to thedistal end 414 of the cartridge body 41 (i.e., retreating), theanvil 20 pivots to open theend effector 100, and thefirst extension 62 of thepusher member 60 moves upward under the action of thespring 70 and disengages from therecess 530 of theattachment portion 53 of thecutting blade 50. Thecutting blade 50 and thepush blade member 60 can be connected or separated, and can be detachably connected. When thecartridge assembly 30 is removed from thecartridge holder 10, the extendingportion 424 of thepusher 42 no longer abuts against the side arm of the main body 81 of theretainer 80, and theretainer 80 pivots to make the connectingarm 86 abut against thesecond notch 612 of themain body 61 of thepusher 60, at this time, thepusher 60 cannot move forward under the action of external force.
When the cuttingknife 50 is returned to thedistal end 414 of thecartridge body 41, theknife edge portion 52 is no longer located at the front side of thecartridge 40, the front end of the opening when theend effector 100 is expanded, reducing the risk of theknife edge portion 52 damaging the patient tissue and the surgeon. To further enhance the protection effect, when thecutting blade 50 is returned to thedistal end 414 of thecartridge body 41, theblade portion 52 is located between thefirst protrusion 4161 and thesecond protrusion 4162, so that theblade portion 52 will not damage the tissue during the removal of theend effector 100 from the patient, and theblade portion 52 will not be damaged when the surgeon removes thecartridge 40.
In summary, thepusher 42 has anextension 424, in an initial state, theextension 424 exceeds the rear end surface of thecartridge body 41, when thecartridge assembly 30 is installed in thecartridge seat 10, theextension 424 enables thestopper 80 to disengage from theknife pushing element 60, so that theknife pushing element 60 can move forward under the action of external force, and theknife pushing element 60 is engaged with the cuttingknife 50 of thecartridge assembly 30, so that the cuttingknife 50 smoothly moves forward in theknife slot 412 under the driving of theknife pushing element 60, thereby achieving the purpose of cutting tissue; on the other hand, after thecutting blade 50 has cut the tissue, thecutting blade 50 can be smoothly returned to the initial position by the driving of thepusher element 60, and theblade portion 52 is prevented from being located at the front side of themagazine 40 and the front end of the opening when theend effector 100 is opened. Further, theknife edge portion 52 is located between thefirst protrusion 4161 and thesecond protrusion 4162, and thefirst protrusion 4161 and thesecond protrusion 4162 are used for shielding theknife edge portion 52 after the tissue is cut and retreated to prevent theknife edge portion 52 from damaging the tissue of the patient, and the doctor will not be damaged by theknife edge portion 52 when taking out thenail bin 40.
Although the embodiment of the present invention has been shown and described, it is understood that the above embodiment is illustrative and not to be construed as limiting the present invention, and those skilled in the art can make changes, modifications, substitutions and variations to the above embodiment within the scope of the present invention, and all such changes, modifications, substitutions and variations are within the scope of the present invention.

Claims (27)

CN201920261188.3U2019-02-282019-02-28Nail bin assembly for surgical instrument and surgical instrumentActiveCN210077759U (en)

Priority Applications (1)

Application NumberPriority DateFiling DateTitle
CN201920261188.3UCN210077759U (en)2019-02-282019-02-28Nail bin assembly for surgical instrument and surgical instrument

Applications Claiming Priority (1)

Application NumberPriority DateFiling DateTitle
CN201920261188.3UCN210077759U (en)2019-02-282019-02-28Nail bin assembly for surgical instrument and surgical instrument

Publications (1)

Publication NumberPublication Date
CN210077759Utrue CN210077759U (en)2020-02-18

Family

ID=69471275

Family Applications (1)

Application NumberTitlePriority DateFiling Date
CN201920261188.3UActiveCN210077759U (en)2019-02-282019-02-28Nail bin assembly for surgical instrument and surgical instrument

Country Status (1)

CountryLink
CN (1)CN210077759U (en)

Cited By (4)

* Cited by examiner, † Cited by third party
Publication numberPriority datePublication dateAssigneeTitle
CN111616763A (en)*2019-02-282020-09-04江苏风和医疗器材股份有限公司 Cartridge assembly for surgical instrument and surgical instrument
WO2022016478A1 (en)*2020-07-242022-01-27江苏风和医疗器材股份有限公司Staple cartridge assembly for surgical instrument, and surgical instrument
CN115707431A (en)*2021-08-192023-02-21江苏风和医疗器材股份有限公司 surgical instruments
CN111616763B (en)*2019-02-282025-10-17江苏风和医疗器材股份有限公司Staple cartridge assembly for a surgical instrument and surgical instrument

Cited By (5)

* Cited by examiner, † Cited by third party
Publication numberPriority datePublication dateAssigneeTitle
CN111616763A (en)*2019-02-282020-09-04江苏风和医疗器材股份有限公司 Cartridge assembly for surgical instrument and surgical instrument
CN111616763B (en)*2019-02-282025-10-17江苏风和医疗器材股份有限公司Staple cartridge assembly for a surgical instrument and surgical instrument
WO2022016478A1 (en)*2020-07-242022-01-27江苏风和医疗器材股份有限公司Staple cartridge assembly for surgical instrument, and surgical instrument
WO2022016610A1 (en)*2020-07-242022-01-27江苏风和医疗器材股份有限公司Staple cartridge assembly for surgical instrument, and surgical instrument
CN115707431A (en)*2021-08-192023-02-21江苏风和医疗器材股份有限公司 surgical instruments

Similar Documents

PublicationPublication DateTitle
EP2777535B1 (en)Surgical stapling apparatus
JP6336694B2 (en) Staple cartridge with shipping wedge
CN103860221B (en)Linear stapling cutter nail-head component
CN210009075U (en)Nail bin assembly for surgical instrument and surgical instrument
RU2009104917A (en) SURGICAL STITCHING TOOL WITH IMPROVED FIRMWARE / CUTTING LEVER DESIGN
WO2022016610A1 (en)Staple cartridge assembly for surgical instrument, and surgical instrument
CN111466976B (en)Staple cartridge for a surgical instrument and surgical instrument
CN216060619U (en) Cartridge Components and Surgical Instruments
CN103860223B (en)The nail-head component of Linear stapling cutter
US3889683A (en)Surgical apparatus for suturing soft tissues
CN217488731U (en)Manual anastomat
CN210077759U (en)Nail bin assembly for surgical instrument and surgical instrument
CN111616764B (en) Nail cartridge assembly for surgical instrument and surgical instrument
CN120381311A (en) A disassembly tool for a surgical instrument and its guide assembly
CN108209999B (en)End effector and surgical instrument
CN111466981B (en)Nail bin assembly and surgical operation instrument
JP2024520530A (en) Staple cartridge with knife
CN116999109A (en)Surgical instrument
CN111265262B (en)Staple cartridge assembly for a surgical instrument and surgical instrument
CN116138828A (en)Surgical cutting anastomat
CN108113723B (en)Surgical instrument
CN213489060U (en)Nail bin assembly and medical anastomat with same
CN202982105U (en)Nail head assembly of straight stitching and cutting device
CN104107077B (en)Stapler and the nail bin groupware for this stapler
CN111616763B (en)Staple cartridge assembly for a surgical instrument and surgical instrument

Legal Events

DateCodeTitleDescription
GR01Patent grant
GR01Patent grant

[8]ページ先頭

©2009-2025 Movatter.jp