Movatterモバイル変換


[0]ホーム

URL:


CN203207181U - Dual-composite filter rod capable of greatly reducing release amount of crotonaldehyde in cigarette mainstream smoke - Google Patents

Dual-composite filter rod capable of greatly reducing release amount of crotonaldehyde in cigarette mainstream smoke
Download PDF

Info

Publication number
CN203207181U
CN203207181UCN 201320119647CN201320119647UCN203207181UCN 203207181 UCN203207181 UCN 203207181UCN 201320119647CN201320119647CN 201320119647CN 201320119647 UCN201320119647 UCN 201320119647UCN 203207181 UCN203207181 UCN 203207181U
Authority
CN
China
Prior art keywords
crotonaldehyde
release
composite filter
filter element
composite
Prior art date
Legal status (The legal status is an assumption and is not a legal conclusion. Google has not performed a legal analysis and makes no representation as to the accuracy of the status listed.)
Expired - Lifetime
Application number
CN 201320119647
Other languages
Chinese (zh)
Inventor
廖惠云
李朝建
庄亚东
曹毅
刘献军
张映
熊晓映
韩开冬
沈晓晨
张媛
Current Assignee (The listed assignees may be inaccurate. Google has not performed a legal analysis and makes no representation or warranty as to the accuracy of the list.)
China Tobacco Jiangsu Industrial Co Ltd
Original Assignee
China Tobacco Jiangsu Industrial Co Ltd
Priority date (The priority date is an assumption and is not a legal conclusion. Google has not performed a legal analysis and makes no representation as to the accuracy of the date listed.)
Filing date
Publication date
Application filed by China Tobacco Jiangsu Industrial Co LtdfiledCriticalChina Tobacco Jiangsu Industrial Co Ltd
Priority to CN 201320119647priorityCriticalpatent/CN203207181U/en
Application grantedgrantedCritical
Publication of CN203207181UpublicationCriticalpatent/CN203207181U/en
Anticipated expirationlegal-statusCritical
Expired - Lifetimelegal-statusCriticalCurrent

Links

Images

Landscapes

Abstract

Translated fromChinese

本实用新型公开了一种可大幅度降低卷烟主流烟气中巴豆醛释放量的二元复合滤棒,包括滤芯和依次包裹在滤芯上的内包裹层、外包裹层;所述的滤芯是由间隔设置的醋酸纤维段和用于吸收烟气中巴豆醛的复合醋酸纤维段构成的二元复合滤芯。本实用新型的可大幅度降低卷烟主流烟气中巴豆醛释放量的二元复合滤棒,在降低卷烟焦油释放量的基础上,巴豆醛释放量可大幅度降低,降低幅度达到23%以上,从而达到了减害降焦的目的。同时可与中式卷烟抽吸风格相匹配、对中式卷烟负面影响小、对烟气有害物质巴豆醛过滤效率较高,能提高复合滤嘴在中式卷烟中的可用性。

The utility model discloses a binary composite filter rod which can greatly reduce the release amount of crotonaldehyde in the mainstream smoke of cigarettes, which comprises a filter element, an inner wrapping layer and an outer wrapping layer wrapped on the filter element in sequence; the filter element is composed of The binary composite filter element is composed of cellulose acetate segments arranged at intervals and composite cellulose acetate segments for absorbing crotonaldehyde in the flue gas. The binary composite filter rod of the utility model, which can greatly reduce the release of crotonaldehyde in the mainstream smoke of cigarettes, can greatly reduce the release of crotonaldehyde on the basis of reducing the release of cigarette tar, and the reduction rate can reach more than 23%. Thereby the purpose of reducing harm and reducing focus is achieved. At the same time, it can match the smoking style of Chinese-style cigarettes, has little negative impact on Chinese-style cigarettes, and has a high filtration efficiency of crotonaldehyde, a harmful substance in smoke, and can improve the usability of the composite filter in Chinese-style cigarettes.

Description

A kind of binary compound filter candle that can reduce crotonaldehyde burst size in the cigarette mainstream flue gas significantly
Technical field
The utility model relates to the filter stick for the manufacture of cigarette filter, is specifically related to a kind of binary compound filter candle that can reduce crotonaldehyde burst size in the cigarette mainstream flue gas significantly.
Background technology
At present, cigarette filter mostly is single acetate fiber monobasic filter stick greatly, and the harmful substance tool that reduces in the cigarette smoke is had certain effect.Along with the growing interest of smoking and health problem, countries in the world are more and more paid attention to the exploitation of smoking material and filter structures, the purpose that some functional materials reach lowering harm and decreasing coking occurred adding in filter stick.But really being used for the filtering material of Chinese style Virginian-type cigarette seldom, is the matching problem of filtering material and Chinese style cigarette smoking style on the one hand, is the balanced problem of filtering material itself on the other hand.As active carbon, bigger to the style influence of Chinese style cigarette; Inorganic material such as diatomite, sepiolite except production of cigarettes being had many negative effects, also can make cigarette produce breath and the stimulation of some dust; Some natural organics such as tea dust, its pore structure mostly are airtight cell cavity, and are lower etc. to the filter efficiency of flue gas harmful substance.These problems have restricted the extensive use of filtering material in the Chinese style cigarette just.
The utility model content
Goal of the invention: at the deficiencies in the prior art, the purpose of this utility model provides a kind of binary compound filter candle that can reduce crotonaldehyde burst size in the cigarette mainstream flue gas significantly, make its can be complementary with Chinese style cigarette smoking style, little to the negative effect of Chinese style cigarette, higher to flue gas harmful substance crotonaldehyde filter efficiency, to improve the availability of composite filter tip in the Chinese style cigarette, solve the technical problem that tobacco business needs to be resolved hurrily.
Technical scheme: in order to realize the foregoing invention purpose, the technical solution adopted in the utility model is as follows:
A kind of binary compound filter candle that can reduce crotonaldehyde burst size in the cigarette mainstream flue gas significantly comprises filter core and is wrapped in interior integument, outer wrapping layer on the filter core successively; Described filter core is by the acetate fiber section of interval setting and the binary composite filter element that constitutes for the compound acetate fiber section that absorbs the flue gas crotonaldehyde.
Described compound acetate fiber section is for to be provided with composite particles at acetate silk.
Described composite particles is for adopting CuSO4The granular materials that the compound NaY molecular sieve of the shitosan of solution modified alkali lye obtains after handling.
Described compound acetate fiber section is provided with 2 ~ 5 sections.
Beneficial effect: compared with prior art, the binary compound filter candle that can reduce crotonaldehyde burst size in the cigarette mainstream flue gas significantly of the present utility model, on the basis that reduces releasing content of coke tar in cigarette, the crotonaldehyde burst size can reduce significantly, the reduction amplitude reaches more than 23%, thereby has reached the purpose of lowering harm and decreasing coking.Can be complementary with Chinese style cigarette smoking style simultaneously, little to the negative effect of Chinese style cigarette, higher to flue gas harmful substance crotonaldehyde filter efficiency, can improve the availability of composite filter tip in the Chinese style cigarette.
Description of drawings
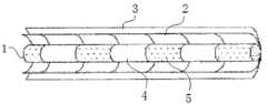
Fig. 1 is the structural representation of binary compound filter candle.
The specific embodiment
Below in conjunction with concrete accompanying drawing the utility model is done further explanation.
As shown in Figure 1, can reduce the binary compound filter candle of crotonaldehyde burst size in the cigarette mainstream flue gas significantly, comprise filter core 1 and be wrapped ininterior integument 2,outer wrapping layer 3 on the filter core successively; Filter core 1 is the binary composite filter element, and it is compoundacetate fiber section 5 formations that theacetate fiber section 4 that arranges at interval arranged and be used for absorbing the flue gas crotonaldehyde.Compound acetate fiber section is provided with 2 ~ 5 sections, and compound acetate fiber section is for being provided with for the composite particles that absorbs the flue gas crotonaldehyde at acetate silk.
Compoundacetate fiber section 5 will be dispersed in the plasticizer triacetyl glycerine for the composite particles that absorbs the flue gas crotonaldehyde, add on the acetate silk forming to plasticizer.Wherein, composite particles is preferably and adopts CuSO4The particle that the compound NaY molecular sieve of the shitosan of solution modified alkali lye obtains after handling.
Cigarette with acetate fiber monobasic filter stick under the identical working condition is control sample, and the binary compound filter candle that contains above-mentioned material reduces the result of crotonaldehyde burst size in the cigarette mainstream flue gas, and is as shown in table 1 below.As seen, this can reduce the binary compound filter candle of crotonaldehyde burst size in the cigarette mainstream flue gas significantly, and on the basis that reduces releasing content of coke tar in cigarette, the crotonaldehyde burst size can reduce significantly, the reduction amplitude reaches more than 23%, thereby has reached the purpose of lowering harm and decreasing coking.
Table 1 cigarette sample crotonaldehyde and releasing content of coke tar reduce the result
The sample titleAddition (mg/cig)Releasing content of coke tar (mg/cig)Tar reduced rate (%)Crotonaldehyde burst size (g/cig)Crotonaldehyde reduced rate (%)
To in the same old way11.1217.84
The test sample109.2816.5513.6323.60

Claims (4)

Translated fromChinese
1.一种可大幅度降低卷烟主流烟气中巴豆醛释放量的二元复合滤棒,其特征在于:包括滤芯(1)和依次包裹在滤芯(1)上的内包裹层(2)、外包裹层(3);所述的滤芯(1)是由间隔设置的醋酸纤维段(4)和用于吸收烟气中巴豆醛的复合醋酸纤维段(5)构成的二元复合滤芯。1. A binary composite filter stick capable of greatly reducing the release of crotonaldehyde in mainstream cigarette smoke, characterized in that it comprises a filter element (1) and an inner wrapping layer (2) wrapped sequentially on the filter element (1), The outer wrapping layer (3); the filter element (1) is a binary composite filter element composed of cellulose acetate segments (4) arranged at intervals and composite cellulose acetate segments (5) for absorbing crotonaldehyde in the flue gas.2.根据权利要求1所述的可大幅度降低卷烟主流烟气中巴豆醛释放量的二元复合滤棒,其特征在于:所述的复合醋酸纤维段(5)为在醋酸纤维丝束上设有用于吸收烟气中巴豆醛的复合颗粒。2. The binary composite filter stick capable of greatly reducing the release of crotonaldehyde in mainstream cigarette smoke according to claim 1, characterized in that: the composite acetate segment (5) is on the acetate tow Composite particles for absorbing crotonaldehyde in smoke are provided.3.根据权利要求2所述的可大幅度降低卷烟主流烟气中巴豆醛释放量的二元复合滤棒,其特征在于:所述的复合颗粒为采用CuSO4溶液修饰过的壳聚糖复合NaY分子筛碱液处理后得到的颗粒。3. the binary composite filter stick that can significantly reduce the amount of crotonaldehyde release in mainstream cigarette smoke according to claim 2, is characterized in that: described composite particles are chitosan composites modified byCuSO solution Particles obtained after NaY molecular sieve alkali treatment.4.根据权利要求1所述的可大幅度降低卷烟主流烟气中巴豆醛释放量的二元复合滤棒,其特征在于:所述的复合醋酸纤维段(5)设有2~5段。4. The binary composite filter stick capable of greatly reducing the release of crotonaldehyde in mainstream cigarette smoke according to claim 1, characterized in that: the composite acetate segments (5) are provided with 2 to 5 segments.
CN 2013201196472013-03-152013-03-15Dual-composite filter rod capable of greatly reducing release amount of crotonaldehyde in cigarette mainstream smokeExpired - LifetimeCN203207181U (en)

Priority Applications (1)

Application NumberPriority DateFiling DateTitle
CN 201320119647CN203207181U (en)2013-03-152013-03-15Dual-composite filter rod capable of greatly reducing release amount of crotonaldehyde in cigarette mainstream smoke

Applications Claiming Priority (1)

Application NumberPriority DateFiling DateTitle
CN 201320119647CN203207181U (en)2013-03-152013-03-15Dual-composite filter rod capable of greatly reducing release amount of crotonaldehyde in cigarette mainstream smoke

Publications (1)

Publication NumberPublication Date
CN203207181Utrue CN203207181U (en)2013-09-25

Family

ID=49196766

Family Applications (1)

Application NumberTitlePriority DateFiling Date
CN 201320119647Expired - LifetimeCN203207181U (en)2013-03-152013-03-15Dual-composite filter rod capable of greatly reducing release amount of crotonaldehyde in cigarette mainstream smoke

Country Status (1)

CountryLink
CN (1)CN203207181U (en)

Cited By (1)

* Cited by examiner, † Cited by third party
Publication numberPriority datePublication dateAssigneeTitle
CN103831084A (en)*2014-03-112014-06-04川渝中烟工业有限责任公司Metal composite molecular sieve with multiple ducts and preparation method thereof

Cited By (2)

* Cited by examiner, † Cited by third party
Publication numberPriority datePublication dateAssigneeTitle
CN103831084A (en)*2014-03-112014-06-04川渝中烟工业有限责任公司Metal composite molecular sieve with multiple ducts and preparation method thereof
CN103831084B (en)*2014-03-112015-09-23川渝中烟工业有限责任公司There is multiple duct metal composite molecular sieve and preparation method thereof

Similar Documents

PublicationPublication DateTitle
CN204444225U (en)Add the cigarette filter rod that load has the filter screen of graphene oxide
CN204104816U (en)A kind of flue gas cool-down condensing unit and the cigarette filter rod utilizing it to prepare
CN209300271U (en) A ternary cellulose acetate composite hollow filter rod that can reduce volatile phenolic compounds in cigarette smoke
CN201563604U (en) Filter Sticks with Molecular Reservoir Structural Materials
CN203120980U (en)Cigarette composite filter stick filled with plant materials
CN103141940B (en)Entrapment agent for selectively lowering crotonaldehyde content in cigarette smoke and filter stick
CN203120983U (en)Cigarette composite filter stick filled with plant particle materials
CN203207181U (en)Dual-composite filter rod capable of greatly reducing release amount of crotonaldehyde in cigarette mainstream smoke
CN202566268U (en)Ternary composite filter stick containing cannabis-flavored nanometer porous starch granules
CN202941404U (en)Ternary composite filter tip of activated carbon fibre
CN202566263U (en)Special harm-reducing filter-tipped cigarette
CN203986075U (en)A kind of nitrogen-doped carbon nanometer pipe composite cigarette filter tip
CN104432507A (en)Cigarette filter tip additive removing aldehydes in cigarette mainstream smoke and preparation method and application thereof
CN202456393U (en)Ternary composite filter rod containing porous starch granules
CN203290239U (en)Tobacco stem nanometer ternary composite filter tip
CN204796729U (en)Graphite alkene cigarette filter rod
CN203152474U (en)Binary composite filtering rod capable of selectively reducing volatile organic compounds in main stream smoke
CN201797982U (en)Active carbon tar reducing cigarette filter tip
CN203207179U (en)Dual-composite filter rod capable of greatly reducing release amount of phenol in cigarette mainstream smoke
CN202722485U (en)Cigarette filter tip
CN102599651B (en)Preparation method for composite cigarette filter stick capable of reducing harmful components of cigarette
CN204617054U (en)A kind of segmented cigarette filter
CN204812025U (en)Active carbon cigarette holder
CN104026736A (en)Harm-reduction type binary compound filter rod with ordered mesoporous silica particles
CN204519347U (en)Compound filter rod of binary of peculiar nitrosamine of tobacco among reduction cigarette mainstream smoke

Legal Events

DateCodeTitleDescription
C14Grant of patent or utility model
GR01Patent grant
CX01Expiry of patent term
CX01Expiry of patent term

Granted publication date:20130925


[8]ページ先頭

©2009-2025 Movatter.jp