


技术领域technical field
本实用新型涉及一种改进的爽肤水喷雾装置,属于日常生活技术领域。The utility model relates to an improved toner spray device, which belongs to the technical field of daily life.
背景技术Background technique
爽肤水是洁肤后涂抹在脸上具有洁肤润肤效果的润肤水,目前常见的爽肤水喷雾包装通常是由一个由小球、弹簧组成的活塞系统,目前常见的喷嘴塞是一个中间有小孔的喷嘴塞,水与气体的混合物被挤压通过喷嘴塞中间小孔挤出的水与气体形成雾气而达到喷雾的效果,这样的喷嘴挤出的雾气其实很难称其为雾气,因为喷出水滴较大且各方发散不规律,无法达到均匀的效果,而且过大的水滴常常导致喷出过多浪费产品,尤其是内装物的粘度稍微大一点很影响喷出效果。Toner is a lotion that is applied on the face after cleansing and has a cleansing and moisturizing effect. The current common toner spray packaging is usually a piston system composed of small balls and springs. The current common nozzle plug is a small plug in the middle. The nozzle plug with holes, the mixture of water and gas is squeezed through the small hole in the middle of the nozzle plug to form mist to achieve the spray effect. The water droplets are large and diverge irregularly in all directions, which cannot achieve a uniform effect, and too large water droplets often lead to excessive spraying and waste of products, especially if the viscosity of the contents is slightly higher, which will affect the spraying effect.
实用新型内容Utility model content
为解决这个问题,本实用新型提出来一种改进的爽肤水喷雾装置,采用了一个莲蓬状的微小化喷头塞代替了原有的单孔喷头塞,能使喷出的水滴更小、更均匀,并且沿着喷出口径向长度相等的地方喷出水滴浓度近似相等。In order to solve this problem, the utility model proposes an improved toner spray device, which uses a lotus-shaped miniaturized nozzle plug to replace the original single-hole nozzle plug, which can make the sprayed water droplets smaller and more uniform. And the concentration of sprayed water droplets is approximately equal along the radial length of the spray outlet.
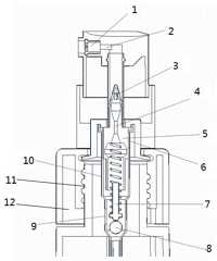
本实用新型采用的技术方案:一种改进的爽肤水喷雾装置包括莲蓬状喷头塞1、第三重磨碎结构2、第二重磨碎结构3、第一重磨碎结构4、活塞可动部件5、出气孔6、弹簧支架7、单向阀球8、进气阀9、活塞腔10、活塞固定部件11、预留槽12;采用莲蓬状喷头塞1代替了原有的单孔喷头塞13,莲蓬状喷头塞1均匀的设有出水孔14。The technical solution adopted by the utility model: an improved toner spray device includes a
所述的莲蓬状喷头塞1上的出水孔14可以根据内装的液体的粘性涉及不同的数量。The
所述的莲蓬状喷头塞1、第三重磨碎结构2、第二重磨碎结构3、第一重磨碎结构4、活塞可动部件5、出气孔6、弹簧支架7、单向阀球8、进气阀9、活塞腔10、活塞固定部件11、预留槽12为普通元件。The shower-
本实用新型的有益效果:本实用新型采用了一个莲蓬状的微小化喷头塞代替了原有的单孔喷头塞,能使喷出的水滴更小、更均匀,并且沿着喷出口径向长度相等的地方喷出水滴浓度近似相等;同时结构简单,使用方便。Beneficial effects of the utility model: the utility model adopts a lotus-shaped miniaturized nozzle plug to replace the original single-hole nozzle plug, which can make the sprayed water droplets smaller and more uniform, and along the radial length of the nozzle The concentration of sprayed water droplets in equal places is approximately equal; at the same time, the structure is simple and easy to use.
附图说明Description of drawings
图1 本实用新型的结构示意图;Fig. 1 structural representation of the utility model;
图2 本实用新型的莲蓬状喷头塞示意图;Fig. 2 is a schematic diagram of the shower plug of the utility model;
图3 传统的单孔喷头塞示意图。Figure 3. Schematic diagram of a traditional single-hole nozzle plug.
图中:1-莲蓬状喷头塞、2-第三重磨碎结构、3-第二重磨碎结构、4-第一重磨碎结构、5 -活塞可动部件、6-出气孔、7-弹簧支架、8-单向阀球、9-进气阀、10-活塞腔、11-活塞固定部件、12-预留槽、13-单孔喷头塞、14-出水孔。In the figure: 1-shower-shaped nozzle plug, 2-third grinding structure, 3-second grinding structure, 4-first grinding structure, 5-piston movable parts, 6-air outlet, 7 -spring bracket, 8-one-way valve ball, 9-intake valve, 10-piston cavity, 11-piston fixing part, 12-reserved groove, 13-single-hole nozzle plug, 14-water outlet hole.
具体实施方式Detailed ways
下面结合附图和具体实施方式对本发明进行详细说明。The present invention will be described in detail below in conjunction with the accompanying drawings and specific embodiments.
如图1所示:为本实用新型的结构示意图,一种改进的爽肤水喷雾装置包括莲蓬状喷头塞1、第三重磨碎结构2、第二重磨碎结构3、第一重磨碎结构4、活塞可动部件5、出气孔6、弹簧支架7、单向阀球8、进气阀9、活塞腔10、活塞固定部件11、预留槽12;采用莲蓬状喷头塞1代替了原有的单孔喷头塞13,莲蓬状喷头塞1均匀的设有出水孔14。As shown in Figure 1: it is a structural schematic diagram of the utility model, an improved toner spray device includes a
如图2所示:所述的莲蓬状喷头塞1上的出水孔14可以根据内装的液体的粘性涉及不同的数量。As shown in FIG. 2 : the
如图3所示:传统的单孔喷头塞13是一个小孔,喷出的产品本来是受压并且已经是水汽混合物,当它从小孔流出时会从四周喷射开来从而达到模拟喷雾的效果,但是这样的喷出水滴较大且各方向不均匀;本实用新型采用莲蓬状喷头塞1代替了原有的单孔喷头塞13,莲蓬状喷头塞1均匀的设有出水孔14;从而可以改善喷出效果;经过三次磨碎的水气混合物再次通过出水孔14,达到了四次磨碎并且出水孔14大小相等、分布均匀,使得喷出物料更接近雾气且更均匀。As shown in Figure 3: the traditional single-
本实用新型采用了一个莲蓬状的微小化喷头塞代替了原有的单孔喷头塞,能使喷出的水滴更小、更均匀,并且沿着喷出口径向长度相等的地方喷出水滴浓度近似相等;同时结构简单,使用方便。The utility model adopts a lotus-shaped miniaturized nozzle plug to replace the original single-hole nozzle plug, which can make the sprayed water droplets smaller and more uniform, and spray the concentration of water droplets along the radial length of the spray outlet. Approximately equal; at the same time, the structure is simple and the use is convenient.
本实用新型通过附图进行说明的,在不脱离本实用新型范围的情况下,还可以对本实用新型专利进行各种变换及等同代替,因此,本实用新型专利不局限于所公开的具体实施过程,而应当包括落入本实用新型专利权利要求范围内的全部实施方案。The utility model is illustrated by the accompanying drawings. Without departing from the scope of the utility model, various transformations and equivalent substitutions can be made to the utility model patent. Therefore, the utility model patent is not limited to the disclosed specific implementation process. , but should include all the implementations that fall within the scope of the utility model patent claims.
| Application Number | Priority Date | Filing Date | Title |
|---|---|---|---|
| CN201220515601.2UCN203087963U (en) | 2012-10-10 | 2012-10-10 | Improved toner spraying device |
| Application Number | Priority Date | Filing Date | Title |
|---|---|---|---|
| CN201220515601.2UCN203087963U (en) | 2012-10-10 | 2012-10-10 | Improved toner spraying device |
| Publication Number | Publication Date |
|---|---|
| CN203087963Utrue CN203087963U (en) | 2013-07-31 |
| Application Number | Title | Priority Date | Filing Date |
|---|---|---|---|
| CN201220515601.2UExpired - Fee RelatedCN203087963U (en) | 2012-10-10 | 2012-10-10 | Improved toner spraying device |
| Country | Link |
|---|---|
| CN (1) | CN203087963U (en) |
| Publication number | Priority date | Publication date | Assignee | Title |
|---|---|---|---|---|
| CN109174498A (en)* | 2018-11-28 | 2019-01-11 | 胡峰华 | A kind of skin toner atomizing pump |
| Publication number | Priority date | Publication date | Assignee | Title |
|---|---|---|---|---|
| CN109174498A (en)* | 2018-11-28 | 2019-01-11 | 胡峰华 | A kind of skin toner atomizing pump |
| CN109174498B (en)* | 2018-11-28 | 2024-01-02 | 松佳(广州)塑料包装有限公司 | Skin refreshing spray pump |
| Publication | Publication Date | Title |
|---|---|---|
| CN204212796U (en) | A kind of device utilizing charged fine water mist dust removal | |
| CN203860309U (en) | Liquid atomization spraying charging device | |
| MY191509A (en) | Acoustically transparent coating | |
| CN203087963U (en) | Improved toner spraying device | |
| SA117380653B1 (en) | Spray nozzle apparatus | |
| MY168400A (en) | Moisturizing apparatus and electrical equipment including the same, and moisturizing method | |
| CN204995790U (en) | Spraying appearance with stifling function | |
| CN205008152U (en) | Anti -blocking spray nozzle | |
| CN204338361U (en) | A kind of high-efficiency impingement type atomizer | |
| HK1212546A2 (en) | Skin massage device | |
| CN202590169U (en) | Static elimination device | |
| CN208098427U (en) | A kind of disinfection spray squeeze spray device | |
| CN203147969U (en) | Microporous atomizing humidifier | |
| CN202778788U (en) | Aerosol equipment | |
| CN203061261U (en) | Spray dosing device of grinder | |
| CN204974269U (en) | Two -fluid atomization nozzle | |
| CN203886706U (en) | Hollow full-conical steam atomizing nozzle | |
| CN201252338Y (en) | Negative ion leading-out device | |
| CN204169266U (en) | A kind of high sealing scent flask | |
| CN202440292U (en) | Coating packaging machine | |
| CN203172963U (en) | Alcohol antiseptic substance atomization, separation and recovery device for baking | |
| CN209610233U (en) | A kind of recyclable daily use chemicals bottle | |
| CN201809329U (en) | Sponge massage fancy soap | |
| CN202823682U (en) | Servo spray-head | |
| CN202942984U (en) | Shower nozzle piece |
| Date | Code | Title | Description |
|---|---|---|---|
| C14 | Grant of patent or utility model | ||
| GR01 | Patent grant | ||
| CF01 | Termination of patent right due to non-payment of annual fee | Granted publication date:20130731 Termination date:20151010 | |
| EXPY | Termination of patent right or utility model |