Movatterモバイル変換


[0]ホーム

URL:


CN202709306U - Power supply circuit device of variable frequency air conditioner and variable frequency air conditioner - Google Patents

Power supply circuit device of variable frequency air conditioner and variable frequency air conditioner
Download PDF

Info

Publication number
CN202709306U
CN202709306UCN 201220239208CN201220239208UCN202709306UCN 202709306 UCN202709306 UCN 202709306UCN 201220239208CN201220239208CN 201220239208CN 201220239208 UCN201220239208 UCN 201220239208UCN 202709306 UCN202709306 UCN 202709306U
Authority
CN
China
Prior art keywords
power supply
variable
compressor
frequency driver
current
Prior art date
Legal status (The legal status is an assumption and is not a legal conclusion. Google has not performed a legal analysis and makes no representation as to the accuracy of the status listed.)
Expired - Lifetime
Application number
CN 201220239208
Other languages
Chinese (zh)
Inventor
胡雅洁
李辉
Current Assignee (The listed assignees may be inaccurate. Google has not performed a legal analysis and makes no representation or warranty as to the accuracy of the list.)
Gree Electric Appliances Inc of Zhuhai
Original Assignee
Gree Electric Appliances Inc of Zhuhai
Priority date (The priority date is an assumption and is not a legal conclusion. Google has not performed a legal analysis and makes no representation as to the accuracy of the date listed.)
Filing date
Publication date
Application filed by Gree Electric Appliances Inc of ZhuhaifiledCriticalGree Electric Appliances Inc of Zhuhai
Priority to CN 201220239208priorityCriticalpatent/CN202709306U/en
Application grantedgrantedCritical
Publication of CN202709306UpublicationCriticalpatent/CN202709306U/en
Anticipated expirationlegal-statusCritical
Expired - Lifetimelegal-statusCriticalCurrent

Links

Images

Landscapes

Abstract

The utility model provides a power supply circuit device of a variable frequency air conditioner, which is used for supplying power for a fan variable frequency driver for driving a fan of the variable frequency air conditioner and a compressor variable frequency driver for driving a compressor of the variable frequency air conditioner, and comprises a switching power supply and a rectification energy storage circuit; the utility model also provides a frequency conversion air conditioner including above-mentioned supply circuit device, adopt compressor frequency conversion driver and fan frequency conversion drive controller sharing switching power supply and DC bus power supply's control mode to reach the cost that reduces the drive plate and the purpose of size.

Description

Power supply circuit device of variable frequency air conditioner and variable frequency air conditioner
Technical Field
The utility model relates to a supply circuit field especially relates to a supply circuit device and variable frequency air conditioner of variable frequency air conditioner.
Background
With the coming of energy crisis in the world, governments of various countries actively promote energy-saving and consumption-reducing technologies for the purpose of economic sustainable development. The direct-current variable frequency air conditioner is more and more popular with users due to good energy conservation, and the direct-current variable frequency air conditioner also inevitably becomes a development direction of air conditioning technology.
Taking a three-phase direct-current frequency-conversion multi-connection frequency-conversion driving controller as an example, in a three-phase direct-current frequency-conversion multi-connection unit appearing in the market, a compressor and a fan driving frequency-conversion controller are completely independent and respectively provided with a strong current filter circuit, a rectification energy storage circuit and an inverter circuit. As shown in fig. 1, the single-fan dc variable frequency drive controller in the prior art includes two filters, a compressor variable frequency drive board (including rectification energy storage and inversion), and a fan variable frequency drive board (including rectification energy storage and inversion), and has the disadvantages of large volume and high cost of the overall drive controller.
SUMMERY OF THE UTILITY MODEL
For overcoming the not enough of prior art, the utility model provides a supply circuit device and variable frequency air conditioner of variable frequency air conditioner, its control mode who adopts compressor frequency conversion driver and fan frequency conversion drive controller sharing switching power supply and direct current bus power source reaches the cost that reduces the drive plate and the purpose of size. The utility model discloses a realize that the technical scheme that above-mentioned purpose adopted is:
a power supply circuit device of a variable frequency air conditioner comprises a compressor variable frequency driver, a fan variable frequency driver, a switching power supply and a rectification energy storage circuit;
the switch power supply is electrically connected to the compressor variable-frequency driver and the fan variable-frequency driver and provides a low-voltage direct-current power supply for the compressor variable-frequency driver and the fan variable-frequency driver at the same time;
the rectification energy storage circuit is electrically connected to the compressor variable-frequency driver and the fan variable-frequency driver, converts an external power supply into a high-voltage direct-current power supply and inputs the high-voltage direct-current power supply into the compressor variable-frequency driver and the fan variable-frequency driver.
Preferably, as an embodiment, the inverter further comprises a first inverter circuit connected in series between the rectification energy storage circuit and the compressor frequency converter driver, and the first inverter circuit inverts the high-voltage direct-current power supply input to the compressor frequency converter into a high-voltage alternating-current power supply;
the high-voltage direct-current power supply input to the compressor frequency converter is inverted into a high-voltage alternating-current power supply.
Preferably, as an embodiment, the compressor variable frequency drive includes a first low voltage direct current input port and a first high voltage direct current input port; the fan variable-frequency driver comprises a second low-voltage direct-current input port and a second high-voltage direct-current input port;
the switch power supply is electrically connected to a first low-voltage direct-current input port of the compressor variable-frequency driver and a second low-voltage direct-current input port of the fan variable-frequency driver, and simultaneously provides low-voltage direct-current power supplies for the compressor variable-frequency driver and the fan variable-frequency driver;
the rectification energy storage circuit is electrically connected with a first high-voltage direct-current input port of the compressor variable-frequency driver and a second high-voltage direct-current input port of the fan variable-frequency driver, and an external power supply is converted into a high-voltage direct-current power supply and is input into the compressor variable-frequency driver and the fan variable-frequency driver.
Preferably, as an embodiment, the rectifying energy storage circuit and the switching power supply are integrated on the compressor variable frequency drive;
the compressor variable frequency driver comprises a first low-voltage direct current output port and a first high-voltage direct current output port; the fan variable-frequency driver comprises a first low-voltage direct-current input port and a second high-voltage direct-current input port;
the first low-voltage direct-current output port is electrically connected to a first low-voltage direct-current input port of the fan variable-frequency driver through a direct-current bus, and the switch power supply provides a low-voltage direct-current power supply for the fan variable-frequency driver through a switch power supply output power line while providing a low-voltage power supply for the compressor variable-frequency driver;
the first low-voltage direct-current output port is electrically connected to a first low-voltage direct-current input port of the fan variable-frequency driver through a switching power supply output power supply line, and the switching power supply provides a low-voltage direct-current power supply for the fan variable-frequency driver through a direct-current bus while providing a low-voltage power supply for the compressor variable-frequency driver;
the first high-voltage direct-current output port is electrically connected to a second high-voltage direct-current input port of the fan variable-frequency driver through a direct-current bus, the rectification energy storage circuit converts an external power supply into a high-voltage direct-current power supply and inputs the high-voltage direct-current power supply to the compressor variable-frequency driver, and meanwhile, the high-voltage power supply is provided for the fan variable-frequency driver through the direct-current bus.
Preferably, as an embodiment, the number of the compressor variable frequency drivers is 1; the number of the fan variable frequency drivers is 2.
Preferably, as an embodiment, the switching power supply is a 5V low voltage power supply.
The utility model also provides a frequency conversion air conditioner, which comprises a compressor, a fan and the power supply circuit device with any one of the technical characteristics;
a compressor variable frequency driver in the power supply circuit device is electrically connected to the compressor and drives the compressor;
and a fan variable-frequency driver in the power supply circuit device is electrically connected to the fan and drives the fan.
The utility model has the advantages that: the control mode that the compressor controller and the fan variable-frequency drive controller share the switch power supply and the direct-current bus power supply is adopted. The switch power supply and the rectification energy storage circuit are integrated on the drive of the variable-frequency drive controller of the press, and the fan drive controller does not need to be provided with the switch power supply and the rectification energy storage circuit, so that the cost and the size of the drive plate are reduced, and the size of an electric cabinet of an outer machine is also reduced.
Drawings
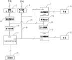
FIG. 1 is a schematic diagram illustrating outdoor control of a prior art DC inverter air conditioner;
fig. 2 is a schematic diagram of an outdoor control block diagram of a variable frequency air conditioner according to an embodiment of the present invention.
Wherein,
1 filtering a plate; 2 compressor variable frequency drive; 21 a first inverter circuit;
22 a direct current bus; 23 a compressor; 3, a fan variable frequency driver;
31 a fan; 32 a second inverter circuit; 4, switching power supply; 41 switching power supply output power supply lines.
Detailed Description
In order to make the purpose, technical solution and advantages of the present invention more clearly understood, the following combines the drawings and embodiments, and uses the three-phase dc inverter air conditioner as an example, and it is right to further explain in detail the power supply circuit device of the inverter air conditioner and the inverter air conditioner of the present invention. It should be understood that the embodiments described herein are only for the purpose of illustrating the present invention and are not intended to limit the present invention to the described air conditioner.
Referring to fig. 2, an outdoor unit of a three-phase dc inverter air conditioner is provided with two fans. 380V alternating current commercial power is connected into thefilter plate 1, the output end of thefilter plate 1 is connected into the rectificationenergy storage circuit 11, the rectificationenergy storage circuit 11 converts the alternating current commercial power into high-voltage direct current and maintains direct current voltage, the output end of the rectificationenergy storage circuit 11 is connected into the compressorvariable frequency driver 2 through thefirst inverter circuit 21, and the output end of the rectification energy storage device is connected into the fanvariable frequency driver 3 through thesecond inverter circuit 32.
The input end of theswitch power supply 4 is connected with commercial power, the output end is connected with the compressorvariable frequency driver 2 and the fanvariable frequency driver 3, and simultaneously, a low-voltage direct-current power supply is provided for the compressorvariable frequency driver 2 and the fanvariable frequency driver 3;
a first low-voltage direct-current input port of the compressor variable-frequency driver 2 is COM1, and a first high-voltage direct-current input port of the compressor variable-frequency driver 2 isCOM 2; and a second low-voltage direct-current input port of the fan variable-frequency driver 3 is COM3, and a second high-voltage direct-current input port of the fan variable-frequency driver 3 isCOM 4.
The rectifyingenergy storage circuit 11 and theswitching power supply 4 can be integrated on the compressorvariable frequency driver 2, and the wiring schematic diagram after integration is the same as that of fig. 2, and the description is omitted here.
The integrated circuit device works as follows:
for a single fan, after power-on, the fanvariable frequency driver 3 is communicated with the compressorvariable frequency driver 2 through the directcurrent bus 22. The direct current weak current parts on the fanvariable frequency driver 3 and the compressorvariable frequency driver 2 are connected through a switching power supplyoutput power line 41, and after the main control board sends a starting command, the fan variable frequency driver and the compressor variable frequency driver can normally operate. The fan variable frequency driver and the compressor variable frequency driver are both lower computers and are controlled to start and stop by an upper computer main control board.
For the double fans, strong current input ends of two fanvariable frequency drivers 3 are connected through adirect current bus 22, and the two fanvariable frequency drivers 3 are connected with the compressorvariable frequency driver 2 through two direct current bus power lines and are powered by the compressorvariable frequency driver 2. The two fan variable frequency drivers are connected in parallel to thedirect current bus 22, the weak current input end is connected in parallel to the output end of the switching power supply, namely theoutput power line 41 of the switching power supply is output, the control condition is the same as that of a single fan, and the two fan variable frequency drivers and the compressor variable frequency driver are both lower computers and are controlled to start and stop by an upper computer main control board.
The switching power supply and the rectification energy storage circuit are integrated on the compressorvariable frequency driver 2, and the fanvariable frequency driver 3 can realize all drive control functions by sharing with the compressor variable frequency controller without the switching power supply and the rectification energy storage circuit; greatly reduced the cost and the size of fan drive plate, the three-phase direct current frequency conversion of this embodiment allies oneself with the outdoor unit fan drive plate size of the unit and the first generation three-phase direct current frequency conversion of allies oneself with the unit is to following the table for example:
/drive plate size
First-generation three-phase direct-current variable-frequency multi-connected unit213.0×133.5mm
Three-phase direct current frequency conversion multi-connected unit of the embodiment146.0×126.0mm
The above-mentioned embodiments only represent some embodiments of the present invention, and the description thereof is specific and detailed, but not to be construed as limiting the scope of the present invention. It should be noted that, for those skilled in the art, without departing from the spirit of the present invention, several variations and modifications can be made, which are within the scope of the present invention. Therefore, the protection scope of the present invention should be subject to the appended claims.

Claims (7)

CN 2012202392082012-05-242012-05-24Power supply circuit device of variable frequency air conditioner and variable frequency air conditionerExpired - LifetimeCN202709306U (en)

Priority Applications (1)

Application NumberPriority DateFiling DateTitle
CN 201220239208CN202709306U (en)2012-05-242012-05-24Power supply circuit device of variable frequency air conditioner and variable frequency air conditioner

Applications Claiming Priority (1)

Application NumberPriority DateFiling DateTitle
CN 201220239208CN202709306U (en)2012-05-242012-05-24Power supply circuit device of variable frequency air conditioner and variable frequency air conditioner

Publications (1)

Publication NumberPublication Date
CN202709306Utrue CN202709306U (en)2013-01-30

Family

ID=47589602

Family Applications (1)

Application NumberTitlePriority DateFiling Date
CN 201220239208Expired - LifetimeCN202709306U (en)2012-05-242012-05-24Power supply circuit device of variable frequency air conditioner and variable frequency air conditioner

Country Status (1)

CountryLink
CN (1)CN202709306U (en)

Cited By (3)

* Cited by examiner, † Cited by third party
Publication numberPriority datePublication dateAssigneeTitle
CN106026850A (en)*2016-06-222016-10-12海信(广东)空调有限公司Power supply circuit, control method thereof and air conditioner
CN106416053A (en)*2014-07-042017-02-15三菱电机株式会社 Power conversion units, dehumidifiers, air conditioners, and refrigeration units
CN109203914A (en)*2018-11-122019-01-15浙江众泰汽车制造有限公司A kind of electric automobile air conditioner electric compressor machine control system and its control method

Cited By (4)

* Cited by examiner, † Cited by third party
Publication numberPriority datePublication dateAssigneeTitle
CN106416053A (en)*2014-07-042017-02-15三菱电机株式会社 Power conversion units, dehumidifiers, air conditioners, and refrigeration units
CN106416053B (en)*2014-07-042019-03-08三菱电机株式会社 Power conversion devices, dehumidifiers, air conditioners, and refrigeration devices
CN106026850A (en)*2016-06-222016-10-12海信(广东)空调有限公司Power supply circuit, control method thereof and air conditioner
CN109203914A (en)*2018-11-122019-01-15浙江众泰汽车制造有限公司A kind of electric automobile air conditioner electric compressor machine control system and its control method

Similar Documents

PublicationPublication DateTitle
CN202709306U (en)Power supply circuit device of variable frequency air conditioner and variable frequency air conditioner
CN204290687U (en)Frequency converter
CN104811023A (en)Variable frequency air conditioner compressor counter electromotive force protection circuit
CN203466748U (en)Vehicle-mounted inversion power supply
CN109818414B (en)AC-DC conversion power supply system
CN108667311A (en) Frequency conversion controller and air conditioner for three-phase power supply
CN201374649Y (en)Power supply circuit and air conditioner provided with same
CN208209847U (en)A kind of electric machine control system for super bath
CN203691275U (en)Air conditioning unit
CN207426994U (en) A general purpose inverter
CN204438379U (en)A kind of frequency conversion of many power based on CAN coach air conditioner
CN201616703U (en) High-voltage frequency converter control power circuit uninterrupted power supply device
CN103075355A (en)Fan blowing system with power generation device
CN208479237U (en)A kind of alternating current-direct current mobile power source
CN203722481U (en)A capacity-adjustable energy-saving alternating current stabilized-voltage power supply
CN204152746U (en)A kind of drive unit of compressor and adopt the compressor air-conditioning of this drive unit
CN205632364U (en)Frequency conversion is equipped with electric system
CN203130549U (en)Fan blowing system with generating device
CN221806732U (en)Universal refrigerating fan adapting to various input voltages
CN109302082A (en) Three-phase power inverter controller and air conditioner
CN203413776U (en) One-to-many refrigeration and air-conditioning frequency conversion module
CN202059347U (en)DC variable frequency air conditioner with solar energy cell
CN203715002U (en)Energy-saving elevator power supply device
CN209514985U (en)Photovoltaic micro experience apparatus
CN209978294U (en)Air purification fan controller and air purification control system

Legal Events

DateCodeTitleDescription
C14Grant of patent or utility model
GR01Patent grant
CX01Expiry of patent term

Granted publication date:20130130

CX01Expiry of patent term

[8]ページ先頭

©2009-2025 Movatter.jp