






技术领域technical field
本实用新型涉及一种连接器,特别涉及一种将软排线的连接部以双弹性扣合机构配置组成的连接器。The utility model relates to a connector, in particular to a connector composed of a connecting part of a flexible flat cable configured with a double elastic fastening mechanism.
背景技术Background technique
现有技术所使用可与电子装置相互电连接的软排线,其主要是在软排线的端头设有一公插头,在电子装置的电路板上相对应设有一母插座,将公插头插设在母插座时可达到使软排线的各线路与母插座的接点相互电连接,为了防止公插头与母插座间不正常的脱离,现有技术在软排线一端的公插头处设有锁扣装置,通过锁扣装置与母插座相互扣合定位,使两者之间的结合稳固。The flexible flat cable used in the prior art that can be electrically connected to the electronic device is mainly provided with a male plug at the end of the flexible flat cable, and a female socket is correspondingly provided on the circuit board of the electronic device. When it is installed in the female socket, it can achieve the electrical connection between the lines of the flexible cable and the contacts of the female socket. In order to prevent the abnormal separation between the male plug and the female socket, the existing technology has a male plug at one end of the flexible cable. The locking device is locked and positioned by the locking device and the female socket, so that the combination between the two is stable.
现有技术所运用的锁扣装置,请参看图6及图7所示,其设有一本体70,该塑胶材质的本体70的一侧面与软排线73的一端连接,本体70在两侧壁面分别设有一呈凹状的组装槽701,扣具80穿设组装槽701处并与本体70相互枢设而为一扣合装置,该组装槽701在穿设有相对应的扣具80后,在本体70的上下侧分别设有上壳体71与下壳体72;所述的扣具80由金属片弯折形成有一长形的弹臂81,弹臂81上设有与本体70枢接用的轴孔811,弹臂81的一端形成有一扣部83,另一端为可供使用者按压的作动部82,在作动部82处的弹臂81上形成有一长细片状的抵顶片84,该抵顶片84的自由端抵在本体70相对侧壁处,以提供弹臂81以轴孔811为枢点而可向外位移的弹力。The locking device used in the prior art, please refer to Fig. 6 and Fig. 7, it is provided with a
由于现有技术的扣具80穿设组装在组装槽701时,没有任何的定位导引机构设计,使得在组装过程中两个构件极容易分离脱落,而造成组装上的不便及成本较高的问题;再者当使用者在按压弹臂81,使该扣部83形成扣合作用或分离,若该抵压片84损坏造成弹臂81在按压失效时,弹臂81将无法通过抵压片84的弹力反弹回来,在受到震动冲击时产品有脱落的隐患为另一问题。Since the
实用新型内容Utility model content
鉴于现有技术连接器所设计的锁扣装置仅具有单一弹性的扣具,当该单一弹性失效时造成所欲提供的弹力消失而造成软排线与电子装置分离的缺点,而予以重新设计,通过在连接器上所设置的扣具均有双弹性锁扣,以达到为其实用新型提供有较而稳固的扣合效果的目的。In view of the fact that the locking device designed by the prior art connector only has a single elastic buckle, when the single elastic fails, the elastic force to be provided will disappear and cause the defect that the flexible cable is separated from the electronic device, and it is redesigned. The buckles provided on the connector all have double elastic locks to achieve the purpose of providing a more stable buckling effect for the utility model.
为了可达到所述目的,本实用新型所运用的技术手段在于提供一种具有双重弹性的安全锁扣的扁平缆线连接器,其包括有一本体及一锁扣装置,该本体的一侧面连接一软排线,该锁扣装置设置在该本体上;In order to achieve the above purpose, the technical means used in the utility model is to provide a flat cable connector with a double elastic safety lock, which includes a body and a lock device, one side of the body is connected to a flexible cable, the locking device is arranged on the body;
该锁扣装置在该本体两侧分别形成有一呈凹状的容室,在本体上设有分别与两容室相互连通的穿孔,在该本体的外侧处形成有第一弹臂,在该第一弹臂的自由端设有一结合槽,在该容室的一内侧壁面形成有一内凹的导槽,在该导槽的槽壁面上内凹形成有一定位槽;The locking device forms a concave chamber on both sides of the main body, and the main body is provided with perforations respectively communicating with the two chambers, and a first elastic arm is formed on the outer side of the main body. The free end of the elastic arm is provided with a joint groove, a concave guide groove is formed on an inner side wall of the chamber, and a positioning groove is concavely formed on the groove wall surface of the guide groove;
该本体在其两侧的容室内分别枢设有一扣具,该扣具具有一长片体,在该长片体一端设有扣部,在其另一端形成有一突片,该突片与结合槽相互固定,在该长片体上形成有一具弹性的第二弹臂,该第二弹臂的自由端形成有一突部,该突部与定位槽相互固定。The main body is respectively pivotally provided with a buckle in the chambers on both sides. The buckle has a long body, a buckle is provided at one end of the long body, and a protruding piece is formed at the other end. The protruding piece is combined with the The grooves are fixed to each other, and a second elastic arm with elasticity is formed on the elongated body, and a protrusion is formed on the free end of the second elastic arm, and the protrusion and the positioning groove are fixed to each other.
所述的具有双重弹性的安全锁扣的扁平缆线连接器,其中,该本体以塑胶材质制成,该第一弹臂在其中段位置形成有一小于自由端宽度的杆臂,在该自由端形成有一突出的按压部,该扣具由一金属片所弯折成形,在该长片体上形成的第二弹臂呈U形。The flat cable connector with double elastic safety lock, wherein the body is made of plastic material, and the first elastic arm has a lever arm with a width smaller than the free end at the middle position, and at the free end A protruding pressing portion is formed, the buckle is formed by bending a metal sheet, and the second elastic arm formed on the long sheet is U-shaped.
所述的具有双重弹性的安全锁扣的扁平缆线连接器,其中,该扣具的长片体上设有一轴孔,以该轴孔枢设在本体上。In the flat cable connector with a double elastic safety lock, the long body of the buckle is provided with a shaft hole, and the shaft hole is pivoted on the body.
所述的具有双重弹性的安全锁扣的扁平缆线连接器,其中,该本体的底面形成有一内凹的组装部并以一连接件与软排线相互结合固定,该本体的顶面包覆设有一金属壳,该金属壳形成有突片,该突片可贯穿该本体及扣具上的轴孔,使扣具枢设在本体上。The flat cable connector with double elastic safety lock, wherein, the bottom surface of the body forms a concave assembly part and is fixed with a connecting piece and the flexible cable, and the top surface of the body covers A metal shell is provided, and the metal shell is formed with a protruding piece, and the protruding piece can pass through the shaft hole on the main body and the buckle, so that the buckle is pivotally arranged on the main body.
所述的具有双重弹性的安全锁扣的扁平缆线连接器,其中,在该本体与金属壳之间设有一导电片,在该金属壳上形成有两间隔设置的弹片,其自由端与该导电片连接。In the flat cable connector with double elastic safety lock, a conductive piece is provided between the body and the metal shell, and two elastic pieces are formed on the metal shell, the free end of which is connected to the metal shell. Conductor connection.
所述的具有双重弹性的安全锁扣的扁平缆线连接器,其中,该金属壳在相对于该第一弹臂的位置形成有一开口,该第一弹臂自由端的按压部由该开口处突出。In the flat cable connector with a double elastic safety lock, the metal shell is formed with an opening relative to the first elastic arm, and the pressing part of the free end of the first elastic arm protrudes from the opening .
由于该本体相对扣具组装处设有一容室及内凹的导槽,使得该扣具朝向本体穿设时,扣具的本体位于该容室内、具有轴孔位置的本体位于该穿孔内、该第二弹臂的两端分别位于该定位槽及结合槽处,而形成一具有导向及定位的设计,使该扣具组装入本体后可予以定位,使得扣具不容易由该本体上脱落;再者本实用新型设计为具有双弹臂作用,当第一弹臂失效时,可以通过第二弹臂把第一弹臂反弹回来;当第二弹臂失效时,可以通过第一弹臂把第二弹臂反弹回来,防止软排线上的连接器与电子装置受到震动冲击时造成两者之间的脱落,具有可使两者稳固结合的作用。Since the body is provided with a chamber and a concave guide groove relative to the buckle assembly, when the buckle is inserted towards the body, the body of the buckle is located in the chamber, the body with the shaft hole is located in the through hole, and the body of the buckle is located in the through hole. The two ends of the second elastic arm are respectively located at the positioning groove and the coupling groove, forming a guiding and positioning design, so that the buckle can be positioned after being assembled into the body, so that the buckle is not easy to fall off from the body; Furthermore, the utility model is designed to have the function of double elastic arms. When the first elastic arm fails, the first elastic arm can be bounced back through the second elastic arm; The second elastic arm bounces back to prevent the connector on the flexible cable and the electronic device from falling off when they are subjected to vibration and impact, and has the function of stably combining the two.
附图说明Description of drawings
图1是本实用新型优选实施例的外观图。Fig. 1 is the exterior view of the preferred embodiment of the utility model.
图2是本实用新型优选实施例的立体分解图。Fig. 2 is a three-dimensional exploded view of a preferred embodiment of the utility model.
图3是本实用新型优选实施例的部份元件分解图。Fig. 3 is an exploded view of some components of the preferred embodiment of the present invention.
图4是本实用新型优选实施例的剖面动作图。Fig. 4 is a sectional action diagram of a preferred embodiment of the present invention.
图5是本实用新型优选实施例的另一剖面动作图。Fig. 5 is another sectional action diagram of the preferred embodiment of the present invention.
图6是现有技术的立体分解图。Fig. 6 is an exploded perspective view of the prior art.
图7是现有技术的剖面动作图。Fig. 7 is a sectional operation diagram of the prior art.
附图标号说明:Explanation of reference numbers:
10本体 100组装部10
11第一弹臂 111按压部11 first
12容室 13导槽12
14穿孔 15定位槽14
16结合槽 20扣具16
21长片体 22轴孔21
23扣部 24第二弹臂23
241突部 25突片241
30金属壳 31弹片30
32开口 33突片32
40导电片 50聚酯胶带40
60软排线 61接点60
70本体 701组装槽70
71上壳体 72下壳体71
73软排线73 flexible cable
80扣具 81弹臂80
811轴孔 82作动部811 Shaft
83扣部 84抵顶片83
具体实施方式Detailed ways
以下配合附图及本实用新型的优选实施例,进一步阐述本实用新型为达成预定实用新型目的所采取的技术手段。Below, in conjunction with the accompanying drawings and preferred embodiments of the utility model, the technical means adopted by the utility model to achieve the intended purpose of the utility model will be further elaborated.
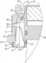
参看图1、图2及图3所示,本实用新型是一种具有双重弹性的安全锁扣的扁平缆线连接器,其包括有一本体10及一锁扣装置,该本体10的一侧底面形成有一内凹的组装部100,该组装部100与一软排线60的一端相互连接,该软排线60的一侧与本体10底面相互贴靠并配合一连接件62予以相互贴合固定,该连接件62可为一双面胶,软排线60在远离本体10的另一侧具有多个与电子装置电连接的接点61;Referring to Fig. 1, Fig. 2 and Fig. 3, the utility model is a flat cable connector with a double elastic safety lock, which includes a
该锁扣装置设置在本体10上,该本体10可以由塑胶材质制成,在本体10的两侧分别设有一扣具20,其中在本体10上且相对于设置扣具20的位置形成有一呈凹状的容室12,使得本体10的外侧处形成有第一弹臂11,该第一弹臂11在中段位置形成有一小于自由端宽度的杆臂,而形成有一可压缩的弹性,在其自由端形成有突出的按压部111,在本体10上设有一与容室12相互连通的穿孔14,且本体10在第一弹臂11的自由端设有一结合槽16,且在容室12的一内侧壁面形成有一内凹的导槽13,在导槽13的槽壁面上内凹形成有一定位槽15。The locking device is arranged on the
配合参看图3及图4所示,该扣具20由一金属片所弯折成形而具有一长片体21,其具有一轴孔22,扣具20以所设的轴孔22枢设在长片体21上,在长片体21的一端形成有一扣部23,其另一端的片体上形成有一弯折突出的突片25,在长片体21一侧的片体弯折形成有一呈U形的第二弹臂24,在第二弹臂24的自由端沿其片体表面弯折形成有一突出的突部241。Referring to Fig. 3 and Fig. 4, the
配合参看图4及图5所示,扣具20以其一端的扣部23贯穿位于本体10的穿孔14处,在穿设时第二弹臂24具有突部241的一侧可受到导槽13的引导移动组装在容室12内,并使得该突部241位于定位槽15内,而突片25组装在结合槽16处,使得扣具20与本体10间可获得定位,而有利于自动化机械的组装;且将扣具20与本体10予以相互枢设后,本体10的两侧分别具有一具有双重弹性的安全锁扣,使用时将连接器的插头穿设插接在连接座后,以扣具20的扣部23与连接座相互扣固结合,当按压第一弹臂11时可解除扣部23的扣固作用,使插头与电子装置的连接座相互分离。Referring to Fig. 4 and Fig. 5, the
若在实际使用该第二弹臂24失效而无法提供弹性时,第一弹臂11通过其塑胶材质的特性可提供反弹的弹性,将受压动后的第二弹臂24予以推移而使扣部23仍可提供扣固作用;且若当第一弹臂11受破坏失效而无法提供弹性时,可利用金属片弯折成的第二弹臂24所具有的弹性将第一弹臂11反弹移位,并同时带动长片体21使其扣部23具有扣固作用,以此可使软排线60一端所设的连接器在与插座相互插设结合后,以双重的锁扣装置予以固定,可防止震动冲击时产品脱落,而获得较安全的扣合定位效果。If the second
本实用新型的连接器进一步在本体10外侧包覆设有一金属片材弯折成形的金属壳30,在其壳体切割弯折形成有一突片33,配合参看图2,图3及图4所示,该突片33可贯穿本体10及扣具20的轴孔22,以达到将扣具20枢设在本体10上,该金属壳30可为铁材质制成,其与本体10之间设有一由铝薄片制成的导电片40,金属壳30在其表面切割形成有两间隔设置的弹片31,该弹片31的自由端抵压在该导电片40上,使得导电片40与金属壳30相互电连接,以提供与另一相对应的连接器相互插接后可提供接地作用,且在金属壳30的两侧壁面上且相对于扣具20位置形成有开口32,该开口32可供第一弹臂11自由端的按压部111突出至外部;另在该金属壳30的外侧与软排线60间设有一聚酯胶带50。The connector of the present utility model is further coated with a
以上所述仅是本实用新型的优选实施例而已,并非对本实用新型做任何形式上的限制,虽然本实用新型已以优选实施例披露如上,然而并非用以限定本实用新型,任何本领域的技术人员,在不脱离本实用新型技术方案的范围内,应当可以利用上述揭示的技术内容作出些许改变或修饰为等同变化的等效实施例,但凡是未脱离本实用新型技术方案的内容,依据本实用新型的技术实质对以上实施例所作的任何简单修改、等同变化与修饰,均仍属于本实用新型技术方案的范围内。The above descriptions are only preferred embodiments of the present utility model, and do not limit the utility model in any form. Although the utility model has been disclosed as above with preferred embodiments, it is not intended to limit the utility model. Anyone in the field Skilled persons, within the scope of the technical solution of the utility model, should be able to use the technical content disclosed above to make some changes or modify equivalent embodiments with equivalent changes. The technical essence of the utility model makes any simple modifications, equivalent changes and modifications to the above embodiments, all still belong to the scope of the technical solution of the utility model.
| Application Number | Priority Date | Filing Date | Title |
|---|---|---|---|
| CN 201220295875CN202651507U (en) | 2012-06-19 | 2012-06-19 | Flat cable connector with dual resilient safety catches |
| Application Number | Priority Date | Filing Date | Title |
|---|---|---|---|
| CN 201220295875CN202651507U (en) | 2012-06-19 | 2012-06-19 | Flat cable connector with dual resilient safety catches |
| Publication Number | Publication Date |
|---|---|
| CN202651507Utrue CN202651507U (en) | 2013-01-02 |
| Application Number | Title | Priority Date | Filing Date |
|---|---|---|---|
| CN 201220295875Expired - Fee RelatedCN202651507U (en) | 2012-06-19 | 2012-06-19 | Flat cable connector with dual resilient safety catches |
| Country | Link |
|---|---|
| CN (1) | CN202651507U (en) |
| Publication number | Priority date | Publication date | Assignee | Title |
|---|---|---|---|---|
| CN105428914A (en)* | 2015-11-23 | 2016-03-23 | 中航光电科技股份有限公司 | Terminal |
| CN108988031A (en)* | 2018-07-18 | 2018-12-11 | 苏州优瑞信电子科技有限公司 | A kind of electric connector |
| Publication number | Priority date | Publication date | Assignee | Title |
|---|---|---|---|---|
| CN105428914A (en)* | 2015-11-23 | 2016-03-23 | 中航光电科技股份有限公司 | Terminal |
| CN108988031A (en)* | 2018-07-18 | 2018-12-11 | 苏州优瑞信电子科技有限公司 | A kind of electric connector |
| Publication | Publication Date | Title |
|---|---|---|
| CN203521768U (en) | electrical connector | |
| US9502827B2 (en) | Electrical connector with improved metal shell | |
| US7347708B1 (en) | Firm-structured plug | |
| US20140170875A1 (en) | Card edge connector with a metal member | |
| US7476115B2 (en) | Land grid array connector with retaing clip | |
| US20140199866A1 (en) | Card edge connector with detecting contacts | |
| CN104781996A (en) | Latched Connector Assembly with Release Mechanism | |
| WO2016042523A1 (en) | Electrical connector and electrical connector assembly | |
| TWM595343U (en) | Connector | |
| JP2012169243A (en) | Flexible cable connector | |
| US20140364000A1 (en) | Card edge connector with a lock mechanism | |
| US20170040742A1 (en) | Electronic card connector having improved shielding shell for electrostatic discharge protection | |
| TWM619825U (en) | Strap connector | |
| CN202651507U (en) | Flat cable connector with dual resilient safety catches | |
| US7510427B2 (en) | Electrical connector with guiding portion | |
| US8834193B2 (en) | Electrical connector with elastic locking mechanism and electrical connector assembly thereof | |
| TWM470405U (en) | Electrical connector | |
| CN102832483B (en) | Electronic-card connector | |
| US4204723A (en) | Safety plug clip | |
| CN201204326Y (en) | cable connector | |
| CN201117992Y (en) | electronic card connector | |
| CN202564639U (en) | Poking buckling type flexible flat cable connector and flexible flat cable connected with same | |
| JP4916845B2 (en) | Connector assembly and connector | |
| CN110661141A (en) | Wire-to-board connector | |
| KR101668614B1 (en) | Terminal assembly |
| Date | Code | Title | Description |
|---|---|---|---|
| C14 | Grant of patent or utility model | ||
| GR01 | Patent grant | ||
| CF01 | Termination of patent right due to non-payment of annual fee | ||
| CF01 | Termination of patent right due to non-payment of annual fee | Granted publication date:20130102 Termination date:20190619 |