Movatterモバイル変換


[0]ホーム

URL:


CN202649961U - Touch detection assembly, touch control device and portable electric equipment - Google Patents

Touch detection assembly, touch control device and portable electric equipment
Download PDF

Info

Publication number
CN202649961U
CN202649961UCN2012201340878UCN201220134087UCN202649961UCN 202649961 UCN202649961 UCN 202649961UCN 2012201340878 UCN2012201340878 UCN 2012201340878UCN 201220134087 UCN201220134087 UCN 201220134087UCN 202649961 UCN202649961 UCN 202649961U
Authority
CN
China
Prior art keywords
electrode
hollow
out parts
group
detection components
Prior art date
Legal status (The legal status is an assumption and is not a legal conclusion. Google has not performed a legal analysis and makes no representation as to the accuracy of the status listed.)
Expired - Lifetime
Application number
CN2012201340878U
Other languages
Chinese (zh)
Inventor
李振刚
黄臣
杨云
Current Assignee (The listed assignees may be inaccurate. Google has not performed a legal analysis and makes no representation or warranty as to the accuracy of the list.)
BYD Co Ltd
Original Assignee
BYD Co Ltd
Priority date (The priority date is an assumption and is not a legal conclusion. Google has not performed a legal analysis and makes no representation as to the accuracy of the date listed.)
Filing date
Publication date
Application filed by BYD Co LtdfiledCriticalBYD Co Ltd
Priority to CN2012201340878UpriorityCriticalpatent/CN202649961U/en
Application grantedgrantedCritical
Publication of CN202649961UpublicationCriticalpatent/CN202649961U/en
Anticipated expirationlegal-statusCritical
Expired - Lifetimelegal-statusCriticalCurrent

Links

Images

Classifications

Landscapes

Abstract

The utility model discloses a touch detection assembly, a touch control device and portable electric equipment. The touch detection assembly comprises a base plate and a plurality of sensing units, wherein the plurality of the sensing units are arranged on the base plate and do not intersect with each other, each sensing unit comprises a sensing body, a first electrode and a second electrode, the sensing body comprises a first body part, a second body part and a third body part, and the first body part and the second body part are respectively form a preset angle with the third body part. A first end and a second end of the third body part are respectively connected with a second end of the first body part and a first end of the second body part, the first body part and the second body part are arranged on the same side of the third body part, the first electrode is connected with a first end of the first body part, the second electrode is connected with a second end of the second body part, and the sensing body is provided with a plurality of hollow portions. By means of the touch detection assembly, the size of the resistance required by precision detection can be obtained and linearity of sensing is improved.

Description

Touch detection components, contactor control device and a kind of portable electric appts
Technical field
The utility model relates to electronic device design and manufacturing technology field, relates in particular to a kind of contactor control device and portable electric appts that touches detection components, has described touch detection components.
Background technology
Touch at present detection components (touch-screen) at mobile phone, PDA (personal digital assistant), GPS (GPS), PMP (MP3, MP4 etc.), even obtained application in the electronic equipment such as panel computer.Touch-screen has that touch control operation is simple, convenient, the advantage of hommization, so touch-screen is expected to become the best interface of human-computer interaction and is widely applied in portable set.
The capacitance touch detection components is divided into self-capacitance formula and mutual capacitance type two classes usually.Existing individual layer self-capacitance touch screen is the scan electrode of the bar shaped of making at the useful ITO of glass surface (Indium Tin Oxides, nano indium tin metal oxide).ITO is a kind of conductive materials that the fixed resistance rate is arranged, and its comparison of coherence on base material is high, just can prove this point from the linearity of touch screens.The two poles of the earth of an electric capacity of environment structure around these electrodes and ground and the circuit etc.Will electric capacity in parallel when touching with hand or felt pen in circuit, thereby the overall capacitance amount on this sweep trace is changed to some extent.In scanning, control IC scans each sensing element by specific scan mode, and determines the position of touch point according to the capacitance variations before and after the scanning, exchanges thereby reach man-machine conversation.Capacitance touch screen is and TFT (Thin Film Transistor, Thin Film Transistor (TFT)) LCD pairing work together generally speaking, and is placed on above the LCD.
Fig. 1 shows a kind of traditional self-capacitance formula and touches detection components.This self-capacitance formula touches detection components and mainly contains double-deck diamond structure sensing unit 100 ' and 200 ', it detects principle is that X-axis and Y-axis are scanned respectively, exceeded preset range if detect the capacitance variations of certain point of crossing, then with the point of crossing of this row and column as touch coordinate.Although it is better that this self-capacitance formula touches the linearity of detection components, often there's something fishy, and point occurs, and is difficult to realize multiple point touching.In addition, owing to adopt bilayer screen, also can cause structure and cost significantly to increase, and diamond structure the coordinate drift can occur in the very little situation of capacitance change, affected greatly by external interference.
Fig. 2 a shows another kind of traditional self-capacitance formula and touches detection components.This self-capacitance formula touches detection components and adopts triangular pattern screen structure.This self-capacitance formula touches detection components and comprises substrate 300 ', is arranged on a plurality of electrodes 500 ' that a plurality of triangle sensing units 400 ' on the substrate 300 ' link to each other with eachtriangle sensing unit 400 '.Fig. 2 b shows the detection principle that triangle self-capacitance formula touches detection components.Shown in Fig. 2 b, ellipse representation finger, S1, S2 represent to point the contact area with two triangle sensing units.The false coordinate initial point is in the lower left corner, horizontal ordinate X=S2/ (S1+S2) * P then, and wherein, P is resolution.When finger moved right, because S2 is not linear the increase, there was a deviation in the X coordinate.Can find out that from above-mentioned principle traditional triangle sensing unit is single-ended detection, namely only detect from a direction, then calculate the coordinate of both direction by algorithm.Although it is simple in structure that this self-capacitance formula touches detection components, the capacitive sensing for screen is not optimized, and capacitance change is little, thereby causes signal to noise ratio (S/N ratio) inadequate.In addition, because this sensing unit is triangle, area is not linear the increase when the finger transverse shifting, so the linearity is relatively poor, has caused coordinate Calculation to be offset, and the linearity is good not.
In addition, the capacitance change of traditional capacitance sensing unit output is very little, reaches the flying method level, and the existence of its cable stray capacitance is had higher requirement to metering circuit.And stray capacitance can change with many factors such as temperature, position, inner electric field and outer electric field distributions, disturbs even floods the measured capacitance signal.In addition, for individual layer electric capacity, because the meeting that affects of Vcom level signal forms serious interference to inductance capacitance, wherein, the Vcom level signal is not stop the level signal of overturning in order to prevent the lcd screen liquid crystal aging.
The utility model content
The application is based on the understanding of inventor to the following fact: the sensing element of traditional individual layer self-capacitance touch screen is the bar shaped of bilateral lead-in wire.After the size of screen was determined, the size of this bar shaped is just basic to have been determined.The width of bar shaped sensing element is approximately 5mm, and this width broadens can affect the linearity, will increase the passage sensing element and this width is narrow.The length of bar shaped is exactly the length of touch-screen substantially.After the length and width of bar shaped were determined, the resistance between the two ends of this bar shaped had just been determined.Resistance R=P*L/h, wherein, L is the length of sensing element, h is the height of sensing element, and P is that the sheet resistance of ITO (that is, is made a square to the ITO layer that is plated in above the base material, then from left to right resistance is a basic parameter of ITO base material).The size of sheet resistance P is relevant with the thickness of ITO layer.And in this area the ITO sheet resistance is only had several limited standard values.Thus, after making the individual layer self-capacitance touch screen with the base material of fixing ITO sheet resistance, every resistance R can calculate.Yet, because detecting the principle of finger touch is the ratio of calculated resistance, if resistance R is too large or too littlely all can affect accuracy of detection, wherein parameter P is that base material determines, L and h are that the touch-screen size determines, can not arbitrarily change during design, so if sensing element is made simple bar shaped, resistance often is not the value of optimum measurement.
Of the present utility modelly be intended to one of solve the problems of the technologies described above at least to a certain extent, especially be intended to solve at least or avoid to occur traditional self-capacitance formula and touch one of above-mentioned shortcoming in the detection components.
The first aspect of the utility model embodiment has proposed a kind of touch detection components, comprising: substrate; With a plurality of sensing units, described a plurality of sensing unit is located on the described substrate and mutually disjoints, each described sensing unit comprises induction body and the first electrode and the second electrode, described induction body comprises the first to the 3rd body, described the first and second bodies become predetermined angular with described the 3rd body respectively, the first and second ends of described the 3rd body link to each other with the second end of described First body and the first end of described the second body respectively, described the first and second bodies are positioned at the same side of described the 3rd body, described the first electrode links to each other with the first end of described First body and described the second electrode links to each other with the second end of described the second body, described induction body has a plurality of hollow-out parts, and described a plurality of hollow-out parts are arranged on the described induction body to limit be used to the current path section that increases the resistance between described the first and second electrodes.
Touch detection components according to the utility model embodiment, by at the induction body hollow-out parts being set, can be so that the path of the current path section of whole induction body be thinner or longer, just being equivalent to has increased L or has reduced h in the R=P*L/h formula, so that the resistance R between the first electrode and the second electrode becomes large, thereby obtain the size of the required resistance of accuracy of detection, and then improved the linearity of induction.
The second aspect of the utility model embodiment has also proposed a kind of contactor control device, comprising: touch detection components, described touch detection components is according to the described touch detection components of the utility model first aspect embodiment; And control chip, described control chip links to each other with the second electrode with described the first electrode, described control chip is configured to for applying level signal to be created between described the first and second electrodes by the mobile electric current of described current path section to described the first electrode and/or the second electrode, be used for charging to the self-capacitance that described induction body produces when being touched by described electric current, be used for when the induction body that detects at least one described sensing unit is touched, calculate described the first electrode and described second electrode of the first resistance between the described self-capacitance and described at least one sensing unit and the proportionate relationship between the second resistance between the described self-capacitance of described at least one sensing unit, and be used for determining the touch location that the induction body of described at least one described sensing unit is touched according to the proportionate relationship between described the first resistance and described the second resistance.
According to the contactor control device of the utility model embodiment, realize determining of touch location by calculating thefirst resistance R 1 and thesecond resistance R 2 ratios, improved measuring accuracy, improved the linearity.
The third aspect of the utility model embodiment has also proposed a kind of portable electric appts, comprises aforesaid touch control detection assembly.
The fourth aspect of the utility model embodiment has also proposed a kind of portable electric appts, comprises aforesaid contactor control device.
Additional aspect of the present utility model and advantage in the following description part provide, and part will become obviously from the following description, or recognize by practice of the present utility model.
Description of drawings
Above-mentioned and/or additional aspect of the present utility model and advantage are from obviously and easily understanding becoming the description of embodiment in conjunction with following accompanying drawing, wherein:
Fig. 1 is the structural drawing that a kind of traditional self-capacitance formula touches detection components;
Fig. 2 a is the structural drawing that another kind of traditional self-capacitance formula touches detection components;
Fig. 2 b is the detection schematic diagram that another kind of traditional self-capacitance formula touches detection components shown in Fig. 2 a;
Fig. 3 is the detection principle schematic of the contactor control device of the utility model embodiment;
Fig. 4 is the touch detecting method process flow diagram of the contactor control device of the utility model embodiment;
Fig. 5 is the synoptic diagram of the contactor control device of an embodiment of the utility model, and wherein responding to body is rectangle;
Fig. 6-Figure 17 is the synoptic diagram according to the different examples of the touch detection components of an embodiment of the utility model, and wherein responding to body is rectangle;
Figure 18-Figure 29 is the synoptic diagram according to the different examples of the touch detection components of another embodiment of the utility model, wherein responds to body for substantially L shaped;
Figure 30-Figure 41 is the synoptic diagram according to the different examples of the touch detection components of another embodiment of the utility model, wherein responds to body and is the cardinal principle U-shaped;
Figure 42 is the synoptic diagram according to the touch detection components of another embodiment of the utility model;
Figure 43 is the synoptic diagram according to the touch detection components of the utility model another one embodiment;
Synoptic diagram when Figure 44 is touched for the sensing unit according to the touch detection components of an embodiment of the utility model is wherein responded to body and is U-shaped substantially; And
Synoptic diagram when Figure 45 is touched for the sensing unit according to the touch detection components of an embodiment of the utility model is wherein responded to body for substantially L shaped.
Embodiment
The below describes embodiment of the present utility model in detail, and the example of described embodiment is shown in the drawings, and wherein identical or similar label represents identical or similar element or the element with identical or similar functions from start to finish.Be exemplary below by the embodiment that is described with reference to the drawings, only be used for explaining the utility model, and can not be interpreted as restriction of the present utility model.
In description of the present utility model, it will be appreciated that, orientation or the position relationship of the indications such as term " " center ", " vertically ", " laterally ", " on ", D score, " left side ", " right side ", " vertically ", " level ", " interior ", " outward " be based on orientation shown in the drawings or position relationship; only be for convenience of description the utility model and simplified characterization; rather than the device of indication or hint indication or element must have specific orientation, with specific orientation structure and operation, so can not be interpreted as restriction of the present utility model.In addition, term " first ", " second " only are used for describing purpose, and can not be interpreted as indication or hint relative importance or the implicit quantity that indicates indicated technical characterictic.Thus, one or more these features can be expressed or impliedly be comprised to the feature that is limited with " first ", " second ".In description of the present utility model, except as otherwise noted, the implication of " a plurality of " is two or more.
In description of the present utility model, need to prove that unless clear and definite regulation and restriction are arranged in addition, term " installation ", " linking to each other ", " connection " should be done broad understanding, for example, can be to be fixedly connected with, also can be to removably connect, or connect integratedly; Can be mechanical connection, also can be to be electrically connected; Can be directly to link to each other, also can indirectly link to each other by intermediary, can be the connection of two element internals.For the ordinary skill in the art, can concrete condition understand the concrete meaning of above-mentioned term in the utility model.
In the utility model, unless clear and definite regulation and restriction are arranged in addition, First Characteristic Second Characteristic it " on " or D score can comprise that the first and second features directly contact, can comprise that also the first and second features are not directly contacts but by the other feature contact between them.And, First Characteristic Second Characteristic " on ", " top " and " above " comprise First Characteristic directly over Second Characteristic and oblique upper, or only represent that the First Characteristic level height is higher than Second Characteristic.First Characteristic Second Characteristic " under ", " below " and " below " comprise First Characteristic directly over Second Characteristic and oblique upper, or only represent that the First Characteristic level height is less than Second Characteristic.
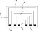
The below at first describes the detection principle according to the contactor control device of the embodiment of the utility model second aspect.Contactor control device according to the utility model embodiment comprisestouch detection components 100 andcontrol chip 200, as shown in Figure 5,touch detection components 100 and comprisesubstrate 1 and thesensing unit 2 that is located on thesubstrate 1, wherein sensingunit 2 comprisesinduction body 20 and thefirst electrode 21 and thesecond electrode 22 that link to each other with induction body 20.As shown in Figure 5, be the contactor control device synoptic diagram of an embodiment of the utility model.In embodiment of the present utility model, if any a plurality ofsensing units 2, then can be parallel to each other betweendisjoint sensing unit 2, perhaps also can be partly parallel between disjoint sensing unit 2.In embodiment of the present utility model,substrate 1 can be single layer substrate.But need to prove at this, for a plurality ofsensing units 2, do not limit it and be the structure of Fig. 5, thissensing unit 2 also can adopt other structure, have certain radian etc. such as part or all ofsensing unit 2, these all can be applicable in the utility model.
Control chip 200 links to each other with thesecond electrode 22 with thefirst electrode 21 respectively,control chip 200 is configured to for applying level signal to be created in the electric current that flows bycurrent path section 25 between thefirst electrode 21 and thesecond electrode 22 to thefirst electrode 21 and/or thesecond electrode 22, be used for charging to the self-capacitance thatinduction body 20 produces when being touched by electric current, be used for when theinduction body 20 that detects at least onesensing unit 2 is touched, calculate thefirst electrode 21 and thesecond electrode 22 of the first resistance between the self-capacitance and at least onesensing unit 2 and the proportionate relationship between the second resistance between the self-capacitance of at least onesensing unit 2, and be used for determining the touch location that theinduction body 20 of at least onesensing unit 2 is touched according to the proportionate relationship between the first resistance and the second resistance.
Particularly, proportionate relationship between the first resistance and the second resistance is according to the self-capacitance charge/discharge time, from the first electrode and/or the second electrode detects the first detected value of acquisition and the proportionate relationship between the second detected value calculates, can carry out simultaneously charging, discharge or the detection of the first electrode and the second electrode as mentioned above, also can separately carry out.When touching detection components control chip 200 and determine that according to the first detected value and the second detected value corresponding sensing unit is touched, then touch detection components control chip 200 calculates the first resistance and the second resistance according to the first detected value and the second detected value proportionate relationship, thereby further judge the touch location on first direction, and according to the touch location of location positioning on second direction of the sensing unit 2 of correspondence.Touch at last detection components control chip 200 and just can determine that according to the touch location on the first direction and the touch location on the second direction touch point is in the position that touches on the detection components.Also need to prove at this, in embodiment of the present utility model for concerning the charging and discharging order of sensing unit without limits, for example in one embodiment, can charge successively to all sensing units 2 in the mode of scanning, then in turn it be carried out discharge examination again; In another embodiment, can carry out charging and discharging to sensing unit 2 one by one, for example to after 2 chargings of a sensing unit, with that it be carried out discharge examination, after this sensing unit 2 is finished dealing with, more next sensing unit 2 be processed.In an embodiment of the present utility model, touch detection components control chip 200 and apply level signal with to the self-capacitance charging to the first electrode 21 of sensing unit 2 and the second electrode 22, touch detection components control chip 200 and charge from the first electrode 21 and/or the second electrode 22 and detect to obtain the first charging detected value and the second charging detected value.
Particularly, the contactor control device of the utility model embodiment adopts novel self-capacitance formula detection mode, when sensing unit is touched, place, touch point at sensing unit produces self-capacitance, and the touch point can be divided into sensing unit two resistance, is carrying out considering when self-capacitance detects that these two resistance just can determine the position of touch point on this sensing unit.Fig. 3 is the detection principle schematic of the contactor control device of the utility model embodiment.When finger during 300 touch sensing unit, will be equivalent to sensing unit is divided into the first and second tworesistance R 1, R2, the proportionate relationship between the resistance of thefirst resistance R 1 and thesecond resistance R 2 is relevant with the position of touch point.For example, as described in Figure 3, when touch point and thefirst electrode 21 were nearer, then thefirst resistance R 1 was just less, and thesecond resistance R 2 is just larger; Anyway, when touch point and thesecond electrode 22 were nearer, then thefirst resistance R 1 was just larger, and thesecond resistance R 2 is just less.Therefore, just can determine the position of touch point on sensingunit 2 by the detection to thefirst resistance R 1 and thesecond resistance R 2.
In embodiment of the present utility model, can detect in several ways the resistance value of thefirst resistance R 1 and thesecond resistance R 2, in the detected value of the level signal of detected value that for example can be by electric current, the detected value of self-capacitance, self-capacitance and the charge variation detection values of self-capacitance one or more, thus thefirst resistance R 1 and thesecond resistance R 2 obtained according to these detected values.In addition, in embodiment of the present utility model, the detection of above-mentioned detected value can be carried out (obtaining the first charging detected value and the second charging detected value) when self-capacitance is charged, also can carry out (obtaining the first discharge examination value and the second discharge examination value) when self-capacitance discharges.In addition, the detection of carrying out when charging and discharging can be adopted various ways.
Need to prove that at least one in the charging and discharging carried out from thefirst electrode 21 and thesecond electrode 22, thereby can obtain to react two detected values of difference between the first resistance and the second resistance, i.e. the first detected value and the second detected value.That is to say, electric current need to be arranged through thefirst resistance R 1 and thesecond resistance R 2 when charge or discharge, thereby the first detected value that detects and the second detected value can react the difference between thefirst resistance R 1 and thesecond resistance R 2.
In embodiment of the present utility model, usually need to fill twice electricity and carry out twice detection, charging comprises simultaneously the situation from thefirst electrode 21 and 22 chargings of the second electrode.In certain embodiments, can also carry out twice discharge.For convenience's sake, all be to carry out twice charging and twice detection in following embodiment.Need to prove that carry out a kind of scheme that twice charging and twice detection only are the utility model embodiment, algorithm is relatively simple.Yet those skilled in the art also can increase according to above-mentioned thought the number of times of charging and detection, for example can carry out three chargings and detection, calculate thefirst resistance R 1 according to primary charging detected value and secondary charging detected value afterwards, calculate thesecond resistance R 2 according to primary charging detected value and charging detected value for the third time again.
Particularly, include but not limited to that according to embodiment of the present utility model following several concrete metering system detects:
1, first applies level signal with to self-capacitance charging (described self-capacitance sensing unit be touched generation) to the first electrode 21 of sensing unit and the second electrode 22; Then charge and detects to obtain the first charging detected value and second detected value that charges from the first electrode 21 and/or the second electrode 22.In this embodiment, because charging is carried out from the first electrode 21 and the second electrode 22, therefore detect and to detect from the first electrode 21, also can detect from the second electrode 22, perhaps detect respectively from the first electrode 21 and the second electrode 22.Also need to prove, in this embodiment, can carry out simultaneously from the charging of the first electrode 21 and the second electrode 22, also can carry out separately respectively, for example the first electrode 21 is applied identical level signal so that self-capacitance is charged simultaneously with the second electrode 22, in other embodiments, the level signal that the first electrode 21 and the second electrode 22 is applied also can be different; Perhaps, also can apply a level signal at the first electrode 21 first, apply identical level signal or different level signals at the second electrode 22 more afterwards.Similarly, can carry out simultaneously from the detection of the first electrode 21 and the second electrode 22, also can carry out respectively.In the following embodiments, detect with charging and can carry out simultaneously, perhaps carry out respectively.
2, the first electrode 21 or the second electrode 22 to sensing unit applies level signal at twice so that self-capacitance is carried out twice charging; After each charging, detect to obtain the first charging detected value and the second charging detected value from the first electrode 21 and/or the second electrode 22.In this embodiment, because charging is carried out from the first electrode 21 or the second electrode 22, therefore detect and to carry out respectively from the first electrode 21 and the second electrode 22, wherein, can carry out simultaneously from the detection of the first electrode 21 and the second electrode 22, also can carry out respectively.In addition, alternatively, can also carry out twice charging at the first electrode 21, and carry out twice detection from the first electrode 21, perhaps, carry out twice charging from the second electrode 22, carry out twice detection at the second electrode 22.From the charging of twice at an electrode time, respectively with another electrode grounding or connect high resistant to change the state of another electrode.For example apply respectively level signal for twice self-capacitance is carried out twice when charging when the first electrode 21 to sensing unit, wherein, with described the second electrode 22 ground connection, in another time charging process described the second electrode 22 connect and be high resistant in the charging process in twice charging; When the second electrode 22 to sensing unit applies respectively level signal for twice self-capacitance being carried out twice when charging, with described the first electrode 21 ground connection, in another time charging process described the first electrode 21 connect and be high resistant in the charging process in twice charging.Even carried out twice charging at the first electrode 21 like this, because the change of the second electrode 22 states, also can carry out twice detection at the first electrode 21, to obtain to react the first detected value and second detected value of the first resistance R 1 and the second resistance R 2 ratios relation.
3, thefirst electrode 21 and thesecond electrode 22 to sensing unit applies level signal so that self-capacitance is charged; Then control thefirst electrode 21 and/or thesecond electrode 22 ground connection so that self-capacitance is discharged; Carry out discharge examination to obtain described the first discharge examination value and the second discharge examination value from thefirst electrode 21 and/or thesecond electrode 22 afterwards.In this embodiment, because charging is carried out from thefirst electrode 21 and thesecond electrode 22 to self-capacitance, therefore discharge or detection just can be carried out from thefirst electrode 21 and/or the second electrode 22.Particularly, for example can apply level signal so that self-capacitance is charged to thefirst electrode 21 and thesecond electrode 22 simultaneously, perhaps also can not apply simultaneously level signal.Can be all with thefirst electrode 21 ground connection, perhaps all with thesecond electrode 22 ground connection when twice discharge.
4, thefirst electrode 21 or thesecond electrode 22 to sensing unit applies level signal so that self-capacitance is charged; Then control respectively thefirst electrode 21 and thesecond electrode 22 ground connection so that self-capacitance is discharged; Carry out discharge examination to obtain the first discharge examination value and the second discharge examination value from thefirst electrode 21 and/or thesecond electrode 22 respectively afterwards.In this embodiment, because discharge is carried out from thefirst electrode 21 and thesecond electrode 22 to self-capacitance, therefore charging or detection just can be carried out from thefirst electrode 21 and/or the second electrode 22.In this embodiment, twice charging also can all be carried out from thefirst electrode 21, and with thesecond electrode 22 ground connection or connect and be high resistant respectively.Similarly, twice charging also can all be carried out from thesecond electrode 22, and with thefirst electrode 21 ground connection or connect and be high resistant respectively.
5, thefirst electrode 21 or thesecond electrode 22 to sensing unit applies level signal so that self-capacitance is charged; Then control respectively thefirst electrode 21 or thesecond electrode 22 ground connection with to the self-capacitance discharge, carry out discharge examination to obtain the first discharge examination value and the second discharge examination value from thefirst electrode 21 and thesecond electrode 22 respectively afterwards.In this embodiment, because detection is carried out from thefirst electrode 21 and thesecond electrode 22 to self-capacitance, so charge or discharge can be carried out from thefirst electrode 21 and/or the second electrode 22.In this embodiment, twice charging also can all be carried out from thefirst electrode 21, and with thesecond electrode 22 ground connection or connect and be high resistant respectively.Similarly, twice charging also can all be carried out from thesecond electrode 22, and with thefirst electrode 21 ground connection or connect and be high resistant respectively.
Perhaps, on the basis of above-described embodiment, can also when charging, carry out one-time detection to obtain the first charging detected value, carry out second time in when discharge and detect to obtain the second discharge examination value, obtain proportionate relationship between thefirst resistance R 1 and thesecond resistance R 2 according to the first charge detected value and the second discharge examination value again.
Need to prove, in embodiment of the present utility model, above-mentioned thefirst electrode 21 is identical with the function of thesecond electrode 22, and the two can exchange, therefore in the above-described embodiments, both can detect also and can detect from thesecond electrode 22 from thefirst electrode 21, electric current be arranged through thefirst resistance R 1 and thesecond resistance R 2 as long as can satisfy when detecting.
From foregoing description, can find out, above-mentioned charging and detection mode for the utility model embodiment have a variety of variations, but embodiment of the present utility model is according to the relation between thefirst resistance R 1 and thesecond resistance R 2, and for example proportionate relationship or other concern to determine the position of touch point.Further, the relation between thefirst resistance R 1 and thesecond resistance R 2 need to detect by charging and/or the discharge of self-capacitance.If sensing unit is not touched, then just can not produce self-capacitance with hand, therefore the data that detect self-capacitance can be very little, do not satisfy the Rule of judgment that touches, for this, constantly scanning in embodiment of the present utility model waits for thatfinger 300 just begins to calculate after touching sensing unit, does not repeat them here.
In embodiment of the present utility model, can apply corresponding voltage to a plurality of sensing units successively in the mode of scanning, when detecting, also can detect successively in the mode of scanning simultaneously.
Need to prove also that in addition above-mentioned detection mode only is some optimal ways of the utility model embodiment, those skilled in the art also can expand according to above-mentioned thought, modification and modification.
Fig. 4 is the touch detecting method process flow diagram of the contactor control device of the utility model embodiment, together describes below in conjunction with schematic diagram shown in Figure 3.Touch detecting method may further comprise the steps:
Step S401 applies level signal to the two ends of sensing unit, and namely thefirst electrode 21 and/or thesecond electrode 22 to sensing unit applies level signal.In this embodiment, can apply identical level signal with thesecond electrode 22 to thefirst electrode 21, also can apply different level signals.In other embodiments, also can only charge twice from thefirst electrode 21 or thesecond electrode 22, perhaps for the first time from 21 chargings of the first electrode for the second time from 22 chargings of the second electrode, perhaps for the first time from 22 chargings of the second electrode for the second time from 21 chargings of the first electrode.
If this moment, sensing unit was pointed or other objects touches, then this sensing unit will produce self-capacitance C1 (with reference to Fig. 3), just can charge to self-capacitance by the level signal that applies.In embodiment of the present utility model, by the charging to self-capacitance, can improve the accuracy of detection of self-capacitance.
Need to prove, if apply simultaneously level signal to the two ends of sensing unit, then need corresponding two capacitive detection module CTS to detect from thefirst electrode 21 and thesecond electrode 22 simultaneously.And if apply to the two ends of sensing unit respectively, then only need a capacitive detection module CTS to get final product.In an embodiment of the present utility model, the first detected value and the second detected value can be capacitance charge variation delta Q1 and the Δ Q2 that detects from thefirst electrode 21 and/or the second electrode 22.By Δ Q1 and Δ Q2, namely detect to get the charge variation amount of self-capacitance, just can calculate the ratio ofresistance R 1 and R2, thereby can calculate the position of the horizontal ordinate at place, touch point, and the position at self-capacitance C1 place.
Step S402 detects sensing unit from the two ends of sensing unit, to obtain the first detected value and the second detected value.In this embodiment, detection can be carried out when charging, also can carry out when discharge.In above-mentioned example, the first detected value and the second detected value are respectively Δ Q1 and Δ Q2.Below be described as the charge variation amount as example take the first detected value and the second detected value, but can react other detected values of thefirst resistance R 1 and thesecond resistance R 2 relation, also all can adopt such as level signal, electric current etc.In embodiment of the present utility model, can carry out simultaneously from the detection that thefirst electrode 21 and thesecond electrode 22 carry out, also can carry out respectively.
In an embodiment of the present utility model, carry out simultaneously if detect, then need two capacitive detection module CTS simultaneously thefirst electrode 21 and thesecond electrode 22 to be detected.
In another embodiment of the present utility model, also can adopt a capacitive detection module CTS to detect, in step S401, after being full of by 21 couples of self-capacitance C1 of the first electrode, namely this capacitive detection module CTS detects by 21 couples of self-capacitance C1 of the first electrode.Then again by 22 pairs of self-capacitance C2 chargings of the second electrode, then this capacitive detection module CTS detects by 22 couples of self-capacitance C1 of the second electrode again.
Because the phase place that adopts when control chip scans this sensing unit is all consistent with level signal, the electric charge when therefore charging for same self-capacitance C1 just equals the inverse ratio of their resistance.Supposing, is respectively Δ Q1 and Δ Q2 from thefirst electrode 21 of sensing unit and the charge variation amount of 22 pairs of sensing units detections of the second electrode acquisition.In embodiment of the present utility model, capacitive detection module CTS can be at present known capacitive detection module CTS.In an embodiment of the present utility model, if adopt two capacitive detection module CTS, then because two capacitive detection module CTS can share a plurality of devices, therefore can not increase the overall power of control chip.
Step S403 judges according to the first detected value and the second detected value whether this sensing unit is touched.Particularly, in an embodiment of the present utility model, can whether determine whether to be touched greater than threshold value by judging charge variation amount Δ Q1 and Δ Q2.Certainly, in other embodiment of the present utility model, also other judgment modes can be set, whether for example judge charge variation amount Δ Q1 and Δ Q2 less than threshold value, if less than, judge that then sensing unit is touched.Similarly, this threshold value also needs according to the size and the type that touch detection components, and the size of sensing unit is determined.
Step S404, be touched if judge this sensing unit, then the first resistance between thefirst electrode 21 and described self-capacitance and the proportionate relationship between the second resistance between described thesecond electrode 22 and described self-capacitance described in the corresponding sensing unit of further calculating this moment.And according to the definite touch location that touches object (for example finger) of the proportionate relationship between the first resistance and described the second resistance.In embodiment of the present utility model, proportionate relationship between the first resistance and described the second resistance is according to the self-capacitance charge/discharge time, from thefirst electrode 21 and/or thesecond electrode 22 detects the first detected value of acquisition and the proportionate relationship between the second detected value calculates.The same, the coordinate on the sensing unit at C1 place is Δ Q2/ (Δ Q1+ Δ Q2).
In embodiment of the present utility model, if the induction body of sensing unit is cardinal principle U-shaped or substantially L shaped, then just can determine to describe in detail below with reference to concrete example at the touch location of responding on the body by the ratio between the first resistance and the second resistance.But in other embodiment of the present utility model, if the induction body is general rectangular, then step S404 can only calculate the touch location on the first direction on the induction body of sensing unit, and this first direction can be the length direction (for example horizontal direction of sensing unit) of induction body.
If the induction body is rectangle, then also need to determine the touch location on second direction.In an embodiment of the present utility model, first direction is the length direction of induction body, and second direction is the direction perpendicular to first direction, and the induction body is horizontally disposed with or vertically arranges.
Particularly, can adopt centroid algorithm to calculate the touch location of touch point on second direction, below centroid algorithm simply be introduced.
In draw runner and touch pad application, often need to more than the essential spacing of concrete sensing unit, determine the position of finger (or other capacitive object).The contact area of finger on draw runner or touch pad is usually greater than any sensing unit.In order to adopt the position after touch is calculated at a center, this array is scanned to verify that given sensing station is effectively, be to be greater than default touch threshold for the requirement of the adjacent sensing unit signal of some.After finding the strongest signal, this signal and those greater than the closing signal of touch threshold all for computing center:
NCent=ni-1(i-1)+nii+ni+1(i+1)ni+1+ni+ni+1
Wherein, NCentCentered by locate the label of sensing unit, n is the number that detects the sensing unit that is touched, i is the sequence number of sensing unit of being touched, wherein i is more than or equal to 2.
For example, when finger touch at article one passage, its capacitance change is y1, the capacitance change on the second passage is that the capacitance change on y2 and the 3rd passage is when being y3.Wherein second channel y2 capacitance change is maximum.The Y coordinate just can be at last:
Y=y1*1+y2*2+y3*3y1+y2+y3.
The embodiment of the utility model first aspect has proposed a kind of touch detection components according to above-mentioned thought.Below with reference to thetouch detection components 100 of Fig. 6-Figure 41 description according to the utility model embodiment.
Touch detection components 100 according to the utility model embodiment comprises:substrate 1 and a plurality of sensing unit 2.Wherein a plurality ofsensing units 2 are located on thesubstrate 1 and mutually disjoint.In embodiment of the present utility model, preferably, can be parallel to each other between disjoint sensing unit 2.Alternatively, also can be partly parallel betweendisjoint sensing unit 2, but at least onsubstrate 1sensing unit 2 mutually disjoint.But need to prove at this, for a plurality ofsensing units 2, be not limited to structure shown in Figure 5, sensingunit 2 also can adopt other structure, have certain radian etc. such as part or all ofsensing unit 2, these all can be applicable in the utility model.
Alternatively,substrate 1 is general rectangular.Here " general rectangular " be interpreted as the relative edge ofsubstrate 1 can section's absolute parallel, for example can become a little angle, and each limit ofsubstrate 1 can not be absolute straight.Eachsensing unit 2 comprisesinduction body 20 and thefirst electrode 21 and thesecond electrode 22 that link to each other withinduction body 20 respectively.Thefirst electrode 21 links to each other with the corresponding pin ofcontrol chip 200 respectively with the second electrode 22.Induction body 20 has a plurality of hollow-outparts 24, a plurality of hollow-outparts 24 arrange to limit for thecurrent path section 25 that increases the resistance R between thefirst electrode 21 and thesecond electrode 22 atinduction body 20 with pre-defined rule, and thiscurrent path section 25 is used for the walking of electric current.Preferably, hollow-outparts 24 connects along the thickness direction ofinduction body 20, because the thickness ofinduction body 20 is smaller, hollow-outparts 24 connectsinduction body 20 and is convenient to make and produce.
By atinduction body 20 hollow-outparts 24 being set, can be so that the path of thecurrent path section 25 ofwhole induction body 20 be thinner or longer, the L that is equivalent in the R=P*L/h formula increases or the h minimizing, so that the resistance R between thefirst electrode 21 and thesecond electrode 22 becomes large, thereby obtain the size of the resistance that accuracy of detection meets the demands, and then improved the linearity of induction.Wherein, the size of the pattern of hollow out or lines and density degree all can affect the size of resistance R.In order not affect self-capacitance, the pattern of hollow out or lines are thin as far as possible, because becoming, the relative area that needs finger to contact with the induction body increases greatly self-capacitance, if the pattern of hollow out or lines are too thick, can reduce to point and the relative area of responding to body, thereby affect the self-capacitance variable quantity of finger touch.
It will be appreciated that in description of the present utility model, a plurality of hollow-outparts 24 are arranged with pre-defined rule should do broad understanding, that is, a plurality of hollow-outparts 24 are arranged in the array of reservation shape at induction body 20.For example, alternatively, a plurality of hollow-outparts 24 can be turned up the soil along the length each interval ofinduction body 20 and are arranged to linear array; Alternatively, a plurality of hollow-outparts 24 comprise the hollow-out parts of two kinds of shapes on the length direction that alternately is located at the induction body.Particularly,induction body 20 and hollow-outparts 24 will be described in detail among a plurality of embodiment below.
In an embodiment of the present utility model,induction body 20 is for general rectangular and have first end (i.e. the left end of rectangle among the figure) and the second end (i.e. the right-hand member of rectangle among the figure), and thefirst electrode 21 links to each other with the first end ofinduction body 20 and thesecond electrode 22 links to each other with the second end of induction body 20.In this embodiment because the figure of rectangular configuration rule, therefore finger laterally or when vertically moving the linearity good, in addition, the spacing between two rectangular configuration can be identical, is convenient to calculate, thereby improves computing velocity.
In an embodiment of the present utility model, preferably, hollow-outparts 24 is evenly spaced apart arrangement, for example, wheninduction body 20 was rectangle, hollow-outparts 24 was evenly arranged spaced apart along the length direction ofinduction body 20, also can be called: hollow-outparts 24 is evenly spaced apart in the direction thatinduction body 20 extends alongcurrent path section 25, can increase the linearity thus, be convenient to calculate, and computing velocity and precision raising.
In another embodiment of the present utility model,induction body 20 comprisesFirst body 201 and thesecond body 202,First body 201 and thesecond body 202 can be rectangle and claim predetermined angle, for exampleFirst body 201 and thesecond body 202 can be orthogonal to form substantially L shaped (following referred to as L shaped induction body), the second end ofFirst body 201 links to each other with the first end of thesecond body 202, and thefirst electrode 21 links to each other with the first end ofFirst body 201 and thesecond electrode 22 links to each other with the second end of the second body 202.As mentioned above,First body 201 and thesecond body 202 can be orthogonal.Thus, so that the sensing unit design is more regular, thereby improve the coverage rate to the touch detection components, and also can improve the linearity of detection.Alternatively,First body 201 and thesecond body 202 measure-alike, thus can improve arithmetic speed.
In another embodiment of the present utility model,induction body 20 comprises the first to the 3rd body 201,202,203.First body 201 and thesecond body 202 are connected to the two ends of the3rd body 203 and are positioned at the same side of the3rd body 203,First body 201 and thesecond body 202 respectively with 203 one-tenth predetermined angulars of the 3rd body.Preferably, the first to the 3rd body 201,202,203 can be rectangle,First body 201 and thesecond body 202 respectively with the3rd body 203 quadratures (following referred to as cardinal principle U-shaped induction body).Thefirst electrode 21 links to each other with the first end ofFirst body 201 and thesecond electrode 22 links to each other with the second end of the second body 202.Thus, so that the sensing unit design is more regular, thereby improve the coverage rate to the touch detection components, and can improve the linearity of detection.Alternatively,First body 201 and thesecond body 202 measure-alike, thus can improve arithmetic speed.
Touch detection components 100 according to theinduction body 20 with general rectangular of the utility model embodiment during the below at first describes with reference to figure 6-Figure 17 describes.
Induction body 20 has first end and the second end, thefirst electrode 21 links to each other with the first end ofinduction body 20, thesecond electrode 22 links to each other with the second end ofinduction body 20,current path section 25 extends between the first and second ends with curve mode, so that the length L ofcurrent path section 25 is greater than the length ofinduction body 20 on the bearing of trend ofcurrent path section 25, namely increase the length of flow of electric current, thereby increase the resistance of induction body 20.When for example responding tobody 20 for rectangle, its length direction is the direction of first end to the second end, such as Fig. 7-shown in Figure 10, thefirst electrode 21 is connected to the first end (i.e. the left end of rectangle among the figure) ofinduction body 20, thesecond electrode 22 is connected to second end (i.e. the right-hand member of rectangle among the figure) ofinduction body 20, and wherein the current flowing direction in the drawings as shown by arrows.
Touch detection components 100 according to the utility model embodiment, by the hollow-outparts 24 on theinduction body 20 is set, so that the path ofcurrent path section 25 is longer, thereby increased the L in the R=P*L/h formula, and then so that the resistance R between thefirst electrode 21 and thesecond electrode 22 becomes large, improved thus the linearity of induction.
Embodiment one,
In the present embodiment, a plurality of hollow-out parts 24 are divided into along the linearly aligned first group of 24a of bearing of trend and second group of 24b, hollow-out parts 24b in hollow-out parts 24a in first group and second group alternately arranges and overlaps in the direction that is orthogonal to bearing of trend at bearing of trend, in other words, each of hollow-out parts 24a in first group is arranged between adjacent two hollow-out parts 24b in second group, the coboundary of the self-induction body 20 on the Width of induction body 20 of the hollow-out parts 24a in first group extends towards the lower limb of induction body 20, and the hollow-out parts 24a in first group is spaced apart with the lower limb of induction body 20, hollow-out parts 24b in second group extends towards the coboundary of induction body 20 at the lower limb of the Width self-induction body 20 of induction body 20, and the hollow-out parts 24b in second group is spaced apart with the coboundary of induction body 20, and the hollow-out parts 24a in first group looks greater than the width of induction body 20 and from the length direction of responding to body 20 with the length sum of hollow-out parts 24b in second group and overlaps.
In first example of the utility model embodiment, each hollow-outparts 24 can be rectangle, as shown in Figure 6.That is to say that in these examples, first group of hollow-outparts 24a and second group of hollow-outparts 24b are respectively a plurality of isolated rectangles, alternately arrange and overlap at above-below direction at left and right directions.Certainly, the utility model is not limited to this, and in other examples, each hollow-outparts 24 also can be substantially I-shaped or cardinal principle H shape, schemes not shown.
In some examples of the utility model embodiment, each among first group of hollow-outparts 24a is substantially inverted T-shaped, and among second group of hollow-outparts 24b each is substantially T shape.That is to say, as shown in Figure 7, in first group substantially the hollow-outparts 24a of inverted T-shaped be spaced apart from each other at left and right directions, in second group substantially the hollow-outparts 24b of T shape be spaced apart from each other at left and right directions, alternately arrange and overlap at above-below direction with hollow-outparts 24a in first group.
Alternatively, the upper end of first group of hollow-outparts 24a is connected with the coboundary ofinduction body 20, and the lower end of second group of hollow-outparts 24b is connected with the lower limb ofinduction body 20, this moment whencontrol chip 200 to thefirst electrode 21 and/or thesecond electrode 22 apply level signal and the direction of current that produces shown in the arrow among Fig. 7, electric current flows along curve, so that the path ofcurrent path section 25 is longer, thereby increased the L in the R=P*L/h formula, and then so that the resistance R between thefirst electrode 21 and thesecond electrode 22 becomes large.Certainly, the utility model is not limited to this.Alternatively, the upper end of first group of hollow-outparts 24a also can be connected with the coboundary ofinduction body 20, and the lower end of second group of hollow-outparts 24b correspondingly is connected (scheming not shown) with the lower limb ofinduction body 20.
In other examples of the utility model embodiment, among first group of hollow-outparts 24a each is substantially L shaped, and each among second group of hollow-outparts 24b is substantially 7 fonts, it is how right that first group of hollow-outparts 24a and second group of hollow-outparts 24b consist of, the L shaped hollow-outparts 24a of cardinal principle in every a pair of hollow-outparts 24 and 7 font hollow-outparts 24b substantially toward each other, arranged in a crossed manner and overlap at bearing of trend on bearing of trend.That is to say, as shown in Figure 8, the L shaped hollow-outparts 24a of cardinal principle in first group is spaced apart from each other at left and right directions, cardinal principle 7 font hollow-outparts 24b in second group left and right directions be spaced apart from each other and with first group in hollow-outparts 24a arranged crosswise many to hollow-out parts respect to one another to form, and the hollow-outparts 24a of every centering and 24b are overlapped at above-below direction.
Alternatively, the upper end of first group of hollow-outparts 24a is connected with the coboundary ofinduction body 20, and the lower end of second group of hollow-outparts 24b is connected with the lower limb ofinduction body 20, this moment whencontrol chip 200 to thefirst electrode 21 and/or thesecond electrode 22 apply level signal and the direction of current that produces shown in the arrow among Fig. 8, electric current flows along curve, so that the path ofcurrent path section 25 is longer, thereby increased the L in the R=P*L/h formula, and then so that the resistance R between thefirst electrode 21 and thesecond electrode 22 becomes large.Certainly, the utility model is not limited to this.Alternatively, the upper end of first group of hollow-outparts 24a also can be connected with the coboundary ofinduction body 20, and the lower end of second group of hollow-outparts 24b correspondingly is connected (scheming not shown) with the lower limb ofinduction body 20.
In some examples of the utility model embodiment, hollow-outparts 24a in first group is the cardinal principle inverted V-shaped, hollow-outparts 24b in second group is V-arrangement substantially, each the hollow-outparts 24a in first group on bearing of trend across two the adjacent branches of adjacent two the hollow-outparts 24b in second group.That is to say, as shown in Figure 9, the hollow-outparts 24a of the cardinal principle inverted V-shaped in first group is spaced apart from each other at left and right directions, the hollow-outparts 24b of the cardinal principle V-arrangement in second group left and right directions be spaced apart from each other and with first group in hollow-outparts 24a alternately arrange so that the hollow-outparts 24a in first group in left and right directions top rail two branches of adjacent two the hollow-outparts 24b in second group below it amphi-position.
Wherein, the upper end of first group of hollow-outparts 24a is connected with the coboundary ofinduction body 20, and the lower end of second group of hollow-outparts 24b is connected with the lower limb ofinduction body 20, this moment whencontrol chip 200 to thefirst electrode 21 and/or thesecond electrode 22 apply level signal and the direction of current that produces shown in the arrow among Fig. 9, electric current flows along curve, so that the path ofcurrent path section 25 is longer, thereby increased the L in the R=P*L/h formula, and then so that the resistance R between thefirst electrode 21 and thesecond electrode 22 becomes large.
In some examples of the utility model embodiment, among first group of hollow-outparts 24a each is substantially F shape, and each among second group of hollow-outparts 24b is substantially inverted-F, and it is how right that first group of hollow-outparts 24a and second group of hollow-outparts 24b consist of, and the cardinal principle F shape hollow-out parts in every a pair of hollow-outparts 24 and inverted-F hollow-out parts substantially are arranged in a crossed manner and overlap at bearing of trend on bearing of trend.That is to say, as shown in figure 10, the hollow-outparts 24a of the cardinal principle F shape in first group is spaced apart from each other at left and right directions, cardinal principle inverted-F hollow-outparts 24b in second group left and right directions be spaced apart from each other and with first group in hollow-outparts 24a arranged crosswise many to hollow-out parts respect to one another to form, and the hollow-outparts 24a of every centering and 24b are overlapped at above-below direction.
Alternatively, the upper end of first group of hollow-outparts 24a is connected with the coboundary ofinduction body 20, and the lower end of second group of hollow-outparts 24b is connected with the lower limb ofinduction body 20, this moment whencontrol chip 200 to thefirst electrode 21 and/or thesecond electrode 22 apply level signal and the direction of current that produces shown in the arrow among Figure 10, electric current flows along curve, so that the path ofcurrent path section 25 is longer, thereby increased the L in the R=P*L/h formula, and then so that the resistance R between thefirst electrode 21 and thesecond electrode 22 becomes large.Certainly, the utility model is not limited to this.Alternatively, the upper end of first group of hollow-outparts 24a also can be connected with the coboundary ofinduction body 20, and the lower end of second group of hollow-outparts 24b correspondingly is connected (scheming not shown) with the lower limb ofinduction body 20.
Embodiment two,
In the present embodiment,induction body 20 has first end and the second end, thefirst electrode 21 links to each other with the first end ofinduction body 20, thesecond electrode 22 links to each other with the second end ofinduction body 20, andcurrent path section 25 extends between the first and second ends so that the length L ofcurrent path section 25 is greater than the length ofinduction body 20 on the bearing of trend ofcurrent path section 25 with curve mode.
Wherein,current path section 25 extends between first end and the second end and is being orthogonal to sectional area on the plane of its bearing of trend less thaninduction body 20 sectional area in the plane, in other words, the width h ofcurrent path section 25 on above-below direction is less than the width of induction body 20.For example wheninduction body 20 is rectangle, its length direction is the direction of first end to the second end, such as Figure 10-shown in Figure 14, thefirst electrode 21 is connected to the first end (i.e. the left end of rectangle among the figure) ofinduction body 20, thesecond electrode 22 is connected to second end (i.e. the right-hand member of rectangle among the figure) ofinduction body 20, and wherein the current flowing direction in the drawings as shown by arrows.
Touch detection components 100 according to the utility model embodiment, by the hollow-outparts 24 on theinduction body 20 is set, so that the path ofcurrent path section 25 is longer and width reduces, namely in the R=P*L/h formula, increase length L and reduced simultaneously width h, thereby increased the resistance R between thefirst electrode 21 and thesecond electrode 22, improved thus the linearity of induction.
In the example of the utility model embodiment, a side along the bearing of trend extension ofcurrent path section 25 proximity sensing bodies 20.Alternatively, such as Figure 11 and shown in Figure 12, hollow-outparts 24 is cardinal principle T shape or substantially L shaped.Certainly the utility model is not limited to this, and hollow-outparts 24 can also be general rectangular, substantially U-shaped, substantially H shape or other shapes (scheming not shown) such as I-shaped substantially.Alternatively, the top ofcurrent path section 25proximity sensing bodies 20 and extend along left and right directions, current direction is shown in the direction of arrow among Figure 11 and Figure 12.Certainly, it is following and extend (scheming not shown) along left and right directions thatcurrent path section 25 also canproximity sensing body 20.
In another example of the utility model embodiment, the center line along the bearing of trend extension ofcurrent path section 25 proximity sensing bodies 20.Wherein, a plurality of hollow-outparts 24 are divided into along bearing of trend linearly aligned first group and second group, it is how right that first group of hollow-outparts 24a and second group of hollow-outparts 24b consist of, hollow-outparts 24b in hollow-outparts 24a in first group of each centering and second group is being orthogonal on the direction of bearing of trend toward each other, andcurrent path section 25 is limited between the first hollow-outparts 24a and the second group of hollow-outparts 24b.
Particularly, the upper end of first group of hollow-outparts 24a is connected with the coboundary ofinduction body 20, and the lower end of second group of hollow-outparts 24b is connected with the lower limb ofinduction body 20, this moment whencontrol chip 200 to thefirst electrode 21 and/or thesecond electrode 22 apply level signal and the direction of current that produces shown in the arrow in Figure 13 and 14, electric current flows along curve, so that the width ofcurrent path section 25 on above-below direction reduces, namely reduced the h in the R=P*L/h formula, and then so that the resistance R between thefirst electrode 21 and thesecond electrode 22 becomes large.
Alternatively, among first group of hollow-outparts 24a each is substantially T shape, and each among second group of hollow-outparts 24b is substantially inverted T-shaped, as shown in figure 13, for example, substantially the hollow-outparts 24a of T shape comprises the first arm of approximate horizontal and vertical the second arm roughly, persons of ordinary skill in the art may appreciate that the first arm also can depart from predetermined angular with horizontal direction and the second arm can depart from predetermined angular (scheming not shown) with vertical direction.
Alternatively, each among first group of hollow-outparts 24a is substantially L shaped, and among second group of hollow-outparts 24b each is substantially inverted L-shaped, as shown in figure 14.For example, substantially L shaped hollow-outparts 24a comprises the first arm of approximate horizontal and vertical the second arm roughly, persons of ordinary skill in the art may appreciate that the first arm also can depart from predetermined angular with horizontal direction and the second arm can depart from predetermined angular (scheming not shown) with vertical direction.
Certainly, the utility model is not limited to this.In examples more of the present utility model, first group of hollow-outparts 24a respect to one another and second group of hollow-outparts 24b can also be other shapes, as long as the width that can satisfy on above-below directioncurrent path section 25 reduces, general rectangular for example, (for example blind end is the U-shaped of flat line to U-shaped substantially, or blind end is the U-shaped of arc), it also for example is H shape or I-shaped, wherein H shape or I-shaped hollow-out parts comprise the first arm and second arm of almost parallel and be connected to the first arm and the second arm between the 3rd arm, also can for example be other shapes (scheming not shown).
Embodiment three,
In the present embodiment,current path section 25 is two, a side along the bearing of trend extension of one of themcurrent path section 25proximity sensing body 20, another side along the bearing of trend extension of anothercurrent path section 25 proximity sensing bodies 20.Thus so that the total length ofcurrent path section 25 is the length of the flow path of electric current increases and width reduces.For example wheninduction body 20 when be rectangle, shown in Figure 15-17, the top of one of themcurrent path section 25proximity sensing body 20 and extend along left and right directions, and the bottom of anothercurrent path section 25proximity sensing bodies 20 and extend along left and right directions.
Alternatively, a plurality of hollow-outparts 24 are along the bearing of trend linear array, and each hollow-outparts 24 is the cardinal principle X-shaped, as shown in figure 15.Certainly, the utility model is not limited to this.In examples more of the present utility model, can also be other shapes along the linearly aligned a plurality of hollow-outparts 24 of bearing of trend, such as general rectangular, cardinal principle U-shaped (scheming not shown), cardinal principle H shape (as shown in figure 16) or cardinal principle other shapes such as I-shaped (as shown in figure 17), maybe can be the combination of above each shape, form up and down two current path sections as long as can satisfy atinduction body 20.
Touch detection components 100 according to the utility model embodiment, by the hollow-outparts 24 on theinduction body 20 is set, so that the path ofcurrent path section 25 is longer and width reduces, namely in the R=P*L/h formula, increase length L and reduced simultaneously width h, thereby increased the resistance R between thefirst electrode 21 and thesecond electrode 22, improved thus the linearity of induction.
According to thetouch detection components 100 of the utility model above-described embodiment, can adopt parallelrectangle induction body 20 can reduce the structure complexity of device, thereby can reduce manufacturing cost on the basis that guarantees accuracy of detection.
Has thetouch detection components 100 according to a plurality of embodiment of the utility model of L shapedinduction body 20 below with reference to Figure 18-Figure 29 description.
L shapedinduction body 20 has first end (such as upper end L shaped among Figure 18-29) and the second end (such as lower end L shaped among Figure 18-29), its length direction is to the second end from first end, thefirst electrode 21 links to each other with the first end ofinduction body 20, thesecond electrode 22 links to each other with the second end ofinduction body 20,current path section 25 extends between the first and second ends with curve mode so that in the length L of the uppercurrent path section 25 of bearing of trend (being the length direction of L shaped induction body) ofcurrent path section 25 length greater thaninduction body 20, the current flowing direction in Figure 18-29 as shown by arrows.Touch detection components 100 according to the utility model embodiment, by the hollow-outparts 24 on the L shapedinduction body 20 is set, so that the path ofcurrent path section 25 is longer, thereby increased the L in the R=P*L/h formula, and then so that the resistance R between thefirst electrode 21 and thesecond electrode 22 becomes large, improved thus the linearity of induction.
For the sake of clarity, in the following description, thesecond body 202 vertically extends to example and describes withFirst body 201 horizontal-extendings of L shapedinduction body 20, that is to say, the bearing of trend ofFirst body 201 is the left and right directions among Figure 18-29, and with the direction of bearing of trend quadrature be above-below direction among the figure; The bearing of trend of thesecond body 202 is the above-below direction among Figure 18-29, and with the direction of bearing of trend quadrature be left and right directions among the figure.
Embodiment four,
In the present embodiment, a plurality of hollow-outparts 24 are divided into along the linearly aligned first group of 24a of bearing of trend and second group of 24b, and the hollow-outparts 24b in the hollow-outparts 24a in first group and second group alternately arranges and overlaps in the direction that is orthogonal to bearing of trend at bearing of trend.
In first example of the utility model embodiment, each hollow-outparts 24 is rectangle, as shown in figure 18.That is to say, in these examples, first group of hollow-outparts 24a and second group of hollow-outparts 24b are respectively a plurality of isolated rectangles and alternately arrange at the length direction of L shaped induction body, and overlap in the direction vertical with length direction, in other words, onFirst body 201, first group of hollow-outparts 24a and second group of hollow-outparts 24b alternately arrange and overlap at above-below direction at left and right directions, on thesecond body 202, first group of hollow-outparts 24a and second group of hollow-outparts 24b alternately arrange and overlap at left and right directions at above-below direction.Certainly, the utility model is not limited to this, and in other examples, each hollow-outparts 24 also can be substantially I-shaped or cardinal principle H shape, schemes not shown.
In some examples of the utility model embodiment, each among first group of hollow-out parts 24a is substantially inverted T-shaped, and among second group of hollow-out parts 24b each is substantially T shape.That is to say, as shown in Figure 19, the hollow-out parts 24a of the cardinal principle inverted T-shaped in first group is spaced apart from each other at the length direction of L shaped induction body, the hollow-out parts 24b of the cardinal principle T shape in second group the length direction of L shaped induction body be spaced apart from each other and with first group in hollow-out parts 24a alternately arrange and overlap in the direction vertical with length direction.In other words, on First body 201, first group of hollow-out parts 24a and second group of hollow-out parts 24b alternately arrange and overlap at above-below direction at left and right directions, at this moment, the upper end of first group of hollow-out parts 24a is connected with the coboundary of First body 201, and the lower end of second group of hollow-out parts 24b is connected with the lower limb of First body 201.On the second body 202, first group of hollow-out parts 24a and second group of hollow-out parts 24b alternately arrange and overlap at left and right directions at above-below direction.At this moment, the right-hand member of first group of hollow-out parts 24a is connected with the right hand edge of First body 201, and the left end of second group of hollow-out parts 24b is connected with the left hand edge of First body 201.
Thus, whencontrol chip 200 applies level signal and the electric current that produces flows along curve to thefirst electrode 21 and/or thesecond electrode 22, so that the path ofcurrent path section 25 is longer, thereby increased the L in the R=P*L/h formula, and then so that the resistance R between thefirst electrode 21 and thesecond electrode 22 becomes large.
In other examples of the utility model embodiment, among first group of hollow-out parts 24a each is substantially L shaped, and each among second group of hollow-out parts 24b is substantially 7 fonts, it is how right that first group of hollow-out parts 24a and second group of hollow-out parts 24b consist of, the L shaped hollow-out parts 24a of cardinal principle in every a pair of hollow-out parts 24 and 7 font hollow-out parts 24b substantially toward each other, arranged in a crossed manner and overlap at bearing of trend on bearing of trend.That is to say, as shown in figure 20, the L shaped hollow-out parts 24a of cardinal principle in first group is spaced apart from each other at the length direction of L shaped induction body, cardinal principle 7 font hollow-out parts 24b in second group are spaced apart from each other in the longitudinal direction and are many to hollow-out parts respect to one another to form with hollow-out parts 24a arranged crosswise in first group, and the hollow-out parts 24a of every centering is overlapped in the direction vertical with length direction with 24b.In other words, on First body 201, the hollow-out parts 24a of every centering and 24b are arranged in a crossed manner and overlap at above-below direction on left and right directions, at this moment, the upper end of first group of hollow-out parts 24a is connected with the coboundary of First body 201, and the lower end of second group of hollow-out parts 24b is connected with the lower limb of First body 201.And on the second body 202, the hollow-out parts 24a of every centering and 24b are arranged in a crossed manner and overlap at left and right directions on above-below direction.At this moment, the right-hand member of first group of hollow-out parts 24a is connected with the right hand edge of First body 201, and the left end of second group of hollow-out parts 24b is connected with the left hand edge of First body 201.
Thus, whencontrol chip 200 to thefirst electrode 21 and/or thesecond electrode 22 apply level signal and the direction of current that produces shown in the arrow among Figure 20, electric current flows along curve, so that the path ofcurrent path section 25 is longer, thereby increased the L in the R=P*L/h formula, and then so that the resistance R between thefirst electrode 21 and thesecond electrode 22 becomes large.
In other examples of the utility model embodiment, hollow-out parts 24a in first group is the cardinal principle inverted V-shaped, hollow-out parts 24b in second group is V-arrangement substantially, each the hollow-out parts 24a in first group on bearing of trend across two the adjacent branches of adjacent two the hollow-out parts 24b in second group.That is to say, as shown in Figure 21, on First body 201, the hollow-out parts 24a of the cardinal principle inverted V-shaped in first group about be spaced apart from each other, the hollow-out parts 24b of the cardinal principle V-arrangement in second group left and right directions be spaced apart from each other and with first group in hollow-out parts 24a alternately arrange so that the hollow-out parts 24a in first group in left and right directions top rail two branches of adjacent two the hollow-out parts 24b in second group below it amphi-position.On the second body 202, the hollow-out parts 24a of the cardinal principle inverted V-shaped in first group is being spaced apart from each other up and down, the hollow-out parts 24b of the cardinal principle V-arrangement in second group above-below direction be spaced apart from each other and with first group in hollow-out parts 24a alternately arrange so that the hollow-out parts 24a in first group in above-below direction top rail two branches of adjacent two the hollow-out parts 24b in second group of its left side amphi-position.
Thus, whencontrol chip 200 to thefirst electrode 21 and/or thesecond electrode 22 apply level signal and the direction of current that produces shown in the arrow among Figure 21, electric current flows along curve, so that the path ofcurrent path section 25 is longer, thereby increased the L in the R=P*L/h formula, and then so that the resistance R between thefirst electrode 21 and thesecond electrode 22 becomes large.
In the other example of the utility model embodiment, among first group of hollow-out parts 24a each is substantially F shape, and each among second group of hollow-out parts 24b is substantially inverted-F, and it is how right that first group of hollow-out parts 24a and second group of hollow-out parts 24b consist of, and the cardinal principle F shape hollow-out parts 24 in every a pair of hollow-out parts 24 and inverted-F hollow-out parts 24 substantially are arranged in a crossed manner and overlap at bearing of trend on bearing of trend.That is to say, as shown in figure 22, the hollow-out parts 24a of the cardinal principle F shape in first group is spaced apart from each other at the length direction of L shaped induction body, cardinal principle inverted-F hollow-out parts 24b in second group the length direction of L shaped induction body be spaced apart from each other and with first group in hollow-out parts 24a arranged crosswise many to hollow-out parts respect to one another to form, and the hollow-out parts 24a of every centering is overlapped in the direction vertical with length direction with 24b.In other words, on First body 201, the hollow-out parts 24a of every centering and 24b are arranged in a crossed manner and overlap at above-below direction on left and right directions, at this moment, the upper end of first group of hollow-out parts 24a is connected with the coboundary of First body 201, and the lower end of second group of hollow-out parts 24b is connected with the lower limb of First body 201.And on the second body 202, the hollow-out parts 24a of every centering and 24b are arranged in a crossed manner and overlap at left and right directions on above-below direction.At this moment, the right-hand member of first group of hollow-out parts 24a is connected with the right hand edge of First body 201, and the left end of second group of hollow-out parts 24b is connected with the left hand edge of First body 201.
Thus, whencontrol chip 200 to thefirst electrode 21 and/or thesecond electrode 22 apply level signal and the direction of current that produces shown in the arrow among Figure 22, electric current flows along curve, so that the path ofcurrent path section 25 is longer, thereby increased the L in the R=P*L/h formula, and then so that the resistance R between thefirst electrode 21 and thesecond electrode 22 becomes large.
Embodiment five,
In the present embodiment,induction body 20 has first end and the second end, thefirst electrode 21 links to each other with the first end ofinduction body 20, thesecond electrode 22 links to each other with the second end ofinduction body 20, andcurrent path section 25 extends between the first and second ends so that the length L ofcurrent path section 25 is greater than the length ofinduction body 20 on the bearing of trend ofcurrent path section 25 with curve mode.Wherein,current path section 25 extends between first end and the second end and is being orthogonal to sectional area on the plane of its bearing of trend less thaninduction body 20 sectional area in the plane, in other words, onFirst body 201, the width h ofcurrent path section 25 on above-below direction is less than the width of induction body 20.And on thesecond body 202, the width h ofcurrent path section 25 on left and right directions is less than the width ofinduction body 20
Touch detection components 100 according to the utility model embodiment, by atinduction body 20 hollow-outparts 24 being set, so that the path ofcurrent path section 25 is longer and width reduces, namely in the R=P*L/h formula, increase length L and reduced simultaneously width h, thereby increased the resistance R between thefirst electrode 21 and thesecond electrode 22, improved thus the linearity of induction.
In the example of the utility model embodiment, a side along the bearing of trend extension ofcurrent path section 25 proximity sensing bodies 20.Alternatively, such as Figure 23 and shown in Figure 24, hollow-outparts 24 is cardinal principle T shape or L shaped.Certainly the utility model is not limited to this, and hollow-outparts 24 can also be rectangle, substantially U-shaped, H shape or other shapes (scheming not shown) such as I-shaped.Alternatively, onFirst body 201, the top ofcurrent path section 25proximity sensing bodies 20 and extend along left and right directions is on thesecond body 202, the right ofcurrent path section 25proximity sensing bodies 20 and along the vertical direction extension, current direction is shown in the direction of arrow among Figure 23 and Figure 24.Certainly, the utility model is not limited to this, in another example, onFirst body 201,current path section 25 also canproximity sensing body 20 following and extend along left and right directions, on thesecond body 202, the left side ofcurrent path section 25proximity sensing bodies 20 and along the vertical direction extension are schemed not shown.
In another example of the utility model embodiment, the center line along the bearing of trend extension ofcurrent path section 25 proximity sensing bodies 20.Wherein, a plurality of hollow-outparts 24 are divided into along bearing of trend linearly aligned first group and second group, it is how right that first group of hollow-outparts 24a and second group of hollow-outparts 24b consist of, hollow-outparts 24b in hollow-outparts 24a in first group of each centering and second group is being orthogonal on the direction of bearing of trend toward each other, andcurrent path section 25 is limited between the first hollow-outparts 24a and the second group of hollow-outparts 24b.
Particularly, onFirst body 201, the upper end of first group of hollow-outparts 24a is connected with the coboundary ofinduction body 20, and the lower end of second group of hollow-outparts 24b is connected with the lower limb ofinduction body 20, on thesecond body 202, the right-hand member of first group of hollow-outparts 24a is connected with the right hand edge of thesecond body 202, and the left end of second group of hollow-outparts 24b is connected with the left hand edge of thesecond body 202, this moment whencontrol chip 200 to thefirst electrode 21 and/or thesecond electrode 22 apply level signal and the direction of current that produces shown in the arrow in Figure 25 and 26, electric current flows along curve, so that the width ofcurrent path section 25 on above-below direction reduces, namely reduced the h in the R=P*L/h formula, and then so that the resistance R between thefirst electrode 21 and thesecond electrode 22 becomes large.
Alternatively, each among first group of hollow-outparts 24a is substantially T shape, and among second group of hollow-outparts 24b each is substantially inverted T-shaped, as shown in figure 25.Alternatively, each among first group of hollow-outparts 24a is substantially L shaped, and among second group of hollow-outparts 24b each is substantially inverted L-shaped, as shown in figure 26.Certainly, the utility model is not limited to this.In examples more of the present utility model, first group of hollow-outparts 24a respect to one another and second group of hollow-outparts 24b can also be other shapes, such as rectangle, substantially U-shaped, H shape or other shapes (scheming not shown) such as I-shaped, as long as the width that can satisfy on above-below directioncurrent path section 25 reduces.
Embodiment six,
In the present embodiment,current path section 25 is two, a side along the bearing of trend extension of one of themcurrent path section 25proximity sensing body 20, another side along the bearing of trend extension of anothercurrent path section 25 proximity sensing bodies 20.Shown in Figure 27-29, onFirst body 201, one of themcurrent path section 25 is close to the top ofFirst bodies 201 and extends along left and right directions, and anothercurrent path section 25 is close to the left side ofFirst bodies 201 and extends along left and right directions.On thesecond body 202, the right ofcurrent path section 25 contiguoussecond bodies 202 and along the vertical direction extension, and the left side of anothercurrent path section 25 contiguous thesecond bodies 202 and along the vertical direction extension.
Alternatively, a plurality of hollow-outparts 24 are along the bearing of trend linear array, and each hollow-outparts 24 is the cardinal principle X-shaped, as shown in figure 15.Certainly, the utility model is not limited to this.In examples more of the present utility model, can also be other shapes along the linearly aligned a plurality of hollow-outparts 24 of bearing of trend, such as rectangle, cardinal principle U-shaped (scheming not shown), H shape (as shown in figure 16) or other shapes such as I-shaped (as shown in figure 17), also for example can be the combination of above each shape, form two current path sections as long as can satisfy atinduction body 20.
Touch detection components 100 according to the utility model embodiment, by the hollow-outparts 24 on the L shapedinduction body 20 is set, so that the path ofcurrent path section 25 is longer and width reduces, namely in the R=P*L/h formula, increase length L and reduced simultaneously width h, thereby increased the resistance R between thefirst electrode 21 and thesecond electrode 22, improved thus the linearity of induction.
Adopt L shapedinduction body 20 in thetouch detection components 100 among the utility model embodiment, noise reduction improves the linearity of induction effectively.Not only simple in structure, be convenient to make and reduced production cost.
Toply with reference to figure 6-Figure 29 thetouch detection components 100 with rectangle and L shapedinduction body 20 is illustrated for example, yet, those of ordinary skill in the art is after having read technique scheme, obviously be appreciated that this scheme is applied to other shapes for example substantially in the technical scheme of theinduction body 20 of U-shaped that thereforetouch detection components 100 ofU-shaped induction body 20 is not described in detail to having substantially at this.
Need to prove that with reference to figure 30-Figure 41, theinduction body 20 of U-shaped comprises the first to the 3rd body 201,202,203 substantially.The first to the 3rd body 201,202,203 can be rectangle.Clear in order to show, vertically extend and the3rd body 203 horizontal-extendings and describing as example takeFirst body 201,second body 202 of cardinal principleU-shaped induction body 20, that is to say, the bearing of trend ofFirst body 201, thesecond body 202 is the above-below direction among Figure 30-41, and with the direction of bearing of trend quadrature be left and right directions among the figure.The bearing of trend of the3rd body 203 is the left and right directions among Figure 30-41, and with the direction of bearing of trend quadrature be above-below direction among the figure.
Wherein shown in Figure 30-34 to becurrent path section 25 extend between the first and second ends of theinduction body 20 of U-shaped substantially so that the length L ofcurrent path section 25 is greater than the length ofinduction body 20 on the bearing of trend ofcurrent path section 25 with curve mode.Increase thus the L in the R=P*L/h formula, and then so that the resistance R between thefirst electrode 21 and thesecond electrode 22 becomes large, improved thus the linearity of induction.
Shown in Figure 35-38 is thatcurrent path section 25 extends between the first and second ends so that the length L ofcurrent path section 25 is greater than the length ofinduction body 20 on the bearing of trend ofcurrent path section 25 with curve mode, andcurrent path section 25 extends between first end and the second end and be orthogonal to sectional area on the plane of its bearing of trend less thaninduction body 20 sectional area in the plane, so that the path ofcurrent path section 25 is longer and width reduces.In the R=P*L/h formula, increase thus L and reduced h, and then so that the resistance R between thefirst electrode 21 and thesecond electrode 22 becomes large, improved thus the linearity of induction.
Shown in Figure 39-Figure 41 is thatcurrent path section 25 is two, a side along the bearing of trend extension of one of themcurrent path section 25proximity sensing body 20, another side along the bearing of trend extension of anothercurrent path section 25 proximity sensing bodies 20.So that the path ofcurrent path section 25 is longer and width reduces, namely in the R=P*L/h formula, increases length L and reduced simultaneously width h, thereby increased the resistance R between thefirst electrode 21 and thesecond electrode 22 thus, improved thus the linearity of induction.
Adopt the cardinal principle U-shaped to respond tobody 20 in thetouch detection components 100 among the utility model embodiment, not only simple in structure, be convenient to making, institute is leaded to be designed conveniently all with one side, starches cost and Decrease production cost but reduce silver.
In embodiment more of the present utility model, touch and to comprise a plurality of L shaped sensing units or cardinal principleU-shaped sensing unit 2 in thedetection components 100, namely comprise a plurality of L shaped induction bodies or cardinal principle U-shapedinduction door body 20, such as Figure 42 and shown in Figure 43, the length of eachinduction door body 20 is different, and is mutually nested between a plurality of induction door bodies 20.In embodiment of the present utility model, the induction body that centers on outside so-called mutually nested the referring to correspondingly surrounds inboard induction body, can when guaranteeing precision, reach larger coverage rate like this, and reduce the complexity of computing, improve the response speed that touches detection components.Certainly those skilled in the art also can adopt according to the thought of Figure 42 and Figure 43 other mutually nested modes to arrange the induction body.
Alternatively, the spacing between adjacent twosensing units 2 equates, the even divisions on both sides that so just can be by 2 pairs of touches of a plurality of sensing units detection components, thereby raising arithmetic speed, and the raising computing velocity, as shown in figure 42.
Certainly in another embodiment of the present utility model, spacing between adjacent twosensing units 2 can not wait yet, as shown in figure 43, for example because the user often touches the centre intouch detection components 100, therefore the spacing between thesensing unit 2 intouch detection components 100 centres can be reduced, thereby improve the accuracy of detection in centre.
Need to prove, above-mentioned L shaped induction body or cardinal principle U-shapedinduction door body 20 are the more excellent embodiment of the utility model, it can obtain larger coverage rate, but other embodiment of the present utility model can carry out the variation that some are equal to Figure 42 and Figure 43, and for exampleFirst body 201 and thesecond body 202 in the cardinal principle U-shapedinduction door body 20 can be uneven.
Sensing unit 2 in thetouch detection components 100 of the utility model embodiment adopts both-end to detect, the two ends that are sensingunit 2 all have electrode, and each electrode all links to each other with the corresponding pin ofcontrol chip 200, the location that self can realize the touch point by sensingunit 2 when touching detection.
Advantageously, embodiment of the present utility model realizes determining of touch location by calculating thefirst resistance R 1 and thesecond resistance R 2 ratios, therefore with respect to present rhombus or triangular design, because when determining touch location, need not to calculate the size of self-capacitance, and the size of self-capacitance can not affect the precision of touch location, the dependence of self-capacitance accuracy of detection is reduced, thereby improved measuring accuracy, improved the linearity.In addition, because any one all can be the rectangle of regular shape in the first to the 3rd body of the utility model embodiment, therefore with respect to irregular shapes such as present rhombus or triangles, also can improve further the linearity.
It will be appreciated by those skilled in the art that, for sensingunit 2, as long as satisfying, the length ofinduction body 20 touches the detection components requirement, and two end electrodes links to each other from the different pin ofcontrol chip 200 respectively and gets final product can sensing unit being carried out charging and discharging, therefore can find out that the utility model does not limit the concrete structure of sensing unit.Sensing unit can have various structures, those skilled in the art can change sensing unit on the basis of the above-mentioned thought of the utility model or improve, but just should be included within the scope of the present utility model as long as do not break away from these structures of above-mentioned thought of the present utility model.
Figure 44 is the synoptic diagram when the U-shaped sensing unit is touched substantially in thetouch detection components 100 of the utility model embodiment.As can be seen from Figure 44, the first electrode is 21, the second electrode is 22, touch location is close to thesecond electrode 22, the length of supposingsensing unit 2 is 10 unit lengths, andsensing unit 2 is divided into 10 parts equably, wherein, the length of the3rd body 203 ofsensing unit 2 is 4 unit lengths, and the length ofFirst body 201 and thesecond body 202 is 3 unit lengths.Through detecting, the ratio of knowing the first resistance and the second resistance is 4: 1, and namely thefirst electrode 21 to the length (being embodied by the first resistance R 1) of touch location is 80% of whole sensing unit length.In other words, the touch point is positioned at the position of 8 unit lengths in distance thefirst electrode 21 places, knows, the touch point is positioned at the position of 2 unit lengths in distance thesecond electrode 22 places.When finger was mobile, therefore the corresponding movement of touch location meeting just can judge the corresponding motion track of finger by the conversion of touch location, thereby judged user's input instruction.
Can find out from the above example of Figure 44, very simple according to the account form of the touch detection components of the utility model embodiment, therefore can greatly improve and touch the reaction velocity thatdetection components 100 detects.
Figure 45 is the synoptic diagram when L shaped sensing unit is touched in thetouch detection components 100 of the utility model embodiment.As can be seen from Figure 45, the first electrode is 21, the second electrode is 22, touch location is close to thesecond electrode 22, the length of supposinginduction body 20 is 10 unit lengths, and will respond to body and be divided into equably 10 parts, wherein, the length ofFirst body 201 is 5 unit lengths, and the length of thesecond body 202 is 5 unit lengths.Through detection, know that the ratio of thefirst resistance R 1 and thesecond resistance R 2 is 9: 1, namely thefirst electrode 21 to the length (being embodied by the first resistance R 1) of touch location is 90% of whole sensing unit length.In other words, the touch point is positioned at the position of 9 unit lengths in distance thefirst electrode 21 places, knows, the touch point is positioned at the position of 1 unit length in distance thesecond electrode 22 places.
As can be seen from Figure 45, very simple according to the account form of the touch detection components of the utility model embodiment, therefore can greatly improve and touch the reaction velocity that detection components detects.
In sum, contactor control device according to the utility model embodiment, apply level signal by theelectrode 21,22 tosensing unit 2 two ends, if thissensing unit 2 is touched, then thissensing unit 2 can form self-capacitance, therefore can charge to this self-capacitance by the level signal that applies, and determine touch location on first direction according to the proportionate relationship between thefirst resistance R 1 and the second resistance R 2.For example in an embodiment of the present utility model, proportionate relationship between the first resistance and the second resistance is according to described self-capacitance charge/discharge the time, from described the first electrode and/or the second electrode detects the first detected value of acquisition and the proportionate relationship between the second detected value calculates.The first detected value and the second detected value that produce during therefore from the first electrode and/or this self-capacitance charge/discharge of the second electrode detection.Like this, just can react the position that the touch point is positioned at this sensing unit by the first detected value and the second detected value, thereby determine that further the touch point is in the position that touches detection components.
Portable electric appts according to the utility model embodiment can comprise thetouch detection components 100 of describing with reference to above-described embodiment.According to the portable electric appts of the utility model embodiment can comprise with reference to above-described embodiment describe contactor control device.Other configuration examples according to the portable electric appts of the utility model embodiment all are known such as framed structure and controlling composition etc. and operation for those of ordinary skills, are not described in detail here.
In the description of this instructions, the description of reference term " embodiment ", " some embodiment ", " illustrative examples ", " example ", " concrete example " or " some examples " etc. means to be contained at least one embodiment of the present utility model or the example in conjunction with specific features, structure, material or the characteristics of this embodiment or example description.In this manual, the schematic statement of above-mentioned term not necessarily referred to identical embodiment or example.And the specific features of description, structure, material or characteristics can be with suitable mode combinations in any one or more embodiment or example.
Although illustrated and described embodiment of the present utility model, those having ordinary skill in the art will appreciate that: can carry out multiple variation, modification, replacement and modification to these embodiment in the situation that does not break away from principle of the present utility model and aim, scope of the present utility model is limited by claim and equivalent thereof.

Claims (21)

A plurality of sensing units, described a plurality of sensing unit is located on the described substrate and mutually disjoints, each described sensing unit comprises induction body and the first electrode and the second electrode, described induction body comprises the first to the 3rd body, described the first and second bodies become predetermined angular with described the 3rd body respectively, the first and second ends of described the 3rd body link to each other with the second end of described First body and the first end of described the second body respectively, described the first and second bodies are positioned at the same side of described the 3rd body, described the first electrode links to each other with the first end of described First body and described the second electrode links to each other with the second end of described the second body, described induction body has a plurality of hollow-out parts, and described a plurality of hollow-out parts are arranged on the described induction body to limit be used to the current path section that increases the resistance between described the first and second electrodes.
Control chip, described control chip links to each other with the second electrode with described the first electrode, described control chip is configured to for applying level signal to be created between described the first and second electrodes by the mobile electric current of described current path section to described the first electrode and/or the second electrode, be used for charging to the self-capacitance that described induction body produces when being touched by described electric current, be used for when the induction body that detects at least one described sensing unit is touched, calculate described the first electrode and described second electrode of the first resistance between the described self-capacitance and described at least one sensing unit and the proportionate relationship between the second resistance between the described self-capacitance of described at least one sensing unit, and be used for determining the touch location that the induction body of described at least one described sensing unit is touched according to the proportionate relationship between described the first resistance and described the second resistance.
CN2012201340878U2011-07-262012-04-01Touch detection assembly, touch control device and portable electric equipmentExpired - LifetimeCN202649961U (en)

Priority Applications (1)

Application NumberPriority DateFiling DateTitle
CN2012201340878UCN202649961U (en)2011-07-262012-04-01Touch detection assembly, touch control device and portable electric equipment

Applications Claiming Priority (5)

Application NumberPriority DateFiling DateTitle
CN2011102109592011-07-26
CN201110211018.22011-07-26
CN2011102110182011-07-26
CN201110210959.42011-07-26
CN2012201340878UCN202649961U (en)2011-07-262012-04-01Touch detection assembly, touch control device and portable electric equipment

Publications (1)

Publication NumberPublication Date
CN202649961Utrue CN202649961U (en)2013-01-02

Family

ID=47169405

Family Applications (40)

Application NumberTitlePriority DateFiling Date
CN2011205738057UExpired - LifetimeCN202795313U (en)2011-07-262011-12-31Touch control device and portable electronic device
CN2011205736297UExpired - LifetimeCN202600660U (en)2011-07-262011-12-31Touch control device and portable electronic equipment
CN201110459293.6AExpired - Fee RelatedCN102902429B (en)2011-07-262011-12-31Touch detecting method and contactor control device
CN201110459408.1AExpired - Fee RelatedCN102902435B (en)2011-07-262011-12-31Touch detecting method and contactor control device
CN201110459295.5AExpired - Fee RelatedCN102902430B (en)2011-07-262011-12-31Touch detecting method and contactor control device
CN2011205738593UExpired - LifetimeCN202795285U (en)2011-07-262011-12-31Touch control device and portable electronic device
CN201110459466.4AExpired - Fee RelatedCN102902437B (en)2011-07-262011-12-31Touch-screen testing equipment and contactor control device
CN2011205737694UExpired - LifetimeCN202548807U (en)2011-07-262011-12-31Touch control device and portable electronic equipment
CN2011205737919UExpired - LifetimeCN202649984U (en)2011-07-262011-12-31Touch screen detection device, touch control device, and portable electronic device
CN201110459486.1AExpired - Fee RelatedCN102902440B (en)2011-07-262011-12-31Touch detecting method and contactor control device
CN201110459482.3AExpired - Fee RelatedCN102902439B (en)2011-07-262011-12-31 Touch detection method and touch device
CN2011205734658UExpired - LifetimeCN202548805U (en)2011-07-262011-12-31Touch screen detection equipment, touch device and portable electronic equipment
CN2011205737976UExpired - LifetimeCN202600661U (en)2011-07-262011-12-31Touch screen detection equipment, touch control device and portable electronic equipment
CN201110459316.3AExpired - Fee RelatedCN102902432B (en)2011-07-262011-12-31Touch detecting method and contactor control device
CN201110459333.7AActiveCN102902433B (en)2011-07-262011-12-31Touch detection method and touch control device
CN201110459313.XAExpired - Fee RelatedCN102902431B (en)2011-07-262011-12-31Touch detecting method and contactor control device
CN2011205736916UExpired - LifetimeCN202548806U (en)2011-07-262011-12-31Touch control apparatus and portable electronic equipment
CN201110459367.6AExpired - Fee RelatedCN102902434B (en)2011-07-262011-12-31Touch detecting method and contactor control device
CN201110459292.1AExpired - Fee RelatedCN102902428B (en)2011-07-262011-12-31Touch detecting method and contactor control device
CN201110459449.0AExpired - Fee RelatedCN102902436B (en)2011-07-262011-12-31 Touch screen detection equipment and touch device
CN201110459473.4AExpired - Fee RelatedCN102902438B (en)2011-07-262011-12-31Touch detecting method, touch screen detection device and contactor control device
CN2011205734681UExpired - LifetimeCN202795312U (en)2011-07-262011-12-31Touch control device and portable electronic device
CN2011205734304UExpired - LifetimeCN202795311U (en)2011-07-262011-12-31Touch control device and portable electronic device
CN201110459115.3AExpired - Fee RelatedCN102902427B (en)2011-07-262011-12-31Touch detecting method and contactor control device
CN201120573486XUExpired - LifetimeCN202649983U (en)2011-07-262011-12-31Touch control device and portable electronic device
CN2011205733797UExpired - LifetimeCN202795310U (en)2011-07-262011-12-31Touch control device and portable electronic device
CN2011205732173UExpired - LifetimeCN202548804U (en)2011-07-262011-12-31Touch device and portable electronic device
CN2011205732224UExpired - LifetimeCN202795309U (en)2011-07-262011-12-31Touch control device and portable electronic device
CN2012201340878UExpired - LifetimeCN202649961U (en)2011-07-262012-04-01Touch detection assembly, touch control device and portable electric equipment
CN2012201345443UExpired - LifetimeCN202615359U (en)2011-07-262012-04-01Touch detection module and touch control device and portable electronic equipment
CN2012201340971UExpired - LifetimeCN202795314U (en)2011-07-262012-04-01Touch control device and touch detecting assembly thereof and portable electronic device
CN201210093658.2AExpired - Fee RelatedCN102902442B (en)2011-07-262012-04-01Touch detection components, contactor control device and portable electric appts
CN2012201345316UExpired - LifetimeCN202795315U (en)2011-07-262012-04-01Touching detection assembly and touching control device and portable type electronic device
CN201210093681.1AExpired - Fee RelatedCN102902443B (en)2011-07-262012-04-01A kind of touch detection components, contactor control device and portable electric appts
CN201210093687.9AExpired - Fee RelatedCN102902399B (en)2011-07-262012-04-01Touch detection components, contactor control device and a kind of portable electric appts
CN201210094078.5AExpired - Fee RelatedCN102902444B (en)2011-07-262012-04-01Touch detection components, a kind of contactor control device and portable electric appts
CN201210093646.XAExpired - Fee RelatedCN102902398B (en)2011-07-262012-04-01Portable electric appts, touch detection components and contactor control device
CN201220134083XUExpired - LifetimeCN202649960U (en)2011-07-262012-04-01Portable electric equipment, touch detection assembly and touch control device
CN201210093649.3AExpired - Fee RelatedCN102902441B (en)2011-07-262012-04-01Touch detection components, contactor control device and portable electric appts
CN2012201341090UExpired - LifetimeCN202870787U (en)2011-07-262012-04-01Touch detection component, touch control device and portable electronic equipment

Family Applications Before (28)

Application NumberTitlePriority DateFiling Date
CN2011205738057UExpired - LifetimeCN202795313U (en)2011-07-262011-12-31Touch control device and portable electronic device
CN2011205736297UExpired - LifetimeCN202600660U (en)2011-07-262011-12-31Touch control device and portable electronic equipment
CN201110459293.6AExpired - Fee RelatedCN102902429B (en)2011-07-262011-12-31Touch detecting method and contactor control device
CN201110459408.1AExpired - Fee RelatedCN102902435B (en)2011-07-262011-12-31Touch detecting method and contactor control device
CN201110459295.5AExpired - Fee RelatedCN102902430B (en)2011-07-262011-12-31Touch detecting method and contactor control device
CN2011205738593UExpired - LifetimeCN202795285U (en)2011-07-262011-12-31Touch control device and portable electronic device
CN201110459466.4AExpired - Fee RelatedCN102902437B (en)2011-07-262011-12-31Touch-screen testing equipment and contactor control device
CN2011205737694UExpired - LifetimeCN202548807U (en)2011-07-262011-12-31Touch control device and portable electronic equipment
CN2011205737919UExpired - LifetimeCN202649984U (en)2011-07-262011-12-31Touch screen detection device, touch control device, and portable electronic device
CN201110459486.1AExpired - Fee RelatedCN102902440B (en)2011-07-262011-12-31Touch detecting method and contactor control device
CN201110459482.3AExpired - Fee RelatedCN102902439B (en)2011-07-262011-12-31 Touch detection method and touch device
CN2011205734658UExpired - LifetimeCN202548805U (en)2011-07-262011-12-31Touch screen detection equipment, touch device and portable electronic equipment
CN2011205737976UExpired - LifetimeCN202600661U (en)2011-07-262011-12-31Touch screen detection equipment, touch control device and portable electronic equipment
CN201110459316.3AExpired - Fee RelatedCN102902432B (en)2011-07-262011-12-31Touch detecting method and contactor control device
CN201110459333.7AActiveCN102902433B (en)2011-07-262011-12-31Touch detection method and touch control device
CN201110459313.XAExpired - Fee RelatedCN102902431B (en)2011-07-262011-12-31Touch detecting method and contactor control device
CN2011205736916UExpired - LifetimeCN202548806U (en)2011-07-262011-12-31Touch control apparatus and portable electronic equipment
CN201110459367.6AExpired - Fee RelatedCN102902434B (en)2011-07-262011-12-31Touch detecting method and contactor control device
CN201110459292.1AExpired - Fee RelatedCN102902428B (en)2011-07-262011-12-31Touch detecting method and contactor control device
CN201110459449.0AExpired - Fee RelatedCN102902436B (en)2011-07-262011-12-31 Touch screen detection equipment and touch device
CN201110459473.4AExpired - Fee RelatedCN102902438B (en)2011-07-262011-12-31Touch detecting method, touch screen detection device and contactor control device
CN2011205734681UExpired - LifetimeCN202795312U (en)2011-07-262011-12-31Touch control device and portable electronic device
CN2011205734304UExpired - LifetimeCN202795311U (en)2011-07-262011-12-31Touch control device and portable electronic device
CN201110459115.3AExpired - Fee RelatedCN102902427B (en)2011-07-262011-12-31Touch detecting method and contactor control device
CN201120573486XUExpired - LifetimeCN202649983U (en)2011-07-262011-12-31Touch control device and portable electronic device
CN2011205733797UExpired - LifetimeCN202795310U (en)2011-07-262011-12-31Touch control device and portable electronic device
CN2011205732173UExpired - LifetimeCN202548804U (en)2011-07-262011-12-31Touch device and portable electronic device
CN2011205732224UExpired - LifetimeCN202795309U (en)2011-07-262011-12-31Touch control device and portable electronic device

Family Applications After (11)

Application NumberTitlePriority DateFiling Date
CN2012201345443UExpired - LifetimeCN202615359U (en)2011-07-262012-04-01Touch detection module and touch control device and portable electronic equipment
CN2012201340971UExpired - LifetimeCN202795314U (en)2011-07-262012-04-01Touch control device and touch detecting assembly thereof and portable electronic device
CN201210093658.2AExpired - Fee RelatedCN102902442B (en)2011-07-262012-04-01Touch detection components, contactor control device and portable electric appts
CN2012201345316UExpired - LifetimeCN202795315U (en)2011-07-262012-04-01Touching detection assembly and touching control device and portable type electronic device
CN201210093681.1AExpired - Fee RelatedCN102902443B (en)2011-07-262012-04-01A kind of touch detection components, contactor control device and portable electric appts
CN201210093687.9AExpired - Fee RelatedCN102902399B (en)2011-07-262012-04-01Touch detection components, contactor control device and a kind of portable electric appts
CN201210094078.5AExpired - Fee RelatedCN102902444B (en)2011-07-262012-04-01Touch detection components, a kind of contactor control device and portable electric appts
CN201210093646.XAExpired - Fee RelatedCN102902398B (en)2011-07-262012-04-01Portable electric appts, touch detection components and contactor control device
CN201220134083XUExpired - LifetimeCN202649960U (en)2011-07-262012-04-01Portable electric equipment, touch detection assembly and touch control device
CN201210093649.3AExpired - Fee RelatedCN102902441B (en)2011-07-262012-04-01Touch detection components, contactor control device and portable electric appts
CN2012201341090UExpired - LifetimeCN202870787U (en)2011-07-262012-04-01Touch detection component, touch control device and portable electronic equipment

Country Status (3)

CountryLink
CN (40)CN202795313U (en)
TW (14)TWM449305U (en)
WO (7)WO2013013624A1 (en)

Cited By (1)

* Cited by examiner, † Cited by third party
Publication numberPriority datePublication dateAssigneeTitle
CN102902399A (en)*2011-07-262013-01-30比亚迪股份有限公司Touch detection component, touch device and portable electronic equipment

Families Citing this family (29)

* Cited by examiner, † Cited by third party
Publication numberPriority datePublication dateAssigneeTitle
CN103105988B (en)*2013-01-222016-01-06北京京东方光电科技有限公司Capacitive touch screen, the manufacture method of touch control display apparatus and capacitive touch screen
CN103294319A (en)*2013-06-062013-09-11敦泰科技有限公司Capacitive touch screen
TWI502460B (en)*2013-08-072015-10-01Focaltech Electronics LtdA self-capacitive touch screen and a touch control apparatus
US9552089B2 (en)2013-08-072017-01-24Synaptics IncorporatedCapacitive sensing using a matrix electrode pattern
CN103455228B (en)*2013-08-302016-10-19珠海中慧微电子有限公司Automatically induction point and the method for capacitance touch screen driving voltage load time are calculated
WO2015058350A1 (en)*2013-10-222015-04-30敦泰科技有限公司Self-capacitance change detection method and self-capacitance sensing device for touch screen
CN103699278B (en)*2013-10-222017-01-11敦泰电子有限公司Self-capacitance change detection method and self-capacitance sensing device for touch screen
TWI515634B (en)*2013-11-082016-01-01義隆電子股份有限公司Touch device and sensing method for of the touch device
JP6216252B2 (en)*2014-01-092017-10-18アルプス電気株式会社 Input device
CN104808870A (en)*2014-01-232015-07-29天津富纳源创科技有限公司Detection method of touch point of single-layer capacitive touch screen
CN104850283B (en)*2014-02-142018-02-02晨星半导体股份有限公司Self-capacitance touch panel electrode using zigzag line segment to increase resistance value
TWI610203B (en)2014-02-142018-01-01晨星半導體股份有限公司Electrode of self-capacitive touch panel utilizing serpentine trace to increase resistance and self-capacitive touch panel
US9703431B2 (en)2014-06-032017-07-11Synaptics IncorporatedNoise detection and mitigation for capacitive sensing devices
US9753587B2 (en)2014-06-052017-09-05Synaptics IncorporatedDriving sensor electrodes for absolute capacitive sensing
US9703430B2 (en)2014-06-302017-07-11Synaptics IncorporatedDriving sensor electrodes for proximity sensing
US9746975B2 (en)2015-03-272017-08-29Synaptics IncorporatedCapacitive measurement processing for mode changes
WO2016183440A1 (en)2015-05-132016-11-17Lukla LlcGarment with strategically positioned polymide aerogel panels
CN106325578B (en)*2015-07-102023-07-25宸鸿科技(厦门)有限公司 Pressure sensitive touch panel
CN107294521B (en)*2016-03-312020-08-21日本电气株式会社Induction detection method and device
CN106527451B (en)*2016-12-272023-07-11许筠On-screen interactive robot
CN107328555A (en)*2017-06-202017-11-07合肥市惠科精密模具有限公司A kind of display screen foreign matter detecting method
CN108108055B (en)*2018-01-022021-11-16联想(北京)有限公司Touch device, touch method and electronic equipment
CN109375839B (en)*2018-12-032020-06-30武汉华星光电半导体显示技术有限公司Touch screen and display device
TWI724790B (en)*2020-02-142021-04-11李尚禮Resistive touch device and resistive touch-sensing method
TWI727662B (en)*2020-02-142021-05-11李尚禮Resistive touch device and resistive touch-sensing method
CN111762023B (en)*2020-05-292022-04-12法雷奥舒适驾驶辅助系统(广州)有限公司Touch device and method thereof and auxiliary switch of automobile steering wheel
CN111766978B (en)*2020-06-122021-09-24深圳市华星光电半导体显示技术有限公司Touch control assembly and touch control display device
CN111813277A (en)*2020-07-102020-10-23温州长江汽车电子有限公司Double-layer pressure touch signal acquisition method of capacitive touch switch
CN114361148A (en)*2020-09-302022-04-15Tcl科技集团股份有限公司 Pixel structure, lamp panel, display device and driving method of pixel structure

Family Cites Families (38)

* Cited by examiner, † Cited by third party
Publication numberPriority datePublication dateAssigneeTitle
JPH1091350A (en)*1996-09-101998-04-10Tokyo Cosmos Electric Co Ltd Touch panel
JP3220405B2 (en)*1997-02-202001-10-22アルプス電気株式会社 Coordinate input device
US6057903A (en)*1998-08-182000-05-02International Business Machines CorporationLiquid crystal display device employing a guard plane between a layer for measuring touch position and common electrode layer
US6297811B1 (en)*1999-06-022001-10-02Elo Touchsystems, Inc.Projective capacitive touchscreen
JP2006504948A (en)*2002-10-312006-02-09フィリップ、ハラルド Capacitive position sensor using charge transfer
TWI258708B (en)*2005-01-272006-07-21Apex Material Technology CorpResistive touch panel, and it manufacturing method
WO2007091579A1 (en)*2006-02-102007-08-16Sharp Kabushiki KaishaTouch panel coordinate position detection device
GB2439614B (en)*2006-05-312008-12-24Harald PhilippTwo-dimensional position sensor
TW200844827A (en)*2007-05-112008-11-16Sense Pad Tech Co LtdTransparent touch panel device
KR101530189B1 (en)*2007-07-192015-06-22(주)멜파스Touchscreen apparatus having multiple bar-type transparent electrodes
JP5094376B2 (en)*2007-12-282012-12-12株式会社ワコム Position detection device
TW200935290A (en)*2008-01-152009-08-16Ad Semiconductor Co LtdResistive touch screen which can identify multi-touch
CN201174111Y (en)*2008-03-122008-12-31洋华光电股份有限公司Signal conduction structure of touch panel
US8830180B2 (en)*2008-04-102014-09-09Atmel CorporationCapacitive position sensor
US8487898B2 (en)*2008-04-252013-07-16Apple Inc.Ground guard for capacitive sensing
CN101655754B (en)*2008-08-212014-03-26株式会社和冠Extended touchscreen pattern
CN101661356B (en)*2008-08-252011-07-06盛群半导体股份有限公司 Capacitive charge compensation method for touch sensing device
CN101751172A (en)*2008-12-082010-06-23上海天马微电子有限公司Touch position detection method and touch screen
JP5113773B2 (en)*2009-01-202013-01-09株式会社ジャパンディスプレイイースト Display device
CN101847066A (en)*2009-03-252010-09-29友达光电股份有限公司Mutual capacitance type touch display device
JP5193942B2 (en)*2009-05-142013-05-08京セラディスプレイ株式会社 Capacitive touch panel device
TWI543048B (en)*2009-05-152016-07-21晨星半導體股份有限公司A sensor structure of a capacitive touch panel and the sensing method thereof
TWI528250B (en)*2009-06-252016-04-01Elan Microelectronics Corp Object Detector and Method for Capacitive Touchpad
TW201102895A (en)*2009-07-102011-01-16Focaltech Systems LtdUltra-thin mutual capacitance touch panel and assembly-type ultra-thin touch panel
CN101996014B (en)*2009-08-212013-08-14宏达国际电子股份有限公司Pressure detection method of touch sensing element and electronic device using same
US9632628B2 (en)*2009-10-232017-04-25Atmel CorporationInterdigitated touchscreen electrodes
TWI489356B (en)*2009-12-152015-06-21Au Optronics CorpTouch display device and touch sensing device
TWI417777B (en)*2009-12-242013-12-01Orise Technology Co LtdCapacitive touch panel with high touching sensitivity
KR20110076188A (en)*2009-12-292011-07-06삼성전자주식회사 Capacitive Sensing Device and Manufacturing Method
CN101840293B (en)*2010-01-212012-03-21宸鸿科技(厦门)有限公司Scanning method for projected capacitive touch panels
CN101923419A (en)*2010-04-202010-12-22敦泰科技有限公司 Self-capacitance touch screen with one-dimensional electrodes and its coordinate data processing method
TWI426435B (en)*2010-09-142014-02-11Sentelic Corp Capacitive touch panel and its manufacturing method
CN101984391B (en)*2010-10-132012-12-26友达光电股份有限公司 Touch panel and its repair method
TWI426437B (en)*2010-10-282014-02-11Young Lighting Technology IncCapacitive touch panel
TWI421756B (en)*2010-12-232014-01-01Au Optronics CorpTouch display panel and touch sensing panel
CN202267944U (en)*2011-07-262012-06-06比亚迪股份有限公司Touch screen detecting device and touch control device
CN202422046U (en)*2011-07-262012-09-05比亚迪股份有限公司Induction unit, touch screen detection device and touch control device
CN202795313U (en)*2011-07-262013-03-13比亚迪股份有限公司Touch control device and portable electronic device

Cited By (2)

* Cited by examiner, † Cited by third party
Publication numberPriority datePublication dateAssigneeTitle
CN102902399A (en)*2011-07-262013-01-30比亚迪股份有限公司Touch detection component, touch device and portable electronic equipment
CN102902399B (en)*2011-07-262015-12-09比亚迪股份有限公司Touch detection components, contactor control device and a kind of portable electric appts

Also Published As

Publication numberPublication date
CN102902427B (en)2015-09-02
CN202548805U (en)2012-11-21
CN102902427A (en)2013-01-30
CN102902433B (en)2017-01-25
WO2013013635A1 (en)2013-01-31
CN102902444A (en)2013-01-30
CN102902431B (en)2016-09-07
CN202795312U (en)2013-03-13
CN102902433A (en)2013-01-30
CN102902432B (en)2016-03-02
CN102902430A (en)2013-01-30
CN102902434B (en)2015-09-30
CN202795309U (en)2013-03-13
TWM450007U (en)2013-04-01
CN202548804U (en)2012-11-21
WO2013013624A1 (en)2013-01-31
CN102902440B (en)2016-03-30
CN102902435B (en)2015-12-02
TWM453897U (en)2013-05-21
CN102902398B (en)2016-03-02
CN202795314U (en)2013-03-13
CN102902440A (en)2013-01-30
TWM451595U (en)2013-04-21
CN202600660U (en)2012-12-12
TWM457238U (en)2013-07-11
TW201310317A (en)2013-03-01
TW201308180A (en)2013-02-16
CN102902431A (en)2013-01-30
WO2013013625A1 (en)2013-01-31
CN102902438A (en)2013-01-30
TW201324296A (en)2013-06-16
CN102902429A (en)2013-01-30
CN202795285U (en)2013-03-13
TW201305892A (en)2013-02-01
TWI482074B (en)2015-04-21
CN202795311U (en)2013-03-13
CN102902437A (en)2013-01-30
TWI475437B (en)2015-03-01
CN202649960U (en)2013-01-02
CN102902437B (en)2016-04-27
TWI494833B (en)2015-08-01
CN102902442B (en)2016-04-27
WO2013013637A1 (en)2013-01-31
CN202795315U (en)2013-03-13
CN102902439A (en)2013-01-30
CN102902399B (en)2015-12-09
CN102902441A (en)2013-01-30
CN102902435A (en)2013-01-30
CN102902436B (en)2015-12-02
CN202795310U (en)2013-03-13
TW201319904A (en)2013-05-16
CN102902442A (en)2013-01-30
WO2013013627A1 (en)2013-01-31
CN102902432A (en)2013-01-30
TWM449305U (en)2013-03-21
CN102902428B (en)2016-09-07
CN102902441B (en)2016-06-22
TWI486848B (en)2015-06-01
CN102902398A (en)2013-01-30
CN102902436A (en)2013-01-30
TWM464745U (en)2013-11-01
WO2013013636A1 (en)2013-01-31
CN102902438B (en)2016-06-01
CN102902430B (en)2016-03-30
CN102902399A (en)2013-01-30
CN102902443B (en)2016-01-13
CN202548806U (en)2012-11-21
TW201308156A (en)2013-02-16
CN102902429B (en)2016-05-04
CN202548807U (en)2012-11-21
TWI479399B (en)2015-04-01
CN202649984U (en)2013-01-02
CN202615359U (en)2012-12-19
CN102902428A (en)2013-01-30
CN102902434A (en)2013-01-30
TWI485604B (en)2015-05-21
CN202795313U (en)2013-03-13
TWI483164B (en)2015-05-01
CN202649983U (en)2013-01-02
CN102902444B (en)2016-08-17
TW201319903A (en)2013-05-16
CN102902443A (en)2013-01-30
WO2013013634A1 (en)2013-01-31
CN202870787U (en)2013-04-10
CN102902439B (en)2016-11-09
CN202600661U (en)2012-12-12
TWM470979U (en)2014-01-21

Similar Documents

PublicationPublication DateTitle
CN202649961U (en)Touch detection assembly, touch control device and portable electric equipment
US20140198265A1 (en)Induction unit, touch detecting assembly and touch sensitive device
CN202267944U (en)Touch screen detecting device and touch control device
CN102902388A (en)Touch detection method, touch screen detector and touch device

Legal Events

DateCodeTitleDescription
C14Grant of patent or utility model
GR01Patent grant
AV01Patent right actively abandoned

Granted publication date:20130102

Effective date of abandoning:20151209

C25Abandonment of patent right or utility model to avoid double patenting

[8]ページ先頭

©2009-2025 Movatter.jp