Movatterモバイル変換


[0]ホーム

URL:


CN202549195U - LED (Light Emitting Diode) display screen provided with separating shutter grating module - Google Patents

LED (Light Emitting Diode) display screen provided with separating shutter grating module
Download PDF

Info

Publication number
CN202549195U
CN202549195UCN2012201778651UCN201220177865UCN202549195UCN 202549195 UCN202549195 UCN 202549195UCN 2012201778651 UCN2012201778651 UCN 2012201778651UCN 201220177865 UCN201220177865 UCN 201220177865UCN 202549195 UCN202549195 UCN 202549195U
Authority
CN
China
Prior art keywords
module
led
circuit board
drain pan
led display
Prior art date
Legal status (The legal status is an assumption and is not a legal conclusion. Google has not performed a legal analysis and makes no representation as to the accuracy of the status listed.)
Expired - Lifetime
Application number
CN2012201778651U
Other languages
Chinese (zh)
Inventor
曹延良
石建功
龚杰
Current Assignee (The listed assignees may be inaccurate. Google has not performed a legal analysis and makes no representation or warranty as to the accuracy of the list.)
SHENZHEN MARY PHOTOELECTRICITY CO Ltd
Original Assignee
SHENZHEN MARY PHOTOELECTRICITY CO Ltd
Priority date (The priority date is an assumption and is not a legal conclusion. Google has not performed a legal analysis and makes no representation as to the accuracy of the date listed.)
Filing date
Publication date
Application filed by SHENZHEN MARY PHOTOELECTRICITY CO LtdfiledCriticalSHENZHEN MARY PHOTOELECTRICITY CO Ltd
Priority to CN2012201778651UpriorityCriticalpatent/CN202549195U/en
Application grantedgrantedCritical
Publication of CN202549195UpublicationCriticalpatent/CN202549195U/en
Anticipated expirationlegal-statusCritical
Expired - Lifetimelegal-statusCriticalCurrent

Links

Images

Landscapes

Abstract

The utility model discloses an LED (Light Emitting Diode) display screen provided with a separating shutter grating module. The LED display screen comprises a module frame, a bottom shell and a shutter arranged at the back of the bottom shell, wherein at least one circuit is arranged between the bottom shell and a face mask, the circuit board is provided with at least two LED luminous units, the bottom shell and the face mask between the two adjacent LED luminous units are respectively provided with a vent hole, the vent holes correspond to shading plates on the shutter; the circuit board is further provided with at least one anode power circuit, at least one cathode power circuit and at least one signal control circuit, the LED luminous units are connected through at least one signal control circuit, one anode power circuit and one cathode power circuit; each circuit board is arranged on the module frame; and each LED luminous unit can form an LED light emitting surface on one side of the circuit board; the inner edge of the module frame is provided with a groove used for fixing the circuit board so as to form an LED screen.

Description

A kind of LED display with separate type blinds grating module
Technical field
The utility model relates to a kind of lighting device, relates in particular to a kind of LED display with separate type blinds grating module.
Background technology
The LED screen has become the sign of urban information modernization construction as a kind of important means of information propagation.Along with socioeconomic continuous progress, and the LED display technique is constantly perfect, and people will more and more go deep into the understanding of LED display, and its application will be more and more wider.
In the existing LED screen, common great majority are used for indoor, because existing LED screen waterproof effect and shaded effect are bad; The also non-constant of result of ventilating heat dissipation; Can cause the illumination effect of LED screen, and very easy short circuit or damage, in the process of using LED display, brought inconvenience for the user.LED display is used more and more widely at present; The area of display screen also is to do bigger and bigger, makes the weight of screen body strengthen the also corresponding increase of the windage that receives; In order to reduce the weight and the windage of screen body; Guarantee the display effect of display screen simultaneously. simplify the processing technology of product, improve product splicing accuracy and installation effectiveness, special this kind of product of exploitation.
Therefore, there is defective in prior art, needs to improve.
The utility model content
The utility model provides a kind of new technical scheme of LED display body with separate type blinds grating module.
The technical scheme of the utility model is following: a kind of LED display with separate type blinds grating module, comprise at least one LED module, and the LED module is made up of module framework, modular assembly, bonnet, bonnet O-ring seal and power-supply control unit; Wherein modular assembly is made up of module drain pan, module face shield and blinds; One module drain pan is fixed on the front surface of module framework through stationary installation; The lamp bar that on the module drain pan, laterally arranges, said lamp bar comprises circuit board, the LED luminescence unit laterally arranges on circuit board; One module face shield and LED luminescence unit are used and are arranged on the module drain pan; In module face shield, circuit board, module drain pan, module framework grid-like through hole is set respectively, each through hole is corresponding to be provided with, and forms penetrating LED module; At least one cavity is set between the front surface of module drain pan and module framework; Said cavity is used to be provided with blinds; One power-supply control unit and a cavity are set at the module framework rear portion, a bonnet is set on cavity, four jiaos respectively are provided with the leader at the module framework rear portion; Said handle bottom is consistent with the module framework bottom, and said handle is used to do supporting seat.
Preferred version, described LED display, wherein; Said blinds is detachable blinds, is arranged in the cavity between the front surface of module drain pan and module framework, and blinds is used for ventilation and hides backlight; When the screen body is installed on the high building; Strong wind is met with screen body positive, and the wind of a part then goes through the interval arrival screen body of module at the back, thereby reduces the wind-force that the screen body receives.
Preferred version, described LED display, wherein, said power-supply control unit is made up of power supply, power supply installing plate, receiving card and card extender.
Preferred version, described LED display, wherein, said module framework both sides are provided with 1-90 degree angle, are used for the arc splicing.
Preferred version, described LED display, wherein, said module framework is to adopt the die casting aluminium modular construction.
Preferred version, described LED display, wherein, the signal wire of said LED module and power lead all are that the O-ring seal that on the module entrance hole, is provided with is to be used for the module waterproof through the turnover of module entrance hole.
Preferred version, described LED display, wherein, said module framework blinds is provided with through hole, and said through hole communicates with air vent on drain pan and the face shield.
Preferred version, described LED display, wherein, said circuit board is a lamp stripe shape circuit board.
Preferred version, described LED display, wherein,, said drain pan and said face shield are provided with 24 circuit board screens.
Preferred version, described LED display, wherein, said face shield is provided with light hole, and the exiting surface of said LED light emitting diode is arranged in the light hole.
A kind of LED display with separate type blinds grating module comprises more than two the LED display that LED module is according to claim 1 formed through bindiny mechanism at least.
Preferred version, described LED display, wherein, said bindiny mechanism comprises mounting bracket assembly and brace assembly, mounting bracket assembly and brace assembly are used; Said mounting bracket assembly comprises that connecting fixed block, bayonet lock, spring, hand buckles compositions, and said brace assembly comprises and connects pin, brace, nut composition.
Adopt such scheme; The utility model is provided with light hole through special drain pan, module framework and drain pan are set; The position of the special combination mode of drain pan and module framework and light hole and said LED light-emitting diodes pipe jointing; Be provided with the purpose that the waterproof plastic cement has effectively solved waterproof and shading, made it outstanding substantive distinguishing features; This LED display uses, and not only reduces to take up room, reduce to connect loaded down with trivial details, minimizing cost input, has excellent waterproof and shading performance, and succinctly attractive in appearance, esy to use, safe and reliable, thereby obtains better technique effect and economic benefit.
Adopt grating lamp strips, the casing modular construction; , the detachable blinds of modular belt, ventilate to hide backlightly, satisfy different customer demands; Outdoor water-proof; The practicable lifting of casing and stow two kinds of assembly forms has adapted to different installation occasions.
Description of drawings
Fig. 1 is one of LED display structural representation in the utility model;
Fig. 2 be in the utility model the LED display structural representation two;
Fig. 3 be in the utility model the LED display structural representation three;
Fig. 4 is one of circuit board and LED light-emitting diodes pipe jointing synoptic diagram in the utility model;
Fig. 5 is bindiny mechanism's synoptic diagram in the utility model;
Fig. 6 is a mounting bracket assembly synoptic diagram in the utility model;
Fig. 7 is a brace assembly synoptic diagram in the utility model.
Embodiment
Below in conjunction with accompanying drawing and specific embodiment, the utility model is elaborated.
Embodiment 1
Like Fig. 1, Fig. 2, Fig. 3, Fig. 4, shown in Figure 5,
A kind of LED display with separate type blinds grating module comprises at least one LED module, and the LED module is made up ofmodule framework 10, modular assembly, bonnet, bonnet O-ring seal and power-supply control unit 25; Wherein modular assembly is made up ofmodule drain pan 16,module face shield 15 andblinds 26; One module drain pan is fixed on the front surface of module framework through stationary installation; The lamp bar that on the module drain pan, laterally arranges, said lamp bar comprises circuit board,LED luminescence unit 8 laterally arranges on circuit board; One module face shield and LED luminescence unit are used and are arranged on the module drain pan; In module face shield, circuit board, module drain pan, module framework grid-like through hole is set respectively, each through hole is corresponding to be provided with, and forms penetrating LED module; At least one cavity is set between the front surface of module drain pan and module framework; Said cavity is used to be provided with blinds; One power-supply control unit and a cavity are set at the module framework rear portion, a bonnet is set on cavity, four jiaos respectively are provided with the leader at the module framework rear portion; Said handle bottom is consistent with the module framework bottom, and said handle is used to do supporting seat.
Preferred version, described LED display, wherein; Said blinds is detachable blinds, is arranged in the cavity between the front surface of module drain pan and module framework, and blinds is used for ventilation and hides backlight; When the screen body is installed on the high building; Strong wind is met with screen body positive, and the wind of a part then goes through the interval arrival screen body of module at the back, thereby reduces the wind-force that the screen body receives.
Preferred version, described LED display, wherein, said power-supply control unit is made up of power supply, power supply installing plate, receiving card and card extender.
Preferred version, described LED display, wherein, said module framework both sides are provided with 1-90 degree angle, are used for the arc splicing.
Preferred version, described LED display, wherein, said module framework is to adopt the die casting aluminium modular construction.
Preferred version, described LED display, wherein, the signal wire of said LED module and power lead all are that the O-ring seal that on the module entrance hole, is provided with is to be used for the module waterproof through the turnover of module entrance hole.
Preferred version, described LED display, wherein, said module framework blinds is provided with through hole, and said through hole communicates with air vent on drain pan and the face shield.
Preferred version, described LED display, wherein, said circuit board is a lamp stripe shape circuit board.
Preferred version, described LED display, wherein,, said drain pan and said face shield are provided with 24 circuit board screens.
Preferred version, described LED display, wherein, said face shield is provided with light hole, and the exiting surface of said LED light emitting diode is arranged in the light hole.
Blinds 26 can dismounting in the utility model, and according to the needs of installing, the size of the wind of installation site decidesmodule drain pan 16 whetherblinds 26 is installed.
Said LED luminescence unit comprises at least one LED light emitting diode and at least one single line control chip;
Each circuit board is arranged and is arranged on the said module framework, and each LED luminescence unit forms a LED screen exiting surface in a side of said circuit board,
The interior edge of said module framework is provided with groove, is used for fixing said circuit board, is used for forming the LED screen.
Preferred version, described LED display, wherein, saidblinds 26 is provided with through hole, and said through hole communicates with air vent on drain pan and the face shield.
Like Fig. 6, Fig. 7, a kind of LED display shown in Figure 8, comprise the LED display that at least two above LED modules are formed through bindiny mechanism with separate type blinds grating module.Under normal conditions; Generally couple together through bindiny mechanism and form the LED screen by 4 LED modules; In themodule framework 10 of 4 LED modules amounting bracket assembly 53 is installed respectively; 4mounting bracket assemblies 53 are so just arranged, connectpin 57 correspondences with 4 on thebrace assembly 51 then and connect draw-in groove to 4 on their 4mounting bracket assemblies 53, press connectionhand catching groove 59 place'shand buttons 54.
Preferred version, described LED display, wherein, said bindiny mechanism comprisesmounting bracket assembly 53 andbrace assembly 51,mounting bracket assembly 53 is used withbrace assembly 55; Said mounting bracket assembly comprises that connectingfixed block 58,bayonet lock 54,spring 52,hand buckles 54 and form; Said brace assembly comprisesconnection pin 57,brace 55,nut 56 compositions.
Preferred version, described LED display, wherein, saidmounting bracket assembly 53 is provided with on themodule framework 10, and just row is fixing with module framework.
Preferred version, described LED display, wherein, saidbrace assembly 51 is independent assemblies.
Preferred version, described LED display, wherein, saidbrace assembly 51 comprises plane brace assembly and arc brace assembly.
Adopt such scheme; The utility model is provided with light hole through special drain pan, module framework and drain pan are set; The position of the special combination mode of drain pan and module framework and light hole and said LED light-emitting diodes pipe jointing; Be provided with the purpose that the waterproof plastic cement has effectively solved waterproof and shading, made it outstanding substantive distinguishing features; This LED display uses, and not only reduces to take up room, reduce to connect loaded down with trivial details, minimizing cost input, has excellent waterproof and shading performance, and succinctly attractive in appearance, esy to use, safe and reliable, thereby obtains better technique effect and economic benefit.
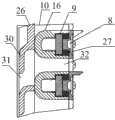
The utility model provides a kind of LED display with separate type blinds grating module;Comprise module framework 10,module drain pan 16, be arranged on theblinds 26 atmodule drain pan 16 rear portions; At least two LED luminescence units are set being provided with between drain pan and the face shield at least onecircuit board 9, the saidcircuit board 9; Generally the LED luminescence unit is to be fixed on thecircuit board 9, on drain pan between two adjacent LED luminescence units and face shield, to be respectively arranged withair vent 32 throughcasting glue 27, theshadow shield 30 corresponding settings above saidair vent 32 and theblinds 26; At least one cathode power supply circuit 5, at least one negative power supply circuit 6, at least one signal controlling circuit 7 also are set on the said circuit board, are connected with a negative power supply circuit through at least one signal controlling circuit, a cathode power supply circuit between each LED luminescence unit; Said LED luminescence unit comprises at least one LED light emitting diode and at least one single line control chip; Each circuit board is arranged and is arranged on the said module framework, and each LED luminescence unit forms a LED screen exiting surface in a side of said circuit board,
The interior edge of said module framework is provided with groove, is used for fixing said circuit board, is used for forming the LED screen.
Described LED display, wherein, saidblinds 26 is provided with throughhole 31, and said throughhole 31 communicates withair vent 32 on drain pan and the face shield.
Blinds 26 can dismounting in the utility model, and according to the needs of installing, the size of the wind of installation site decidesmodule drain pan 16 whetherblinds 26 is installed.
Described LED display, wherein, saidcircuit board 9 is lamp stripe shape circuit boards.
Described LED display, wherein, said drain pan and said face shield are provided with 24 circuit board screens.
Described LED display, wherein, said face shield is provided with light hole, and the exiting surface of said LED light emitting diode is arranged in the light hole.
1, module is made up of drain pan, lamp plate PCB assembly, face shield, blinds, and assembly relation is: PCB is fixed on the drain pan through M2 self tapping copper stud, and the logical again M1.2 machine tooth screw retention of face shield is to M2 self tapping copper stud.
2, drain pan is equipped with blinds at the back, is fixed on the drain pan by the M3 self-tapping screw.
3, the signal of module and power supply all are that the O-ring seal on the module entrance hole is then for the module waterproofing design through the turnover of module entrance hole.
The functions of modules explanation:
1, in the time of on shielding body installation high building, strong wind is met with screen body positive, and the wind of a part then shields body through the interval arrival of module and goes at the back, thereby reduces the wind-force that the screen body receives.
2, the blinds of module adopts separate type, can select whether to install blinds according to client's demand.
3, because product is injection molded, the formwork of 24 lamp bar patterns is injection molded into an integral module, whole module only needs 8 screw retention, thereby reduces the processed complex property of product.
Adopt such scheme; The utility model is provided with light hole through special drain pan, module framework and drain pan are set; The position of the special combination mode of drain pan and module framework and light hole and said LED light-emitting diodes pipe jointing; Be provided with the purpose that the waterproof plastic cement has effectively solved waterproof and shading, made it outstanding substantive distinguishing features; This LED display uses, and not only reduces to take up room, reduce to connect loaded down with trivial details, minimizing cost input, has excellent waterproof and shading performance, and succinctly attractive in appearance, esy to use, safe and reliable, thereby obtains better technique effect and economic benefit.
Wherein said control device is arranged on themodule framework 10, and saidmodule drain pan 16 is arranged on the outside of saidmodule framework 10; The two is combined closely and is used for waterproof;
The interior edge of saidmodule framework 10 is provided with groove; The size of groove is provided with draw-in groove less times greater than the cross section ofcircuit board 9 in the groove, a side in the cross section ofcircuit board 9 is provided with buckle; Draw-in groove and buckle pairing are used, and are used for fixing the screen that the saidcircuit board 9 of polylith forms.Module framework 10 up and down wall all be lattice-shaped or mesh-shape, make the unimpeded convection current of air in the machine, be beneficial to the components and parts cooling.
Wherein be arranged on each power circuit on thecircuit board 9; Also can be set to comprise many cathode power supply circuits and many negative power supply circuits; Each cathode power supply line is connected with external power supply respectively with each anode power cord, to guarantee the operate as normal of electronic devices and components such ascircuit board 9 interior each LED light emitting diode; Be provided with align more, the negative power supply circuit can be connected with other electronic devices and components with the LED light emitting diode respectively, a certainly aligning, when the negative power supply circuit breaks off, do not influencing the operate as normal of other positive and negative electrode power circuits; Also can be with a pair of positive and negative electrode power circuit wherein as main power line; Other positive and negative electrode power circuits are as the standby power supply line; Power lead has multiple assurance, makes when main power line breaks off, and does not influence the operate as normal of LED light emitting diode and other electronic devices and components.In order to make in the present embodiment LED lamp bar simple in structure, usually, a cathode power supply circuit 5 and a negative power supply circuit 6 only are set.
Be provided with light hole atmodule drain pan 16 with the position that the LED light emitting diode combines; The exiting surface of said LED light emitting diode is arranged in the light hole; For better waterproof, be provided with the waterproof plastic cement at the position of said light hole and said LED light-emitting diodes pipe jointing.
Embodiment 3
On the basis of embodiment 1,blinds 26 can dismounting in the utility model, and according to the needs of installing, the size of the wind of installation site decidesmodule drain pan 16 whetherblinds 26 is installed.Saidbrace assembly 51 comprises plane brace assembly and arc brace assembly.
Needs according to reality; Can form difform screen, be assembled into the assembling screen of an arc if desired, just need to use a plurality of LED modules to be provided with angle on said module framework both sides; It is fixed that this angle is come according to the angle of design arc; Couple together a plurality of LED module framework that have the angle of arc with the arc brace, just formed the LED screen of arc, this screen can lift also passable
Be provided with light hole atmodule drain pan 16 with the position that the LED light emitting diode combines; The exiting surface of said LED light emitting diode is arranged in the light hole; For better waterproof, be provided with the waterproof plastic cement at the position of said light hole and said LED light-emitting diodes pipe jointing.
Embodiment 3
Extremely shown in Figure 5 like Fig. 1; The utility model provides a kind of LED display with separate type blinds grating module; Comprise that amodule framework 10,module drain pan 16, thepolylith circuit board 9, thepolylith circuit board 9 that are installed on themodule framework 10 are arranged in parallel within the groove ofmodule framework 10; A plurality of LED luminescence units are arranged on thepolylith circuit board 9, and the LED luminescence unit specifically is meant the LED light emitting diode in the present embodiment, inmodule framework 10 inside onecontrol device 16 are set also; Two cathode power supply circuits, two negative power supply circuits and two signal lines are set, one first side, one second side, one the 3rd side and one the 4th side on the saidcircuit board 9; Each LED unit comprises four LED light emitting diodes;
The interior edge of saidmodule framework 10 is provided with groove; The size of groove is provided with draw-in groove less times greater than the cross section ofcircuit board 9 in the groove, a side in the cross section ofcircuit board 9 is provided with buckle; Draw-in groove and buckle pairing are used, and are used for fixing the screen that the saidcircuit board 9 of polylith forms.Module framework 10 up and down wall all be lattice-shaped or mesh-shape, make the unimpeded convection current of air in the machine, be beneficial to the components and parts cooling.Stationary installation 17 between the twoadjacent circuit boards 9, with filtering each other light wave disturb, keep the sharpness and the degree of stability of display screen, and increase the firm, stable property of LED screen.
Wherein be arranged on each power circuit on thecircuit board 9; Also can be set to comprise many cathode power supply circuits and many negative power supply circuits; Each cathode power supply line is connected with external power supply respectively with each anode power cord, to guarantee the operate as normal of electronic devices and components such ascircuit board 9 interior each LED light emitting diode; Be provided with align more, the negative power supply circuit can be connected with other electronic devices and components with the LED light emitting diode respectively, a certainly aligning, when the negative power supply circuit breaks off, do not influencing the operate as normal of other positive and negative electrode power circuits; Also can be with a pair of positive and negative electrode power circuit wherein as main power line; Other positive and negative electrode power circuits are as the standby power supply line; Power lead has multiple assurance, makes when main power line breaks off, and does not influence the operate as normal of LED light emitting diode and other electronic devices and components.In order to make in the present embodiment LED lamp bar simple in structure.
The above embodiment only is used for explaining the utility model, but is not limited thereto.Under the condition that does not depart from the utility model design, affiliated person skilled can be made suitable change adjustment, and these change adjustment also should be included within the claim protection domain of the utility model.

Claims (10)

1. the LED display with separate type blinds grating module is characterized in that, comprises at least one LED module, and the LED module is made up of module framework, modular assembly, bonnet, bonnet O-ring seal and power-supply control unit; Wherein modular assembly is made up of module drain pan, module face shield and blinds; One module drain pan is fixed on the front surface of module framework through stationary installation; The lamp bar that on the module drain pan, laterally arranges, said lamp bar comprises circuit board, the LED luminescence unit laterally arranges on circuit board; One module face shield and LED luminescence unit are used and are arranged on the module drain pan; In module face shield, circuit board, module drain pan, module framework grid-like through hole is set respectively, each through hole is corresponding to be provided with, and forms penetrating LED module; At least one cavity is set between the front surface of module drain pan and module framework; Said cavity is used to be provided with blinds; One power-supply control unit and a cavity are set at the module framework rear portion, a bonnet is set on cavity, four jiaos respectively are provided with the leader at the module framework rear portion; Said handle bottom is consistent with the module framework bottom, and said handle is used to do supporting seat.
CN2012201778651U2012-04-252012-04-25LED (Light Emitting Diode) display screen provided with separating shutter grating moduleExpired - LifetimeCN202549195U (en)

Priority Applications (1)

Application NumberPriority DateFiling DateTitle
CN2012201778651UCN202549195U (en)2012-04-252012-04-25LED (Light Emitting Diode) display screen provided with separating shutter grating module

Applications Claiming Priority (1)

Application NumberPriority DateFiling DateTitle
CN2012201778651UCN202549195U (en)2012-04-252012-04-25LED (Light Emitting Diode) display screen provided with separating shutter grating module

Publications (1)

Publication NumberPublication Date
CN202549195Utrue CN202549195U (en)2012-11-21

Family

ID=47169789

Family Applications (1)

Application NumberTitlePriority DateFiling Date
CN2012201778651UExpired - LifetimeCN202549195U (en)2012-04-252012-04-25LED (Light Emitting Diode) display screen provided with separating shutter grating module

Country Status (1)

CountryLink
CN (1)CN202549195U (en)

Cited By (8)

* Cited by examiner, † Cited by third party
Publication numberPriority datePublication dateAssigneeTitle
CN103093705A (en)*2013-02-222013-05-08深圳市迈锐光电有限公司High-light-permeable raster display module group and manufacturing progress of the same
CN103177664A (en)*2013-03-152013-06-26曹延良Novel light-emitting diode (LED) display screen
CN104882076A (en)*2015-06-122015-09-02合肥市徽腾网络科技有限公司Reticle with digital display screen function and manufacturing method of reticle
US10248372B2 (en)2013-12-312019-04-02Ultravision Technologies, LlcModular display panels
US10373535B2 (en)2013-12-312019-08-06Ultravision Technologies, LlcModular display panel
CN111383550A (en)*2020-04-292020-07-07深圳市睿思韦尔电子技术有限公司 A high-protection LED display module
US10706770B2 (en)2014-07-162020-07-07Ultravision Technologies, LlcDisplay system having module display panel with circuitry for bidirectional communication
US10891881B2 (en)2012-07-302021-01-12Ultravision Technologies, LlcLighting assembly with LEDs and optical elements

Cited By (14)

* Cited by examiner, † Cited by third party
Publication numberPriority datePublication dateAssigneeTitle
US10891881B2 (en)2012-07-302021-01-12Ultravision Technologies, LlcLighting assembly with LEDs and optical elements
CN103093705A (en)*2013-02-222013-05-08深圳市迈锐光电有限公司High-light-permeable raster display module group and manufacturing progress of the same
CN103177664A (en)*2013-03-152013-06-26曹延良Novel light-emitting diode (LED) display screen
CN103177664B (en)*2013-03-152015-02-18深圳市迈锐光电有限公司Novel light-emitting diode (LED) display screen
US10871932B2 (en)2013-12-312020-12-22Ultravision Technologies, LlcModular display panels
US10248372B2 (en)2013-12-312019-04-02Ultravision Technologies, LlcModular display panels
US10373535B2 (en)2013-12-312019-08-06Ultravision Technologies, LlcModular display panel
US10380925B2 (en)2013-12-312019-08-13Ultravision Technologies, LlcModular display panel
US10410552B2 (en)2013-12-312019-09-10Ultravision Technologies, LlcModular display panel
US10540917B2 (en)2013-12-312020-01-21Ultravision Technologies, LlcModular display panel
US10741107B2 (en)2013-12-312020-08-11Ultravision Technologies, LlcModular display panel
US10706770B2 (en)2014-07-162020-07-07Ultravision Technologies, LlcDisplay system having module display panel with circuitry for bidirectional communication
CN104882076A (en)*2015-06-122015-09-02合肥市徽腾网络科技有限公司Reticle with digital display screen function and manufacturing method of reticle
CN111383550A (en)*2020-04-292020-07-07深圳市睿思韦尔电子技术有限公司 A high-protection LED display module

Similar Documents

PublicationPublication DateTitle
CN202549195U (en)LED (Light Emitting Diode) display screen provided with separating shutter grating module
CN202523345U (en)Novel light-emitting diode (LED) grating screen integral structure
CN202422621U (en)Light-transmittable flexible light-emitting diode (LED) display screen module
CN203038588U (en)Light-emitting diode (LED) display unit box body and LED display modules thereof
CN204143784U (en)A kind of LED display
CN207765092U (en)A kind of multi-functional led transparent screens
CN202307009U (en)Novel LED grid lease screen
CN203217891U (en)Outdoor LED (light-emitting diode) display screen with fine heat dissipation effect
CN201527753U (en)Flexible LED display screen
CN202150229U (en)Highly energy-saving high definition light-emitting diode (LED) display screen
KR20130006060U (en)Scalable LED lighting device
CN201364711Y (en)LED outdoor lattice screen
CN217933054U (en)LED grating display module capable of being maintained front and back and display equipment thereof
CN201411852Y (en)Anti-dazzle semiconductor lighting ceiling
CN201522825U (en)LED display screen
CN209843129U (en)Flexible LED transparent screen
CN210153677U (en)LED lamp panel of ceiling lamp
CN210179451U (en)LED panel light
CN201382310Y (en)Optimal 8-degree module
CN202167198U (en)High-definition LED display screen
CN210627747U (en)Outdoor LED ventilation screen with high brightness and high density
CN206530911U (en) A LED control module
CN223229819U (en) A sun-proof outdoor liquid crystal display device
CN201382309Y (en)LED lattice three-piece set
CN209782357U (en)Four-side luminous line lamp

Legal Events

DateCodeTitleDescription
C14Grant of patent or utility model
GR01Patent grant
CX01Expiry of patent term

Granted publication date:20121121

CX01Expiry of patent term

[8]ページ先頭

©2009-2025 Movatter.jp