


技术领域technical field
本实用新型涉及通信用同轴电缆,尤其涉及一种漏泄同轴电缆。The utility model relates to a coaxial cable for communication, in particular to a leaky coaxial cable.
背景技术Background technique
漏泄同轴电缆的市场需求是随着无线通信的发展而产生的,目前主要集中在铁路、城轨地铁、无线网优、城市安防和矿山等领域。随着移动通信的迅猛发展,同时也为了解决低频资源的枯竭问题,漏泄同轴电缆也要着轻型化、低成本等方向发展。漏泄同轴电缆轻型化、低成本的发展趋势,要求如何在不降低漏泄同轴电缆电气性能的条件下优化产品结构成为业界急待解决的问题。The market demand for leaky coaxial cables is generated with the development of wireless communications, and is currently mainly concentrated in the fields of railways, urban rail subways, wireless network optimization, urban security and mines. With the rapid development of mobile communications, and in order to solve the problem of exhaustion of low-frequency resources, leaky coaxial cables should also be developed in the direction of light weight and low cost. With the development trend of light weight and low cost of leaky coaxial cables, how to optimize the product structure without reducing the electrical performance of leaky coaxial cables has become an urgent problem to be solved in the industry.
漏泄同轴电缆由内导体、绝缘层、外导体、护套共四部分组成。以7/8”漏泄电缆为例,电缆内导体由光滑铜管200构成,如图1所示;绝缘层由皮/泡/皮结构或皮/泡结构的采用CO2物理发泡聚乙烯构成;外导体制作有周期性的横向或纵向的几何形状开槽;形成纵包或绕包挤出护套,护套由聚乙烯或低烟无卤阻燃聚烯烃构成。由于电缆内导体占用较多比重的铜,随着铜资源的紧缺,铜材料价格的不断攀升,导致电缆制造成本的大幅度上升,利润空间大幅度下降。Leaky coaxial cable consists of four parts: inner conductor, insulating layer, outer conductor and sheath. Taking the 7/8" leakage cable as an example, the inner conductor of the cable is composed of a
综上可知,现有的通信用同轴电缆,在实际使用上显然存在不便与缺陷,所以有必要加以改进。In summary, the existing coaxial cables for communication obviously have inconveniences and defects in actual use, so it is necessary to improve them.
实用新型内容Utility model content
针对上述的缺陷,本实用新型的目的在于提供一种漏泄同轴电缆,其重量轻便,且成本较低。In view of the above defects, the purpose of this utility model is to provide a leaky coaxial cable, which is light in weight and low in cost.
为了实现上述目的,本实用新型提供一种漏泄同轴电缆,从外到内依次包括护套、外导体、绝缘层以及内导体,所述外导体和内导体具有相同的轴心,所述内导体由至少两层不同的金属层构成。In order to achieve the above object, the utility model provides a leaky coaxial cable, which sequentially includes a sheath, an outer conductor, an insulating layer and an inner conductor from the outside to the inside, the outer conductor and the inner conductor have the same axis, and the inner conductor The conductor consists of at least two different metal layers.
根据本实用新型的漏泄同轴电缆,所述内导体由铜层和铝层构成,且所述铜层套设于所述铝层。According to the leaky coaxial cable of the present invention, the inner conductor is composed of a copper layer and an aluminum layer, and the copper layer is sleeved on the aluminum layer.
根据本实用新型的漏泄同轴电缆,所述铜层的厚度占所述内导体厚度的10%~30%。According to the leaky coaxial cable of the present invention, the thickness of the copper layer accounts for 10%-30% of the thickness of the inner conductor.
根据本实用新型的漏泄同轴电缆,所述内导体由银层和铝层构成,且所述银层套设于所述铝层。According to the leaky coaxial cable of the present invention, the inner conductor is composed of a silver layer and an aluminum layer, and the silver layer is sleeved on the aluminum layer.
根据本实用新型的漏泄同轴电缆,所述内导体由银层和铜层构成,且所述银层套设于所述铜层。According to the leaky coaxial cable of the present invention, the inner conductor is composed of a silver layer and a copper layer, and the silver layer is sleeved on the copper layer.
根据本实用新型的漏泄同轴电缆,所述内导体由银层和钢层构成,且所述银层套设于所述钢层。According to the leaky coaxial cable of the present invention, the inner conductor is composed of a silver layer and a steel layer, and the silver layer is sleeved on the steel layer.
根据本实用新型的漏泄同轴电缆,所述内导体由铜层和钢层构成,且所述铜层套设于所述钢层。According to the leaky coaxial cable of the present invention, the inner conductor is composed of a copper layer and a steel layer, and the copper layer is sleeved on the steel layer.
根据本实用新型的漏泄同轴电缆,所述内导体为中空圆管形或实心圆管形。According to the leaky coaxial cable of the present invention, the inner conductor is in the shape of a hollow tube or a solid tube.
本实用新型通过改变漏泄同轴电缆内导体的结构,使其更加轻便且成本降低。具体的,内导体的结构由两层金属层构成,其可以有多种金属层结合方式,比如内导体的外层为铜层,内层为铝层,借此在保证电气指标未降低的情况下使产品轻型化,实用性更高。The utility model changes the structure of the inner conductor of the leaky coaxial cable to make it lighter and lower in cost. Specifically, the structure of the inner conductor is composed of two metal layers, which can have a variety of metal layer combinations. For example, the outer layer of the inner conductor is a copper layer, and the inner layer is an aluminum layer, so as to ensure that the electrical index does not decrease. Make the product lighter and more practical.
附图说明Description of drawings
图1是现有技术的漏泄同轴电缆内导体的结构示意图;FIG. 1 is a schematic structural view of the inner conductor of a leaky coaxial cable in the prior art;
图2是本实用新型一实施例的漏泄同轴电缆的结构示意图;Fig. 2 is a structural schematic diagram of a leaky coaxial cable according to an embodiment of the present invention;
图3是本实用新型一实施例的漏泄同轴电缆内导体的截面图。Fig. 3 is a cross-sectional view of the inner conductor of the leaky coaxial cable according to an embodiment of the present invention.
具体实施方式Detailed ways
为了使本实用新型的目的、技术方案及优点更加清楚明白,以下结合附图及实施例,对本实用新型进行进一步详细说明。应当理解,此处所描述的具体实施例仅仅用以解释本实用新型,并不用于限定本实用新型。In order to make the purpose, technical solution and advantages of the utility model clearer, the utility model will be further described in detail below in conjunction with the accompanying drawings and embodiments. It should be understood that the specific embodiments described here are only used to explain the utility model, and are not intended to limit the utility model.
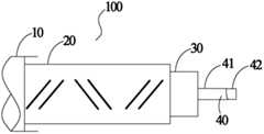
参见图2,本实用新型提供了一种漏泄同轴电缆100,其从外到内依次包括护套10、外导体20、绝缘层30以及内导体40。其中,外导体20和内导体40为同轴结构,二者具有相同的轴心,且外导体20制作有周期性的横向或纵向的几何形状开槽,借此形成纵包或绕包挤出护套10,护套10由聚乙烯或低烟无卤阻燃聚烯烃构成,绝缘层30由皮/泡/皮结构或皮/泡结构的采用CO2物理发泡聚乙烯构成,内导体40则至少由外金属层41和内金属层42两层金属层构成,外金属层41套设在内金属层42外部。Referring to FIG. 2 , the present invention provides a leaky
本实用新型的一实施例中,如图3所示,内导体40由铜层和铝层构成,且外金属层41为铜层,内金属层42为铝层。所述铜层的厚度占所述内导体40厚度的10%-30%,所述铝层的厚度占所述内导体40厚度的70%-90%。In one embodiment of the present invention, as shown in FIG. 3 , the
目前我国移动通信普遍使用高频信号传输,传输频率主要集中在100MHz-3000MHz之间,电流集中在内导体的外表面传输。根据计算,传输频率在100MHz时,电流的透入深度为0.0067mm,传输频率在3000MHz时,电流的透入深度为0.001223mm。随着频率的增加,透入深度进一步减小,因此工作频率越高需要电缆铜层越薄。本实用新型的一实施例中,以7/8漏泄电缆为例,其采用直径9.0mm,厚度0.58mm的铜铝复合结构(也叫铜包铝管结构,即外金属层41为铜层,铜层的厚度占内导体40的10%-30%,内金属层42为铝层,铝层的厚度占内导体40厚度的70%-90%)。与现有技术相比,内导体40外径不变,铜材用量节省70%-90%左右,且经过反复验证,本实用新型漏泄同轴电缆100的电气性能指标与原漏泄电缆相比并未降低,且铝在电气、机械、射频性能方面与铜非常接近,其比重仅为铜的比重的1/3,价格比铜的价格要低很多,故本实用新型即可降低成本,也使电缆轻型化。At present, my country's mobile communications generally use high-frequency signal transmission, the transmission frequency is mainly concentrated between 100MHz-3000MHz, and the current is concentrated on the outer surface of the inner conductor. According to the calculation, when the transmission frequency is 100MHz, the current penetration depth is 0.0067mm, and when the transmission frequency is 3000MHz, the current penetration depth is 0.001223mm. As the frequency increases, the penetration depth further decreases, so the higher the operating frequency, the thinner the copper layer of the cable is required. In one embodiment of the present utility model, taking the 7/8 leakage cable as an example, it adopts a copper-aluminum composite structure with a diameter of 9.0mm and a thickness of 0.58mm (also called a copper-clad aluminum tube structure, that is, the
需要说明的是,本实用新型漏泄同轴电缆100的内导体40的双金属层结构可以有多种结合方式,比如,外金属层41为银层,内金属层42为铝层;或者外金属层41为银层,内金属层42为铜层;或者外金属层41为银层,内金属层42为钢层;或者外金属层41为铜层,内金属层42为钢层。更好的,内导体40的结构可以为中空管状结构,也可以为实心圆管状结构,只须通过相应的计算即可获取内导体40的合适绘成结构。It should be noted that the double metal layer structure of the
综上所述,本实用新型通过改变漏泄同轴电缆内导体的结构,使其更加轻便且成本降低。具体的,内导体的结构由两层金属层构成,其可以有多种金属层结合方式,比如内导体的外层为铜层,内层为铝层,借此在保证电气指标未降低的情况下使产品轻型化,实用性更高。To sum up, the utility model changes the structure of the inner conductor of the leaky coaxial cable to make it lighter and lower in cost. Specifically, the structure of the inner conductor is composed of two metal layers, which can have a variety of metal layer combinations. For example, the outer layer of the inner conductor is a copper layer, and the inner layer is an aluminum layer, so as to ensure that the electrical index does not decrease. Make the product lighter and more practical.
当然,本实用新型还可有其它多种实施例,在不背离本实用新型精神及其实质的情况下,熟悉本领域的技术人员当可根据本实用新型作出各种相应的改变和变形,但这些相应的改变和变形都应属于本实用新型所附的权利要求的保护范围。Of course, the utility model can also have other various embodiments, and those skilled in the art can make various corresponding changes and deformations according to the utility model without departing from the spirit and essence of the utility model, but These corresponding changes and deformations should all belong to the protection scope of the appended claims of the present utility model.
| Application Number | Priority Date | Filing Date | Title |
|---|---|---|---|
| CN201120380268.4UCN202268464U (en) | 2011-10-09 | 2011-10-09 | Leaky coaxial cable |
| Application Number | Priority Date | Filing Date | Title |
|---|---|---|---|
| CN201120380268.4UCN202268464U (en) | 2011-10-09 | 2011-10-09 | Leaky coaxial cable |
| Publication Number | Publication Date |
|---|---|
| CN202268464Utrue CN202268464U (en) | 2012-06-06 |
| Application Number | Title | Priority Date | Filing Date |
|---|---|---|---|
| CN201120380268.4UExpired - Fee RelatedCN202268464U (en) | 2011-10-09 | 2011-10-09 | Leaky coaxial cable |
| Country | Link |
|---|---|
| CN (1) | CN202268464U (en) |
| Publication number | Priority date | Publication date | Assignee | Title |
|---|---|---|---|---|
| CN103268973A (en)* | 2013-06-13 | 2013-08-28 | 中天日立射频电缆有限公司 | Indoor leaky cable antenna and coverage system thereof |
| WO2018177209A1 (en)* | 2017-03-27 | 2018-10-04 | Nokia Shanghai Bell Co., Ltd. | Radiating cable and method of manufacturing a radiating cable |
| Publication number | Priority date | Publication date | Assignee | Title |
|---|---|---|---|---|
| CN103268973A (en)* | 2013-06-13 | 2013-08-28 | 中天日立射频电缆有限公司 | Indoor leaky cable antenna and coverage system thereof |
| CN103268973B (en)* | 2013-06-13 | 2016-09-14 | 中天日立射频电缆有限公司 | Indoor leaking cable antenna and covering system thereof |
| WO2018177209A1 (en)* | 2017-03-27 | 2018-10-04 | Nokia Shanghai Bell Co., Ltd. | Radiating cable and method of manufacturing a radiating cable |
| CN110520941A (en)* | 2017-03-27 | 2019-11-29 | 上海诺基亚贝尔股份有限公司 | The manufacturing method of radiating cable and radiating cable |
| CN110520941B (en)* | 2017-03-27 | 2021-04-13 | 上海诺基亚贝尔股份有限公司 | Radiation cable and method for manufacturing radiation cable |
| US11069981B2 (en) | 2017-03-27 | 2021-07-20 | Nokia Shanghai Bell Co., Ltd. | Radiating cable and method of manufacturing a radiating cable with an inner and outer conductor, each having openings |
| Publication | Publication Date | Title |
|---|---|---|
| CN205104276U (en) | A high-strength photoelectric composite cable | |
| CN102592743B (en) | Coaxial cable and manufacturing method thereof | |
| CN202268464U (en) | Leaky coaxial cable | |
| CN203118598U (en) | Flexible buffer protection cable | |
| CN201965990U (en) | Coaxial cable | |
| CN202217769U (en) | Super flexible aluminium pipe type low-loss radio-frequency coaxial cable | |
| CN202275908U (en) | Leakage coaxial cable with novel structure | |
| CN204632895U (en) | A radio frequency coaxial cable for antenna feeder | |
| CN201302833Y (en) | A composite core and a conducting wire | |
| CN204288921U (en) | A kind of cable for communication network of rolling stock | |
| CN202258403U (en) | Inner conductor for cable | |
| CN202275907U (en) | Novel leakage coaxial cable with double-layer wrapped outer conductor | |
| CN104200884A (en) | Reinforced flexible cable of shore power for ship | |
| CN203689945U (en) | Ethernet three-core cable | |
| CN202736583U (en) | Category-6 unshielded digital communication cable | |
| CN202003746U (en) | Full-medium foam filling power cable | |
| CN201527840U (en) | Low Loss Semi-Rigid Cable | |
| CN206789350U (en) | Low-loss Weaving type cable | |
| CN204991256U (en) | Little external diameter bank electricity composite cable | |
| CN204991965U (en) | Coaxial cable is leaked to flexible light -duty wide temperature | |
| CN102360591A (en) | Internal conductor used by cable | |
| CN202772249U (en) | Radio frequency cable | |
| CN203232948U (en) | Lightweight Anti-interference Copper Clad Aluminum RF Coaxial Cable | |
| CN204480735U (en) | A kind of low smoke and zero halogen antiultraviolet cable | |
| CN210575255U (en) | 5G low-loss coaxial cable |
| Date | Code | Title | Description |
|---|---|---|---|
| C14 | Grant of patent or utility model | ||
| GR01 | Patent grant | ||
| CF01 | Termination of patent right due to non-payment of annual fee | ||
| CF01 | Termination of patent right due to non-payment of annual fee | Granted publication date:20120606 Termination date:20161009 |