


技术领域technical field
本实用新型涉及射频前端模块技术领域,特别涉及一种兼容TD-LTE/TD-SCDMA/GSM网络的多模多频手机射频前端模块。The utility model relates to the technical field of radio frequency front-end modules, in particular to a multi-mode and multi-frequency mobile phone radio frequency front-end module compatible with TD-LTE/TD-SCDMA/GSM networks.
背景技术Background technique
射频前端模块是目前手机里无法被收发器集成的一个重要射频元件,主要包括射频功率放大器和射频开关;射频功率放大器主要负责将调制后的射频信号放大到一定的功率值,再通过天线发射出去,射频开关则主要对射频信号的发射与接收进行切换;The radio frequency front-end module is an important radio frequency component that cannot be integrated by the transceiver in the current mobile phone, mainly including radio frequency power amplifier and radio frequency switch; the radio frequency power amplifier is mainly responsible for amplifying the modulated radio frequency signal to a certain power value, and then transmitting it through the antenna , the radio frequency switch mainly switches the transmission and reception of radio frequency signals;
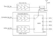
从目前的移动通信发展来看,GSM是目前应用最为成熟、网络覆盖面最广、用户最多的一个2G通信标准。随着用户对手机数据传输量及传输速度的要求越来越高,3G移动通信得到了飞速的发展。TD-SCDMA作为中国的3G标准,从一开始提出就得到了国家的高度重视,目前中国移动已在国内绝大部分城市铺建好通信网络。在2010年,我国TD-SCDMA的用户就达到3000万,预计今年用户将达到4000万。国内手机厂商也相继推出了兼容GSM的TD-SCDMA双模手机,其射频前端模块架构如图1所示,它包括两路射频放大链路及一个SPnT(单刀多掷)开关,其中GSM标准的GSM/E-GSM频段通过GSM LB PA进行放大,而TD B34和B39频段则与GSM标准的DCS/PSC频段共用一路射频功率放大器TD/GSM HB PA,以通过共享射频放大链路降低成本,同时系统采用一个SP6T射频开关对射频信号进行切换。Judging from the current development of mobile communications, GSM is currently a 2G communication standard with the most mature application, the widest network coverage and the largest number of users. As users have higher and higher requirements for mobile phone data transmission volume and transmission speed, 3G mobile communication has developed rapidly. TD-SCDMA, as China's 3G standard, has been highly valued by the country since it was first proposed. At present, China Mobile has laid out communication networks in most cities in China. In 2010, the number of TD-SCDMA users in my country reached 30 million, and it is expected that the number of users will reach 40 million this year. Domestic mobile phone manufacturers have also launched GSM-compatible TD-SCDMA dual-mode mobile phones one after another. The RF front-end module architecture is shown in Figure 1. It includes two RF amplification links and an SPnT (single-pole, multiple-throw) switch. The GSM/E-GSM frequency band is amplified through the GSM LB PA, while the TD B34 and B39 frequency bands share one RF power amplifier TD/GSM HB PA with the GSM standard DCS/PSC frequency band to reduce costs by sharing the RF amplification link, and at the same time The system uses a SP6T RF switch to switch the RF signal.
在3G技术进展如火如荼的同时,4G技术也已经得到了各个国家的重视,其中日本早在2009年就发放了4个LTE牌照,预计今年年底就将给用户提供4G业务;我国在4G领域也基于TD-SCDMA标准提出了属于自己的TD-LTE(Long Term Evolution,是3G标准TD-SCDMA的后续演进技术,是一种专门为移动高宽带应用而设计的无线通信标准)4G标准,其相对TD-SCDMA 3G标准来说上网速度更快,能够达到TD-SCDMA技术的几十倍,从而使无处不在的高速上网成为可能;国内厂商联芯科技已经有演示的终端TD-LTE芯片,展讯也同样会在今年年底宣布TD-LTE的终端基带和收发器芯片。而同样重要的射频前端模块(FEM)则一直被欧美公司垄断,射频前端器件价格一直居高不下。并且TD-LTE作为新一代的4G国际标准,其必须向下兼容现有3G TD-SCDMA及2G GSM标准,但目前仍然没有合适的兼容TD-LTE/TD-SCDMA/GSM的射频前端架构,如果在现有的TD-SCDMA/GSM模块的基础上兼容TD-LTE标准,其射频前端模块架构如图2所示,它除了包括如图1所示的TD-SCDMA/GSM射频前端外,还包括一路TD-LTE射频功率放大器及一个SP2T开关,其中TD-SCDMA/GSM射频前端与TD-LTE射频功率放大器通过SP2T。开关连接到天线;图2所示的兼容TD-LTE/TD-SCDMA/GSM标准的射频前端模块除了需额外增加一个SP2T开关导致成本增加外,还存在另外两个问题。首先由于SP2T开关所固有的插入损耗,等于增大了TD-SCDMA/GSM射频前端发射与接收通路上的衰减。对于发射通路来说,增加发射通路上的衰减相当降低了发射功率,等效于降低了射频功率放大器的发射效率,这对效率要求很高的3G系统来说是不可接受的;SP2T开关的加入,对于接收通路来说相当于降低了其接收灵敏度,从而影响手机接收到的信号质量,这与4G标准的要求是相悖的;此外,TD-LTE射频功率放大器通过SP2T开关直接接到天线,由于SP2T开关的隔离度有限,经TD-LTE PA放大后的射频信号的高阶谐波将通过SW2开关泄漏出去,为了满足通信标准对泄漏功率的要求,就需在TD-LTE射频功率放大器后增加滤波网络,这会导致TD-LTE射频功率放大器的设计成本与设计复杂度增加。While the development of 3G technology is in full swing, 4G technology has also been valued by various countries. Japan has issued 4 LTE licenses as early as 2009, and it is expected to provide users with 4G services by the end of this year; The TD-SCDMA standard proposed its own TD-LTE (Long Term Evolution, which is the follow-up evolution technology of the 3G standard TD-SCDMA, and is a wireless communication standard specially designed for mobile high-bandwidth applications) 4G standard. -SCDMA 3G standard is faster to access the Internet, which can reach dozens of times that of TD-SCDMA technology, thus making ubiquitous high-speed Internet access possible; domestic manufacturer Leadcore Technology has demonstrated terminal TD-LTE chips, and Spreadtrum has also demonstrated It will also announce TD-LTE terminal baseband and transceiver chips at the end of this year. The equally important RF front-end module (FEM) has been monopolized by European and American companies, and the price of RF front-end devices has remained high. And TD-LTE, as a new generation of 4G international standard, must be backward compatible with the existing 3G TD-SCDMA and 2G GSM standards, but there is still no suitable RF front-end architecture compatible with TD-LTE/TD-SCDMA/GSM, if On the basis of the existing TD-SCDMA/GSM module, it is compatible with the TD-LTE standard. One TD-LTE radio frequency power amplifier and one SP2T switch, wherein TD-SCDMA/GSM radio frequency front end and TD-LTE radio frequency power amplifier pass through SP2T. The switch is connected to the antenna; the RF front-end module compatible with the TD-LTE/TD-SCDMA/GSM standard shown in Figure 2 needs to add an additional SP2T switch to increase the cost, and there are two other problems. First of all, due to the inherent insertion loss of the SP2T switch, it is equivalent to increasing the attenuation on the transmission and reception paths of the TD-SCDMA/GSM radio frequency front end. For the transmission path, increasing the attenuation on the transmission path considerably reduces the transmission power, which is equivalent to reducing the transmission efficiency of the RF power amplifier, which is unacceptable for 3G systems with high efficiency requirements; the addition of SP2T switches , for the receiving channel, it is equivalent to reducing its receiving sensitivity, thereby affecting the signal quality received by the mobile phone, which is contrary to the requirements of the 4G standard; in addition, the TD-LTE RF power amplifier is directly connected to the antenna through the SP2T switch, because The isolation of the SP2T switch is limited, and the high-order harmonics of the RF signal amplified by the TD-LTE PA will leak out through the SW2 switch. In order to meet the requirements of the communication standard for leakage power, it is necessary to add filter network, which will increase the design cost and design complexity of the TD-LTE RF power amplifier.
综上所述,目前的TD-SCDMA/GSM射频前端模块架构并不适合于兼容4G TD-LTE/TD-SCDMA/GSM标准,而快速发展的4G TD-LTE通信系统又迫切需求一个合适的射频前端架构,该架构能同时覆盖TD-LTE/TD-SCDMA/GSM的4G、3G和2G的各个射频放大链路,能够降低TD-LTE/ TD-SCDMA/GSM的终端体积,降低终端硬件研发的周期和成本。To sum up, the current TD-SCDMA/GSM RF front-end module architecture is not suitable for compatibility with 4G TD-LTE/TD-SCDMA/GSM standards, and the rapidly developing 4G TD-LTE communication system urgently needs a suitable RF Front-end architecture, which can simultaneously cover the 4G, 3G and 2G RF amplification links of TD-LTE/TD-SCDMA/GSM, can reduce the terminal volume of TD-LTE/TD-SCDMA/GSM, and reduce the research and development of terminal hardware. cycle and cost.
发明内容Contents of the invention
本实用新型需解决的问题是提供一种能同时覆盖TD-LTE/TD-SCDMA/GSM的4G、3G和2G的各个射频放大链路且成本较低的多模多频手机射频前端模块。The problem to be solved by the utility model is to provide a low-cost multi-mode and multi-frequency mobile phone radio frequency front-end module that can simultaneously cover 4G, 3G and 2G radio frequency amplification links of TD-LTE/TD-SCDMA/GSM.
为解决上述问题,本实用新型所采取的技术方案为:提供一种多模多频手机射频前端模块,包括:第一射频功率放大器,其支持TD B40频段信号;第二射频功率放大器,同时支持TD B34 B39和GSM标准的 DCS/PCS频段信号;第三射频功率放大器,支持GSM标准的GSM/E-GSM频段信号;SP10T开关,分别与所述第一射频功率放大器、第二射频功率放大器、第三射频功率放大器输出端连接,用于射频信号的切换,提供七个接收端口分别供GSM四频和TD三频使用;LPF低通滤波器,与SP10T开关输出端连接,SP10T开关通过该低通滤波器连接天线,用于滤除3GHz以上的谐波信号。In order to solve the above problems, the technical solution adopted by the utility model is: provide a kind of multi-mode multi-frequency mobile phone radio frequency front-end module, comprising: a first radio frequency power amplifier, which supports TDB40 frequency band signals; a second radio frequency power amplifier, which supports TD B34 B39 and GSM standard DCS/PCS frequency band signal; the third radio frequency power amplifier supports the GSM/E-GSM frequency band signal of GSM standard; SP10T switch is respectively connected with the first radio frequency power amplifier, the second radio frequency power amplifier, The output terminal of the third RF power amplifier is connected to switch the RF signal, providing seven receiving ports for GSM quad-band and TD tri-band respectively; LPF low-pass filter is connected to the output port of the SP10T switch, and the SP10T switch passes through the low-pass The filter is connected to the antenna and is used to filter out harmonic signals above 3GHz.
一种优选的方案为,所述第一射频功率放大器、第二射频功率放大器、第三射频功率放大器集成于一体;SP10T开关及LPF低通滤波器与上述三个功率放大器集成于一体。A preferred solution is that the first radio frequency power amplifier, the second radio frequency power amplifier, and the third radio frequency power amplifier are integrated; the SP10T switch and the LPF low-pass filter are integrated with the above three power amplifiers.
另一种优选的方案为,所述第二射频功率放大器、第三射频功率放大器集成于一体,第一射频功率放大器单独设置;其中,SP10T开关及LPF低通滤波器与第二射频功率放大器、第三射频功率放大器集成于一体。 Another preferred solution is that the second radio frequency power amplifier and the third radio frequency power amplifier are integrated, and the first radio frequency power amplifier is set separately; wherein, the SP10T switch and the LPF low-pass filter are connected with the second radio frequency power amplifier, The third radio frequency power amplifier is integrated into one body. the
与现有技术相比,本实用新型的有益效果在于:Compared with the prior art, the utility model has the beneficial effects of:
(1)本实用新型采用一SP10T开关用于切换射频信号,并提供7个接收端口,分别供GSM四频和TD三频使用,配合能同时支持TD B34、 B39及GSM标准的 DCS/PCS频段的射频功率放大器,从而使TD B34、B39及与GSM标准的 DCS/PCS频段信号共享射频放大链路,简化了射频前端模块设计;并另外配合分别支持TD B40频段信号及支持GSM标准的GSM/E-GSM频段信号的两个放大器,构建一个能同时兼容TD-LTE/TD-SCDMA/GSM标准的射频前端模块;射频前端模块能同时覆盖4G、3G、2G标准,只采用一个射频开关,有效降低了开关插损对系统性能的影响;(1) This utility model adopts a SP10T switch for switching radio frequency signals, and provides 7 receiving ports for GSM quad-band and TD tri-band respectively, and cooperates with DCS/PCS frequency bands that can support TD B34, B39 and GSM standards at the same time RF power amplifier, so that TD B34, B39 and GSM standard DCS/PCS frequency band signals share the RF amplification link, which simplifies the design of RF front-end modules; and additionally supports TD B40 frequency band signals and GSM/E which supports GSM standard -Two amplifiers for GSM frequency band signals to build a radio frequency front-end module compatible with TD-LTE/TD-SCDMA/GSM standards; The impact of switch insertion loss on system performance;
(2)本实用新型所述模块中采用 LPF低通滤波器,其可滤除3GHz以上的谐波信号,从而减轻对4G、3G和2G各个放大器输出匹配网络的滤波设计要求,简化各放大器的设计复杂度。(2) The LPF low-pass filter is used in the module described in the utility model, which can filter out harmonic signals above 3GHz, thereby reducing the filter design requirements for the output matching networks of 4G, 3G and 2G amplifiers, and simplifying the design of each amplifier. Design complexity.
附图说明Description of drawings
图1为现有技术中TD-SCDMA/GSM双模手机射频前端模块组成示意图;Fig. 1 is the composition schematic diagram of TD-SCDMA/GSM dual-mode mobile phone radio frequency front-end module in the prior art;
图2为基于现有的TD-SCDMA/GSM射频前端模块构建的TD-LTE/TD-SCDMA/GSM射频前端模块图;Fig. 2 is the TD-LTE/TD-SCDMA/GSM radio frequency front-end module diagram based on existing TD-SCDMA/GSM radio frequency front-end module construction;
图3为本实用新型所述TD-LTE/TD-SCDMA/GSM射频前端模块第一实施例图;Fig. 3 is the first embodiment diagram of the TD-LTE/TD-SCDMA/GSM radio frequency front-end module described in the utility model;
图4为本实用新型所述TD-LTE/TD-SCDMA/GSM射频前端第二实施例模块图。Fig. 4 is a module diagram of the second embodiment of the TD-LTE/TD-SCDMA/GSM radio frequency front end of the present invention.
具体实施方式Detailed ways
为了便于本领域技术人员理解,下面结合附图及实施例对本实用新型作进一步的详细说明。In order to facilitate the understanding of those skilled in the art, the utility model will be further described in detail below in conjunction with the accompanying drawings and embodiments.
如图3,本实施例所揭示的多模多频手机射频前端模块包括:TD-LTE PA(第一射频功率放大器)、TD-LTE/TD/GSM HB PA(第二射频功率放大器)、GSM LB PA(第三射频功率放大器)、SP10T开关及一个低通滤波器LPF,其中TD-LTE PA、TD-LTE/TD/GSM HB PA、GSM LB PA输出端与SP10T开关相接,SP10T开关输出端通过低通滤波器LPF接到天线。As shown in Figure 3, the radio frequency front-end module of the multi-mode and multi-frequency mobile phone disclosed in this embodiment includes: TD-LTE PA (first radio frequency power amplifier), TD-LTE/TD/GSM HB PA (second radio frequency power amplifier), GSM LB PA (the third radio frequency power amplifier), SP10T switch and a low-pass filter LPF, in which the output terminals of TD-LTE PA, TD-LTE/TD/GSM HB PA, and GSM LB PA are connected to the SP10T switch, and the SP10T switch output The end is connected to the antenna through a low-pass filter LPF.
其中,TD-LTE PA用于支持TD B40频段信号;TD-LTE/TD/GSM HB PA用于支持TD B34 B39和GSM标准的 DCS/PCS频段信号,从而通过TD B34和B39的PA与GSM标准的 DCS/PCS PA共享射频放大链路使射频前端模块设计简化。GSM LB PA用于支持GSM标准的GSM/E-GSM频段信号。SP10T开关用于切换射频信号,并提供7个接收端口,分别供GSM四频和TD三频使用;LPF低通滤波器用于滤除3GHz以上的谐波信号,从而减轻对4G、3G和2G各个PA输出匹配网络的滤波要求,从而简化PA的设计复杂度。Among them, TD-LTE PA is used to support TDB40 frequency band signals; TD-LTE/TD/GSM HB PA is used to support DCS/PCS frequency band signals of TD B34 B39 and GSM standards, thus passing TD B34 and B39 PA and GSM standards The DCS/PCS PA shared RF amplification link simplifies the design of RF front-end modules. GSM LB PA is used to support GSM/E-GSM frequency band signals of GSM standard. The SP10T switch is used to switch radio frequency signals, and provides 7 receiving ports for GSM quad-band and TD tri-band respectively; LPF low-pass filter is used to filter out harmonic signals above 3GHz, thereby reducing the need for 4G, 3G and 2G PAs The output matches the filtering requirements of the network, thereby simplifying the design complexity of the PA.
上述模块的工作原理如下:当使用GSM标准的E-GSM频段发射频信号时,GSM LB PA工作,射频开关SP10T切换至GSM LB PA输出端,从而经GSM LB PA放大后的E-GSM频段射频信号通过开关传输至低通滤波器LPF,再由LPF滤除掉高阶谐波,然后通过天线发射出去;当GSM标准的E-GSM RX1口接收信号时,三路PA均不工作,射频开关SP10T切换至E-GSM RX1口,天线端接收到的射频信号通过LPF后传输至开关,再由开关传输至E-GSM RX1端口,最后传输给接收机进行处理;其他频段的发射与接收原理与E-GSM频段的原理一致。在此不再赘述。图3所示射频前端模块能同时覆盖4G、3G、2G标准,并且只需采用一个射频开关,从而降低了开关插损对系统性能的影响,并通过在开关输出端增加一个低通滤波器用于滤除3GHz以上的谐波信号,从而能够减轻对前端PA谐波抑制的要求,有助于简化射频前端模块的设计。The working principle of the above module is as follows: When the GSM standard E-GSM frequency band is used to transmit radio frequency signals, the GSM LB PA works, and the RF switch SP10T is switched to the GSM LB PA output, so that the E-GSM frequency band radio frequency amplified by the GSM LB PA The signal is transmitted to the low-pass filter LPF through the switch, and then the high-order harmonic is filtered out by the LPF, and then transmitted through the antenna; when the GSM standard E-GSM RX1 port receives the signal, the three PAs do not work, and the RF switch SP10T is switched to the E-GSM RX1 port, and the RF signal received by the antenna end is transmitted to the switch through the LPF, and then transmitted to the E-GSM RX1 port by the switch, and finally transmitted to the receiver for processing; the transmission and reception principles of other frequency bands are the same as The principle of the E-GSM frequency band is the same. I won't repeat them here. The RF front-end module shown in Figure 3 can cover 4G, 3G, and 2G standards at the same time, and only needs to use one RF switch, thereby reducing the impact of switch insertion loss on system performance, and adding a low-pass filter at the output of the switch. Filter out harmonic signals above 3GHz, thereby reducing the requirement for harmonic suppression of the front-end PA, and helping to simplify the design of the RF front-end module.
本实用新型实施时,还可以将TD-LTE PA与TD-LTE/TD/GSM HB PA、GSM LB PA集成到一个模块内,从而进一步的减少射频前端系统的体积并降低成本,实施例原理图如图4所示,图4与图3所示实施例工作方式相同,在此不再描述。When the utility model is implemented, TD-LTE PA, TD-LTE/TD/GSM HB PA, and GSM LB PA can also be integrated into one module, thereby further reducing the volume and cost of the radio frequency front-end system. The schematic diagram of the embodiment As shown in FIG. 4 , the working mode of the embodiment shown in FIG. 4 is the same as that shown in FIG. 3 , and will not be described here.
以上仅为本实用新型较优选的实施例,需说明的是,在未脱离本实用新型构思前提下对其所做的任何微小变化及等同替换,均应属于本实用新型的保护范围。The above are only preferred embodiments of the utility model, and it should be noted that any minor changes and equivalent replacements made to it without departing from the concept of the utility model shall fall within the scope of protection of the utility model.
| Application Number | Priority Date | Filing Date | Title |
|---|---|---|---|
| CN2011202504917UCN202103661U (en) | 2011-07-15 | 2011-07-15 | Multi-mode multi-frequency handset radio frequency front module |
| Application Number | Priority Date | Filing Date | Title |
|---|---|---|---|
| CN2011202504917UCN202103661U (en) | 2011-07-15 | 2011-07-15 | Multi-mode multi-frequency handset radio frequency front module |
| Publication Number | Publication Date |
|---|---|
| CN202103661Utrue CN202103661U (en) | 2012-01-04 |
| Application Number | Title | Priority Date | Filing Date |
|---|---|---|---|
| CN2011202504917UExpired - Fee RelatedCN202103661U (en) | 2011-07-15 | 2011-07-15 | Multi-mode multi-frequency handset radio frequency front module |
| Country | Link |
|---|---|
| CN (1) | CN202103661U (en) |
| Publication number | Priority date | Publication date | Assignee | Title |
|---|---|---|---|---|
| WO2013185666A1 (en)* | 2012-07-11 | 2013-12-19 | 中兴通讯股份有限公司 | Radio-frequency front-end circuit of multiband terminal and multiband terminal |
| WO2013189411A3 (en)* | 2013-06-09 | 2014-05-08 | 中兴通讯股份有限公司 | Communication terminal and method for reducing interferences for communication terminal |
| CN103840845A (en)* | 2012-11-27 | 2014-06-04 | 美国频顺通讯科技公司 | Novel tunable wideband rf transmitter interface |
| CN103974528A (en)* | 2013-01-29 | 2014-08-06 | 联想(北京)有限公司 | Packaging technology, PCB, control method and electronic device |
| TWI492550B (en)* | 2013-02-20 | 2015-07-11 | Micro Mobio Corp | World band radio frequency front end module, system and method thereof |
| CN105099484A (en)* | 2014-05-16 | 2015-11-25 | 美商微频股份有限公司 | Global frequency range RFFE module and system thereof |
| CN105450249A (en)* | 2014-08-30 | 2016-03-30 | 展讯通信(上海)有限公司 | Compatible method for multiple communication modes in mobile terminal and mobile terminal |
| WO2019029625A1 (en)* | 2017-08-09 | 2019-02-14 | 捷开通讯(深圳)有限公司 | Lte frequency band switching device and method, and mobile terminal |
| US10355738B1 (en) | 2018-03-16 | 2019-07-16 | Guangdong Oppo Mobile Telecommunications Corp., Ltd. | Multiway switch, radio frequency system, and wireless communication device |
| US10389401B1 (en) | 2018-03-16 | 2019-08-20 | Guangdong Oppo Mobile Telecommunications Corp., Ltd. | Multi-way switch, radio frequency system, and wireless communication device |
| US10419040B1 (en) | 2018-03-16 | 2019-09-17 | Guangdong Oppo Mobile Telecommunications Corp., Ltd. | Multiway switch, radio frequency system, and communication device |
| US10454508B2 (en) | 2018-03-16 | 2019-10-22 | Guangdong Oppo Mobile Telecommunications Corp., Ltd. | Multiway switch, radio frequency system, and wireless communication device |
| US10505578B2 (en) | 2018-03-16 | 2019-12-10 | Guangdong Oppo Mobile Telecommunications Corp., Ltd. | Multiway switch, radio frequency system, and electronic device |
| US10554244B2 (en) | 2018-03-16 | 2020-02-04 | Guangdong Oppo Mobile Telecommunications Corp., Ltd. | Multiway switch, radio frequency system, and wireless communication device |
| US10560130B2 (en) | 2018-03-16 | 2020-02-11 | Guangdong Oppo Mobile Telecommunications Corp., Ltd. | Multiway switch, radio frequency system, and wireless communication device |
| US10567028B2 (en) | 2018-03-16 | 2020-02-18 | Guangdong Oppo Mobile Telecommunications Corp., Ltd. | Multiway switch, radio frequency system, and wireless communication device |
| US10567029B2 (en) | 2018-03-16 | 2020-02-18 | Guangdong Oppo Mobile Telecommunications Corp., Ltd. | Multiway switch, radio frequency system, and electronic device |
| US10567027B2 (en) | 2018-03-16 | 2020-02-18 | Guangdong Oppo Mobile Telecommunications Corp., Ltd. | Multiway switch, radio frequency system, and wireless communication device |
| US10615838B2 (en) | 2018-03-16 | 2020-04-07 | Guangdong Oppo Mobile Telecommunications Corp., Ltd. | Multiway switch, radio frequency system, and electronic device |
| US10623027B2 (en) | 2018-03-16 | 2020-04-14 | Guangdong Oppo Mobile Telecommunications Corp., Ltd. | Multiway switch, radio frequency system, and communication device |
| CN111342861A (en)* | 2019-12-17 | 2020-06-26 | 锐石创芯(重庆)科技有限公司 | RF front-end device and mobile terminal supporting LTE/NR dual connection |
| US10727877B2 (en) | 2018-03-16 | 2020-07-28 | Guangdong Oppo Mobile Telecommunications Corp., Ltd. | Multiway switch, radio frequency system, and wireless communication device |
| US10727584B2 (en) | 2018-03-16 | 2020-07-28 | Guangdong Oppo Mobile Telecommunications Corp., Ltd. | Multiway switch for transmitting sounding reference signal successively through a set of antennas |
| US10749562B2 (en) | 2018-03-16 | 2020-08-18 | Guangdong Oppo Mobile Telecommunications Corp., Ltd. | Multiway switch, radio frequency system, and wireless communication device |
| CN114640367A (en)* | 2020-12-01 | 2022-06-17 | Oppo广东移动通信有限公司 | RF devices, RF front-end circuits, RF systems and communication equipment |
| US11431356B2 (en) | 2018-07-23 | 2022-08-30 | Guangdong Oppo Mobile Telecommunications Corp., Ltd. | Radio frequency system, method for controlling antenna switching, and related products |
| CN118677473A (en)* | 2024-08-26 | 2024-09-20 | 四川长虹新网科技有限责任公司 | Radio frequency circuit for improving performance of multi-band WIFI and control method thereof |
| Publication number | Priority date | Publication date | Assignee | Title |
|---|---|---|---|---|
| WO2013185666A1 (en)* | 2012-07-11 | 2013-12-19 | 中兴通讯股份有限公司 | Radio-frequency front-end circuit of multiband terminal and multiband terminal |
| US9473196B2 (en) | 2012-07-11 | 2016-10-18 | Zte Corporation | Radio-frequency front-end circuit of multiband terminal and multiband terminal |
| CN103840845A (en)* | 2012-11-27 | 2014-06-04 | 美国频顺通讯科技公司 | Novel tunable wideband rf transmitter interface |
| CN103974528A (en)* | 2013-01-29 | 2014-08-06 | 联想(北京)有限公司 | Packaging technology, PCB, control method and electronic device |
| CN103974528B (en)* | 2013-01-29 | 2018-08-10 | 联想(北京)有限公司 | Packaging technology, pcb board, control method and electronic equipment |
| TWI492550B (en)* | 2013-02-20 | 2015-07-11 | Micro Mobio Corp | World band radio frequency front end module, system and method thereof |
| WO2013189411A3 (en)* | 2013-06-09 | 2014-05-08 | 中兴通讯股份有限公司 | Communication terminal and method for reducing interferences for communication terminal |
| CN105099484A (en)* | 2014-05-16 | 2015-11-25 | 美商微频股份有限公司 | Global frequency range RFFE module and system thereof |
| CN105450249A (en)* | 2014-08-30 | 2016-03-30 | 展讯通信(上海)有限公司 | Compatible method for multiple communication modes in mobile terminal and mobile terminal |
| WO2019029625A1 (en)* | 2017-08-09 | 2019-02-14 | 捷开通讯(深圳)有限公司 | Lte frequency band switching device and method, and mobile terminal |
| US11165449B2 (en) | 2017-08-09 | 2021-11-02 | JRD Communication (Shenzhen) Ltd. | LTE frequency band switching device and method, and mobile terminal |
| US10505578B2 (en) | 2018-03-16 | 2019-12-10 | Guangdong Oppo Mobile Telecommunications Corp., Ltd. | Multiway switch, radio frequency system, and electronic device |
| US10615838B2 (en) | 2018-03-16 | 2020-04-07 | Guangdong Oppo Mobile Telecommunications Corp., Ltd. | Multiway switch, radio frequency system, and electronic device |
| US10454508B2 (en) | 2018-03-16 | 2019-10-22 | Guangdong Oppo Mobile Telecommunications Corp., Ltd. | Multiway switch, radio frequency system, and wireless communication device |
| US10389401B1 (en) | 2018-03-16 | 2019-08-20 | Guangdong Oppo Mobile Telecommunications Corp., Ltd. | Multi-way switch, radio frequency system, and wireless communication device |
| US10554244B2 (en) | 2018-03-16 | 2020-02-04 | Guangdong Oppo Mobile Telecommunications Corp., Ltd. | Multiway switch, radio frequency system, and wireless communication device |
| US10560130B2 (en) | 2018-03-16 | 2020-02-11 | Guangdong Oppo Mobile Telecommunications Corp., Ltd. | Multiway switch, radio frequency system, and wireless communication device |
| US10567028B2 (en) | 2018-03-16 | 2020-02-18 | Guangdong Oppo Mobile Telecommunications Corp., Ltd. | Multiway switch, radio frequency system, and wireless communication device |
| US10567029B2 (en) | 2018-03-16 | 2020-02-18 | Guangdong Oppo Mobile Telecommunications Corp., Ltd. | Multiway switch, radio frequency system, and electronic device |
| US10567027B2 (en) | 2018-03-16 | 2020-02-18 | Guangdong Oppo Mobile Telecommunications Corp., Ltd. | Multiway switch, radio frequency system, and wireless communication device |
| US10419040B1 (en) | 2018-03-16 | 2019-09-17 | Guangdong Oppo Mobile Telecommunications Corp., Ltd. | Multiway switch, radio frequency system, and communication device |
| US10623027B2 (en) | 2018-03-16 | 2020-04-14 | Guangdong Oppo Mobile Telecommunications Corp., Ltd. | Multiway switch, radio frequency system, and communication device |
| US10355738B1 (en) | 2018-03-16 | 2019-07-16 | Guangdong Oppo Mobile Telecommunications Corp., Ltd. | Multiway switch, radio frequency system, and wireless communication device |
| US10727877B2 (en) | 2018-03-16 | 2020-07-28 | Guangdong Oppo Mobile Telecommunications Corp., Ltd. | Multiway switch, radio frequency system, and wireless communication device |
| US10727584B2 (en) | 2018-03-16 | 2020-07-28 | Guangdong Oppo Mobile Telecommunications Corp., Ltd. | Multiway switch for transmitting sounding reference signal successively through a set of antennas |
| US10749562B2 (en) | 2018-03-16 | 2020-08-18 | Guangdong Oppo Mobile Telecommunications Corp., Ltd. | Multiway switch, radio frequency system, and wireless communication device |
| US11431356B2 (en) | 2018-07-23 | 2022-08-30 | Guangdong Oppo Mobile Telecommunications Corp., Ltd. | Radio frequency system, method for controlling antenna switching, and related products |
| CN111342861A (en)* | 2019-12-17 | 2020-06-26 | 锐石创芯(重庆)科技有限公司 | RF front-end device and mobile terminal supporting LTE/NR dual connection |
| CN114640367A (en)* | 2020-12-01 | 2022-06-17 | Oppo广东移动通信有限公司 | RF devices, RF front-end circuits, RF systems and communication equipment |
| CN114640367B (en)* | 2020-12-01 | 2024-04-02 | Oppo广东移动通信有限公司 | RF devices, RF front-end circuits, RF systems and communication equipment |
| CN118677473A (en)* | 2024-08-26 | 2024-09-20 | 四川长虹新网科技有限责任公司 | Radio frequency circuit for improving performance of multi-band WIFI and control method thereof |
| Publication | Publication Date | Title |
|---|---|---|
| CN202103661U (en) | Multi-mode multi-frequency handset radio frequency front module | |
| KR101836199B1 (en) | Multi-mode wireless terminal | |
| CN101873148B (en) | Radio frequency module and wireless communication device using same | |
| US10015701B2 (en) | Multimode dual-path terminal | |
| CN101814927B (en) | Multimode all-frequency-band radio-frequency emitting device and method | |
| CN104468069B (en) | A kind of wireless communication system and communication means of TDD/FDD bimodulus restructural | |
| CN111327344A (en) | Radio frequency system and electronic equipment | |
| WO2016109949A1 (en) | Radio frequency front-end system, terminal device and base station | |
| CN102404022A (en) | Power amplification module, radio frequency front end module and multi-mode terminal | |
| CN202759442U (en) | Radio frequency front-end circuit of multifrequency terminal and multifrequency terminal | |
| WO2018208967A2 (en) | Variable channelized bandwidth booster | |
| WO2013063926A1 (en) | Power amplification module, multimode radio frequency transceiver, and multimode terminal | |
| CN104242975A (en) | Communication terminal and method for reducing interference of communication terminal | |
| CN202889657U (en) | Dual-mode, dual-standby, and dual-pass mobile communication device | |
| CN102148622A (en) | Method for eliminating mutual interference among terminal modes and terminal | |
| WO2013063923A1 (en) | Radio frequency front-end module, multimode terminal, and signal sending method of the multimode terminal | |
| CN111245469A (en) | RF Circuits and Electronic Equipment | |
| EP4550677A1 (en) | Multimode multiband radio frequency front-end circuit, radio frequency front-end apparatus, and mobile phone | |
| CN103379670A (en) | Multi-mode terminal | |
| TWI407761B (en) | Communication device that can be standby in multiple mobile communication systems at the same time | |
| WO2014107567A1 (en) | Duplex filter arrangments for use with tunable narrow band antennas having forward and backward compatibilty | |
| WO2012152034A1 (en) | Dual-mode radio frequency module, dual-mode radio frequency transmitting and receiving method and user terminal | |
| CN101207918B (en) | A communication device that can be standby under multiple mobile communication systems at the same time | |
| CN105305985A (en) | Radio frequency amplification device | |
| CN100502542C (en) | Dual-mode dual-standby mobile terminal for reducing GSM interference to TD-SCDMA and its implementation method |
| Date | Code | Title | Description |
|---|---|---|---|
| C14 | Grant of patent or utility model | ||
| GR01 | Patent grant | ||
| CF01 | Termination of patent right due to non-payment of annual fee | Granted publication date:20120104 Termination date:20140715 | |
| EXPY | Termination of patent right or utility model |