Movatterモバイル変換


[0]ホーム

URL:


CN202092842U - Sleeve monitoring device - Google Patents

Sleeve monitoring device
Download PDF

Info

Publication number
CN202092842U
CN202092842UCN 201120142866CN201120142866UCN202092842UCN 202092842 UCN202092842 UCN 202092842UCN 201120142866CN201120142866CN 201120142866CN 201120142866 UCN201120142866 UCN 201120142866UCN 202092842 UCN202092842 UCN 202092842U
Authority
CN
China
Prior art keywords
pressure
monitoring device
sleeve pipe
bushing
casing
Prior art date
Legal status (The legal status is an assumption and is not a legal conclusion. Google has not performed a legal analysis and makes no representation as to the accuracy of the status listed.)
Expired - Lifetime
Application number
CN 201120142866
Other languages
Chinese (zh)
Inventor
赵振秋
孙祝
Current Assignee (The listed assignees may be inaccurate. Google has not performed a legal analysis and makes no representation or warranty as to the accuracy of the list.)
China Shenhua Coal to Liquid Chemical Co Ltd
China Energy Investment Corp Ltd
Ordos Coal to Liquid Branch of China Shenhua Coal to Liquid Chemical Co Ltd
Original Assignee
China Shenhua Coal to Liquid Chemical Co Ltd
Shenhua Group Corp Ltd
Ordos Coal to Liquid Branch of China Shenhua Coal to Liquid Chemical Co Ltd
Priority date (The priority date is an assumption and is not a legal conclusion. Google has not performed a legal analysis and makes no representation as to the accuracy of the date listed.)
Filing date
Publication date
Application filed by China Shenhua Coal to Liquid Chemical Co Ltd, Shenhua Group Corp Ltd, Ordos Coal to Liquid Branch of China Shenhua Coal to Liquid Chemical Co LtdfiledCriticalChina Shenhua Coal to Liquid Chemical Co Ltd
Priority to CN 201120142866priorityCriticalpatent/CN202092842U/en
Application grantedgrantedCritical
Publication of CN202092842UpublicationCriticalpatent/CN202092842U/en
Anticipated expirationlegal-statusCritical
Expired - Lifetimelegal-statusCriticalCurrent

Links

Images

Landscapes

Abstract

Translated fromChinese

本实用新型提供了一种套管监测装置,包括:套管(6)和压力变送器(4),该压力变送器(4)通过设置于该套管(6)上的开口(61)与该套管(6)密封连接。该套管监测装置还可以包括与该压力变送器(4)连接的报警系统(8)。本实用新型的套管监测装置结构简单,维护方便,安全性高,能够随时监测到套管内的压力变化,从而能够确定套管的安全状况。

Figure 201120142866

The utility model provides a bushing monitoring device, comprising: a bushing (6) and a pressure transmitter (4), the pressure transmitter (4) passes through an opening (61) arranged on the bushing (6) ) is sealingly connected with the casing (6). The bushing monitoring device may also include an alarm system (8) connected to the pressure transmitter (4). The bushing monitoring device of the utility model has the advantages of simple structure, convenient maintenance and high safety, and can monitor the pressure change in the bushing at any time, so as to determine the safety status of the bushing.

Figure 201120142866

Description

The casing monitoring device
Technical field
The utility model relates to a kind of casing monitoring device, is mainly used in fields such as oil, petrochemical industry and chemical industry, especially relates to the casing monitoring device on a kind of high-temperature and pressure pipeline that is used for coal chemical engineering equipment.
Background technology
In Coal Chemical Industry technology, when medium is the High Temperature High Pressure coal slurry of high solids content, use the temperature of a thermocouple measurement coal slurry medium with well usually.The sleeve pipe that is provided with avoids the coal slurry medium directly to contact with thermopair with the thermopair cover inside, prevented that effectively the coal slurry medium is directly to the infringement of thermopair.But the coal slurry medium forms certain erosion to sleeve pipe in flow process, and wear sleeve reduces the thickness of sleeve pipe gradually, at last up to worn out sleeve pipe.After casing thickness was thinned to a certain degree, in the time of can not bearing the pressure of pipe interior again, sleeve pipe will break and leak.In a single day High Temperature High Pressure temperature sleeve pipe leaks, will lead to fire disaster accident or personal injury accident, will cause plant downtime simultaneously.
The utility model content
The purpose of this utility model is to provide a kind of casing monitoring device, when casing wear breaks, can monitor the working condition of sleeve pipe in time, avoids the generation of device damage and security incident.
The utility model provides a kind of casing monitoring device, comprising: sleeve pipe, it is characterized in that this casing monitoring device also comprises pressure unit, and this pressure unit is connected with this bobbin seal by the opening that is arranged on this sleeve pipe.
According to casing monitoring device of the present utility model, wherein this pressure unit is connected with this bobbin seal by the pressure guiding pipe in the opening that inserts this sleeve pipe.
According to casing monitoring device of the present utility model, wherein between this pressure guiding pipe and this pressure unit, be connected with valve and ozzle, this pressure unit is connected with this valve via this ozzle.
According to casing monitoring device of the present utility model, wherein this valve is a valve, and this ozzle is 1/2 inch taper-thread (1/2NPT) tensimeter ozzle.
According to casing monitoring device of the present utility model, wherein this pressure unit is a pressure transducer.
According to casing monitoring device of the present utility model, wherein this casing monitoring device also comprises the warning system that is connected with this pressure unit.
According to casing monitoring device of the present utility model, wherein this warning system is a Distributed Control System (DCS), and this Distributed Control System (DCS) is a Honeywell C300 control system.
According to casing monitoring device of the present utility model, wherein in this sleeve pipe, be provided with temperature measuring equipment.
According to casing monitoring device of the present utility model, wherein this temperature measuring equipment and this sleeve pipe adopt cutting ferrule to be connected and sealed.
According to casing monitoring device of the present utility model, wherein this sleeve pipe and pressure pipeline adopt flange to be connected and sealed, and this sleeve pipe inserts in this flange and this pressure pipeline.
According to casing monitoring device of the present utility model, wherein this temperature measuring equipment contacts with the bottom of this sleeve pipe.
According to casing monitoring device of the present utility model, wherein this flange comprises upper flange and lower flange, and this lower flange and this pressure pipeline are tightly connected.
Casing monitoring apparatus structure of the present utility model is simple, easy to maintenance, safe, and the pressure that can monitor at any time in the sleeve pipe changes, thereby can determine the safety case of sleeve pipe.
By following explanation, of the present utility model other will be presented more fully with other purpose, feature and advantage.
Description of drawings
Fig. 1 is the casing monitoring schematic representation of apparatus according toembodiment 1 of the present utility model.
Fig. 2 is the casing monitoring schematic representation of apparatus according to embodiment 2 of the present utility model.
Fig. 3 is the partial enlarged drawing that the pressure unit of casing monitoring device shown in Figure 2 is connected with sleeve pipe.
Embodiment
Unless otherwise, all technology used herein and scientific terminology have the identical meanings with the utility model person of an ordinary skill in the technical field common sense.
Hereinafter, for the sake of clarity, adopt specific embodiment that the utility model is described, those skilled in the art of the present technique should be appreciated that this specific embodiment is not limited to scope of the present utility model.
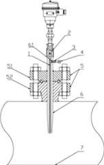
Casing monitoring device of the present utility model comprises:sleeve pipe 6 andpressure unit 4, thispressure unit 4 is tightly connected with thissleeve pipe 6 by the opening 61 that is arranged on this sleeve pipe 6.Sleeve pipe 6 can be the sealed tube of a pressure-bearing, can bear the pressure in the pressure pipeline 7.Opening 61 can be arranged at the top ofsleeve pipe 6, is used to connect pressure unit 4.Casing monitoring apparatus structure of the present utility model is simple, easy to maintenance, safe, and the pressure that can monitor at any time in the sleeve pipe changes, thereby can determine the safety case of sleeve pipe.
According to casing monitoring device of the present utility model, whereinpressure unit 4 is tightly connected withsleeve pipe 6 by thepressure guiding pipe 3 in theopening 61 that inserts sleeve pipe 6.Be connected with valve 11 and ozzle 12 between thispressure guiding pipe 3 and thispressure unit 4,pressure unit 4 is connected with valve 11 via ozzle 12.Replacedly, the pressure guiding pipe in the opening 61 of thispressure unit 4 by inserting this sleeve pipe 63,valve 11 and 1/2NPT tensimeter ozzle 12 are tightly connected with this sleeve pipe 6.Pressure unit 4 can directly be installed to tensimeter ozzle 12.Pressure guiding pipe 3 can adopt withsleeve pipe 6 identical materials and make.Pressure unit 4 is used to measure the pressure in the sleeve pipe, thereby determines the safety case of sleeve pipe.
According to casing monitoring device of the present utility model, wherein this casing monitoring device can also comprise warning system 8 (not shown) that are connected with this pressure unit 4.When the pressure in thesleeve pipe 6 thatpressure unit 4 is measured during greater than setting value, thereby warning system 8 starts warning in time.This warning system 8 can be Distributed Control System (DCS) DCS, and this Distributed Control System (DCS) DCS can be Honeywell C300 control system.
According to casing monitoring device of the present utility model, can in thissleeve pipe 6, be provided with temperature measuring equipment 1.When medium flowed inpressure pipeline 7, the conduction of the wall bysleeve pipe 6 can utilize the temperature in thetemperature measuring equipment 1 gaging pressure pipeline 7.Temperature measuring equipment 1 can be thermopair.Thistemperature measuring equipment 1 can adopt cutting ferrule 2 to be connected and sealed with thissleeve pipe 6, andtemperature measuring equipment 1 is fixed in this sleeve pipe 6.This temperature measuringequipment 1 should contact with the bottom of thissleeve pipe 6 as much as possible, thus the temperature as far as possible exactly in thegaging pressure pipeline 7.
According to casing monitoring device of the present utility model, thissleeve pipe 6 can adoptflange 5 to be connected and sealed withpressure pipeline 7, and thissleeve pipe 6 inserts in thisflange 5 and this pressure pipeline 7.Wherein thisflange 5 can compriseupper flange 51 andlower flange 52, and thislower flange 52 is tightly connected with this pressure pipeline 7.Wherein,flange 5 can adopt welding carry out sealing and fixing with thesleeve pipe 6 that inserts in theflange 5,lower flange 52 can seal welding onpressure pipeline 7, and can adopt octangonal ring thatupper flange 51 andlower flange 52 usefulness bolt seal are fixed.The degree of depth thatsleeve pipe 6inserts pressure pipelines 7 can be 1/3 to 1/2 of the diameter ofpressure pipeline 7.
Whensleeve pipe 6 broke, medium such as coal slurry directly entered in thesleeve pipe 6, transferred the pressure topressure unit 4, according to the pressure measurements ofpressure unit 4 can monitoringsleeve 6 working condition.Aftersleeve pipe 6 is worn out by medium such as coal slurry, shows that by the pressure of observingpressure unit 4 pressure that can monitor at any time in thesleeve pipe 6 change, thereby determine the safety case of sleeve pipe 6.If the pressure in the sleeve pipe of measuring by pressure unit 46 is greater than setting value, thereby then warning system 8 starts in time and reports to the police.
Embodiment 1
Fig. 1 is the casing monitoring schematic representation of apparatus of the coal slurry pipeline that is used for the DCL/Directcoal liquefaction device 7 of embodiment 1.This casing monitoring device comprisesthermopair 1, cutting ferrule 2,pressure guiding pipe 3,pressure unit 4,flange 5,sleeve pipe 6 etc.As shown in Figure 1, anopening 61 is set, in the opening 61 ofsleeve pipe 6, insertspressure guiding pipe 3 on the top of sleeve pipe 6.Pressure unit 4 direct insertions in thepressure guiding pipe 3 and withsleeve pipe 6 are tightly connected, are used to measure the pressure in the sleeve pipe 6.Thermopair 1 inserts the inside ofsleeve pipe 6 and contacts with the bottom ofsleeve pipe 6, is used to measure the temperature in the coal slurry pipeline 7.Thermopair 1 is connected and sealed withsleeve pipe 6 usefulness cutting ferrules 2.Sleeve pipe 6 insert inflanges 5 and thecoal slurry pipeline 7 and seal welding oncoal slurry pipeline 7, the outer wall ofsleeve pipe 6 is contacted with medium, wherein,upper flange 51 andlower flange 52 usefulness octangonal rings seal.The pressure that utilizes this casing monitoring device can monitor at any time in thesleeve pipe 6 changes, thereby can determine the safety case of sleeve pipe.
Embodiment 2
Fig. 2 is the casing monitoring schematic representation of apparatus of the coal slurry pipeline that is used for the DCL/Directcoal liquefaction device 7 of embodiment 2.This casing monitoring device comprisesthermopair 1, cutting ferrule 2,pressure guiding pipe 3,pressure unit 4,flange 5,sleeve pipe 6 etc.The temperature ofcoal slurry pipeline 7 is 400 ℃, and pressure is 21MPa.Fig. 3 is the partial enlarged drawing that thepressure unit 4 of casing monitoring device shown in Figure 2 is connected with sleeve pipe 6.As shown in Figures 2 and 3, on the top ofsleeve pipe 6 opening 61 is set, also welding is fixing to insertpressure guiding pipe 3 in the opening 61 ofsleeve pipe 6, simultaneously atpressure guiding pipe 3 outsides valve 11 of welding and a 1/2NPT tensimeter ozzle 12.Pressure unit 4 directly is installed to tensimeter ozzle 12, thereby realizes being tightly connected, be used to measure the pressure in thesleeve pipe 6 with sleeve pipe 6.The inside thatthermopair 1inserts sleeve pipe 6 is used to measure the temperature in the coal slurry pipeline 7.Thermopair 1 is connected and sealed withsleeve pipe 6 usefulness cutting ferrules 2.Sleeve pipe 6 insert inflanges 5 and thecoal slurry pipeline 7 and seal welding oncoal slurry pipeline 7, the outer wall ofsleeve pipe 6 is contacted with medium, wherein,upper flange 51 andlower flange 52 usefulness octangonal rings seal.The pressure that utilizes this casing monitoring device can monitor at any time in thesleeve pipe 6 changes, thereby can determine the safety case of sleeve pipe.
Embodiment 3
The casing monitoring device that is used forcoal slurry pipeline 7 according to theutility model embodiment 3 comprisesthermopair 1, cutting ferrule 2,pressure guiding pipe 3,pressure transducer 4,flange 5,sleeve pipe 6 and Distributed Control System (DCS) (DCS) 8 etc.On the top ofsleeve pipe 6 opening 61 is set, also welding is fixing to insertpressure guiding pipe 3 in the opening 61 ofsleeve pipe 6, simultaneously atpressure guiding pipe 3 outsides valve 11 of welding and a 1/2NPT tensimeter ozzle 12.Pressure transducer 4 directly is installed to tensimeter ozzle 12, thereby realizes being tightly connected, be used to measure the pressure in thesleeve pipe 6 with sleeve pipe 6.Pressure transducer 4 can be connected with Distributed Control System (DCS) 8 (not shown) to introduce the signal ofpressure transducer 4, is used in time reporting to the police whensleeve pipe 6 breaks.The inside thatthermopair 1inserts sleeve pipe 6 is used to measure the temperature in the coal slurry pipeline 7.Thermopair 1 is connected and sealed withsleeve pipe 6 usefulness cutting ferrules 2.Sleeve pipe 6 insert inflanges 5 and thecoal slurry pipeline 7 and seal welding oncoal slurry pipeline 7, the outer wall ofsleeve pipe 6 is contacted with medium, wherein,upper flange 51 andlower flange 52 usefulness octangonal rings seal.The pressure that utilize this casing monitoring device can monitor at any time in thesleeve pipe 6 change, and whensleeve pipe 6 breaks when causing pressure in thesleeve pipe 6 thatpressure transducer 4 measures greater than setting value, Distributed Control System (DCS) 8 can in time be reported to the police.
Though described spirit of the present utility model in detail with reference to specific embodiment, these embodiments only are used for illustrative purposes and should not limit the utility model.Should be appreciated that under the situation that does not deviate from scope and spirit of the present utility model those skilled in the art can change or change these embodiments.

Claims (10)

Translated fromChinese
1.一种套管监测装置,包括:套管(6),其特征在于,所述套管监测装置还包括压力变送器(4),所述压力变送器(4)通过设置于所述套管(6)上的开口(61)与所述套管(6)密封连接。1. A bushing monitoring device, comprising: a bushing (6), characterized in that the bushing monitoring device also includes a pressure transmitter (4), and the pressure transmitter (4) is arranged on the The opening (61) on the sleeve (6) is sealingly connected with the sleeve (6).2.根据权利要求1所述的套管监测装置,其中,所述压力变送器(4)通过插入所述套管(6)的开口(61)内的引压管(3)与所述套管(6)密封连接。2. The bushing monitoring device according to claim 1, wherein the pressure transmitter (4) communicates with the pressure introduction tube (3) inserted into the opening (61) of the bushing (6) with the The sleeve pipe (6) is sealed and connected.3.根据权利要求2所述的套管监测装置,其中,在所述引压管(3)与所述压力变送器(4)之间连接有阀门(11)和管嘴(12),所述压力变送器(4)经由所述管嘴(12)与所述阀门(11)相连接。3. The bushing monitoring device according to claim 2, wherein a valve (11) and a nozzle (12) are connected between the pressure induction pipe (3) and the pressure transmitter (4), The pressure transmitter (4) is connected to the valve (11) via the nozzle (12).4.根据权利要求3所述的套管监测装置,其中,所述管嘴(12)为1/2英寸锥管螺纹压力表管嘴。4. The bushing monitoring device according to claim 3, wherein the nozzle (12) is a 1/2 inch tapered pipe thread pressure gauge nozzle.5.根据权利要求1所述的套管监测装置,其中,所述压力变送器(4)为压力传感器。5. The casing monitoring device according to claim 1, wherein the pressure transmitter (4) is a pressure sensor.6.根据权利要求1所述的套管监测装置,其中,所述套管监测装置还包括与所述压力变送器(4)连接的报警系统(8)。6. The casing monitoring device according to claim 1, wherein the casing monitoring device further comprises an alarm system (8) connected to the pressure transmitter (4).7.根据权利要求6所述的套管监测装置,其中,所述报警系统(8)为集散控制系统。7. The bushing monitoring device according to claim 6, wherein the alarm system (8) is a distributed control system.8.根据权利要求1所述的套管监测装置,其中,在所述套管(6)内设置有测温装置(1)。8. The bushing monitoring device according to claim 1, wherein a temperature measuring device (1) is arranged inside the bushing (6).9.根据权利要求8所述的套管监测装置,其中,所述测温装置(1)与所述套管(6)采用卡套(2)进行密封连接。9. The bushing monitoring device according to claim 8, wherein the temperature measuring device (1) and the bushing (6) are sealed and connected by a ferrule (2).10.根据权利要求1所述的套管监测装置,其中,所述套管(6)与压力管道(7)采用法兰(5)进行密封连接,所述套管(6)插入所述法兰(5)和所述压力管道(7)中。10. The bushing monitoring device according to claim 1, wherein, the casing (6) and the pressure pipe (7) are sealed and connected by a flange (5), and the casing (6) is inserted into the flange Lan (5) and the pressure pipe (7).
CN 2011201428662011-05-062011-05-06Sleeve monitoring deviceExpired - LifetimeCN202092842U (en)

Priority Applications (1)

Application NumberPriority DateFiling DateTitle
CN 201120142866CN202092842U (en)2011-05-062011-05-06Sleeve monitoring device

Applications Claiming Priority (1)

Application NumberPriority DateFiling DateTitle
CN 201120142866CN202092842U (en)2011-05-062011-05-06Sleeve monitoring device

Publications (1)

Publication NumberPublication Date
CN202092842Utrue CN202092842U (en)2011-12-28

Family

ID=45367903

Family Applications (1)

Application NumberTitlePriority DateFiling Date
CN 201120142866Expired - LifetimeCN202092842U (en)2011-05-062011-05-06Sleeve monitoring device

Country Status (1)

CountryLink
CN (1)CN202092842U (en)

Cited By (8)

* Cited by examiner, † Cited by third party
Publication numberPriority datePublication dateAssigneeTitle
CN103076106A (en)*2013-01-112013-05-01浙江伦特机电有限公司High-pressure multi-point flexible thermocouple with leakage detector
CN103575417A (en)*2012-08-102014-02-12贵阳铝镁设计研究院有限公司Method and device for measuring temperature of dissolving out tank in process of preparing aluminium oxide from coal ash by using acid process
CN103954371A (en)*2014-04-112014-07-30中冶南方工程技术有限公司Early warning method for damage to thermocouple protection device and thermocouple temperature monitor
CN105067190A (en)*2015-07-312015-11-18威特龙消防安全集团股份公司Coal dust transmission pipeline leakage early warning detection method
CN106644313A (en)*2016-12-272017-05-10浙江理工大学Flow corrosion leakage detection and risk assessment control method for reaction effluent air cooler
CN110836332A (en)*2019-12-182020-02-25大连福佳·大化石油化工有限公司Circulating water integrated temperature-change sleeve under-pressure leakage blocking structure and leakage blocking method thereof
CN113237518A (en)*2021-06-082021-08-10中国科学院理化技术研究所Temperature and pressure cooperative measuring device
CN113390469A (en)*2021-08-162021-09-14南通麦西计量科技有限公司From warm instrument for pressure monitoring of reporting to police

Cited By (12)

* Cited by examiner, † Cited by third party
Publication numberPriority datePublication dateAssigneeTitle
CN103575417A (en)*2012-08-102014-02-12贵阳铝镁设计研究院有限公司Method and device for measuring temperature of dissolving out tank in process of preparing aluminium oxide from coal ash by using acid process
CN103076106A (en)*2013-01-112013-05-01浙江伦特机电有限公司High-pressure multi-point flexible thermocouple with leakage detector
CN103954371A (en)*2014-04-112014-07-30中冶南方工程技术有限公司Early warning method for damage to thermocouple protection device and thermocouple temperature monitor
CN103954371B (en)*2014-04-112017-10-13中冶南方工程技术有限公司Method for early warning and electric thermo-couple temperature monitor that electric thermo-couple protector is damaged
CN105067190A (en)*2015-07-312015-11-18威特龙消防安全集团股份公司Coal dust transmission pipeline leakage early warning detection method
CN106644313A (en)*2016-12-272017-05-10浙江理工大学Flow corrosion leakage detection and risk assessment control method for reaction effluent air cooler
CN106644313B (en)*2016-12-272018-09-07浙江理工大学reaction effluent air cooler flow corrosion leak detection and risk assessment control method
CN110836332A (en)*2019-12-182020-02-25大连福佳·大化石油化工有限公司Circulating water integrated temperature-change sleeve under-pressure leakage blocking structure and leakage blocking method thereof
CN113237518A (en)*2021-06-082021-08-10中国科学院理化技术研究所Temperature and pressure cooperative measuring device
CN113237518B (en)*2021-06-082025-03-28中国科学院理化技术研究所 Temperature and pressure coordinated measurement device
CN113390469A (en)*2021-08-162021-09-14南通麦西计量科技有限公司From warm instrument for pressure monitoring of reporting to police
CN113390469B (en)*2021-08-162021-11-05南通麦西计量科技有限公司From warm instrument for pressure monitoring of reporting to police

Similar Documents

PublicationPublication DateTitle
CN202092842U (en)Sleeve monitoring device
CN109243639B (en) Experimental device and method for micro-crack leakage of heat transfer tube of nuclear reactor steam generator
CN103726834A (en)Sustained casing pressure diagnosis device and method
CN204313990U (en)Pipe flange stress monitoring system
CN105569632A (en)Safety management control device for annulus in oil jacket of gas well and management control method for management control device
CN106033022A (en) A medium leakage detection device for a pipeline valve and its filler
CN111734960A (en) A pipeline leakage monitoring and alarm system and positioning method
CN204387697U (en) Pipeline gas leak detection device
CN104111139B (en)Pressure acquisition device
CN202926319U (en)Annulus under-pressure diagnostic device
CN211784037U (en) An isolated pressure measuring mechanism
JP2015505953A5 (en)
CN210268994U (en)On-site gas pressure test detection device of special packer for casing gas tightness detection
CN203298885U (en)Temperature-measurement and pressure-measurement data acquisition head
CN203414191U (en)Online plugging thermal resistor
CN216309311U (en)Pipeline pressure taking structure
US10739222B1 (en)Magnetic pipeline pressure sensor/monitor with wireless transceiver
CN204665919U (en)A kind of cooling jacket
CN212960152U (en)Balance valve body
CN205158074U (en) Landfill gas pretreatment monitoring device
CN204269527U (en) Corrosion inhibitor evaluation device for real-time monitoring of dissolved oxygen and pH under high temperature and high pressure
CN205537992U (en)Petroleum pipeline safety monitoring device
CN210894006U (en) An online detection device for hydraulic oil pollution degree
CN203350006U (en)Graphite synthetic furnace leakage detection apparatus for producing hydrogen chloride
CN203297946U (en)Novel temperature measurement and pressure measurement data collecting head for high-pressure pipeline

Legal Events

DateCodeTitleDescription
C14Grant of patent or utility model
GR01Patent grant
CX01Expiry of patent term
CX01Expiry of patent term

Granted publication date:20111228


[8]ページ先頭

©2009-2025 Movatter.jp