Movatterモバイル変換


[0]ホーム

URL:


CN202075886U - Remote education system based on 3G mobile communication network - Google Patents

Remote education system based on 3G mobile communication network
Download PDF

Info

Publication number
CN202075886U
CN202075886UCN2011201699509UCN201120169950UCN202075886UCN 202075886 UCN202075886 UCN 202075886UCN 2011201699509 UCN2011201699509 UCN 2011201699509UCN 201120169950 UCN201120169950 UCN 201120169950UCN 202075886 UCN202075886 UCN 202075886U
Authority
CN
China
Prior art keywords
mobile
equipment
communication network
education system
mobile communication
Prior art date
Legal status (The legal status is an assumption and is not a legal conclusion. Google has not performed a legal analysis and makes no representation as to the accuracy of the status listed.)
Expired - Fee Related
Application number
CN2011201699509U
Other languages
Chinese (zh)
Inventor
张招来
Current Assignee (The listed assignees may be inaccurate. Google has not performed a legal analysis and makes no representation or warranty as to the accuracy of the list.)
DONGGUAN BAFANG NETWORK TECHNOLOGY CO LTD
Original Assignee
DONGGUAN BAFANG NETWORK TECHNOLOGY CO LTD
Priority date (The priority date is an assumption and is not a legal conclusion. Google has not performed a legal analysis and makes no representation as to the accuracy of the date listed.)
Filing date
Publication date
Application filed by DONGGUAN BAFANG NETWORK TECHNOLOGY CO LTDfiledCriticalDONGGUAN BAFANG NETWORK TECHNOLOGY CO LTD
Priority to CN2011201699509UpriorityCriticalpatent/CN202075886U/en
Application grantedgrantedCritical
Publication of CN202075886UpublicationCriticalpatent/CN202075886U/en
Anticipated expirationlegal-statusCritical
Expired - Fee Relatedlegal-statusCriticalCurrent

Links

Images

Landscapes

Abstract

The utility model discloses a remote education system based on 3G mobile communication network; the mobile terminal comprises a mobile terminal, a photographic device, a video compression device, a teaching information interaction device and a mobile gateway device, wherein the photographic device is used for acquiring classroom video information, the video compression device is used for compressing the classroom video information, the teaching information interaction device is used for receiving information sent by students, the mobile gateway device is used for transmitting the information, the teaching information interaction device is connected with a display, the photographic device is connected with the video compression device, the video compression device is connected with the mobile gateway device, the teaching information interaction device is connected with the mobile gateway device, and the mobile gateway device is connected with the mobile terminal through a 3G mobile communication network; the camera device collects classroom video information, the mobile gateway device sends the classroom video information to the mobile terminal through the 3G mobile communication network, students can receive the classroom video information anytime and anywhere by holding the mobile terminal with hands, the students can receive the classroom video information conveniently, and the quality of remote education can be improved.

Description

A kind of long-distance educational system based on the 3G mobile communications network
Technical field
The utility model relates to the educational system technical field, relates in particular to a kind of long-distance educational system based on the 3G mobile communications network.
Background technology
Along with 3G(3rd-generation) development of mobile communication network technology, the message transmission rate of 3G mobile communications network is more and more faster, feasible video information by the mobile communications network transmission of large capacity becomes possibility, and each mobile phone manufacturer has strengthened the research and development based on the portable terminal of 3G mobile communications network; The 3G technology standard comprises CDMA2000, WCDMA, TD-SCDMA, WiMAX.
Existing long-distance educational system, comprise equipment such as photographic equipment, broadband gateway equipment, remote computer, photographic equipment collects the video information in teacher classroom, broadband gateway equipment sends to remote computer by broadband internet with the classroom video information then, and the student can watch teacher's teaching content by remote computer.Then, existing systems need use the broadband internet based on fixed network such as ADSL, particularly concerning the course of stipulated time point receiver, video information, the student may possibly can't find the computing machine that can connect broadband internet at official hour point, it is convenient inadequately that the student receives the classroom video information, will cause absent from school.
Summary of the invention
The utility model provides a kind of long-distance educational system based on the 3G mobile communications network, and it is convenient that the student uses portable terminal just can receive the classroom video information, can improve the quality of long-distance education.
A kind of long-distance educational system based on the 3G mobile communications network, comprise portable terminal, be used to gather the photographic equipment of classroom video information, be used to compress the video compression apparatus of classroom video information, be used to receive the education informations interaction device that the student sends information, be used to the mobile gateway device of the information of transmitting; The education informations interaction device is connected with display, photographic equipment is connected with video compression apparatus, video compression apparatus is connected with mobile gateway device, and the education informations interaction device is connected with mobile gateway device, and mobile gateway device is connected with portable terminal by the 3G mobile communications network.
Wherein, long-distance educational system also comprises the storage server that is used to store the classroom video information, and storage server is connected with video compression apparatus, mobile gateway device respectively.
Wherein, video compression apparatus is connected with mobile gateway device by switch.
Wherein, long-distance educational system also comprises remote computer and broadband gateway equipment, and broadband gateway equipment is connected with remote computer by broadband internet, and broadband gateway equipment is connected with video compression apparatus.
Wherein, broadband gateway equipment is connected with video compression apparatus by switch.
Wherein, long-distance educational system also comprises laptop computer and Wireless Local Area Network Gateway equipment, and laptop computer is connected with Wireless Local Area Network Gateway equipment by WLAN (wireless local area network), and Wireless Local Area Network Gateway equipment is connected with video compression apparatus.
Wherein, Wireless Local Area Network Gateway equipment is connected with video compression apparatus by switch.
Wherein, photographic equipment is connected with video compression apparatus by the RS485 serial ports.
Wherein, the education informations interaction device also is connected with audio amplifier.
Wherein, photographic equipment comprises camera and wireless microphone.
The utility model beneficial effect: it comprises portable terminal, be used to gather the photographic equipment of classroom video information, be used to compress the video compression apparatus of classroom video information, be used to receive the education informations interaction device that the student sends information, be used to the mobile gateway device of the information of transmitting; The education informations interaction device is connected with display, photographic equipment is connected with video compression apparatus, video compression apparatus is connected with mobile gateway device, and the education informations interaction device is connected with mobile gateway device, and mobile gateway device is connected with portable terminal by the 3G mobile communications network.Photographic equipment is gathered the classroom video information, mobile gateway device sends to portable terminal by the 3G mobile communications network with the classroom video information, and student's hand-held mobile terminal can receive the classroom video information whenever and wherever possible, it is convenient that the student receives the classroom video information, can improve the quality of long-distance education.
Description of drawings
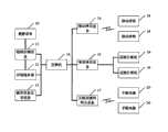
Fig. 1 is a structural representation of the present utility model.
Embodiment
Referring to Fig. 1, the utility model is described in detail below in conjunction with accompanying drawing.
The long-distance educational system based on the 3G mobile communications network of present embodiment, compriseportable terminal 18, be used to gather thephotographic equipment 10 of classroom video information, be used to compress thevideo compression apparatus 11 of classroom video information, be used to receive the educationinformations interaction device 13 that the student sends information, be used to themobile gateway device 15 of the information of transmitting; Educationinformations interaction device 13 is connected with display,photographic equipment 10 is connected withvideo compression apparatus 11,video compression apparatus 11 is connected withmobile gateway device 15, educationinformations interaction device 13 is connected withmobile gateway device 15, andmobile gateway device 15 is connected withportable terminal 18 by the 3G mobile communications network.Wherein,photographic equipment 10 is connected withvideo compression apparatus 11 by the RS485 serial ports, and the RS485 serial ports has the fast advantage of transmission speed;Photographic equipment 10 comprises camera and wireless microphone, and teacher uses the convenient teaching of wireless microphone; Above-mentionedportable terminal 18 can be mobile phone, PDA etc.
This long-distance educational system can be used as the append mode of giving lessons in the common classroom of school; Be that this school student listens teacher to teach to the classroom, simultaneously, employing the utility model sends to the classroom video information living outside school or other is inconvenient to the student in classroom.
Photographic equipment 10 is gathered the classroom video information,video compression apparatus 11 compression classroom video informations, and send tomobile gateway device 15, student'sportable terminal 18 lands educationinformations interaction device 13 bymobile gateway device 15, teacher can check that current student receives the situation of classroom video information according to logon information, andmobile gateway device 15 will compress classroom, back video information according to logon information by the 3G mobile communications network and send to portable terminal 18.Student's hand-heldmobile terminal 18 can receive the classroom video information whenever and wherever possible, and it is convenient that the student receives the classroom video information, can improve the quality of long-distance education.Non-students need work mostly, possibly can't find the computing machine that can connect broadband internet at the hours of instruction point of stipulating, and the technical program have solved this problem well.
Educationinformations interaction device 13 can provide one to land platform,portable terminal 18 lands this platform by the 3G mobile communications network, unique number of the account of each student's registered in advance as student during in this platform input number of the account, just can be obtained real-time classroom video information.
Educationinformations interaction device 13 is connected with display and audio amplifier.In teaching process, the student can put question to teacher byportable terminal 18, and this enquirement information can utilize audio amplifier to sound after handling by educationinformations interaction device 13, makes teacher can know student's problem.
Long-distance educational system also comprises thestorage server 12 that is used for the classroom video information after the store compressed, andstorage server 12 is connected withvideo compression apparatus 11,mobile gateway device 15 respectively.Storage server 12 can be stored the classroom video information, if the student does not receive the classroom video information at the class period of appointment point, still can landstorage server 12 and download this classroom video information after class At All Other Times.
Long-distance educational system also comprisesremote computer 19 andbroadband gateway equipment 16, andbroadband gateway equipment 16 is connected withremote computer 19 by broadband internet, andbroadband gateway equipment 16 is connected with video compression apparatus 11.Consider the part student may be inconvenient to use the 3G mobile communications network, they also can use the broadband internet based on fixed network such as ADSL, useremote computer 19 obtains the classroom video information.Remotecomputer 19 can be desktop computer, laptop computer etc.
Long-distance educational system also compriseslaptop computer 20 and Wireless Local Area Network Gatewayequipment 17, andlaptop computer 20 is connected with Wireless Local AreaNetwork Gateway equipment 17 by WLAN (wireless local area network), and Wireless Local Area Network Gatewayequipment 17 is connected with video compression apparatus 11.For some common course, or some more famous teacher's course, the student that the classroom may be difficult to sit down and all wish to listen to the teacher, the utility model can also provide the classroom video information by WLAN (wireless local area network) except improving the video information of classroom by the 3G mobile communications network.This school student carrieslaptop computer 20, can send in the range of signal at distance Wireless Local AreaNetwork Gateway equipment 17, such as in contiguous classroom, useslaptop computer 20 to receive the classroom video information.
Wherein, Wireless Local AreaNetwork Gateway equipment 17,mobile gateway device 15,broadband gateway equipment 16 all are connected withvideo compression apparatus 11, educationinformations interaction device 13,storage server 12 by switch 14.Switch 14 has powerful information exchange functions, can reduce the wiring of these 3 gateway devices.
Above content only is preferred embodiment of the present utility model, for those of ordinary skill in the art, according to thought of the present utility model, the part that all can change in specific embodiments and applications, this description should not be construed as restriction of the present utility model.

Claims (10)

Translated fromChinese
1.一种基于3G移动通信网络的远程教育系统,其特征在于:包括移动终端,用于采集课堂视频信息的摄影设备,用于压缩课堂视频信息的视频压缩设备,用于接收学生发送信息的教学信息互动设备,用于传输信息的移动网关设备;教学信息互动设备连接有显示器,摄影设备与视频压缩设备连接,视频压缩设备与移动网关设备连接,教学信息互动设备与移动网关设备连接,移动网关设备通过3G移动通信网络与移动终端连接。1. A distance education system based on a 3G mobile communication network, characterized in that: it comprises a mobile terminal, a photographic device for collecting classroom video information, a video compression device for compressing classroom video information, and a device for receiving information sent by students Teaching information interaction equipment, mobile gateway equipment used to transmit information; teaching information interaction equipment is connected with a display, photography equipment is connected with video compression equipment, video compression equipment is connected with mobile gateway equipment, teaching information interaction equipment is connected with mobile gateway equipment, mobile The gateway device is connected with the mobile terminal through the 3G mobile communication network.2.根据权利要求1所述的一种基于3G移动通信网络的远程教育系统,其特征在于:所述远程教育系统还包括用于存储课堂视频信息的存储服务器,存储服务器分别与所述视频压缩设备、移动网关设备连接。2. a kind of distance education system based on 3G mobile communication network according to claim 1, is characterized in that: described distance education system also comprises the storage server that is used to store classroom video information, and storage server is respectively with described video compression device, mobile gateway device connection.3.根据权利要求1所述的一种基于3G移动通信网络的远程教育系统,其特征在于:所述视频压缩设备通过交换机与所述移动网关设备连接。3. The distance education system based on a 3G mobile communication network according to claim 1, wherein the video compression device is connected to the mobile gateway device through a switch.4.根据权利要求1所述的一种基于3G移动通信网络的远程教育系统,其特征在于:所述远程教育系统还包括远程计算机和宽带网关设备,宽带网关设备通过宽带互联网与远程计算机连接,宽带网关设备与所述视频压缩设备连接。4. a kind of distance education system based on 3G mobile communication network according to claim 1, is characterized in that: described distance education system also comprises remote computer and broadband gateway equipment, and broadband gateway equipment is connected with remote computer by broadband Internet, The broadband gateway device is connected with the video compression device.5.根据权利要求4所述的一种基于3G移动通信网络的远程教育系统,其特征在于:所述宽带网关设备通过交换机与所述视频压缩设备连接。5. The distance education system based on 3G mobile communication network according to claim 4, characterized in that: the broadband gateway device is connected to the video compression device through a switch.6.根据权利要求1所述的一种基于3G移动通信网络的远程教育系统,其特征在于:所述远程教育系统还包括手提电脑和无线局域网网关设备,手提电脑通过无线局域网和无线局域网网关设备连接,无线局域网网关设备与所述视频压缩设备连接。6. A kind of long-distance education system based on 3G mobile communication network according to claim 1, it is characterized in that: described long-distance education system also comprises laptop computer and WLAN gateway device, and laptop computer passes through WLAN and WLAN gateway device connection, the wireless local area network gateway device is connected with the video compression device.7.根据权利要求6所述的一种基于3G移动通信网络的远程教育系统,其特征在于:所述无线局域网网关设备通过交换机与所述视频压缩设备连接。7. A distance education system based on a 3G mobile communication network according to claim 6, characterized in that: the wireless LAN gateway device is connected to the video compression device through a switch.8.根据权利要求1所述的一种基于3G移动通信网络的远程教育系统,其特征在于:所述摄影设备通过RS485串口与所述视频压缩设备连接。8. The distance education system based on 3G mobile communication network according to claim 1, characterized in that: said photography equipment is connected with said video compression equipment through RS485 serial port.9.根据权利要求1所述的一种基于3G移动通信网络的远程教育系统,其特征在于:所述教学信息互动设备还连接有音箱。9. The distance education system based on 3G mobile communication network according to claim 1, characterized in that: said teaching information interaction device is also connected with a speaker.10.根据权利要求1所述的一种基于3G移动通信网络的远程教育系统,其特征在于:所述摄影设备包括摄像头和无线话筒。10. The distance education system based on 3G mobile communication network according to claim 1, characterized in that: said photographing equipment includes a camera and a wireless microphone.
CN2011201699509U2011-05-252011-05-25Remote education system based on 3G mobile communication networkExpired - Fee RelatedCN202075886U (en)

Priority Applications (1)

Application NumberPriority DateFiling DateTitle
CN2011201699509UCN202075886U (en)2011-05-252011-05-25Remote education system based on 3G mobile communication network

Applications Claiming Priority (1)

Application NumberPriority DateFiling DateTitle
CN2011201699509UCN202075886U (en)2011-05-252011-05-25Remote education system based on 3G mobile communication network

Publications (1)

Publication NumberPublication Date
CN202075886Utrue CN202075886U (en)2011-12-14

Family

ID=45113979

Family Applications (1)

Application NumberTitlePriority DateFiling Date
CN2011201699509UExpired - Fee RelatedCN202075886U (en)2011-05-252011-05-25Remote education system based on 3G mobile communication network

Country Status (1)

CountryLink
CN (1)CN202075886U (en)

Cited By (6)

* Cited by examiner, † Cited by third party
Publication numberPriority datePublication dateAssigneeTitle
CN102723005A (en)*2012-05-152012-10-10深圳Tcl新技术有限公司Interactive education method, system and audio and video display equipment
CN104346963A (en)*2014-10-232015-02-11江苏黄金屋教育咨询有限公司Multimedia audio and video-based digital note-taking system for student
CN105528927A (en)*2016-01-082016-04-27烟台南山学院Wireless basic education equipment based on cloud computer
CN106803380A (en)*2016-10-212017-06-06王世渊A kind of uninterrupted learning method
CN109089056A (en)*2018-08-102018-12-25南京腾优信息科技有限公司A kind of video teaching interactive device
CN111429770A (en)*2020-04-302020-07-17中铁第五勘察设计院集团有限公司Distance education system

Cited By (6)

* Cited by examiner, † Cited by third party
Publication numberPriority datePublication dateAssigneeTitle
CN102723005A (en)*2012-05-152012-10-10深圳Tcl新技术有限公司Interactive education method, system and audio and video display equipment
CN104346963A (en)*2014-10-232015-02-11江苏黄金屋教育咨询有限公司Multimedia audio and video-based digital note-taking system for student
CN105528927A (en)*2016-01-082016-04-27烟台南山学院Wireless basic education equipment based on cloud computer
CN106803380A (en)*2016-10-212017-06-06王世渊A kind of uninterrupted learning method
CN109089056A (en)*2018-08-102018-12-25南京腾优信息科技有限公司A kind of video teaching interactive device
CN111429770A (en)*2020-04-302020-07-17中铁第五勘察设计院集团有限公司Distance education system

Similar Documents

PublicationPublication DateTitle
CN104809930B (en)A kind of multimedia teaching householder method and its system based on mobile platform
CN202075886U (en)Remote education system based on 3G mobile communication network
CN206505576U (en) A medical network teaching interactive system
CN205812077U (en)Visualization interactive education system
CN104346964A (en)Real-time question answering method based on mobile and intelligent electronic instruments
CN108124114A (en)A kind of audio/video conference sound collection method and device
CN203366566U (en)Interactive e-learning system
CN204904617U (en)Long -range multimedia teaching system based on internet
CN204596216U (en)A kind of network multi-broadcast to clone
CN203366564U (en)Interactive network education system
CN206259049U (en)A kind of Long-Distance CAI System
CN205486928U (en)Portable digital teaching platform system
CN205451549U (en)Novel teleeducation system based on mobile internet twine
CN201378372Y (en)Multimedia teaching device and hand-held terminal device
CN107657843A (en)A kind of classroom video recording apparatus and its video recording method
CN105139704A (en)Internet remote teaching system
CN202075885U (en)Auxiliary education system based on wireless local area network
CN203982598U (en)Multi-media Laboratory tutoring system
CN205943147U (en)Novel real teaching system that instructs of accounting computerization
CN206061014U (en)Long-distance educational system based on communication network
CN206039901U (en)Computer network teaching system
CN204303192U (en)Multimedia education system
CN204406736U (en)A kind of electronic teaching system
CN204990823U (en)Mutual teaching system for management information system course
CN209882100U (en)Audio transmission structure

Legal Events

DateCodeTitleDescription
C14Grant of patent or utility model
GR01Patent grant
C17Cessation of patent right
CF01Termination of patent right due to non-payment of annual fee

Granted publication date:20111214

Termination date:20130525


[8]ページ先頭

©2009-2025 Movatter.jp