Movatterモバイル変換


[0]ホーム

URL:


CN201965643U - An electronic label automatic writing and detection device - Google Patents

An electronic label automatic writing and detection device
Download PDF

Info

Publication number
CN201965643U
CN201965643UCN2011200830199UCN201120083019UCN201965643UCN 201965643 UCN201965643 UCN 201965643UCN 2011200830199 UCN2011200830199 UCN 2011200830199UCN 201120083019 UCN201120083019 UCN 201120083019UCN 201965643 UCN201965643 UCN 201965643U
Authority
CN
China
Prior art keywords
feeding device
electronic tag
feeding
reader
antenna
Prior art date
Legal status (The legal status is an assumption and is not a legal conclusion. Google has not performed a legal analysis and makes no representation as to the accuracy of the status listed.)
Expired - Fee Related
Application number
CN2011200830199U
Other languages
Chinese (zh)
Inventor
刘绚强
Current Assignee (The listed assignees may be inaccurate. Google has not performed a legal analysis and makes no representation or warranty as to the accuracy of the list.)
Dongguan Wing Hung Printing Co ltd
Original Assignee
Dongguan Wing Hung Printing Co ltd
Priority date (The priority date is an assumption and is not a legal conclusion. Google has not performed a legal analysis and makes no representation as to the accuracy of the date listed.)
Filing date
Publication date
Application filed by Dongguan Wing Hung Printing Co ltdfiledCriticalDongguan Wing Hung Printing Co ltd
Priority to CN2011200830199UpriorityCriticalpatent/CN201965643U/en
Application grantedgrantedCritical
Publication of CN201965643UpublicationCriticalpatent/CN201965643U/en
Anticipated expirationlegal-statusCritical
Expired - Fee Relatedlegal-statusCriticalCurrent

Links

Images

Landscapes

Abstract

Translated fromChinese

本实用新型涉及无线射频识别技术领域,尤其涉及一种电子标签自动写入、检测装置。本实用新型包括有机架,机架的上部设置有由调速电机驱动的送料装置,机架沿送料方向依次设置有发料装置、初始化系统、写入检测系统以及坏卡剔除装置,初始化系统包括有第一读写器和第一天线,写入检测系统包括有第二读写器和第二天线,发料装置、第一天线以及第二天线沿送料方向依次设置于送料装置的上方;第一读写器、第二读写器以及坏卡剔除装置分别与PCB板连接。待写入电子标签依次经过第一天线、第二天线以及坏卡剔除装置并依次完成初始化、写入以及坏卡剔除动作;本实用新型能够实现电子标签的EPC编码自动写入以及检测处理,高效且自动化程度高。

Figure 201120083019

The utility model relates to the field of wireless radio frequency identification technology, and in particular to an automatic writing and detection device for electronic tags. The utility model includes a frame, and a feeding device driven by a speed regulating motor is arranged on the upper part of the frame. The frame is provided with a feeding device, an initialization system, a writing detection system and a bad card rejection device in sequence along the feeding direction. The initialization system includes a first reader and a first antenna, and the writing detection system includes a second reader and a second antenna. The feeding device, the first antenna and the second antenna are arranged above the feeding device in sequence along the feeding direction; the first reader, the second reader and the bad card rejection device are connected to the PCB board respectively. The electronic tag to be written passes through the first antenna, the second antenna and the bad card rejection device in sequence and completes the initialization, writing and bad card rejection actions in sequence; the utility model can realize the automatic writing and detection processing of the EPC code of the electronic tag, which is efficient and highly automated.

Figure 201120083019

Description

A kind of electronic tag writes automatically, pick-up unit
Technical field
The utility model relates to the radio RF recognition technology field, relates in particular to that a kind of electronic tag writes automatically, pick-up unit.
Background technology
Radio RF recognition technology (RFID) is a kind of contactless automatic identification technology, and it mainly utilizes the transport property and the automatic recognition objective object of energy of radiofrequency signal and space convergence (inductance or electromagnetic coupling close) and obtains related data.RFID technology salient feature the most is: the mode of identifying information realizes wireless two-way communication to utilize radiowave to transmit also, and the data read amount is big and can realize long-range reading, and is not subjected to space constraint, can carry out object tracking and exchanges data fast.As a kind of new wireless recognition technique, for traditional bar code, IC-card, speech recognition and bio-identification mode, the RFID technology develops by leaps and bounds just in the world with the advantage of its highly significant and is widely used in multiple field.
The antenna (reading and writing device antenna, electronic label antenna) that the radio frequency identification system (rfid system) that is come by the radio RF recognition technology development generally includes electronic tag, read write line and realizes data communication between electronic tag and the read write line, the electronic tag internal memory contains the electronic data of certain format, with this identification information as article to be identified.Electronic tag is attached on the article to be identified and as the electronic marker of article to be identified in the application, read write line sends order to electronic tag, the sign data transmission that electronic tag will be stored according to the read write line instruction of receiving is given read write line and then is realized data communication, and read write line after reading of data and decoding data is sent to main frame or network carries out relevant data processing.
Electronic tag is being applied to before commodity, goods wait for identify objects, production firm generally must write, detect processing to electronic tag earlier, is also only guaranteeing that the label writing information just can use under the situation accurately.Yet under the prior art condition, electronic tag manufacturer generally adopts the mode of manual inspection that electronic tag is detected processing, and is consuming time and efficient is low, in addition, because artificial factor also is easy to generate erroneous judgement.In addition, it generally is to carry out on different devices that electronic tag writes, detects processing, and there is low, the consuming time and inefficient defective of automaticity in this mode.So, be badly in need of a kind of device that can realize efficiently that electronic tag writes automatically, detects and improve the many defectives that exist in the prior art.
Summary of the invention
The purpose of this utility model is to provide at the deficiencies in the prior art that a kind of electronic tag writes automatically, pick-up unit, and the EPC coding that this electronic tag writes automatically, pick-up unit can be realized electronic tag writes automatically and detects, the automaticity height.
For achieving the above object, the utility model is achieved through the following technical solutions.
A kind of electronic tag writes automatically, pick-up unit, include frame, the top of frame is provided with the pay-off that is driven by buncher, frame is disposed with the issuance of materials device along the feed direction of pay-off, initialization system, possess and write writing detection system and badly blocking device for eliminating of EPC coding and measuring ability, first antenna that initialization system includes first read write line and is electrically connected with first read write line, write second antenna that detection system includes second read write line and is electrically connected with second read write line, the issuance of materials device, first antenna and second antenna are set in turn in the top of pay-off along feed direction; First read write line, second read write line and bad card device for eliminating respectively with have treatment circuit and be connected with pcb board that computing machine is electrically connected.
Wherein, the front side of described first antenna is equiped with the photoelectric counting device that is used to detect the electronic tag number that enters described initialization system, and the photoelectric counting device is electrically connected with the treatment circuit of described pcb board by lead.
Wherein, the photo amplifier that described photoelectric counting device includes optoelectronic switch and is connected with optoelectronic switch, photo amplifier is electrically connected with the treatment circuit of described pcb board by lead.
Wherein, the treatment circuit of described pcb board includes the delay processing module, postponing processing module includes the start delay unit, writes card delay cell and output delay unit, wherein, the start delay unit is electrically connected with described first read write line and described photoelectric counting device respectively, write card delay cell and be electrically connected with first read write line and described second read write line respectively, the output delay unit is electrically connected with the described bad card device for eliminating and second read write line respectively.
Wherein, described bad card device for eliminating includes the valve that is connected by gas pipe line with air pump, is equipped with the solenoid valve that is used to control the gas pipe line open and close between valve and the air pump, and solenoid valve is electrically connected with described output delay unit by lead.
Wherein, described bad card device for eliminating includes the pushing block that moves along the feed direction perpendicular to described pay-off, and pushing block is placed in the top of pay-off, and pushing block is equipped with the cylinder that is used to drive the pushing block action, and cylinder is electrically connected with described output delay unit.
Wherein, described pay-off is the ribbon feeding device, the ribbon feeding device includes preceding ribbon feeding device that is positioned at described valve front side and the back ribbon feeding device that is positioned at the valve rear side, preceding ribbon feeding device is provided with along feed direction at interval with back ribbon feeding device, valve is under the gap between preceding ribbon feeding device and the back ribbon feeding device, preceding ribbon feeding device and back ribbon feeding device include feeding belt and active roller that cooperates with feeding belt and return idler respectively, and each active roller is in transmission connection with described buncher respectively.
Wherein, described pay-off is the ribbon feeding device, active roller and return idler that the ribbon feeding device includes the vacuum adsorption type feeding belt and cooperates with the vacuum adsorption type feeding belt, active roller and described buncher are in transmission connection, wherein, the vacuum adsorption type feeding belt is equipped with vacuum absorption device.
Wherein, described issuance of materials device includes the issuance of materials box that is used to place electronic tag, and the discharging opening of issuance of materials box is provided with Height Adjustable adjustable plate, adjustable plate by screw retention in the issuance of materials box.
Wherein, the exit side of described pay-off is equipped with material collecting box.
The beneficial effects of the utility model are: a kind of electronic tag described in the utility model writes automatically, pick-up unit includes frame, the top of frame is provided with the pay-off that is driven by buncher, frame is disposed with the issuance of materials device along the feed direction of pay-off, initialization system, possess and write writing detection system and badly blocking device for eliminating of EPC coding and measuring ability, first antenna that initialization system includes first read write line and is electrically connected with first read write line, write second antenna that detection system includes second read write line and is electrically connected with second read write line, the issuance of materials device, first antenna and second antenna are set in turn in the top of pay-off along feed direction; First read write line, second read write line and bad card device for eliminating respectively with have treatment circuit and be connected with pcb board that computing machine is electrically connected.In the utility model course of work, buncher drives the pay-off action, the electronic tag to be written that is positioned at the issuance of materials device moves with pay-off and successively through first antenna, second antenna and bad card device for eliminating, respectively with initialization system, write pcb board that detection system and bad card device for eliminating be connected and coordinate the each part mentioned above action by the treatment circuit of inside and finish initialization with making electronic tag accurate, write and bad card rejecting is moved; So the utility model can realize that the EPC coding of electronic tag writes and detect processing automatically, prior art the utlity model has the advantage efficient, that automaticity is high relatively.
Description of drawings
Utilize accompanying drawing to come the utility model is further described below, but the embodiment in the accompanying drawing does not constitute any restriction of the present utility model.
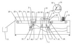
Fig. 1 writes automatically for a kind of electronic tag of the utility model, the structural representation of pick-up unit.
In Fig. 1, include:
1---frame 11---material collectingbox 2---pay-off
21---precedingribbon feeding devices 22---back ribbon feeding device
23---feeding belt 24---active roller 25---return idlers
3---issuance ofmaterials device 31---issuance ofmaterials box 32---adjustable plates
4---initialization system 41---first read writeline 42---first antennas
5------second readwrite line 52---second antennas that writedetection system 51
6---bad card device for eliminating 61---valve 62---solenoid valves
7---pcb board 8---photoelectric counting device 81---optoelectronic switches
82---photo amplifier 9---buncher.
Embodiment
Come the utility model is further described below in conjunction with embodiment.
Embodiment one, as shown in Figure 1, a kind of electronic tag writes automatically, pick-up unit, include frame 1, the top of frame 1 is provided with the pay-off 2 that is driven bybuncher 9, frame 1 is disposed with issuance ofmaterials device 3 along the feed direction of pay-off 2,initialization system 4, possess and writewriting detection system 5 and badly blocking device for eliminating 6 of EPC coding and measuring ability,first antenna 42 thatinitialization system 4 includes first readwrite line 41 and is electrically connected with first readwrite line 41, writesecond antenna 52 thatdetection system 5 includes secondread write line 51 and is electrically connected with secondread write line 51, issuance ofmaterials device 3,first antenna 42 andsecond antenna 52 are set in turn in the top of pay-off 2 along feed direction; First readwrite line 41, second readwrite line 51 and bad card device for eliminating 6 respectively with have treatment circuit and be connected withpcb board 7 that computing machine is electrically connected.
The main application of the utility model is the passive electronic label after the secondary encapsulation and mainly is to come electronic tag is write and detect processing automatically by UHF radiofrequency signal (superfrequency radiofrequency signal, frequency are the superfrequency radiowave of 300 ~ 3000MHz).Buncher 9 is equipped with speed setting controller, and speed setting controller is electrically connected and can momentarily adjusts according to the requirement of real work situation the feeding speed of pay-off 2 with buncher 9.Initialization system 4 is used for the electronic tag that enters underfirst antenna 42 is carried out initialization process, wherein, initialized purpose is: carry out the EPC coding and write readyly for the follow-up detection system 5 that writes, first readwrite line 41 provides necessary and energy activatedly is positioned at the electronic tag to be written underfirst antenna 42 and it is initialized to 96 EPC encoded radio.Writing detection system 5 is used for that the electronic tag that enters the initialization process undersecond antenna 52 is carried out the EPC coding and writes and handle and the electronic tag after writing is detected processing.Write electronic tag when errorless when what write thatdetection system 5 detected, electronic tag waltzs through the bad card device for eliminating 6 of rear side and finishes electronic tag with pay-off 2 and writes and detect processing; When the electronic tag that writes that writes thatdetection system 5 detected occurs when wrong, bad card device for eliminating 6 will enter the electronic tag of the write error of its perform region and reject from the top of pay-off 2.Issuance ofmaterials device 3,first antenna 42 andsecond antenna 52 are fixed in the top of pay-off 2 by corresponding fixing and mounting bracket.
In the utility model course of work,buncher 9 drives pay-off 2 actions, and the electronic tag to be written that is positioned at issuance ofmaterials device 3 is with pay-off 2 motions and successively throughfirst antenna 42,second antenna 52 and bad card device for eliminating 6.Respectively withinitialization system 4, writepcb board 7 thatdetection system 5 and bad card device for eliminating 6 be connected and coordinate the each part mentioned above action by the treatment circuit of inside and finish initialization with making electronic tag accurate, write and bad card rejecting is moved, wherein, the computing machine that is connected withpcb board 7 is equipped with corresponding application, and effective man-machine interaction be monitored and be provided with etc. and then be realized to this application program can to EPC that electronic tag write coding.Comprehensive above-mentioned situation as can be known, the utility model can realize that the EPC coding of electronic tag writes and detect processing automatically, prior art the utlity model has the advantage efficient, that automaticity is high relatively.
As preferred embodiment, the front side offirst antenna 42 is equiped with thephotoelectric counting device 8 that is used to detect the electronic tag number that entersinitialization system 4, andphotoelectric counting device 8 is electrically connected by the treatment circuit of lead with pcb board 7.In the utility model course of work,photoelectric counting device 8 is mainly used in and detects the electronic tag number that entersinitialization system 4,photoelectric counting device 8 feeds back to computing machine by the treatment circuit ofpcb board 7 with data, and the human-computer interaction interface of computing machine is monitored visually to the electronic tag number situation of handling.Further, thephoto amplifier 82 thatphotoelectric counting device 8 includesoptoelectronic switch 81 and is connected withoptoelectronic switch 81,photo amplifier 82 is electrically connected by the treatment circuit of lead with pcb board 7.Concrete condition according to pay-off 2, theoptoelectronic switch 81 that the utility model adopted can be the correlation optoelectronic switch, also can be reflective photoelectric switch, wherein, the effect ofoptoelectronic switch 81 is: according to electronic tag to be written to light beam block or the power of reflection ray is controlled the break-make ofoptoelectronic switch 81 and is determined to enter the electronic tag number ofinitialization system 4 according to this;Optoelectronic switch 81 converts the light signal of gathering electric signal to and carries out processing and amplifying by 82 pairs of electric signal of photo amplifier, and the electric signal after processing and amplifying transfers to the treatment circuit ofpcb board 7.
As preferred embodiment, the treatment circuit ofpcb board 7 includes the delay processing module, postponing processing module includes the start delay unit, writes card delay cell and output delay unit, wherein, the start delay unit is electrically connected with first readwrite line 41 andphotoelectric counting device 8 respectively, write card delay cell and be electrically connected with first readwrite line 41 and second readwrite line 51 respectively, the output delay unit is electrically connected with the bad card device for eliminating 6 and secondread write line 51 respectively.The start delay unit is mainly used in controlphotoelectric counting device 8 and detects electronic tag to be written to time that first readwrite line 41 is started working, the write latency unit is mainly used in control first read write line, 41 initialization electronic tag to be written and begins to write the time that EPC encodes to second readwrite line 51, and the output delay unit is mainly used in control second read writeline 51 and detects the electronic tag of write error to badly blocking the time that device for eliminating 6 is started working.The computer application program that is connected withpcb board 7 can be regulated the time delay of above-mentioned each delay cell according to the real work situation, and finishes initialization with finally making electronic tag accurate, writes and badly block the rejecting action.
In the utility model course of work, when electronic tag to be written enters to the surveyed area ofphotoelectric counting device 8, the time of start delay unit recordphotoelectric counting device 8 actions also feeds back to computing machine with this time signal, the computer application program is sent to first read writeline 41 according to the start delay time that sets with time signal, electronic tag to be written afterphotoelectric counting device 8 detects continues to continue to move with pay-off 2, when the start delay time arrives, first readwrite line 41 begins action, at this moment, electronic tag to be written just in time enterfirst antenna 42 under, so first readwrite line 41 can carry out initialization process to electronic tag to be written exactly; Writing card delay cell writes down the time of first read write line, 41 initialization process electronic tag to be written and this time signal is fed back to computing machine, the computer application program is sent to second readwrite line 51 with time signal according to the card of writing that sets time delay, electronic tag to be written after initialization process continues to move with pay-off 2, when writing card and arrive time delay, second readwrite line 51 begins action, at this moment, electronic tag to be written just in time entersecond antenna 52 under, so second readwrite line 51 can write the EPC encoding process to electronic tag to be written exactly; After treating that electronic tag writes the EPC end-of-encode, 51 pairs of second read write lines have write electronic tag and have detected, when the detected EPC coding that writes electronic tag and write occurs when wrong, the time of output delay unit record second readwrite line 51 detected electrons labels also feeds back to computing machine with this time signal, the computer application program is sent to bad card device for eliminating 6 according to the output delay time that sets with time signal, the electronic tag that writes after testing continues to move with pay-off 2, when output delay time arrives, bad card device for eliminating 6 begins action, at this moment, the electronic tag of write error just in time enters the perform region of bad card device for eliminating 6, so bad card device for eliminating 6 can be rejected the electronic tag of write error exactly from pay-off 2.
As preferred embodiment, bad card device for eliminating 6 includes thevalve 61 that is connected by gas pipe line with air pump, be equipped with thesolenoid valve 62 that is used to control the gas pipe line open and close betweenvalve 61 and the air pump,solenoid valve 62 is electrically connected with the output delay unit by lead.In the utility model course of work, when output delay time arrived,solenoid valve 62 was opened at thevalve 61 of switching under the control of output delay unit and will be in advance under the closure state; Aftervalve 61 was opened, the gases at high pressure that air pump transfers to were with the electronic tag of the write error pay-off 2 that blows off.In addition, for the electronic tag that guarantees write error can be blown off from pay-off 2 smoothly and easily, the utility model is obliquely installedvalve 61 in the below of pay-off 2.
As preferred embodiment, pay-off 2 is the ribbon feeding device, the ribbon feeding device includes precedingribbon feeding device 21 that is positioned atvalve 61 front sides and the backribbon feeding device 22 that is positioned atvalve 61 rear sides, beforeribbon feeding device 21 and backribbon feeding device 22 be provided with at interval along feed direction,valve 61 is under the gap between precedingribbon feeding device 21 and the backribbon feeding device 22,active roller 24 andreturn idler 25 that precedingribbon feeding device 21 and backribbon feeding device 22 includefeeding belt 23 respectively and cooperate withfeeding belt 23, eachactive roller 24 is in transmission connection withbuncher 9 respectively.As shown in Figure 1, thefeeding belt 23 of precedingribbon feeding device 21 passes through electronic tag successively issuance ofmaterials device 3,photoelectric counting device 8,initialization system 4, writes the end thatdetection system 5 is sent to precedingribbon feeding device 21, during gap before the electronic tag that is detected as write error enters betweenribbon feeding device 21 and the backribbon feeding device 22, be positioned at thatvalve 61 under this gap moves and with the electronic tag of write error this ribbon feeding device that blows off; When detected electronic tag writes when errorless,feeding belt 23 tops ofribbon feeding device 22 after the electronic tag that thefeeding belt 23 of precedingribbon feeding device 21 transmits directly is transferred into.
As preferred embodiment, issuance ofmaterials device 3 includes the issuance ofmaterials box 31 that is used to place electronic tag, and the discharging opening of issuance ofmaterials box 31 is provided with Height Adjustableadjustable plate 32,adjustable plate 32 by screw retention in issuance of materials box 31.In the utility model course of work, electronic tag to be written is placed in the containing cavity of issuance ofmaterials box 31, the containing cavity bottom hollow out of issuance ofmaterials box 31, in the containing cavity the electronic tag the most to be written of below contact with the upper surface of thefeeding belt 23 of precedingribbon feeding device 21, because the effect of friction force, the electronic tag of putting into containing cavity is transferred intophotoelectric counting device 8,initialization system 4 and writesdetection system 5 etc. through the discharging opening of issuance ofmaterials box 31 successively; So issuance ofmaterials box 31 of the present utility model has automatic feeding function.In addition, for the electronic tag after secondary encapsulation with different-thickness, the open height that the utility model can be regulated discharging opening by theadjustable plate 32 of regulating issuance ofmaterials box 31 discharging opening upsides; Wherein,adjustable plate 32 offers the fixed orifice of oval shape, and screw is fixed together by this fixed orifice and issuance ofmaterials box 31; When the open height of the discharging opening of regulating issuance ofmaterials box 31, unscrew screw and moveadjustable plate 32 along the fixed orifice of oval shape and can realize highly adjusting.Further, the exit side of pay-off 2 is equipped withmaterial collecting box 11;Material collecting box 11 is mainly used in and is collected in together writing errorless electronic tag, convenient arrangement.
Embodiment two, the difference of present embodiment and embodiment one is: bad card device for eliminating 6 includes along perpendicular to the pushing block of the feed direction action of pay-off 2 (among the figure for illustrating), pushing block is placed in the top of pay-off 2, pushing block is equipped with the cylinder (figure is for illustrating) that is used for driving the pushing block action, and cylinder is electrically connected with the output delay unit.Similar with bad card device for eliminating 6 course of action among the embodiment one, in the utility model course of work, when output delay time arrived, cylinder was switched under the control of output delay unit and is driven pushing block action, and the pushing block crosswise movement also pushes away pay-off 2 with the electronic tag of write error.In addition, bad card device for eliminating 6 of the present utility model can also adopt robot manipulator structure to go bad the card rejecting.
Embodiment three, the difference of present embodiment and embodiment one is: pay-off 2 is the ribbon feeding device,active roller 24 andreturn idler 25 that the ribbon feeding device includes vacuum adsorption type feeding belt (being to illustrate among the figure) and cooperates with the vacuum adsorption type feeding belt,active roller 24 is in transmission connection withbuncher 9, wherein, the vacuum adsorption type feeding belt is equipped with the vacuum absorption device (not shown).In pay-off 2 courses of work of present embodiment, the containing cavity that is positioned at issuance ofmaterials box 31 electronic tag the most to be written of below because the suction-operated of vacuum absorption device and moving with the vacuum adsorption type feeding belt; Because the suction-operated of vacuum absorption device, electronic tag transports process stabilization and is convenient to control in the whole phenomenon such as can not occur in the process skidding of transporting.In addition, above-mentioned vacuum absorption device includes vacuum air pump, the vacuum tank that cooperates with the vacuum adsorption type feeding belt and corresponding gas pipe line etc.
Above content only is preferred embodiment of the present utility model, for those of ordinary skill in the art, according to thought of the present utility model, the part that all can change in specific embodiments and applications, this description should not be construed as restriction of the present utility model.

Claims (10)

Translated fromChinese
1.一种电子标签自动写入、检测装置,包括有机架(1),其特征在于:机架(1)的上部设置有由调速电机(9)驱动的送料装置(2),机架(1)沿送料装置(2)的送料方向依次设置有发料装置(3)、初始化系统(4)、具备写入EPC编码和检测功能的写入检测系统(5)以及坏卡剔除装置(6),初始化系统(4)包括有第一读写器(41)以及与第一读写器(41)电连接的第一天线(42),写入检测系统(5)包括有第二读写器(51)以及与第二读写器(51)电连接的第二天线(52),发料装置(3)、第一天线(42)以及第二天线(52)沿送料方向依次设置于送料装置(2)的上方;第一读写器(41)、第二读写器(51)以及坏卡剔除装置(6)分别与具有处理电路并与计算机电连接的PCB板(7)连接。1. An electronic label automatic writing and detection device, including a frame (1), characterized in that: the upper part of the frame (1) is provided with a feeding device (2) driven by a speed-regulating motor (9), the machine Along the feeding direction of the feeding device (2), the rack (1) is sequentially equipped with a feeding device (3), an initialization system (4), a writing detection system (5) with the function of writing EPC codes and detection functions, and a bad card removal device (6), the initialization system (4) includes a first reader-writer (41) and a first antenna (42) electrically connected to the first reader-writer (41), and the writing detection system (5) includes a second The reader (51) and the second antenna (52) electrically connected to the second reader (51), the material sending device (3), the first antenna (42) and the second antenna (52) in sequence along the feeding direction It is arranged above the feeding device (2); the first reader-writer (41), the second reader-writer (51) and the bad card rejecting device (6) are respectively connected to the PCB board (7) which has a processing circuit and is electrically connected to a computer. )connect.2.根据权利要求1所述的一种电子标签自动写入、检测装置,其特征在于:所述第一天线(42)的前侧装设有用于检测进入所述初始化系统(4)的电子标签数目的光电计数装置(8),光电计数装置(8)通过导线与所述PCB板(7)的处理电路电连接。2. An electronic tag automatic writing and detection device according to claim 1, characterized in that: the front side of the first antenna (42) is equipped with an electronic device for detecting entry into the initialization system (4). A photoelectric counting device (8) for the number of labels, and the photoelectric counting device (8) is electrically connected to the processing circuit of the PCB board (7) through wires.3.根据权利要求2所述的一种电子标签自动写入、检测装置,其特征在于:所述光电计数装置(8)包括有光电开关(81)以及与光电开关(81)连接的光电放大器(82),光电放大器(82)通过导线与所述PCB板(7)的处理电路电连接。3. An electronic tag automatic writing and detection device according to claim 2, characterized in that: the photoelectric counting device (8) includes a photoelectric switch (81) and a photoelectric amplifier connected to the photoelectric switch (81) (82), the photoelectric amplifier (82) is electrically connected to the processing circuit of the PCB board (7) through wires.4.根据权利要求2所述的一种电子标签自动写入、检测装置,其特征在于:所述PCB板(7)的处理电路包括有延迟处理模块,延迟处理模块包括有启动延迟单元、写卡延迟单元以及输出延迟单元,其中,启动延迟单元分别与所述第一读写器(41)以及所述光电计数装置(8)电连接,写卡延迟单元分别与第一读写器(41)以及所述第二读写器(51)电连接,输出延迟单元分别与所述坏卡剔除装置(6)以及第二读写器(51)电连接。4. An electronic tag automatic writing and detection device according to claim 2, characterized in that: the processing circuit of the PCB board (7) includes a delay processing module, and the delay processing module includes a start delay unit, a write A card delay unit and an output delay unit, wherein the start delay unit is electrically connected to the first reader-writer (41) and the photoelectric counting device (8) respectively, and the write-card delay unit is respectively connected to the first reader-writer (41 ) and the second reader/writer (51) are electrically connected, and the output delay unit is electrically connected to the bad card rejecting device (6) and the second reader/writer (51) respectively.5.根据权利要求4所述的一种电子标签自动写入、检测装置,其特征在于:所述坏卡剔除装置(6)包括有与气泵通过输气管道连接的气嘴(61),气嘴(61)与气泵之间配设有用于控制输气管道开、闭的电磁阀(62),电磁阀(62)通过导线与所述输出延迟单元电连接。5. An electronic label automatic writing and detection device according to claim 4, characterized in that: the bad card rejecting device (6) includes an air nozzle (61) connected to the air pump through an air pipeline, and the air An electromagnetic valve (62) for controlling the opening and closing of the air pipeline is arranged between the nozzle (61) and the air pump, and the electromagnetic valve (62) is electrically connected to the output delay unit through wires.6.根据权利要求4所述的一种电子标签自动写入、检测装置,其特征在于:所述坏卡剔除装置(6)包括有沿垂直于所述送料装置(2)的送料方向动作的推块,推块安置于送料装置(2)的上方,推块配设有用于驱动推块动作的气缸,气缸与所述输出延迟单元电连接。6. An electronic label automatic writing and detection device according to claim 4, characterized in that: the bad card rejecting device (6) includes a device that moves along the feeding direction perpendicular to the feeding device (2). Push block, the push block is placed above the feeding device (2), the push block is equipped with a cylinder for driving the push block, and the cylinder is electrically connected to the output delay unit.7.根据权利要求5所述的一种电子标签自动写入、检测装置,其特征在于:所述送料装置(2)为皮带送料装置,皮带送料装置包括有位于所述气嘴(61)前侧的前皮带送料装置(21)以及位于气嘴(61)后侧的后皮带送料装置(22),前皮带送料装置(21)与后皮带送料装置(22)沿送料方向间隔设置,气嘴(61)位于前皮带送料装置(21)与后皮带送料装置(22)之间的间隙的正下方,前皮带送料装置(21)以及后皮带送料装置(22)分别包括有送料皮带(23)以及与送料皮带(23)配合的主动滚轮(24)和从动滚轮(25),各主动滚轮(24)分别与所述调速电机(9)传动连接。7. An electronic label automatic writing and detection device according to claim 5, characterized in that: the feeding device (2) is a belt feeding device, and the belt feeding device includes a device located in front of the air nozzle (61). The front belt feeding device (21) on the side and the rear belt feeding device (22) on the rear side of the air nozzle (61), the front belt feeding device (21) and the rear belt feeding device (22) are arranged at intervals along the feeding direction, and the air nozzle (61) is located directly below the gap between the front belt feeding device (21) and the rear belt feeding device (22), the front belt feeding device (21) and the rear belt feeding device (22) respectively include a feeding belt (23) And the driving roller (24) and the driven roller (25) matched with the feeding belt (23), each driving roller (24) is respectively connected with the transmission of the speed regulating motor (9).8.根据权利要求6所述的一种电子标签自动写入、检测装置,其特征在于:所述送料装置(2)为皮带送料装置,皮带送料装置包括有真空吸附式送料皮带以及与真空吸附式送料皮带配合的主动滚轮(24)与从动滚轮(25),主动滚轮(24)与所述调速电机(9)传动连接,其中,真空吸附式送料皮带配设有真空吸附装置。8. An electronic label automatic writing and detection device according to claim 6, characterized in that: the feeding device (2) is a belt feeding device, and the belt feeding device includes a vacuum adsorption feeding belt and a vacuum adsorption The driving roller (24) and the driven roller (25) matched with the type feeding belt, and the driving roller (24) is connected with the speed regulating motor (9) in transmission, wherein the vacuum adsorption feeding belt is equipped with a vacuum adsorption device.9.根据权利要求1所述的一种电子标签自动写入、检测装置,其特征在于:所述发料装置(3)包括有用于放置电子标签的发料盒(31),发料盒(31)的出料口设置有高度可调节的调节板(32),调节板(32)通过螺钉固定于发料盒(31)。9. An electronic label automatic writing and detection device according to claim 1, characterized in that: the material delivery device (3) includes a material delivery box (31) for placing electronic labels, a material delivery box ( The outlet of 31) is provided with a height-adjustable adjustment plate (32), and the adjustment plate (32) is fixed to the delivery box (31) by screws.10.根据权利要求1所述的一种电子标签自动写入、检测装置,其特征在于:所述送料装置(2)的出料侧配设有集料盒(11)。10. An electronic tag automatic writing and detection device according to claim 1, characterized in that: a collecting box (11) is provided on the discharge side of the feeding device (2).
CN2011200830199U2011-03-252011-03-25 An electronic label automatic writing and detection deviceExpired - Fee RelatedCN201965643U (en)

Priority Applications (1)

Application NumberPriority DateFiling DateTitle
CN2011200830199UCN201965643U (en)2011-03-252011-03-25 An electronic label automatic writing and detection device

Applications Claiming Priority (1)

Application NumberPriority DateFiling DateTitle
CN2011200830199UCN201965643U (en)2011-03-252011-03-25 An electronic label automatic writing and detection device

Publications (1)

Publication NumberPublication Date
CN201965643Utrue CN201965643U (en)2011-09-07

Family

ID=44528190

Family Applications (1)

Application NumberTitlePriority DateFiling Date
CN2011200830199UExpired - Fee RelatedCN201965643U (en)2011-03-252011-03-25 An electronic label automatic writing and detection device

Country Status (1)

CountryLink
CN (1)CN201965643U (en)

Cited By (8)

* Cited by examiner, † Cited by third party
Publication numberPriority datePublication dateAssigneeTitle
CN102129587A (en)*2011-03-252011-07-20东莞永洪印刷有限公司 An electronic label automatic writing and detection device
CN103028552A (en)*2013-01-172013-04-10上海美声服饰辅料有限公司Device for automatically detecting and collecting electronic labels
CN103489020A (en)*2013-09-302014-01-01无锡众望四维科技有限公司Automatic electronic tag reading-writing device
CN103942801A (en)*2014-04-292014-07-23成都普什信息自动化有限公司Liquor electronic anti-counterfeit label detection machine
CN104692028A (en)*2015-02-022015-06-10电子科技大学Conveying belt adsorption device capable of selecting vacuum adsorption or electromagnetic adsorption
CN108416409A (en)*2018-05-152018-08-17上海坤锐电子科技有限公司Radio-frequency identification reader/writer, radio-frequency recognition system and automatic vending machine
CN110239808A (en)*2019-05-272019-09-17浙江美声智能系统有限公司 Electronic label online detection and marking system
CN112686067A (en)*2020-12-302021-04-20博纬智能科技(无锡)有限公司Real-time cargo detection method and system based on image and radio frequency identification

Cited By (10)

* Cited by examiner, † Cited by third party
Publication numberPriority datePublication dateAssigneeTitle
CN102129587A (en)*2011-03-252011-07-20东莞永洪印刷有限公司 An electronic label automatic writing and detection device
CN103028552A (en)*2013-01-172013-04-10上海美声服饰辅料有限公司Device for automatically detecting and collecting electronic labels
CN103028552B (en)*2013-01-172014-12-10上海美声服饰辅料有限公司Device for automatically detecting and collecting electronic labels
CN103489020A (en)*2013-09-302014-01-01无锡众望四维科技有限公司Automatic electronic tag reading-writing device
CN103942801A (en)*2014-04-292014-07-23成都普什信息自动化有限公司Liquor electronic anti-counterfeit label detection machine
CN104692028A (en)*2015-02-022015-06-10电子科技大学Conveying belt adsorption device capable of selecting vacuum adsorption or electromagnetic adsorption
CN104692028B (en)*2015-02-022017-04-05电子科技大学A kind of conveyer belt adsorbent equipment of optional vacuum suction or electromagnetic adsorption
CN108416409A (en)*2018-05-152018-08-17上海坤锐电子科技有限公司Radio-frequency identification reader/writer, radio-frequency recognition system and automatic vending machine
CN110239808A (en)*2019-05-272019-09-17浙江美声智能系统有限公司 Electronic label online detection and marking system
CN112686067A (en)*2020-12-302021-04-20博纬智能科技(无锡)有限公司Real-time cargo detection method and system based on image and radio frequency identification

Similar Documents

PublicationPublication DateTitle
CN102129587A (en) An electronic label automatic writing and detection device
CN201965643U (en) An electronic label automatic writing and detection device
CN103279774B (en)Mobile electron tag performance detection system and detection method
CN201357149Y (en)Remote box-type line sorting control device based on radio frequency identification
CN201876892U (en)Scanning-type radio frequency identification (RFID) antenna system
CN108985126A (en)Intelligent baggage identification system
CN202296071U (en)Automatic information acquisition, identification and code-sticking system for tobacco material box
CN108182373B (en)RFID intelligent environment-friendly express collection and package sorting management system
CN104368533B (en)Radio frequency mail treatment system and control method
CN112258133B (en) A baggage tracking and identification system and method based on RFID technology
CN108405350A (en)Logistics Automated Sorting System based on RFID technique
CN102129596A (en)Active radio-frequency label and operating mode switching method thereof
CN203319102U (en)Rotation library for automatically stocktaking and positioning to layers
CN101714274A (en)Cassette management system and method
CN209956703U (en)Clothing storage management equipment based on internet of things
CN104537749B (en)A kind of ticket checking system based on RFID
CN205270153U (en)Auxiliary device of airport luggage letter sorting system based on RFID
US11544485B2 (en)Device and method for coding high frequency (HF) transponders
CN201464840U (en)Controller for equipment cabinet
CN114037034A (en)Steel plate production informatization process tracing system and method based on RFID technology
CN202838372U (en)Storage detection device
CN206370086U (en)Intelligent identifying system and smart packages
CN209182834U (en) A matrix-based multiple RFID or NFC reader interference solution device
CN204429731U (en)A kind of automatic sorting control system of object
CN202662077U (en)Vehicle-mounted intelligent automatic identification passageway based on radio frequency identification device (RFID) technology

Legal Events

DateCodeTitleDescription
C14Grant of patent or utility model
GR01Patent grant
CF01Termination of patent right due to non-payment of annual fee

Granted publication date:20110907

Termination date:20190325

CF01Termination of patent right due to non-payment of annual fee

[8]ページ先頭

©2009-2025 Movatter.jp