Movatterモバイル変換


[0]ホーム

URL:


CN201849853U - Vehicle-mounted device for refrigerating, wetting and refreshing fruit and vegetables - Google Patents

Vehicle-mounted device for refrigerating, wetting and refreshing fruit and vegetables
Download PDF

Info

Publication number
CN201849853U
CN201849853UCN2010202865342UCN201020286534UCN201849853UCN 201849853 UCN201849853 UCN 201849853UCN 2010202865342 UCN2010202865342 UCN 2010202865342UCN 201020286534 UCN201020286534 UCN 201020286534UCN 201849853 UCN201849853 UCN 201849853U
Authority
CN
China
Prior art keywords
key
humidity
temperature
controller
adjustment
Prior art date
Legal status (The legal status is an assumption and is not a legal conclusion. Google has not performed a legal analysis and makes no representation as to the accuracy of the status listed.)
Expired - Fee Related
Application number
CN2010202865342U
Other languages
Chinese (zh)
Inventor
冯光远
Current Assignee (The listed assignees may be inaccurate. Google has not performed a legal analysis and makes no representation or warranty as to the accuracy of the list.)
JILIN HENGHUI TECHNOLOGY DEVELOPMENT GROUP Co Ltd
Original Assignee
JILIN HENGHUI TECHNOLOGY DEVELOPMENT GROUP Co Ltd
Priority date (The priority date is an assumption and is not a legal conclusion. Google has not performed a legal analysis and makes no representation as to the accuracy of the date listed.)
Filing date
Publication date
Application filed by JILIN HENGHUI TECHNOLOGY DEVELOPMENT GROUP Co LtdfiledCriticalJILIN HENGHUI TECHNOLOGY DEVELOPMENT GROUP Co Ltd
Priority to CN2010202865342UpriorityCriticalpatent/CN201849853U/en
Application grantedgrantedCritical
Publication of CN201849853UpublicationCriticalpatent/CN201849853U/en
Anticipated expirationlegal-statusCritical
Expired - Fee Relatedlegal-statusCriticalCurrent

Links

Images

Landscapes

Abstract

The utility model discloses a vehicle-mounted device for refrigerating, wetting and refreshing fruit and vegetables, which comprises a humid air sender, a remote communication controller and a humidity controller, wherein in the humidity controller, an adjusting key +, an adjusting key -, a presetting key, a selecting key, a locking and unlocking key, an engine switch key, a conversion switch key, a temperature sensor, a humidity sensor and a water level sensor are respectively arranged between the input end of a central processing unit and the ground; the output end of the central processing unit is respectively connected to a GPS display window, a full-automatic diesel motor, a built-in machine of air conditioner and a power supply control end of a temperature and humidity adjusting pump; and the output end of the humidity controller is connected to the input end of the remote communication controller. The function of automatically controlling the temperature and the humidity can be realized by the device so as to keep the temperature and the humidity inside a vehicle within a preset scope and efficiently prevent fruit and vegetables from rotting or drying up in the transportation process. The device provided by the utility model has the advantages of novel concept, scientific and reasonable structure, reliable and stable working property, convenient and easy operation for automatic control, wide application in the industry, and the like.

Description

A kind of vehicle-mounted fruit and vegetable refrigerating humidification preservation device
Technical field: the utility model relates to a kind of cold storing and fresh-keeping device, specifically, relates to a kind of mounted refrigerating equipment to the refrigeration of fruits and vegetables, humidification, fresh-keeping cold storing and fresh-keeping device.
Background technology: along with the skill of agricultural cience and farming techniques is flourish, the appearance of rural area warmhouse booth is gone on the market agricultural byproducts such as winter vegetable, fruit in a large number, and the fresh-keeping problem in the transportation of fruits and vegetables north and south just seems particularly important.Generally all adopt van cooler to carry out fresh-keeping at present to fruits and vegetables, although van cooler all is equipped with attemperating unit, but all be to utilize a temperature sensor that the temperature of a certain attachment point in the car is controlled generally, can not more properly reflect real temperature conditions in the car, be unfavorable for fresh-keeping.And do not have humidity control, easily cause the rotten or shrivelled of fruits and vegetables.More the information of vehicle-mounted fruit and vegetable refrigerating and fresh-retaining can not be carried out teletransmission.
Summary of the invention: the purpose of this utility model is that a kind of vehicle-mounted fruit and vegetable refrigerating humidification preservation device will be provided.Mainly be to solve existing van cooler in fruits and vegetables long-distance transport process, the control of the temperature of existence is true inadequately, is unfavorable for fresh-keeping and does not have humidity control, easily cause fruits and vegetables rot or shrivelled, and the information of vehicle-mounted fruit and vegetable refrigerating and fresh-retaining can not be carried out the problem of teletransmission.
Scheme of the present utility model is as described below: this vehicle-mounted fruit and vegetable refrigerating humidification preservation device comprises by full-automatic diesel motor, electrical generator, modem, towards battery, voltage-stabilizing controller, the DC regulated power supply that source switch is formed and by the external machine of air-conditioning, the built-in machine of air-conditioning, the air conditioner that admission port is formed, also comprise central controller, the GPS display window, the GPS Vehicle mounted station, microphone, challenge switch, video frequency pick-up head, communication interface, adjustment+key, adjustment-key, the preparatory function key, selection function key, locking key is separated in locking, the motor switch key, the change-over swith key, temperature sensor, humidity sensor, the adjustment pump, the humidity control pump, the condensation water header tank, water level detector, gas diffluence room, shunt catheter, fog diffluence room, fog isocon and nozzle, it is by warm and humid gas transmitter is set, telecommunication controller and temperature and humidity controller, in temperature and humidity controller, between central process unit input control end and the ground adjustment+key is set respectively, adjustment-key, the preparatory function key, selection function key, locking key is separated in locking, the motor switch key, the change-over swith key, temperature sensor, humidity sensor, water level detector, the output control terminal of central process unit respectively with the GPS display window, the built-in machine of air-conditioning in the full-automatic diesel motor of direct supply and the warm and humid gas transmitter, the adjustment pump, the power control terminal of the humidity control pump composition that is connected, and the output control terminal of temperature and humidity controller is connected with the incoming signal end of telecommunication controller realizes.
Described warm and humid gas transmitter is to utilize full-automatic diesel motor that it is connected through the external machine of drive belt and air-conditioning, underbelly at the built-in machine of air-conditioning is provided with gas indwelling chamber, gas keep somewhere bottom, chamber pipeline respectively with three adjustment pumps, be linked in sequence with the cooresponding gas of adjustment pump diffluence room and with gas diffluence room bonded assembly shunt catheter, also connect inside by the road at fuselage one end of the built-in machine of air-conditioning and be provided with humidity control pump and water level detector, the top is provided with the condensation water header tank of outgate, the condensation water header tank connects fog diffluence room by the road, fog diffluence room is connected to form through fog isocon and described each gas diffluence room inwardly projecting orifice again.
Described telecommunication controller is to be connected by GPS Vehicle mounted station and input end bonded assembly microphone, challenge switch, video frequency pick-up head and the set communication interface of mouth.
The beneficial effects of the utility model: this utility model is owing to taked said structure, particularly be provided with central process unit and Temperature Humidity Sensor, the temperature and humidity controller that humiture adjusting pump etc. is formed, and warm and humid gas transmitter, the telecommunication controller, organic cooperation of direct supply, make this utility model can be when actual temperature that temperature sensor is surveyed is lower than set temperature value, the air conditioner SELF CL, shunt catheter in the warm and humid gas transmitter does not have cold air and carries in van cooler, when wherein one when being higher than set temperature value of temperature sensor measured temperature, the work of warm and humid gas transmitter, shunt catheter carry cold air till reach setting value in car.And when humidity sensor institute hygrometric degree is lower than setting value, self-opening humidity control pump is still carried fog by shunt catheter in car, the opposite conveying that when humidity sensor institute hygrometric degree is higher than setting value, just stops fog automatically, and can by change-over swith realize refrigeration with heat mutual conversion, can give heat compensation when temperature is too low especially in the winter time.Thereby vehicle interior temperature and humidity are remained in the range of set value.Make fruits and vegetables obtain appropriate cold storing and fresh-keeping, and observe directly the cold storing and fresh-keeping situation, effectively avoid fruits and vegetables rotting or shrivelled phenomenon in the long-distance transport process by the video frequency pick-up head that is arranged in the insulation casing.Can also will carry out teletransmission for information about by the telecommunication controller.The reliable goal of the invention that realizes.Have simultaneously that inventive concept is novel unique, scientific structure design rationally, advantage such as stable and reliable working performance, automatic guidance be simple and easy to do, be fit to promote in the industry.
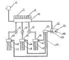
Description of drawings: Fig. 1 is vehicle-mounted fruit and vegetable refrigerating humidification preservation device electrical block diagram;
Fig. 2 is a warm and humid gas transmitter architecture scheme drawing in the vehicle-mounted fruit and vegetable refrigerating humidification preservation device.
The specific embodiment: combine by DC regulated power supply, warm and humid gas transmitter, temperature and humidity controller and telecommunication controller four parts by Fig. 1, of the present utility model vehicle-mounted fruit and vegetable refrigerating humidification preservation device shown in Figure 2 and to constitute.Wherein DC regulated power supply be by full-automatic diesel motor 9 provide 1 generating of power, electrical generator, modem 2 carries out demodulation, give towards battery 3 dash electricity, through voltage-stabilizing controller 4 voltage stabilizings, enter this device by source switch 5 again and provide working power for the utility model.Wherein warm and humid gas transmitter is on the air conditioner that the existing external machine 6 of air-conditioning, the built-in machine 7 of air-conditioning,admission port 8 are formed, utilize full-automatic diesel motor 9 that it is connected through the external machine 6 of drive belt and air-conditioning, at the underbelly of the built-in machine 7 of air-conditioning gas is set and keeps somewherechamber 10, gas keep somewherechamber 10 bottom pipelines divide three the tunnel be linked in sequence threeadjustment pumps 11,12,13, with the corresponding gas ofadjustment pump 11,12,13diffluence room 14,15,16 and withgas diffluence room 14,15,16 bondedassembly shunt catheters 17,18,19.Also connect inside by the road at fuselage one end of the built-in machine 7 of air-conditioning and be provided withhumidity control pump 20 andwater level detector 46, the top is provided with the condensationwater header tank 22 of outgate 21.Condensationwater header tank 22 connectsfog diffluence room 23 by the road,fog diffluence room 23 is connected to form throughfog isocon 24 and describedgas diffluence room 14,15,16inner set nozzles 25,26,27 again.Temperature and humidity controller of the present utility model is a core component withcentral process unit 28, between the input control end ofcentral process unit 28 and ground, be provided with adjustment+key 29 respectively, adjustment-key 30,preparatory function key 31, selection function key 32, locking key 33 is separated in locking, motor switch key 34, change-over swith key 35,temperature sensor 36,37,38,humidity sensor 39 andwater level detector 46, the output control terminal ofcentral process unit 28 respectively with GPS display window 40, the full-automatic diesel motor 9 of direct supply, built-in machine 7 of air-conditioning in the warm and humid gas transmitter andadjustment pump 11,12,13, the power control terminal ofhumidity control pump 20 is connected to form.Described telecommunication controller is to be connected to form by GPS Vehicle mounted station 41 and with GPS Vehicle mounted station 41 input end bondedassembly microphones 42, challenge switch 43, video frequency pick-up head 44 and theset communication interface 45 of mouth.This telecommunication controller signals input end is GPS Vehicle mounted station 41 input ends with the output control terminal of temperature and humidity controller is that the output control terminal ofcentral process unit 28 is connected.
When the utility model is installed,temperature sensor 36,37,38,humidity sensor 39 and warm and humid gas transmitter should be arranged in the insulation casing, the external machine 6 of direct supply except that source switch 5 and air-conditioning is located at the outside of insulation casing.And other all parts all are arranged in the operator's compartment.
After the utility model is installed, the software programming program should be writecentral process unit 28 by specialized equipment, turn on the power switch 5, press change-over swith key 35 after the energising and be the refrigeration position, and then carry out parameter and set, select temperature or humidity bypreparatory function key 31, when temperature is set, by selection function key 32, selectcooresponding temperature sensor 36 or 37 or 38, adjust the setting value oftemperature sensor 36 or 37 or 38 again by adjustment+key 29 or adjustment-key 30.And by GPS display window 40 instant playback data.Adjust after setting completed, separate locking key 33 with data interlock by locking.Automatically generate temperature capping value and lower limits and deposit in by central process unit 28.Bypreparatory function key 31 humidity is set again, when humidity is set, adjust humidity set point by adjustment+key 29 or adjustment-key 30, adjust after setting completed, separate locking key 33 locking humidity by locking, as must reset temperature and humidity the time, presspreparatory function key 31 earlier, separate 33 times of locking key by locking again and get final product release second, adjust by the above step then for 6-8.After humiture is adjusted data interlock, press motor switch key 34, whole device begins automatic work after preheating 1-2 minute.During work, bytemperature sensor 36,37,38,humidity sensor 39 is sent measured temperature and moisture signal intocentral process unit 28, compare with the data of setting, when measured temperature is higher than the capping value,central process unit 28 output control terminals are to full-automatic diesel motor 9, built-in machine 7 of air-conditioning andadjustment pump 11,12,13, send power control signal, full-automatic diesel motor 9, the built-in machine 7 of air-conditioning,adjustment pump 11,12,13 work, the cold air that the built-in machine 7 of air-conditioning is produced is kept somewherechamber 10 through gas,adjustment pump 11,12,13,gas diffluence room 14,15,16, again by withgas diffluence room 14,15,16 bonded assemblys are provided with finelyporous shunt catheter 17,18,19 spray in the van cooler.When measured temperature was lower than preset lower limit, full-automatic diesel motor 9, the built-in machine 7 of air-conditioning,adjustment pump 11,12,13 quit work automatically under the control ofcentral process unit 28 output control terminals.Whentemperature sensor 36,37,38 when wherein a measured temperature is higher or lower than the set upper limit or lower limit temperature, all can be under the control ofcentral process unit 28 output control terminals reliable operation or quit work.Andhumidity sensor 39 ambient humidity of surveying is during less than set humidity, still under the control ofcentral process unit 28 output control terminals, makehumidity control pump 20 work in the condensationwater header tank 22, fog is throughfog diffluence room 23,fog isocon 24 andnozzle 25,26,27 enter in thegas diffluence room 14,15,16, spray in the van cooler throughshunt catheter 17,18,19 again.Whenhumidity sensor 39 ambient humidity of surveying during greater than set humidity,humidity control pump 20 will quit work and also not have fog simultaneously and discharge in van cooler.Humiture in the fruit and vegetable refrigerating transportation in the van cooler and the waterlevel data of being surveyed in the condensationwater header tank 22 bywater level detector 46 directly show by GPS display window 40, if displays temperature is crossed when hanging down, should press change-over swith key 35 for heating the position, under the control ofcentral process unit 28 output control terminals, provide heat compensation to van cooler by warm and humid gas transmitter, if showing condensationwater header tank 22 water levels crosses when low or anhydrous, cut offhumidity control pump 20 working powers under the control ofcentral process unit 28,humidity control pump 20 quits work.Under GPS display window 40 prompting byoutgate 21 inside water fillings.Humidity control pump 20 recovers normal operation automatically after water level rises.Guarantee that temperature and humidity in the car remain in the range of set value.Making fruits and vegetables obtain appropriate refrigeration heats fresh-keeping.GPS display window 40 is the visual windows that show every data ofcentral process unit 28 outputs, its reflection navigation, data transmission, video, communication, the fresh-keeping picture of full automaticity refrigeration humidification.Bypreparatory function key 31, the time is 3-5 second, and picture can arbitrarily switch.The utility model also can be connected with the external system computing machine by thecommunication interface 45 of telecommunication controller, presses the challenge switch 43 of telecommunication controller, bymicrophone 42, can carry out the system remote communication, video frequency pick-up head 44 work simultaneously.

Claims (3)

1. vehicle-mounted fruit and vegetable refrigerating humidification preservation device, comprise by full-automatic diesel motor (9), electrical generator (1), modem (2), towards battery (3), voltage-stabilizing controller (4), the DC regulated power supply that source switch (5) is formed and by the external machine of air-conditioning (6), the built-in machine of air-conditioning (7), the air conditioner that admission port (8) is formed, also comprise central process unit (28), GPS display window (40), GPS Vehicle mounted station (41), microphone (42), challenge switch (43), video frequency pick-up head (44), communication interface (45), adjustment+key (29), adjustment-key (30), preparatory function key (31), selection function key (32), locking key (33) is separated in locking, motor switch key (34), change-over swith key (35), temperature sensor (36,37,38), humidity sensor (39), adjustment pump (11,12,13), humidity control pump (20), condensation water header tank (22), water level detector (46) gas diffluence room (14,15,16), shunt catheter (17,18,19), fog diffluence room (23), fog isocon (24) and nozzle (25,26,27), it is characterized in that: this device is provided with warm and humid gas transmitter, telecommunication controller and temperature and humidity controller, in temperature and humidity controller, between central process unit (28) input control end and the ground adjustment+key (29) is set respectively, adjustment-key (30), preparatory function key (31), selection function key (32), locking key (33) is separated in locking, motor switch key (34), change-over swith key (35), temperature sensor (36,37,38), humidity sensor (39), water level detector (46), the output control terminal of central process unit (28) respectively with GPS display window (40), the built-in machine of air-conditioning (7) in full-automatic diesel motor of direct supply (9) and the warm and humid gas transmitter, adjustment pump (11,12,13), the power control terminal of humidity control pump (20) composition that is connected, and the output control terminal of temperature and humidity controller is connected with the incoming signal end of telecommunication controller.
2. vehicle-mounted fruit and vegetable refrigerating humidification preservation device according to claim 1, it is characterized in that: described warm and humid gas transmitter is to utilize full-automatic diesel motor (9) that it is connected through the external machine of drive belt and air-conditioning (6), underbelly at the built-in machine of air-conditioning (7) is provided with gas indwelling chamber (10), gas keep somewhere bottom, chamber (10) pipeline respectively with three adjustment pumps (11,12,13), with adjustment pump (11,12,13) cooresponding gas diffluence room (14,15,16) reach and gas diffluence room (14,15,16) the bonded assembly shunt catheter (17,18,19) be linked in sequence, also connect inside by the road at fuselage one end of the built-in machine of air-conditioning (7) and be provided with humidity control pump (20) and water level detector (46), the top is provided with the condensation water header tank (22) of outgate (21), condensation water header tank (22) connects fog diffluence room (23) by the road, again with fog diffluence room (23) through fog isocon (24) and described each gas diffluence room (14,15,16) inwardly projecting orifice (25,26,27) be connected.
CN2010202865342U2010-08-062010-08-06Vehicle-mounted device for refrigerating, wetting and refreshing fruit and vegetablesExpired - Fee RelatedCN201849853U (en)

Priority Applications (1)

Application NumberPriority DateFiling DateTitle
CN2010202865342UCN201849853U (en)2010-08-062010-08-06Vehicle-mounted device for refrigerating, wetting and refreshing fruit and vegetables

Applications Claiming Priority (1)

Application NumberPriority DateFiling DateTitle
CN2010202865342UCN201849853U (en)2010-08-062010-08-06Vehicle-mounted device for refrigerating, wetting and refreshing fruit and vegetables

Publications (1)

Publication NumberPublication Date
CN201849853Utrue CN201849853U (en)2011-06-01

Family

ID=44092256

Family Applications (1)

Application NumberTitlePriority DateFiling Date
CN2010202865342UExpired - Fee RelatedCN201849853U (en)2010-08-062010-08-06Vehicle-mounted device for refrigerating, wetting and refreshing fruit and vegetables

Country Status (1)

CountryLink
CN (1)CN201849853U (en)

Cited By (7)

* Cited by examiner, † Cited by third party
Publication numberPriority datePublication dateAssigneeTitle
CN102750756A (en)*2012-06-292012-10-24光明乳业股份有限公司Vehicle monitoring system
CN103055662A (en)*2012-12-302013-04-24同济大学Split type airflow processing method for adjusting airflow moisture content or relative humidity
CN103621612A (en)*2013-12-022014-03-12天津大学Movable fruit and vegetable temperature shock processing system without adopting electricity
CN105138054A (en)*2015-09-112015-12-09武汉威杜信息科技有限公司Logistics system
CN105905457A (en)*2016-06-072016-08-31陈魏魏Fresh fruit transport container
CN107577264A (en)*2017-09-282018-01-12江苏冠超物流科技有限公司A kind of cargo hold self-adapting environmental management system of haulage vehicle
CN108719743A (en)*2018-05-032018-11-02上海海事大学Double jet flow pump type fruits and vegetables meat vacuum cold preservation devices

Cited By (8)

* Cited by examiner, † Cited by third party
Publication numberPriority datePublication dateAssigneeTitle
CN102750756A (en)*2012-06-292012-10-24光明乳业股份有限公司Vehicle monitoring system
CN102750756B (en)*2012-06-292015-04-08光明乳业股份有限公司Vehicle monitoring system
CN103055662A (en)*2012-12-302013-04-24同济大学Split type airflow processing method for adjusting airflow moisture content or relative humidity
CN103621612A (en)*2013-12-022014-03-12天津大学Movable fruit and vegetable temperature shock processing system without adopting electricity
CN105138054A (en)*2015-09-112015-12-09武汉威杜信息科技有限公司Logistics system
CN105905457A (en)*2016-06-072016-08-31陈魏魏Fresh fruit transport container
CN107577264A (en)*2017-09-282018-01-12江苏冠超物流科技有限公司A kind of cargo hold self-adapting environmental management system of haulage vehicle
CN108719743A (en)*2018-05-032018-11-02上海海事大学Double jet flow pump type fruits and vegetables meat vacuum cold preservation devices

Similar Documents

PublicationPublication DateTitle
CN201849853U (en)Vehicle-mounted device for refrigerating, wetting and refreshing fruit and vegetables
CN105532156B (en)A kind of round-the-clock intelligent wireless Irrigation and fertilization system
CN205679265U (en)Farm environment unmanned plane information acquisition system
CN205567270U (en)Intelligent greenhouse big -arch shelter system
CN205671105U (en)A kind of film rolling device for green house
CN117322222A (en)Water and fertilizer integrated irrigation method and system based on citrus
CN105302207A (en)Automatic control system for black fungus cultivation in intelligent greenhouse
CN106134851A (en)Air water water-retaining type Multi-functional green house covered with plastic film systems based on new forms of energy
CN108934613B (en)Automatic sprinkling irrigation system of solar photovoltaic vegetable planting greenhouse
CN103353779A (en)Planting industry greenhouse control method and controller
CN209283928U (en)A kind of truss-like intelligent control irrigation sprinkler
CN207410915U (en)The outer seedling of multifunctional room cultivates vehicle
CN207028984U (en)It is a kind of to use solar powered direct current cold storage refrigerating system
CN215012323U (en)Intelligent green plant maintenance robot
CN207125053U (en)A kind of semi-underground planting edible mushroom greenhouse
CN209498122U (en)A kind of photovoltaic Precision Irrigation system
CN113306366A (en)Box commodity circulation conveying system of cold chain intelligence
CN209435867U (en)A kind of intelligent flowerpot frame by big data automatic planting
CN207783736U (en)A kind of green house of vegetables
CN205266372U (en)Apricot bao mushroom room
CN205384679U (en)Automatic self -service selling device of intelligent bulk white spirit of discernment identity
CN205428041U (en)Automatic intelligent bulk white spirit selling device of discernment identity
CN205384678U (en)Automatic bulk white spirit intelligence selling device of discernment identity
CN204719466U (en)Based on the intelligent greenhouse monitoring system of Internet of Things
CN105118165A (en)Intelligent bulk liquor vending machine capable of automatically recognizing identity

Legal Events

DateCodeTitleDescription
C14Grant of patent or utility model
GR01Patent grant
CF01Termination of patent right due to non-payment of annual fee

Granted publication date:20110601

Termination date:20160806

CF01Termination of patent right due to non-payment of annual fee

[8]ページ先頭

©2009-2025 Movatter.jp