
技术领域:Technical field:
本实用新型涉及消毒器械技术领域,特别涉及一种实验室用消毒仪器。The utility model relates to the technical field of disinfection equipment, in particular to a laboratory disinfection equipment.
背景技术:Background technique:
在科研、医疗或食品的加工实验室中,实验产物会在容器上产生各种污染物残留,因此,每次使用过的容器(如玻璃实验器皿)必须彻底清洁,而且对容器的清洁要求也不尽相同。此外,在清洗这些实验容器时,常常需要使用各种清洗剂,但清洗后,清洗剂本身不能成为残留物粘在实验容器上,因为残留的清洗剂的成分会对实验结果产生不利影响。In scientific research, medical or food processing laboratories, the experimental products will produce various pollutants on the container. Therefore, the used container (such as glass experimental vessel) must be cleaned thoroughly every time, and the cleaning requirements for the container are also strict. not exactly. In addition, when cleaning these experimental containers, it is often necessary to use various cleaning agents, but after cleaning, the cleaning agents themselves cannot become residues sticking to the experimental containers, because the components of the remaining cleaning agents will adversely affect the experimental results.
鉴于上述技术问题,迫切需要出现一种结构简单,使用方便,清洗效果好的实验室用消毒仪器。In view of the above-mentioned technical problems, there is an urgent need for a laboratory disinfection instrument with simple structure, easy to use and good cleaning effect.
发明内容:Invention content:
本实用新型的目的在于克服现有技术中存在的缺点,提供一种结构简单,使用方便,清洗效果好的实验室用消毒仪器。The purpose of the utility model is to overcome the shortcomings in the prior art, and provide a laboratory disinfection instrument with simple structure, convenient use and good cleaning effect.
为了实现上述目的,本实用新型提供了一种实验室用消毒仪器,包括机体和门体,其中,所述机体的底部设置有压力泵,所述压力泵的一侧设置有风机,所述机体的上部设置有旋转喷洗臂,所述机体与所述门体合页连接。In order to achieve the above object, the utility model provides a laboratory disinfection instrument, including a body and a door body, wherein a pressure pump is arranged at the bottom of the body, a fan is arranged on one side of the pressure pump, and the body The upper part of the body is provided with a rotating spray arm, and the body is connected with the door hinge.
所述机体的中间位置设置有多层消毒架,所述旋转喷洗臂上与所述消毒架上设置有若干喷淋孔,所述机体的一侧设置有水管与风管,所述旋转喷洗臂、所述消毒架、所述水管与所述压力泵螺纹连接,所述风管与所述水管平行设置,所述风管连接有所述风机。The middle position of the body is provided with a multi-layer disinfection rack, and a number of spray holes are arranged on the rotating spray arm and the disinfection rack, and water pipes and air ducts are arranged on one side of the body. The washing arm, the disinfection rack, and the water pipe are threadedly connected to the pressure pump, the air pipe is arranged in parallel with the water pipe, and the air pipe is connected with the fan.
所述机体内进一步设置有储液室,所述储液室内设置有加热管、液位控制器和加液管,所述加热管的一侧设置有液漂,所述液漂位于所述压力泵的上方,所述加液管位于所述液位控制器的上方,所述液位控制器位于所述加热管的上方,所述加热管与所述机体之间固连接。The body is further provided with a liquid storage chamber, and the liquid storage chamber is provided with a heating pipe, a liquid level controller and a liquid feeding pipe. One side of the heating pipe is provided with a liquid float, and the liquid float is located at the pressure Above the pump, the liquid adding pipe is located above the liquid level controller, the liquid level controller is located above the heating tube, and the heating tube is firmly connected to the body.
所述风管上设置有风机电磁阀,所述风机电磁阀与所述风机之间电连接。The air duct is provided with a fan solenoid valve, and the fan solenoid valve is electrically connected to the fan.
所述压力泵上进一步连接有源水管,所述源水管上设置有进水电磁阀,所述进水电磁阀与所述压力泵之间电连接。The pressure pump is further connected with an active water pipe, the water inlet solenoid valve is arranged on the water source pipe, and the water inlet solenoid valve is electrically connected with the pressure pump.
所述水管上设置有循环电磁阀,所述循环电磁阀与所述压力泵之间电连接。A circulation solenoid valve is arranged on the water pipe, and the circulation solenoid valve is electrically connected to the pressure pump.
所述储液室下部设置有排水管,所述排水管上设置有排水电磁阀,所述排水电磁阀与所述压力泵之间电连接。A drain pipe is arranged at the lower part of the liquid storage chamber, and a drain solenoid valve is arranged on the drain pipe, and the drain solenoid valve is electrically connected to the pressure pump.
所述旋转喷洗臂上的所述喷淋孔向下方喷水,所述消毒架上的所述喷淋孔向上方喷水,所述风管上设置有若干出风口,所述出风口与所述喷淋孔同向。The spray hole on the rotating spray arm sprays water downwards, the spray hole on the disinfection frame sprays water upwards, and the air duct is provided with several air outlets, the air outlets and The spray holes are in the same direction.
本实用新型突出优点为,结构简单,清洗实验器皿无死角,清洗效果,具体如下:The outstanding advantages of the utility model are that the structure is simple, there is no dead angle for cleaning the experimental vessel, and the cleaning effect is as follows:
1、旋转喷洗臂向下方旋转的喷洒液体,消毒架向上方喷洒液体,进而形成对流,清洗彻底,无死角。1. The rotating spray arm rotates downward to spray liquid, and the disinfection rack sprays liquid upward, thereby forming convection, thoroughly cleaning without dead ends.
2、清洗完毕后,风机启动,风管与水管平行设置,出风口与喷淋孔同向,自然风干燥。2. After cleaning, the fan starts, the air pipe and the water pipe are set in parallel, the air outlet and the spray hole are in the same direction, and the natural air is dried.
3、消毒架可根据实验器皿不同配备不同的消毒架,适合多种试验器皿的清洗消毒,适用性广,清洗消毒效果好。3. The disinfection rack can be equipped with different disinfection racks according to different experimental utensils, which is suitable for cleaning and disinfection of various experimental utensils, with wide applicability and good cleaning and disinfection effects.
附图说明:Description of drawings:
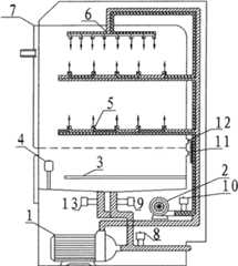
图1为本实用新型剖视图。Fig. 1 is a sectional view of the utility model.
附图标识:Drawing logo:
1、压力泵 2、风机 3、加热管1.
4、液漂 5、消毒架 6、旋转喷洗臂4.
7、门体 8、进水电磁阀 9、循环电磁阀7. Door
10、风机电磁阀 11、液位控制器 12、加液管10.
13、排水电磁阀13. Drain solenoid valve
具体实施方式:Detailed ways:
下面结合附图,对本实用新型进行说明。Below in conjunction with accompanying drawing, the utility model is described.
如图1所示,图1为本实用新型剖视图。其中,包括机体和门体7,机体的底部设置有压力泵1,压力泵1的一侧设置有风机2,机体的上部设置有旋转喷洗臂6,机体与门体7合页连接。机体的中间位置设置有多层消毒架5,旋转喷洗臂6上与消毒架5上设置有若干喷淋孔,机体的一侧设置有水管与风管,旋转喷洗臂6、消毒架5、水管与压力泵1螺纹连接,风管与水管平行设置,风管连接有风机2。机体内进一步设置有储液室,储液室内设置有加热管3、液位控制器11和加液管12,加热管3的一侧设置有液漂4,液漂4位于压力泵1的上方,加液管12位于液位控制器11的上方,液位控制器11位于加热管3的上方,加热管3与机体之间固连接。风管上设置有风机电磁阀10,风机电磁阀10与风机2之间电连接。压力泵1上进一步连接有源水管,源水管上设置有进水电磁阀8,进水电磁阀8与压力泵1之间电连接。水管上设置有循环电磁阀9,循环电磁阀9与压力泵1之间电连接。储液室下部设置有排水管,排水管上设置有排水电磁阀13,排水电磁阀13与压力泵1之间电连接。旋转喷洗臂6上的喷淋孔向下方喷水,消毒架5上的喷淋孔向上方喷水,风管上设置有若干出风口,出风口与喷淋孔同向。As shown in Figure 1, Figure 1 is a sectional view of the utility model. Wherein, comprise body and
本实用新型使用时,压力泵抽取储液室内的消毒液,通过循环电磁阀控制压力泵,对水管供水,水管的水流向旋转喷洗臂和消毒架,从其上的喷淋孔中喷出,旋转喷洗臂向下喷洒,消毒架向上喷洒,形成对流,当液位低于液漂或液位控制器指定水位时,加液管进水;当需要为储液室补充水时,进水电磁阀启动,源水管中的水经压力泵流入。当清洗完毕时,风机电磁阀控制风机启动,风管与水管平行设置,风管上出风口与水管上的喷淋孔同向,可以快速干燥试验器皿。When the utility model is used, the pressure pump extracts the disinfectant in the liquid storage chamber, and the pressure pump is controlled by a circulating solenoid valve to supply water to the water pipe, and the water in the water pipe flows to the rotating spray arm and the disinfection rack, and is sprayed out from the spray hole on it. , the rotating spray arm sprays downwards, and the disinfection rack sprays upwards to form convection. When the liquid level is lower than the water level specified by the liquid drift or the liquid level controller, the liquid filling pipe enters the water; The water solenoid valve starts, and the water in the source water pipe flows in through the pressure pump. When the cleaning is completed, the fan solenoid valve controls the fan to start, the air pipe and the water pipe are arranged in parallel, and the air outlet on the air pipe is in the same direction as the spray hole on the water pipe, which can quickly dry the test vessel.
综上所述,本实用新型很好的解决了所要解决的技术问题,提供了一种结构简单,使用方便,清洗效果的实验室用消毒仪器。To sum up, the utility model well solves the technical problems to be solved, and provides a laboratory disinfection instrument with simple structure, convenient use and good cleaning effect.
| Application Number | Priority Date | Filing Date | Title |
|---|---|---|---|
| CN2010202598233UCN201840686U (en) | 2010-07-16 | 2010-07-16 | Laboratory disinfection equipment |
| Application Number | Priority Date | Filing Date | Title |
|---|---|---|---|
| CN2010202598233UCN201840686U (en) | 2010-07-16 | 2010-07-16 | Laboratory disinfection equipment |
| Publication Number | Publication Date |
|---|---|
| CN201840686Utrue CN201840686U (en) | 2011-05-25 |
| Application Number | Title | Priority Date | Filing Date |
|---|---|---|---|
| CN2010202598233UExpired - Fee RelatedCN201840686U (en) | 2010-07-16 | 2010-07-16 | Laboratory disinfection equipment |
| Country | Link |
|---|---|
| CN (1) | CN201840686U (en) |
| Publication number | Priority date | Publication date | Assignee | Title |
|---|---|---|---|---|
| CN102825041A (en)* | 2012-08-15 | 2012-12-19 | 王曙光 | All-dimensional multilayered full-automatic multifunctional cleaning machine |
| CN103447272A (en)* | 2013-08-27 | 2013-12-18 | 国家电网公司 | Device for automatically cleaning glass wares of electric oil chemical laboratory |
| CN106292803A (en)* | 2016-09-22 | 2017-01-04 | 四川杜伯特科技有限公司 | A kind of control system of sterilizing machine |
| CN106620800A (en)* | 2016-11-29 | 2017-05-10 | 王伟华 | Overlay sterilization device for clinical laboratory |
| CN107186844A (en)* | 2017-04-01 | 2017-09-22 | 安徽省吉庆卫生用品有限公司 | A kind of Digesting stove |
| CN111530871A (en)* | 2020-05-13 | 2020-08-14 | 郑绡黠 | A self-cleaning degassing unit that disinfects for cell culture dish |
| Publication number | Priority date | Publication date | Assignee | Title |
|---|---|---|---|---|
| CN102825041A (en)* | 2012-08-15 | 2012-12-19 | 王曙光 | All-dimensional multilayered full-automatic multifunctional cleaning machine |
| CN102825041B (en)* | 2012-08-15 | 2014-10-29 | 王曙光 | All-dimensional multilayered full-automatic multifunctional cleaning machine |
| CN103447272A (en)* | 2013-08-27 | 2013-12-18 | 国家电网公司 | Device for automatically cleaning glass wares of electric oil chemical laboratory |
| CN106292803A (en)* | 2016-09-22 | 2017-01-04 | 四川杜伯特科技有限公司 | A kind of control system of sterilizing machine |
| CN106620800A (en)* | 2016-11-29 | 2017-05-10 | 王伟华 | Overlay sterilization device for clinical laboratory |
| CN106620800B (en)* | 2016-11-29 | 2020-02-18 | 青岛市市立医院 | A laboratory cover type sterilization device |
| CN107186844A (en)* | 2017-04-01 | 2017-09-22 | 安徽省吉庆卫生用品有限公司 | A kind of Digesting stove |
| CN111530871A (en)* | 2020-05-13 | 2020-08-14 | 郑绡黠 | A self-cleaning degassing unit that disinfects for cell culture dish |
| CN111530871B (en)* | 2020-05-13 | 2021-04-27 | 北京中卫医正科技有限公司 | A self-cleaning degassing unit that disinfects for cell culture dish |
| Publication | Publication Date | Title |
|---|---|---|
| CN201840686U (en) | Laboratory disinfection equipment | |
| CN102825041B (en) | All-dimensional multilayered full-automatic multifunctional cleaning machine | |
| CN204428474U (en) | A kind of Internal Medicine-Oncology disinfector | |
| CN207590991U (en) | A kind of medical instrument cleaning sterilizing device | |
| CN206777551U (en) | A kind of steam sterilization cabinet of automatic water supplement | |
| CN108485907A (en) | A kind of food inspection culture medium Rapid Cleaning infuser device | |
| CN109520232A (en) | A kind of teat glass high temperature drying disinfection device | |
| CN204582042U (en) | A kind of Novel Spanish roofing pharmacy equipment disinfection device | |
| CN205885851U (en) | Medical appliance decontaminating apparatus | |
| CN207119600U (en) | A kind of medical cleaning sterilizing device | |
| CN204561447U (en) | A kind of control water drying type container cabinet | |
| CN204684243U (en) | A kind of medical apparatus and instruments high pressure sterilization device | |
| CN205307435U (en) | Milk bottle automatic sterilizing equipment | |
| CN206660166U (en) | A kind of medical use apparatus storing compartment with sterilizing function | |
| CN204182648U (en) | A kind of trace detection reagent bottle washer | |
| CN206276660U (en) | A kind of ultraviolet irradiates Mobile medical instrument cycle cleaning device | |
| CN207125910U (en) | A kind of multifunctional medical disinfection cabinet | |
| CN206482883U (en) | A kind of Medical appliances sterilizing cabinet | |
| CN205962674U (en) | An easy-to-clean food disinfection cabinet | |
| CN220442921U (en) | Steam sterilizing pot | |
| CN204181912U (en) | Chinese crude drug bactericidal unit | |
| CN103006156B (en) | Automatic bowl washing machine | |
| CN207057218U (en) | Cleaning rack | |
| CN109967463A (en) | Hemodialysis machine suction pipe cleaning and disinfection device and method | |
| CN206291648U (en) | A kind of Bioexperiment drying unit |
| Date | Code | Title | Description |
|---|---|---|---|
| C14 | Grant of patent or utility model | ||
| GR01 | Patent grant | ||
| CF01 | Termination of patent right due to non-payment of annual fee | Granted publication date:20110525 Termination date:20140716 | |
| EXPY | Termination of patent right or utility model |