Movatterモバイル変換


[0]ホーム

URL:


CN201814585U - Medical and industrial X-ray real-time three-dimensional imaging device - Google Patents

Medical and industrial X-ray real-time three-dimensional imaging device
Download PDF

Info

Publication number
CN201814585U
CN201814585UCN2010205164429UCN201020516442UCN201814585UCN 201814585 UCN201814585 UCN 201814585UCN 2010205164429 UCN2010205164429 UCN 2010205164429UCN 201020516442 UCN201020516442 UCN 201020516442UCN 201814585 UCN201814585 UCN 201814585U
Authority
CN
China
Prior art keywords
ray
ray tube
dimensional
anode
negative electrode
Prior art date
Legal status (The legal status is an assumption and is not a legal conclusion. Google has not performed a legal analysis and makes no representation as to the accuracy of the status listed.)
Expired - Fee Related
Application number
CN2010205164429U
Other languages
Chinese (zh)
Inventor
王经瑾
宋征
Current Assignee (The listed assignees may be inaccurate. Google has not performed a legal analysis and makes no representation or warranty as to the accuracy of the list.)
BEIJING RISEHOOD RADIATION INFORMATION SCIENCE AND TECHNOLOGY Co Ltd
Original Assignee
BEIJING RISEHOOD RADIATION INFORMATION SCIENCE AND TECHNOLOGY Co Ltd
Priority date (The priority date is an assumption and is not a legal conclusion. Google has not performed a legal analysis and makes no representation as to the accuracy of the date listed.)
Filing date
Publication date
Application filed by BEIJING RISEHOOD RADIATION INFORMATION SCIENCE AND TECHNOLOGY Co LtdfiledCriticalBEIJING RISEHOOD RADIATION INFORMATION SCIENCE AND TECHNOLOGY Co Ltd
Priority to CN2010205164429UpriorityCriticalpatent/CN201814585U/en
Application grantedgrantedCritical
Publication of CN201814585UpublicationCriticalpatent/CN201814585U/en
Anticipated expirationlegal-statusCritical
Expired - Fee Relatedlegal-statusCriticalCurrent

Links

Images

Landscapes

Abstract

The utility model relates to a medical and industrial X-ray real-time three-dimensional imaging device, which belongs to the technical field of ray imaging equipment. The medical and industrial X-ray real-time three-dimensional imaging device comprises an X-ray source with double viewing angles, an X-ray image detector, a computer, a three-dimensional display and an X-ray apparatus stand, wherein the X-ray source with double viewing angles can fast and alternately transmit X-rays with two viewing angles, the X-ray image detector is used for receiving X-ray images and realizes digitalization, the computer can synchronously obtain left and right eye images and realize three-dimensional treatment, the three-dimensional display is used for observing three-dimensional images, and the X-ray apparatus stand drives the X-ray source and the X-ray image detector to move or rotate within a certain distance. The imaging device can display three-dimensional perspective images of human bodies or objects at real time during operation, can realize three-dimensional positioning for organs and surgical instruments by the aid of three-dimensional coordinates and a three-dimensional mouse, and can also display X-ray three-dimensional images of detected objects at real time and realize three-dimensional positioning of components in the detected objects when in nondestructive examination or security inspection and explosion removal. In addition, the imaging device is fine in real-time and low in cost and exposure.

Description

Medical and industrial X ray real time stereoscopic imaging apparatus
Technical field
This utility model relates to a kind of medical and industrial X ray real time stereoscopic imaging apparatus, belongs to the radial imaging technical field of medical science and Non-Destructive Testing.
Background technology
X-ray imaging equipment has been widely used in medical diagnosis, Minimally Invasive Surgery and industrial nondestructive testing.The x-ray imaging equipment of producing both at home and abroad except that CT, belongs to plane imaging system more at present, and what obtain all is the two-dimensional plane fluoroscopy images, can not discern the depth structure of human body or object.And get involved the operating theater instruments of human body and the position relation of human organ, accurate treatment is counted for much; Industrial nondestructive testing need be found out the information of depth structure equally.On principle, adopt the CT technology can accurately carry out three-dimensional imaging and location, but the huge costliness of CT equipment, and the dosage height, sweep time is long; Be unsuitable in operation or realtime imaging in the on-the-spot industrial nondestructive testing.For this reason, the company that has in recent years utilizes the X-ray production apparatus (C shape arm is for example arranged) of rotatable and translation, has developed from 3 orthogonal directions and has respectively clapped a width of cloth two dimensional image, is simultaneously displayed on the technology on the computer screen; Certain tripleplane's information can be provided.But doctor or nondestructive testing personnel will come oneself comprehensively to go out three-dimensional information from front view, top view and side view as seeing engineering drawing, very effort and not directly perceived.And update image all will make x-ray imaging device carry out the accurate aligning designated centers rotation of three wide-angles at every turn, and the mechanism kinematic amplitude is big, and the positioning requirements height has also prolonged the radiation dose that valuable operating time and increase patient and doctor are subjected to.
Summary of the invention
The purpose of this utility model is to propose a kind of medical and industrial X ray real time stereoscopic imaging apparatus, with the way realization X ray real time stereoscopic imaging of easy, quick and low dosage, to realize the dynamic solid perspective on medical operating and the industrial nondestructive testing.
Medical and the industrial X ray real time stereoscopic imaging apparatus that the utility model proposes comprises:
Double vision angle x-ray source is used to produce the X ray at two visual angles, and X ray carries out three-dimensional imaging to detecting target;
The radioscopic image detector is used for the fluoroscopy images of detecting x-ray to testee, and the image of surveying is sent to computer, and the radioscopic image detector links to each other by holding wire with computer;
X-ray production apparatus motion stand, be used to make described double vision angle x-ray source and radioscopic image detector around detecting target travel, described double vision angle x-ray source is fixed on a side of X-ray production apparatus stand, described radioscopic image detector be fixed on the X-ray production apparatus stand with detect the relative opposite side of target;
Computer, the fluoroscopy images that is used to drive view transformation and obtains two visual angles synchronously, and produce to drive the view data and the three dimensional space coordinate of various stereoscopic image displays according to fluoroscopy images;
The view transformation drive circuit, the view transformation control code that is used for producing according to computer drives double vision angle x-ray source or X-ray production apparatus motion stand, the input of view transformation drive circuit links to each other with computer, and the outfan of view transformation drive circuit links to each other with double vision angle x-ray source or X-ray production apparatus motion stand.
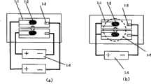
In the above-mentioned stereoscopic imaging apparatus, described double vision angle x-ray source comprises two X-ray tube, and the anode of two X-ray tube links to each other with high voltage power supply respectively with negative electrode; Described X-ray tube is made up of anode, negative electrode and control grid, described anode and negative electrode are separately fixed on the two ends shell of X-ray tube, described control grid is enclosed within on the negative electrode, and fixes with shell, and the output pin of two control grids links to each other with pulse generator respectively.
In the above-mentioned stereoscopic imaging apparatus, described double vision angle x-ray source comprises two X-ray tube and chopper wheel, and described X-ray tube is made up of anode and negative electrode, and described anode and negative electrode are separately fixed on the two ends shell of X-ray tube; Described chopper wheel places the place ahead of two X-ray tube target spots.
In the above-mentioned stereoscopic imaging apparatus, described double vision angle x-ray source comprises two X-ray tube, and the anode of two X-ray tube links to each other with high voltage power supply respectively with negative electrode; Described X-ray tube is made up of anode and negative electrode, and described anode and negative electrode are separately fixed on the two ends shell of X-ray tube, and the anode of two X-ray tube and negative electrode are connected respectively on separately the high voltage power supply.
In the above-mentioned stereoscopic imaging apparatus, described double vision angle x-ray source comprises an X-ray tube, and the anode of X-ray tube links to each other with high voltage power supply respectively with negative electrode; Described X-ray tube is made up of anode and negative electrode, and described anode and negative electrode are fixed on the two ends shell of X-ray tube, and the anode of X-ray tube is connected to high voltage power supply.
Medical and the industrial X ray real time stereoscopic imaging apparatus that the utility model proposes, its advantage is:
1, the three-dimensional imaging speed of this utility model stereoscopic imaging apparatus is fast, real-time; Can reach dynamic real-time shows.Three-dimensional information is obtained in existing employing CT or three orthogonal direction imagings, and the Image Acquisition time is in branch, and the imaging device Image Acquisition time of the present utility model was in 1/tens seconds.
2, the 3-D view vision of this utility model device is directly perceived.Existing CT rebuilds is 3-D view on the flat-panel screens, and just three plane orthogonal views that three orthogonal direction imagings show do not have stereoscopic vision.And this utility model has utilized human stereo vision, can intuitively see the stereo-picture and the three-dimensional coordinate that float at the moment.
Radiation dose is low when 3, using this utility model device.Existing CT imaging will be carried out the perspective at a hundreds of visual angle, and three orthogonal direction imagings also will be carried out the perspective at three visual angles, and irradiation time is long, and the radiation dose height is bigger to the human injury.And this utility model only need carry out the perspective at two visual angles, and radiation dose is much lower.
4, this utility model device mechanical movement scope in operating process is little.Existing CT imaging will make x-ray source and X-ray detector do 360 degree rotations around tested target, difficultly is used for direct-view operation and on-the-spot emergent safety check; Existing three orthogonal direction imagings can be used for direct-view operation and on-the-spot emergent safety check, but the stand of imaging system will carry out three the 90 big corner motions of degree.This utility model adopts double vision angle x-ray source, does not have the stage motion of imaging system fully; This utility model device is if adopt the single tube x-ray source, and stand only need rotate the several years just can finish three-dimensional imaging.
5, the cost of this utility model imaging device is low, far below existing CT scan equipment, reduces equipment cost and is easy to apply.
Description of drawings
Fig. 1 is the structural representation of the medical and industrial X ray real time stereoscopic imaging apparatus that the utility model proposes.
Fig. 2 is first kind of structural representation of double vision angle x-ray source in the stereoscopic imaging apparatus shown in Figure 1, has promptly settled the x-ray source of control grid.
Fig. 3 is second kind of structural representation of double vision angle x-ray source in the stereoscopic imaging apparatus shown in Figure 1, promptly do not settle the x-ray source of control grid, wherein Fig. 3 (a) controls two X-ray tube high voltage power supply separately, and Fig. 3 (b) controls the output of two X-ray tube with chopper wheel.
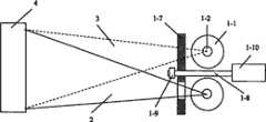
Fig. 4 is the work sketch map of the double vision angle x-ray source shown in Fig. 3 (b).
Fig. 5 is the structural representation of chopper wheel in the double vision angle x-ray source shown in Fig. 3 (b).
Fig. 6 is the third version of the medical and industrial X ray real time stereoscopic imaging apparatus that the utility model proposes, promptly adopts the structural representation of single X-ray tube three-dimensional image forming apparatus.
Fig. 7 is the structural representation that is used to observe the head hoop formula volume forward three-dimensional viewing display of the X ray real time stereoscopic imaging apparatus that the utility model proposes.
Fig. 8 is a view transformation drive circuit schematic diagram.The FPGA of Fig. 8 is an integrated circuit commonly used as power amplifier.
Among Fig. 1-Fig. 8, the 1st, double vision angle x-ray source, 1-1 is an X-ray tube, 1-2 is the X-ray tube anode, 1-3 is the X-ray tube negative electrode, and 1-4 is an X-ray tube control grid (control grid), and 1-5 is the high voltage power supply of X-ray tube, 1-6 is the control gate pulse generator of X-ray tube, 1-7 is the chopper wheel of double vision angle X source, and 1-7-1 is a fluting, and 1-8 is the copped wave wheel shaft, 1-9 is the chopper wheel bearing, and 1-10 is the stepper motor that drives chopper wheel; The 2nd, be used for the X ray of left eye imaging; The 3rd, be used for the X ray of right eye imaging; The 4th, the radioscopic image detector; The 5th, obtain the right and left eyes image synchronously and drive the computer that 3-D view shows and three-dimensional coordinate shows; The 6th, X ray 3 d image display before the head hoop formula volume, 6-1 is the left-eye image display screen, and 6-2 is the eye image display screen, and 6-3 is a head hoop; The 7th, the display of demonstration complementary color 3-D view; The 8th, the dark purple or the mycyscope of observation complementary color 3-D view; The 9th, have the direct-view three-dimensional display of deflection grating; The 10th, the view transformation drive circuit; The 11st, motion stand pedestal, the 12nd, motion stand altitude mixture control post, the 13rd, motion stand rotating shaft, the 14th, motion stand turning arm.
The specific embodiment
Medical and the industrial X ray real time stereoscopic imaging apparatus that the utility model proposes, its structure comprises as shown in Figure 1:
Double vision angle x-ray source 1 is used to produce theX ray 2 and 3 at two visual angles, and X ray carries out three-dimensional imaging to detecting target;
Radioscopic image detector 4 is used for the fluoroscopy images of detecting x-ray to testee, and the image of surveying is sent to computer, and the radioscopic image detector links to each other by holding wire with computer;
X-ray production apparatus motion stand, be used to make described double vision angle x-ray source and radioscopic image detector around detecting target travel, described double vision angle x-ray source is fixed on a side of X-ray production apparatus stand, described radioscopic image detector be fixed on the X-ray production apparatus stand with detect the relative opposite side of target;
Computer 5, the fluoroscopy images that is used to drive view transformation and obtains two visual angles synchronously, and produce to drive the view data and the three dimensional space coordinate of various stereoscopic image displays according to fluoroscopy images;
The view transformation drive circuit, the view transformation control code that is used for producing according to computer drives double vision angle x-ray source or X-ray production apparatus motion stand, the input of view transformation drive circuit links to each other with computer, and many groups outfan of view transformation drive circuit links to each other with double vision angle x-ray source or X-ray production apparatus motion stand.
In this utility model device, radioscopic image detector 4 is used for the fluoroscopy images of detecting x-ray to testee, and the image of surveying is sent to computer 5, and the radioscopic image detector links to each other by holding wire with computer.Radioscopic image detector 4 can use existing various radioscopic image detectors at present: the image intensifier formula, scintillation screen+CCD formula or flat.
When using this utility model device, can show the stereo-picture that obtains with multiple diverse ways.For example, can use the preceding X ray 3 d image display 6 of head hoop formula volume, its structure as shown in Figure 7, with general different with the eyeglass stereoscopic display of video switch, right and left eyes LCDs 6-1 and 6-2 are mutually independently, be connected to the I/O mouth of computer separately, show immobilized relatively right and left eyes image and three-dimensional coordinate that computer 5 is sent here, the flicker free sense; Refreshing frequency is controlled by user.Before this stereoscopic image display was fixed in volume by head hoop 6-3, the people who wears this display can lift to observe and examine the X ray 3-D view, can overlook material object again, undergos surgery or other operation.
Can also use the display 7 of complementary color 3-D view to show stereo-picture, this is common computer display, shows the anaglyphs (Anaglyph) that computer 5 is sent here, observes by dark purple or mycyscope 8.After computer gets access to " left-eye image " and " eye image ", with specific software the right and left eyes image is carried out complementary color and handle.Left eye stays red channel, and right eye stays cyan passage (or green channel), and stack is presented on the screen 7 of computer then.During with dark purple goggles with color filter (or red green goggles with color filter) 8 observations, left eye is only seen left-eye image by red eyeglass, and right eye is only seen eye image by cyan (or green) eyeglass, just can form stereoscopic vision.This display mode does not require right and left eyes image switching, and shown stereo-picture does not glimmer and hinders eye.In order to switch between plane picture and stereo-picture easily, this utility model is providing " plane/stereo " to switch shortcut and the dark purple of stirring or the red green eyeglass that can be clipped on the daily glasses on the screen.The observer who does not wear glasses at ordinary times, dark purple or the red green eyeglass that can wear spectacles and can stir.
Can also use the direct-view three-dimensional display 9 with deflection grating, show left-eye image with the odd column pixel, the even column pixel shows eye image, sends into people's left eye and right eye respectively by deflection grating, directly produces stereoscopic vision.Computer 5 enrolls left-eye image of obtaining and eye image intersection the odd column and the even column of display image.
View transformation drive circuit 10 in this utility model device, view transformation control code according to the computer generation, drive double vision angle x-ray source or X-ray production apparatus motion stand, the input of view transformation drive circuit links to each other with computer, and many groups outfan of view transformation drive circuit links to each other with double vision angle x-ray source or X-ray production apparatus motion stand.
X-ray production apparatus motion stand in this utility model device, its structure as shown in fig. 1, be used to make described double vision angle x-ray source and radioscopic image detector around detecting target travel, wherein 11 is motion stand pedestals, the 12nd, motion stand altitude mixture control post, the 13rd, motion stand rotating shaft, the 14th, motion stand turning arm.
Medical and the industrial X ray real time stereoscopic imaging apparatus that the utility model proposes, realize double vision angle x-ray source with three kinds of structures:
First kind of structure utilized two X-ray tube that the control grid are arranged.As shown in Figure 2, form x-ray source 1 by side by side two X-ray tube 1-1.The depth of field that the distance of two X-ray tube of adjusting can be regulated 3-D view.By the high pressure between high voltage power supply 1-5 supply X-ray tube anode 1-2 and negative electrode 1-3.The cone-beam x-ray center line of two pipes is the center of alignment image detector 4 all.This kind X-ray tube is equipped with control grid 1-4 before negative electrode 1-3, the opposite polarity pulse voltage of pulse voltage source 1-6 output is added in respectively on the two management and control grid, and control two pipes are alternately launched X-ray; Computer 5 output control codes are to view transformation drive circuit 10, be converted to three pulse trains (first group from top to bottom of Fig. 8) by FPGA (FPGA matrix), through controlling impulse voltage source 1-6 and X ray high pressure after the power amplification, launch X ray respectively at two visual angles; And receive left-eye image and eye image synchronously.The adjustable repetitive frequency of control impuls is to adapt to operation or the Non-Destructive Testing requirement to image update speed.The two-tube x-ray source of this automatically controlled emission does not have mechanical moving element, does not have mechanical noise; The renewal of stereo-picture can reach the above Real time dynamic display speed of per second tens width of cloth; For example can see in real time that the three-dimensional of heart beats.
Second kind of structure utilized two common no control grid X-ray tube, as shown in Figure 3, forms x-ray source 1 by side by side two X-ray tube 1-1, regulates the depth of field that the distance of two X-ray tube can be regulated 3-D view.The cone-beam x-ray center line of two pipes is the center of alignment image detector 4 all.By the high pressure between high voltage power supply 1-5 supply anode 1-2 and negative electrode 1-3.Fig. 3 (a) two tube anodes are received high voltage power supply 1-5 separately respectively, alternately open two tube anode high pressure and control two pipes and alternately export X ray.Fig. 3 (b) two tube anodes are received same high voltage power supply 1-5 jointly, and two pipes are launched X ray simultaneously.At the mechanical chopper wheel 1-7 of the pre-installed rotation of target spot, be used to switch the alternately output of ray of two X-ray tube.Chopper wheel 1-7 is contained on the rotating shaft 1-8, and as shown in Figure 4, one of rotating shaft supported by bearing 1-9, and one is driven by motor 1-10.Chopper wheel 1-7 is made by metal dish or tungsten disc.Odd number fluting 1-7-1 is arranged, as shown in Figure 5 on the chopper wheel 1-7.Computer 5 output control codes are to view transformation drive circuit 10, are converted among Fig. 8 two pulse trains of second group by FPGA matrix (hereinafter to be referred as FPGA), through after the power amplification, and two X ray high pressure of control figure 3 (a) respectively; Or being converted among Fig. 8 two pulse trains of the 3rd group, the motor 1-10 of control figure 3 (b) and X ray high pressure are launched X ray respectively at two visual angles.Computer receives left-eye image and eye image synchronously.The view transformation rate adjusted, to adapt to operation or the Non-Destructive Testing requirement to image update speed, the renewal speed of stereo-picture also can reach the Real-time and Dynamic imaging requirements of per second tens width of cloth.The advantage of structure two is to adopt mass-produced common X-ray tube, but the two cover high voltage power supplies of Fig. 3 (a) make the electrical structure complexity, and the chopper wheel of Fig. 3 (b) has mechanical rotational noise.
The third structure is utilized existing medical or industrial X-ray apparatus, as shown in Figure 6.Unitary rotation x-ray source and image detector obtain the fluoroscopy images at two visual angles.X-ray source 1 among Fig. 6 is made by single common X-ray tube, and the beam center line is aimed at the center of radioscopic image detector 4.Computer 5 output control codes are to view transformation drive circuit 10, be converted to three pulse trains of the 4th group of Fig. 8 by FPGA, through after the power amplification, control the rotation and the X ray high pressure of X-ray production apparatus stand respectively, launch X ray respectively at two visual angles, and receive left-eye image and eye image synchronously.This structure can directly be utilized existing medical or industrial X-ray apparatus (C shape arm or other rotational stand are for example arranged).Add that the such 3-D view of Fig. 1 obtains, processing and display unit (5,6,7,8,9,10), can carry out double vision angle x-ray imaging.Cost is minimum, also is easy to existing bidimensional imaging ray machine is upgraded to the three-dimensional imaging radiography unit.But this structure wants unitary rotation x-ray source and image detector to obtain the right and left eyes image, and the image update time needs several seconds, belongs to quasi real-time imaging.Even so, because moving range only several years or several centimetres, to obtain the system motion scope of three-dimensional information much smaller by obtaining three orthogonal images than existing, and speed is faster.
This utility model can provide crucial human body and object depth information in real time in direct-view operation and on-the-spot the detection, remedy the deficiency of two-dimension x-ray imaging.But what see is a kind of visual pattern that floats at the moment.Unlike two-dimensional plane image or CT 3-D view, be easy to the internal structure of body or object is positioned and measures.For this reason, this utility model has designed three-dimensional coordinate and 3D mouse, can show the three-dimensional coordinate parameter at mouse indication position at the three dimensions of vision.

Claims (5)

CN2010205164429U2010-09-032010-09-03Medical and industrial X-ray real-time three-dimensional imaging deviceExpired - Fee RelatedCN201814585U (en)

Priority Applications (1)

Application NumberPriority DateFiling DateTitle
CN2010205164429UCN201814585U (en)2010-09-032010-09-03Medical and industrial X-ray real-time three-dimensional imaging device

Applications Claiming Priority (1)

Application NumberPriority DateFiling DateTitle
CN2010205164429UCN201814585U (en)2010-09-032010-09-03Medical and industrial X-ray real-time three-dimensional imaging device

Publications (1)

Publication NumberPublication Date
CN201814585Utrue CN201814585U (en)2011-05-04

Family

ID=43912555

Family Applications (1)

Application NumberTitlePriority DateFiling Date
CN2010205164429UExpired - Fee RelatedCN201814585U (en)2010-09-032010-09-03Medical and industrial X-ray real-time three-dimensional imaging device

Country Status (1)

CountryLink
CN (1)CN201814585U (en)

Cited By (6)

* Cited by examiner, † Cited by third party
Publication numberPriority datePublication dateAssigneeTitle
CN101953694A (en)*2010-09-032011-01-26北京睿思厚德辐射信息科技有限公司Medical and industrial X-ray real-time stereoscopic imaging device
CN105181809A (en)*2015-10-152015-12-23深圳大学Method and system for identifying jewelry quality based on multi-spectrum analysis
CN105973702A (en)*2016-04-292016-09-28南京大学(苏州)高新技术研究院Soil synchrotron radiation X light rotating triaxial real time observation method and system thereof
CN108969188A (en)*2017-06-052018-12-11韦伯斯特生物官能(以色列)有限公司Augmented reality goggles with X-ray protection
CN109219730A (en)*2017-05-022019-01-15精益视觉科技私人有限公司The system and method for carrying out the inspection of pin angle using multiple view stereoscopic vision
WO2019119845A1 (en)*2017-12-222019-06-27有方(合肥)医疗科技有限公司X-ray imaging device and method for imaging by using same

Cited By (9)

* Cited by examiner, † Cited by third party
Publication numberPriority datePublication dateAssigneeTitle
CN101953694A (en)*2010-09-032011-01-26北京睿思厚德辐射信息科技有限公司Medical and industrial X-ray real-time stereoscopic imaging device
CN101953694B (en)*2010-09-032012-07-25北京睿思厚德辐射信息科技有限公司Medical and industrial X-ray real-time stereoscopic imaging device
CN105181809A (en)*2015-10-152015-12-23深圳大学Method and system for identifying jewelry quality based on multi-spectrum analysis
CN105181809B (en)*2015-10-152018-01-19深圳大学A kind of jewelry quality identification method and system based on more Spectrum Analysis
CN105973702A (en)*2016-04-292016-09-28南京大学(苏州)高新技术研究院Soil synchrotron radiation X light rotating triaxial real time observation method and system thereof
CN109219730A (en)*2017-05-022019-01-15精益视觉科技私人有限公司The system and method for carrying out the inspection of pin angle using multiple view stereoscopic vision
CN108969188A (en)*2017-06-052018-12-11韦伯斯特生物官能(以色列)有限公司Augmented reality goggles with X-ray protection
WO2019119845A1 (en)*2017-12-222019-06-27有方(合肥)医疗科技有限公司X-ray imaging device and method for imaging by using same
CN109953764A (en)*2017-12-222019-07-02有方(合肥)医疗科技有限公司X-ray imaging equipment and the method being imaged using x-ray imaging equipment

Similar Documents

PublicationPublication DateTitle
CN101953694B (en)Medical and industrial X-ray real-time stereoscopic imaging device
US7693256B2 (en)Phase-contrast X-ray imaging
US10413268B2 (en)Hybrid imaging apparatus and methods for interactive procedures
CN201814585U (en)Medical and industrial X-ray real-time three-dimensional imaging device
US9795347B2 (en)Scanning system for three-dimensional imaging
US9579071B2 (en)X-ray imaging apparatus and control method thereof
KR20040054791A (en)3d reconstruction system and method utilizing a variable x-ray source to image distance
CN103654813A (en)Medical technical device and method for generating image
JP6188428B2 (en) X-ray diagnostic equipment
JP5815038B2 (en) Radiation image display method and apparatus
JP2012061187A (en)Radiation ray image display device and method
WO2012105347A1 (en)Radiography apparatus and method
RU2298887C2 (en)Method for producing three-dimensional roentgen images
CN118056530A (en)Augmented reality-centric cone beam computed tomography
WO2014123219A1 (en)X-ray diagnostic device
JP2013022155A (en)Medical image diagnostic apparatus and medical image processing method
CN104720838A (en)Angiography image acquisition device and method
WO2012096221A1 (en)Radiograph display apparatus and method
US20120082298A1 (en)Radiological image displaying device and method
US20120076261A1 (en)Radiological image displaying apparatus and method
JP2013202058A (en) Radiography display system and method
WO2012066753A1 (en)Stereoscopic image display method and device
WO2012132298A1 (en)3d image display device and 3d image display method
JP2012170669A (en)Device and method for displaying radiation image
WO2012102127A1 (en)Radiation image display device and method

Legal Events

DateCodeTitleDescription
C14Grant of patent or utility model
GR01Patent grant
C17Cessation of patent right
CF01Termination of patent right due to non-payment of annual fee

Granted publication date:20110504

Termination date:20120903


[8]ページ先頭

©2009-2025 Movatter.jp