Movatterモバイル変換


[0]ホーム

URL:


CN201724073U - Desk lamp - Google Patents

Desk lamp
Download PDF

Info

Publication number
CN201724073U
CN201724073UCN2010202032818UCN201020203281UCN201724073UCN 201724073 UCN201724073 UCN 201724073UCN 2010202032818 UCN2010202032818 UCN 2010202032818UCN 201020203281 UCN201020203281 UCN 201020203281UCN 201724073 UCN201724073 UCN 201724073U
Authority
CN
China
Prior art keywords
desk lamp
utility
model
box
desk
Prior art date
Legal status (The legal status is an assumption and is not a legal conclusion. Google has not performed a legal analysis and makes no representation as to the accuracy of the status listed.)
Expired - Fee Related
Application number
CN2010202032818U
Other languages
Chinese (zh)
Inventor
孙圆圆
Current Assignee (The listed assignees may be inaccurate. Google has not performed a legal analysis and makes no representation or warranty as to the accuracy of the list.)
East China Normal University
Original Assignee
East China Normal University
Priority date (The priority date is an assumption and is not a legal conclusion. Google has not performed a legal analysis and makes no representation as to the accuracy of the date listed.)
Filing date
Publication date
Application filed by East China Normal UniversityfiledCriticalEast China Normal University
Priority to CN2010202032818UpriorityCriticalpatent/CN201724073U/en
Application grantedgrantedCritical
Publication of CN201724073UpublicationCriticalpatent/CN201724073U/en
Anticipated expirationlegal-statusCritical
Expired - Fee Relatedlegal-statusCriticalCurrent

Links

Images

Landscapes

Abstract

Translated fromChinese

本实用新型公开了一种台灯,包括台灯本体,此外,在台灯本体的下部还包括一个盒子。由于本实用新型所揭示的台灯除台灯本体外还包括一个盒子,使其不仅具备一般台灯的照明功能,还可以将一些东西储存在台灯下部的盒子中,让你的桌子上显得更加的干净整洁。

Figure 201020203281

The utility model discloses a desk lamp, which comprises a desk lamp body and a box at the lower part of the desk lamp body. Because the desk lamp disclosed by the utility model also includes a box in addition to the desk lamp body, it not only has the lighting function of a general desk lamp, but also can store some things in the box at the lower part of the desk lamp, making your desk look more clean and tidy .

Figure 201020203281

Description

A kind of desk lamp
Technical field
The utility model relates to a kind of desk lamp, particularly relates to a kind of desk lamp that is used for adorning the box of thing that has.
Background technology
The use of desk lamp in our daily life is very general, and desk lamp is a kind of household electrical appliance that are used for throwing light on during people live.It generally is divided into two kinds, and a kind of is column, and a kind of have a clip.Its operation principle mainly is that light is concentrated in the pocket, concentrates light, is convenient to working and learning.The bulb that general desk lamp is used is incandescent lamp or energy-saving bulb.The desk lamp that has also has emergency function, is used for emergency lighting when being used to have a power failure.The light source of desk lamp generally has three major types: incandescent lamp, halogen tungsten lamp and fluorescent lamp.Three class light sources cut both ways, and different people may like the photochromic and brightness of Different Light, should be suitable because of the people.But society of today is the society that advocates innovation, and people no longer have been satisfied with the desk lamp of traditional function singleness that can only be used to throw light on.
In sum, problem demanding prompt solution is that desk lamp function singleness in the market can not satisfy the higher level demand of people.
In line with the principle that is convenient for people to live, improve people's quality of life is starting point, by, the technological know-how of being grasped and the experience of life have been created the utility model by thinking independently.
The utility model content
Technical problem to be solved in the utility model is, a kind of desk lamp is provided, and it not only has the function of illumination, is used for holding thing but also have a box.
For solving the problems of the technologies described above, the technical solution adopted in the utility model is: a kind of desk lamp, comprise the desk lamp body, and in addition, also comprise a box in the bottom of desk lamp body.
Described box also comprises an opposite house.
The utility model has the advantages that, because the desk lamp that the utility model disclosed also comprises a box except that desk lamp is originally external, make its illumination functions that not only possesses general desk lamp, some things can also be stored in the box of desk lamp bottom, allow the more neat and tidy that seems on your desk.
Description of drawings
Below in conjunction with the drawings and specific embodiments the utility model is described in further detail:
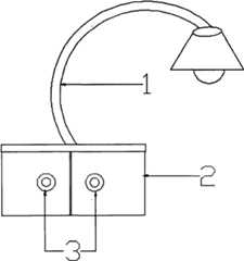
Fig. 1 is the overall structure schematic diagram of the utility model desk lamp.
The specific embodiment
For further disclosing the technical solution of the utility model, convenient your auditor's censorship is described with reference to the accompanying drawings embodiment of the present utility model now:
As Fig. 1, show the desk lamp that the utility model discloses, comprisedesk lamp body 1, in addition, also comprise abox 2 in the bottom ofdesk lamp body 1.
Describedbox 2 can also comprise anopposite house 3, can makebox 2 better store some things.
More than, basic design of the present utility model and basic principle have been set forth by description of listed embodiment.But the utility model never is limited to above-mentioned listed embodiment; every equivalent variations, improvement and deliberately of inferior quality behavior of doing based on the technical solution of the utility model of change; as with adopting detachable structure etc. between the box of above-mentioned desk lamp and bottom, all should belong to protection domain of the present utility model.

Claims (2)

1. a desk lamp comprises desk lamp body (1), it is characterized in that, also comprises a box (2) in the bottom of desk lamp body (1).
2. desk lamp as claimed in claim 1 is characterized in that, described box (2) comprises an opposite house (3).
CN2010202032818U2010-05-212010-05-21Desk lampExpired - Fee RelatedCN201724073U (en)

Priority Applications (1)

Application NumberPriority DateFiling DateTitle
CN2010202032818UCN201724073U (en)2010-05-212010-05-21Desk lamp

Applications Claiming Priority (1)

Application NumberPriority DateFiling DateTitle
CN2010202032818UCN201724073U (en)2010-05-212010-05-21Desk lamp

Publications (1)

Publication NumberPublication Date
CN201724073Utrue CN201724073U (en)2011-01-26

Family

ID=43492407

Family Applications (1)

Application NumberTitlePriority DateFiling Date
CN2010202032818UExpired - Fee RelatedCN201724073U (en)2010-05-212010-05-21Desk lamp

Country Status (1)

CountryLink
CN (1)CN201724073U (en)

Similar Documents

PublicationPublication DateTitle
CN202079938U (en)Newspaper rack
CN201724073U (en)Desk lamp
CN102384389A (en)Multifunctional desk lamp
CN202392566U (en)Desk lamp for writing
CN202149376U (en)Fluorescent electric torch
CN204403915U (en)The bionical Folding desk lamp of a kind of ginkgo leaf
CN204374629U (en)A kind of illumination table
CN203068263U (en)Desk lamp
CN203249059U (en)Multifunctional fashionable table lamp structure
CN201967879U (en)Luminous pendant with LED lamps
CN201866604U (en)Multifunctional desk lamp
CN202580655U (en)LED (Light Emitting Diode) lamp light-emitting clip
CN201968273U (en)Luminous vase with light emitting diode (LED) lamp
CN202972996U (en)Light-emitting diode (LED) lamp with metal flexible conduit
CN202053717U (en)Luminous bookmark
CN201967522U (en)Fish tank capable of giving out light through LED lamp
CN202532361U (en)Multi-functional desk lamp
CN203533309U (en)Novel table lamp for multi-angle light ray adjustment
CN203464040U (en)Hourglass type fish tank table lamp
CN204513033U (en)A kind of power light source integration T8LED illuminating lamp tube
CN202972756U (en)Desk lamp
CN204664891U (en)A kind of multifunctional electric torch
CN201948177U (en)LED (light-emitting diode) lamp luminous umbrella
CN202629760U (en)Sucking disc type timing desk lamp
CN204322870U (en)A kind of Novel brush holder

Legal Events

DateCodeTitleDescription
C14Grant of patent or utility model
GR01Patent grant
C17Cessation of patent right
CF01Termination of patent right due to non-payment of annual fee

Granted publication date:20110126

Termination date:20110521


[8]ページ先頭

©2009-2025 Movatter.jp