Movatterモバイル変換


[0]ホーム

URL:


CN201711484U - Precision forging mould for floating straight-tooth cylindrical gear - Google Patents

Precision forging mould for floating straight-tooth cylindrical gear
Download PDF

Info

Publication number
CN201711484U
CN201711484UCN 201020250593CN201020250593UCN201711484UCN 201711484 UCN201711484 UCN 201711484UCN 201020250593CN201020250593CN 201020250593CN 201020250593 UCN201020250593 UCN 201020250593UCN 201711484 UCN201711484 UCN 201711484U
Authority
CN
China
Prior art keywords
die
floating
precision forging
billet
mould
Prior art date
Legal status (The legal status is an assumption and is not a legal conclusion. Google has not performed a legal analysis and makes no representation as to the accuracy of the status listed.)
Expired - Fee Related
Application number
CN 201020250593
Other languages
Chinese (zh)
Inventor
边翊
钟志平
刘桂华
李倩
张小光
翟月雯
Current Assignee (The listed assignees may be inaccurate. Google has not performed a legal analysis and makes no representation or warranty as to the accuracy of the list.)
Beijing Research Institute of Mechanical and Electrical Technology
Jike Science and Technology Co Ltd
Original Assignee
Beijing Research Institute of Mechanical and Electrical Technology
Jike Science and Technology Co Ltd
Priority date (The priority date is an assumption and is not a legal conclusion. Google has not performed a legal analysis and makes no representation as to the accuracy of the date listed.)
Filing date
Publication date
Application filed by Beijing Research Institute of Mechanical and Electrical Technology, Jike Science and Technology Co LtdfiledCriticalBeijing Research Institute of Mechanical and Electrical Technology
Priority to CN 201020250593priorityCriticalpatent/CN201711484U/en
Application grantedgrantedCritical
Publication of CN201711484UpublicationCriticalpatent/CN201711484U/en
Anticipated expirationlegal-statusCritical
Expired - Fee Relatedlegal-statusCriticalCurrent

Links

Landscapes

Abstract

Translated fromChinese

一种浮动式直齿圆柱齿轮精锻模具,是在普通精锻模架结构的基础上,采用可上下运动的浮动凹模结构,所述的浮动凹模是由模架的导柱提供导向和定位,由矩形弹簧提供复位所需的弹顶力。精锻时将坯料放入浮动凹模,压力机滑块带动上模下行,上模与坯料接触后坯料开始产生变形,上模在向下运动一定行程后与浮动凹模接触,此时上模、下模和浮动凹模一起组成封闭的型腔,上模的继续下行会在压缩矩形弹簧的同时推动浮动凹模一起向下运动,使浮动凹模与坯料产生相对运动,可以使得金属较容易填充齿形型腔角隅处,不但有效的降低成形载荷,提高模具寿命,而且简化了模具结构,降低了制造成本。

Figure 201020250593

A floating precision forging die for spur gears adopts a floating die structure that can move up and down on the basis of the ordinary precision forging die frame structure. Positioning, the ejection force required for reset is provided by a rectangular spring. During precision forging, the billet is put into the floating die, and the slider of the press drives the upper die to go down. After the upper die contacts the billet, the billet begins to deform. After moving down for a certain distance, the upper die contacts the floating die. , The lower die and the floating die form a closed cavity together. The continuous downward movement of the upper die will push the floating die to move downward together while compressing the rectangular spring, so that the floating die and the blank will move relative to each other, which can make the metal easier Filling the corners of the tooth-shaped cavity not only effectively reduces the forming load and improves the life of the mold, but also simplifies the structure of the mold and reduces the manufacturing cost.

Figure 201020250593

Description

Floating type straight spur gear finish forge mould
Technical field
The utility model relates to a kind of precision form mould, and especially a kind of floating type straight spur gear finish forge mould belongs to stress metal processing mold field.
Background technology
Straight spur gear is to use important very widely driving parts in industries such as automobile, the energy, machinery, has simple in structurely, can realize characteristics such as high pulling torque and high efficiency transmission, good reliability.In modern industry is produced,, generally adopt forging to make in conjunction with mechanical processing tools for improving its mechanical performance and stock utilization.Because the finish forge straight spur gear has the characteristics of profile of tooth die cavity corner place's filling difficulty, the application of closed stamping hydraulic mould frame at present successfully addresses this problem and has realized the finish forge production of straight spur gear, but the closed stamping hydraulic mould frame cost is higher, and still need bigger plastic force to make metal be full of die cavity, thereby cause the increase of service load, the finish forge core rod life-span reduces, and production cost increases.
Summary of the invention
For overcome existing finish forge straight spur gear produce in service load big, the deficiency that die life is low, it is a kind of simple in structure that the utility model provides, die manufacturing cost is low, can effectively improve the floating type straight spur gear finish forge mould in core rod life-span.
The technical scheme that the utility model adopted is: on the basis of common precision forging die shelf structure, the floating cavity die structure that employing can move up and down, described floating cavity die is that the guide pillar by mould bases provides guiding and location, provides the bullet top that resets required power by the rectangle spring.During finish forge blank is put into floating cavity die, it is descending that press ram drives patrix, patrix contacts the back blank and begins to produce distortion with blank, patrix contacts with floating cavity die after moving downward certain stroke, this moment patrix, counterdie and floating cavity die are formed the die cavity of sealing together, guild's promotion floating cavity die in compression rectangle spring moves downward together under the continuation of patrix, make floating cavity die and blank produce relative motion, frictional force between the core rod inner surface that this relative motion produces and the blank outer surface is identical with the flow direction of metal material, be of value to flowing of metal material, can be so that metal be easier to fill profile of tooth die cavity corner place, thereby effectively reduce shaping load, improve die life.
The beneficial effects of the utility model are, the shaping load of finish forge straight spur gear is reduced, and improve die life, compare with adopting closed stamping hydraulic mould frame finish forge straight spur gear, have simplified mould structure, have reduced manufacturing cost.
Description of drawings
Below in conjunction with drawings and Examples the utility model is further specified.
Accompanying drawing is the utility model mould structure schematic diagram.
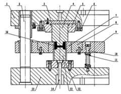
Among the figure, 1. cope match-plate pattern, 2. guide pillar, 3. upper die plate, 4. patrix, 5. upper mould fixed plate, 6. upper molded plate, 7. die core rod, 8. circle stress, 9. floating cavity die, 10. caging bolt, 11. rectangle springs, 12. the counterdie backing plate, 13. counterdies, 14. push rods, 15. lower bolsters, 16. blanks.
The specific embodiment
In the embodiment shown in the figures, patrix (4) is pressed on the upper die plate (3) by upper mould fixed plate (5) and upper molded plate (6), and be fixed on the cope match-plate pattern (1), die core rod (7) and circle stress (8) are fixed on the floating cavity die (9), the rectangle spring (11) that several caging bolts (10) pass floating cavity die (9) and equal number is fixed on the lower bolster (15), floating cavity die (9) is provided support by rectangle spring (11), the centering of guiding and assurance die core rod (7) and patrix (4) is provided by guide pillar (2), the bottom surface of counterdie (13) places on the counterdie backing plate (12), the upper end is stretched in the die core rod (7), and push rod (14) places counterdie backing plate (12) and lower bolster (15).
During finish forge, blank (16) is put into die core rod (7), it is descending that press ram drives patrix (4), patrix (4) is with after blank (16) contacts, blank (16) begins to produce plastic deformation, patrix (4) contacts with floating cavity die (9) after moving downward certain stroke, patrix this moment (4) is formed the die cavity that seals with counterdie (13) and floating cavity die (9), guild's promotion floating cavity die (9) moves downward in compression rectangle spring (11) under the continuation of patrix (4), make floating cavity die (9) and blank (16) produce relative motion, die core rod (7) inner surface and the frictional force between blank (16) outer surface that this relative motion produces can be so that metal be easier to fill profile of tooth die cavity corner place.After shaping is finished, press ram drives patrix (4) backhaul, and rectangle spring (11) by compression promotes floating cavity die (9) and resets, and ejecting mechanism promotes push rod (14) under the forcing press, push rod (14) promotes counterdie (13), and the workpiece after being shaped is ejected die core rod (7).

Claims (3)

1. floating type straight spur gear finish forge mould is characterized in that: on the basis of common precision forging die shelf structure, and the floating cavity die structure that employing can move up and down.
2. floating type straight spur gear finish forge mould as claimed in claim 1 is characterized in that: described floating cavity die provides guiding and location by the mould bases guide pillar.
3. floating type straight spur gear finish forge mould as claimed in claim 1 is characterized in that: the moving up and down of described floating cavity die, and wherein move downward by patrix and promote, moving upward is that rectangle spring by by compression promotes.
CN 2010202505932010-07-082010-07-08Precision forging mould for floating straight-tooth cylindrical gearExpired - Fee RelatedCN201711484U (en)

Priority Applications (1)

Application NumberPriority DateFiling DateTitle
CN 201020250593CN201711484U (en)2010-07-082010-07-08Precision forging mould for floating straight-tooth cylindrical gear

Applications Claiming Priority (1)

Application NumberPriority DateFiling DateTitle
CN 201020250593CN201711484U (en)2010-07-082010-07-08Precision forging mould for floating straight-tooth cylindrical gear

Publications (1)

Publication NumberPublication Date
CN201711484Utrue CN201711484U (en)2011-01-19

Family

ID=43457483

Family Applications (1)

Application NumberTitlePriority DateFiling Date
CN 201020250593Expired - Fee RelatedCN201711484U (en)2010-07-082010-07-08Precision forging mould for floating straight-tooth cylindrical gear

Country Status (1)

CountryLink
CN (1)CN201711484U (en)

Cited By (22)

* Cited by examiner, † Cited by third party
Publication numberPriority datePublication dateAssigneeTitle
CN102248108A (en)*2011-06-012011-11-23西安建筑科技大学Straight gear precision forging forming device with controllable floating female die movement
CN102489978A (en)*2011-12-042012-06-13北京机电研究所Hot and cold composite precision forging forming method of great-modulus high-thickness straight-tooth cylindrical gear
CN102615236A (en)*2012-04-052012-08-01郑州机械研究所Cold precision forming device for asymmetric cylindrical gear
CN103192016A (en)*2013-04-242013-07-10郑州机械研究所Cold precision forming device for asymmetric large-diameter spur gears
CN103252441A (en)*2013-06-042013-08-21嘉兴市易嘉机械有限公司Belt pulley forging mould
CN103736903A (en)*2014-01-222014-04-23上海交通大学Precision forming method and device of flanged flat gears
CN103878289A (en)*2012-12-212014-06-25陕西宏远航空锻造有限责任公司Die forging method of horizontal H-shaped step shaft
CN104117652A (en)*2014-07-292014-10-29浙江立鑫高温耐火材料有限公司Die for casting saggar
CN104624918A (en)*2013-11-082015-05-20本田技研工业株式会社Method of manufacturing gear and forging apparatus for manufacturing gear
CN105057404A (en)*2015-08-242015-11-18江苏龙城精锻有限公司Floating mold based closed shaping process for hybrid excitation claw pole
CN105108022A (en)*2015-08-262015-12-02太仓市顺昌锻造有限公司Forging die
CN105903881A (en)*2015-02-192016-08-31国民机械有限责任公司Poppet pin ejector
CN107214281A (en)*2017-05-232017-09-29辽宁五八内燃机配件有限公司A kind of ship machine connecting rod forging blanking mold and application method
CN107282675A (en)*2017-05-192017-10-24燕山大学A kind of straight spur gear radial extrusion die and method
CN108856619A (en)*2018-06-292018-11-23安徽宜安精密机械零部件有限公司A kind of spur gear finish forge mould
CN108907053A (en)*2018-06-292018-11-30安徽宜安精密机械零部件有限公司A kind of face gear finish forge mould
CN110090911A (en)*2018-01-292019-08-06丰田自动车株式会社Forging apparatus and forging method
CN110193582A (en)*2019-06-192019-09-03重庆巨泰机械有限公司A kind of openable and closable floating die assembly
CN110479939A (en)*2019-09-242019-11-22上海电机学院A kind of crank throw forging mold with float type chamber
CN114012011A (en)*2021-11-252022-02-08一汽解放汽车有限公司Closed forging die for gear
CN116944401A (en)*2023-06-302023-10-27中国航空工业标准件制造有限责任公司Floating combined die for hot upsetting upper die forming of difficult-to-form material and use method thereof
CN119857811A (en)*2025-03-032025-04-22苏州旭新达金属制品股份有限公司Floating type metal blank forging die frame

Cited By (26)

* Cited by examiner, † Cited by third party
Publication numberPriority datePublication dateAssigneeTitle
CN102248108B (en)*2011-06-012013-01-02西安建筑科技大学Straight gear precision forging forming device with controllable floating female die movement
CN102248108A (en)*2011-06-012011-11-23西安建筑科技大学Straight gear precision forging forming device with controllable floating female die movement
CN102489978A (en)*2011-12-042012-06-13北京机电研究所Hot and cold composite precision forging forming method of great-modulus high-thickness straight-tooth cylindrical gear
CN102615236A (en)*2012-04-052012-08-01郑州机械研究所Cold precision forming device for asymmetric cylindrical gear
CN103878289A (en)*2012-12-212014-06-25陕西宏远航空锻造有限责任公司Die forging method of horizontal H-shaped step shaft
CN103192016A (en)*2013-04-242013-07-10郑州机械研究所Cold precision forming device for asymmetric large-diameter spur gears
CN103252441A (en)*2013-06-042013-08-21嘉兴市易嘉机械有限公司Belt pulley forging mould
CN104624918A (en)*2013-11-082015-05-20本田技研工业株式会社Method of manufacturing gear and forging apparatus for manufacturing gear
CN103736903B (en)*2014-01-222015-08-19上海交通大学Flanged pin planar gear accurate forming method and device thereof
CN103736903A (en)*2014-01-222014-04-23上海交通大学Precision forming method and device of flanged flat gears
CN104117652A (en)*2014-07-292014-10-29浙江立鑫高温耐火材料有限公司Die for casting saggar
CN105903881A (en)*2015-02-192016-08-31国民机械有限责任公司Poppet pin ejector
CN105057404A (en)*2015-08-242015-11-18江苏龙城精锻有限公司Floating mold based closed shaping process for hybrid excitation claw pole
CN105108022A (en)*2015-08-262015-12-02太仓市顺昌锻造有限公司Forging die
CN107282675A (en)*2017-05-192017-10-24燕山大学A kind of straight spur gear radial extrusion die and method
CN107214281A (en)*2017-05-232017-09-29辽宁五八内燃机配件有限公司A kind of ship machine connecting rod forging blanking mold and application method
CN107214281B (en)*2017-05-232019-11-29辽宁五一八内燃机配件有限公司A kind of ship machine connecting rod forging blanking mold and application method
CN110090911A (en)*2018-01-292019-08-06丰田自动车株式会社Forging apparatus and forging method
CN108856619A (en)*2018-06-292018-11-23安徽宜安精密机械零部件有限公司A kind of spur gear finish forge mould
CN108907053A (en)*2018-06-292018-11-30安徽宜安精密机械零部件有限公司A kind of face gear finish forge mould
CN110193582A (en)*2019-06-192019-09-03重庆巨泰机械有限公司A kind of openable and closable floating die assembly
CN110479939A (en)*2019-09-242019-11-22上海电机学院A kind of crank throw forging mold with float type chamber
CN114012011A (en)*2021-11-252022-02-08一汽解放汽车有限公司Closed forging die for gear
CN116944401A (en)*2023-06-302023-10-27中国航空工业标准件制造有限责任公司Floating combined die for hot upsetting upper die forming of difficult-to-form material and use method thereof
CN119857811A (en)*2025-03-032025-04-22苏州旭新达金属制品股份有限公司Floating type metal blank forging die frame
CN119857811B (en)*2025-03-032025-08-05苏州旭新达金属制品股份有限公司 A floating metal billet forging die frame

Similar Documents

PublicationPublication DateTitle
CN201711484U (en)Precision forging mould for floating straight-tooth cylindrical gear
CN102513444B (en)Composite flanging mechanism of stamping die
CN101259509B (en) A Composite Forming Process of Sheet Metal Stamping Cold Forging and Fine Blanking Boss Parts
CN201676960U (en)Novel high strength steel plate die structure
CN201900189U (en)Riveting die
CN101767153A (en)Composite forming die
CN203508834U (en)Cold stamped part drawing process sheet supporting structure
CN201702259U (en)Flanged die with flanged overall ejector
CN107282675A (en)A kind of straight spur gear radial extrusion die and method
CN107186081A (en)One kind is used for Rear cover inner mould
CN102788154B (en)Integral hydraulic tappet plunger and overall method for rolling and molding thereof
CN219703294U (en)Anti-collision energy-absorbing box stamping forming die
CN205436829U (en)Reverse turn -ups slide wedge mechanism
CN105618665B (en)One kind takes out hole bolt plastic forming method
CN201960038U (en)Deep drawing die for producing bowl-shaped ornaments
CN101983796A (en)Dual gear precision forging die with floating type mold core
CN201685488U (en)Double-disc friction forcing press with upper mould ejection mechanism
CN108188325A (en)A kind of thin wall parts cold upset forming anti-fold mold
CN201711428U (en)Sheet-forming die with movable female die for flexible bottom die
CN202901264U (en)Integrated hydraulic tappet plunger piston and mold thereof
CN202079212U (en) Double motion forging module for vertical one-way double motion forming
CN112157172B (en)Stamping forming machine for producing soft connection copper bars for new energy automobile batteries by stamping
CN210208492U (en) Forging die for gear flange fork on end face of transmission shaft
CN116351998A (en)Duplex position forging and pressing mould
CN114273592A (en)Method and mould for locally thickening and forming side walls of cylindrical parts with different thicknesses

Legal Events

DateCodeTitleDescription
C14Grant of patent or utility model
GR01Patent grant
CF01Termination of patent right due to non-payment of annual fee
CF01Termination of patent right due to non-payment of annual fee

Granted publication date:20110119

Termination date:20160708


[8]ページ先頭

©2009-2025 Movatter.jp