
【技术领域】【Technical field】
本实用新型涉及一种电连接器组合,尤其涉及用以连接模块的电连接器组合。The utility model relates to an electrical connector combination, in particular to an electrical connector combination for connecting modules.
【背景技术】【Background technique】
请参阅中国实用新型专利公告第201112952号,其公开了一种用于连接模块的电连接器组合,该电连接器组合包括有框形的外壳、收容于并焊接于该外壳内的金属件及与该金属件相抵接的柔性印刷电路板。所述金属件具有焊接于该外壳上的基部及自基部延伸的若干弹性接触臂。柔性印刷电路板的上下两侧分别具有与模块及所述金属件的弹性接触臂接触的导电片。Please refer to China Utility Model Patent Announcement No. 201112952, which discloses an electrical connector assembly for connecting modules. The electrical connector assembly includes a frame-shaped housing, metal parts accommodated and welded in the housing and A flexible printed circuit board that abuts against the metal piece. The metal part has a base welded on the shell and a plurality of elastic contact arms extending from the base. The upper and lower sides of the flexible printed circuit board respectively have conductive sheets that are in contact with the module and the elastic contact arms of the metal parts.
当模块被组装入该电连接器组合后,该模块挤压柔性印刷电路板并使接触臂受到压力而变形,则该接触臂抵压于柔性印刷电路板下侧的导电片上,且柔性印刷电路板上侧的导电片与模块相抵接。然而,导电片与模块之间为平面与平面相接触,由于面与面接触的精度要求较高,如果柔性印刷电路板的导电片出现毛刺或凹凸等不平整的状况时,可能使柔性印刷电路板与模块之间的接触不太可靠。When the module is assembled into the electrical connector combination, the module squeezes the flexible printed circuit board and deforms the contact arm under pressure, then the contact arm is pressed against the conductive sheet on the lower side of the flexible printed circuit board, and the flexible printed circuit board The conductive sheet on the upper side of the board abuts against the module. However, the conductive sheet and the module are in plane-to-plane contact. Due to the high precision of surface-to-surface contact, if the conductive sheet of the flexible printed circuit board is uneven such as burrs or unevenness, the flexible printed circuit may be damaged. The contact between the board and the module is less reliable.
因此,确有必要提供一种新的电连接器组合,以克服先前技术中所存在的缺陷。Therefore, it is indeed necessary to provide a new electrical connector combination to overcome the defects in the prior art.
【实用新型内容】【Content of utility model】
本实用新型的目的在于提供提供了一种能够与模块实现可靠电性接触的电连接器组合。The purpose of the utility model is to provide an electrical connector combination capable of realizing reliable electrical contact with a module.
本实用新型的目的通过以下技术方案来实现:一种电连接器组合,其包括座体单元、收容于座体单元内的柔性印刷电路板及粘贴于柔性印刷电路板上的连接件,其特征在于:所述连接件包括若干导电泡棉。The purpose of this utility model is achieved through the following technical solutions: an electrical connector assembly, which includes a base unit, a flexible printed circuit board accommodated in the base unit, and a connecting piece pasted on the flexible printed circuit board, its features That is: the connecting piece includes several conductive foams.
与现有技术相比,本实用新型具有如下有益效果:模块与柔性印刷电路板之间通过导电泡棉转接,可避免柔性印刷电路板与模块之间的平面与平面直接接触时可能产生的接触不良,从而有利于柔性印刷电路板与模块实现可靠接触。Compared with the prior art, the utility model has the following beneficial effects: the module and the flexible printed circuit board are transferred through conductive foam, which can avoid the possibility of direct contact between the flexible printed circuit board and the module. Poor contact, which is conducive to reliable contact between the flexible printed circuit board and the module.
【附图说明】【Description of drawings】
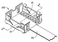
图1是本实用新型电连接器组合的立体组合图。Fig. 1 is a three-dimensional assembly diagram of the electrical connector assembly of the present invention.
图2是为图1所示本实用新型电连接器组合的立体分解图。FIG. 2 is an exploded perspective view of the electrical connector assembly of the present invention shown in FIG. 1 .
图3为图1所示本实用新型电连接器组合沿A-A线的剖视图,其中模块仅展示了示意图。Fig. 3 is a cross-sectional view of the electrical connector assembly of the present invention shown in Fig. 1 along line A-A, in which the modules are only shown schematically.
【具体实施方式】【Detailed ways】
以下,将结合图1至图3介绍本实用新型电连接器组合100。本电连接器组合100用以电性连接一模块200,其包括座体单元10、收容于该座体单元10内的柔性印刷电路板20及连接柔性印刷电路板20和模块的连接件12。本实施方式中,该模块200是用于拍照装置中的相机模块。Hereinafter, the electrical connector assembly 100 of the present invention will be introduced with reference to FIGS. 1 to 3 . The electrical connector assembly 100 is used to electrically connect a
请参阅图2及图3所示,该座体单元10为框状,包括底板101及侧壁102。底板101和侧壁102共同形成收容模块200的收容空间103。Please refer to FIG. 2 and FIG. 3 , the
连接件12包括胶体121及胶粘于胶体121的两侧边的两排导电泡棉122。The connector 12 includes a glue body 121 and two rows of
请参阅图2及图3所示,柔性印刷电路板20具有收容于收容空间103内的连接区21及自该连接区21延伸出收容空间103的延伸区22。该连接区21包括有与导电泡棉122电性连接的若干导电部211。Please refer to FIG. 2 and FIG. 3 , the flexible printed
所述柔性印刷电路板20收容于该收容空间103内并通过胶粘或其他方式定位于该座体单元10。连接件12通过胶体121粘贴至柔性印刷电路板20的的连接区21,从而导电泡棉122抵接于柔性印刷电路板20上的导电部211的上侧。当模块组装入该收容空间103时,模块200向下挤压导电泡棉122,由于导电泡棉122的可压缩特性,导电泡棉122在承受不同压力面的情况下可产生不同程度的形变,故而保证导电泡棉122与柔性印刷电路板20之间可靠的电性连接,同时,导电泡棉122与模块200之间亦可靠的电性连接。从而,模块200与柔性印刷电路板20之间通过导电泡棉122转接,可避免柔性印刷电路板20与模块200之间的平面与平面直接接触而可能产生的接触不良,从而有利于柔性印刷电路板20与模块200实现可靠接触。The flexible printed
| Application Number | Priority Date | Filing Date | Title |
|---|---|---|---|
| CN2010201493770UCN201708322U (en) | 2010-04-02 | 2010-04-02 | Electric connector combination |
| Application Number | Priority Date | Filing Date | Title |
|---|---|---|---|
| CN2010201493770UCN201708322U (en) | 2010-04-02 | 2010-04-02 | Electric connector combination |
| Publication Number | Publication Date |
|---|---|
| CN201708322Utrue CN201708322U (en) | 2011-01-12 |
| Application Number | Title | Priority Date | Filing Date |
|---|---|---|---|
| CN2010201493770UExpired - Fee RelatedCN201708322U (en) | 2010-04-02 | 2010-04-02 | Electric connector combination |
| Country | Link |
|---|---|
| CN (1) | CN201708322U (en) |
| Publication number | Priority date | Publication date | Assignee | Title |
|---|---|---|---|---|
| CN103378336A (en)* | 2012-04-25 | 2013-10-30 | 纬创资通股份有限公司 | Electric connection assembly, battery device and electronic device |
| Publication number | Priority date | Publication date | Assignee | Title |
|---|---|---|---|---|
| CN103378336A (en)* | 2012-04-25 | 2013-10-30 | 纬创资通股份有限公司 | Electric connection assembly, battery device and electronic device |
| CN103378336B (en)* | 2012-04-25 | 2015-12-16 | 纬创资通股份有限公司 | Electric connection assembly, battery device and electronic device |
| US9246151B2 (en) | 2012-04-25 | 2016-01-26 | Wistron Corporation | Electrical connection assembly, battery device and electronic apparatus |
| Publication | Publication Date | Title |
|---|---|---|
| TW201421816A (en) | Electrical connector and assembly thereof | |
| CN106711723B (en) | Electrical connector assembly | |
| TWM463430U (en) | Electrical connector assembly | |
| TWD117118S1 (en) | Electrical connector for camera module | |
| CN201708322U (en) | Electric connector combination | |
| CN101801155A (en) | Flexible printed circuit board and electric connector provided with same | |
| CN204231438U (en) | Terminal equipment | |
| CN201160130Y (en) | Electrical Connector Assembly | |
| CN203443981U (en) | Switching device used for flexible printed circuit board circuit detection | |
| CN204696361U (en) | Electronic installation buckle structure | |
| CN202930641U (en) | electrical connector | |
| CN103338283B (en) | A kind of camera chip of mobile phone assembling structure | |
| CN201556742U (en) | Electric connector | |
| CN202042684U (en) | electrical connector | |
| CN201639001U (en) | Electric connector | |
| CN206422351U (en) | A Type‑C interface converter | |
| CN201004494Y (en) | Electric connector | |
| ATE418764T1 (en) | CONNECTABLE HOUSING FOR A PORTABLE OBJECT | |
| CN206542044U (en) | Electric coupler component | |
| CN203351910U (en) | Universal USB3.0 data interface | |
| CN203787629U (en) | Battery holder | |
| CN201397909Y (en) | Battery connector | |
| TWM392452U (en) | Electrical connector assembly | |
| CN215990796U (en) | Electronic information wireless communication equipment | |
| CN202019072U (en) | Battery connector |
| Date | Code | Title | Description |
|---|---|---|---|
| C14 | Grant of patent or utility model | ||
| GR01 | Patent grant | ||
| C17 | Cessation of patent right | ||
| CF01 | Termination of patent right due to non-payment of annual fee | Granted publication date:20110112 Termination date:20120402 |