Movatterモバイル変換


[0]ホーム

URL:


CN201221477Y - Charging type fan - Google Patents

Charging type fan
Download PDF

Info

Publication number
CN201221477Y
CN201221477YCNU2008200938854UCN200820093885UCN201221477YCN 201221477 YCN201221477 YCN 201221477YCN U2008200938854 UCNU2008200938854 UCN U2008200938854UCN 200820093885 UCN200820093885 UCN 200820093885UCN 201221477 YCN201221477 YCN 201221477Y
Authority
CN
China
Prior art keywords
fan
connects
circuit
fan body
rechargeable
Prior art date
Legal status (The legal status is an assumption and is not a legal conclusion. Google has not performed a legal analysis and makes no representation as to the accuracy of the status listed.)
Expired - Fee Related
Application number
CNU2008200938854U
Other languages
Chinese (zh)
Inventor
王衡
Current Assignee (The listed assignees may be inaccurate. Google has not performed a legal analysis and makes no representation or warranty as to the accuracy of the list.)
Individual
Original Assignee
Individual
Priority date (The priority date is an assumption and is not a legal conclusion. Google has not performed a legal analysis and makes no representation as to the accuracy of the date listed.)
Filing date
Publication date
Application filed by IndividualfiledCriticalIndividual
Priority to CNU2008200938854UpriorityCriticalpatent/CN201221477Y/en
Application grantedgrantedCritical
Publication of CN201221477YpublicationCriticalpatent/CN201221477Y/en
Anticipated expirationlegal-statusCritical
Expired - Fee Relatedlegal-statusCriticalCurrent

Links

Images

Landscapes

Abstract

The utility model discloses a charging fan, comprising a fan body and a fan support. The fan body comprises a fan motor, a fan circuit and a fan control panel; the fan body and the fan support are fixedly connected in a plug-in manner; a power supply port used for electrical connection with the fan body is arranged at the upper end of the fan support; a power port electrically connected with the fan support is arranged at the bottom of the fan body; and a rechargeable battery connected with the fan circuit is also arranged on the fan body. A mains plug, a transformer, a rectifier circuit and a charging circuit successively connected are arranged on the fan support; the charging circuit is connected with the rechargeable battery arranged on the fan body, and the rectifier circuit is connected with the fan circuit. The charging fan is very easy to use, mobile and portable, and has a very extensive market foreground.

Description

Rechargeable fan
Technical field
The utility model relates to a kind of fan, and what a kind of rechargeable fan of more specifically saying so, this fan can easily be positioned over the people need use power line at one's side and not, has good portability.
Background technique
Fan has become requisite article in people's life, and in the summer of sweltering heat, people always be unable to do without fan to feeling nice and cool that everybody brings, even if it is no exception that air-conditioning is housed in the family.Yet fan is the bigger article of a kind of volume, and will use power supply, makes troubles for people's use.People are in the process of using fan, always wish where the people just is put at the there electric fan, except using the power socket line that prolongs, some family is in doing the home decoration process, consider especially also and will be installed on power socket that its purpose is exactly in order to use fan at each corner, each metope of wall.Except that above-mentioned inconvenience, also Chang Yinwei power line ornaments are mixed pin on the ground of indoor frequent walking or the thing of mixing down (old man and child this thing happens many especially).Aforesaid many, impel this creation people needing to expect a kind of rechargeable fan of invention, make people more more, more natural, more random feeling nice and cool of summer.
The model utility content
The purpose of this utility model is to provide a kind of rechargeable fan for overcoming the deficiencies in the prior art, this fan can be put in the fixed position charging when not using, can optionally move during use, be positioned over the desirable arbitrary position of user, as on the bed, on the table, on the sofa or pillow limit or the like.
Technology contents of the present utility model is: a kind of rechargeable fan, comprise fan body and fan base, fan body comprises fan electromotor, fan circuit and fan control panel, it is characterized in that: described fan body and fan base are fixedly connected for the plug formula, the upper end of fan base is provided with and is used for the power supply port that electrically connects with fan body, the bottom of fan body is provided with and is used for the power connection end mouth that electrically connects with fan base, and described fan body also is provided with the rechargeable battery that connects with fan circuit.
Further technology contents of the present utility model is: described fan base is provided with power plug, transformer, rectification circuit and the charging circuit that electrically connects successively, charging circuit connects with the rechargeable battery that fan body is provided with, and rectification circuit connects with fan circuit.
Further technology contents of the present utility model is: described fan base upper end is provided with and is used for and the fixing tenon of fan body, and the fan body lower end is provided with and is used for and the fixing groove of fan base.
Further technology contents of the present utility model is: described fan body is a cylindrical structure, comprise movable fan body top and the fan body bottom that connects of rotary type, fan body is provided with wind wheel in the top, and the fan body bottom also is provided with a head-shaking motor.
Further technology contents of the present utility model is: can rotate by 360 degree between described fan body top and the fan body bottom, fan circuit is located at the fan body bottom, the fan control panel is located at the inboard, upper end on fan top, and the outside, upper end is provided with and the corresponding operated key of control panel; The lower end on fan body top is provided with electric slip ring, and the fan body bottom is provided with and is used for the brush shell fragment that connects with electric slip ring.
Further technology contents of the present utility model is: described fan base upper end is provided with a mechanical type touch switch, and described mechanical type touch switch one end connects with power plug, and the other end connects with the transformer input end.
Further technology contents of the present utility model is: instituteFan electromotor and head-shaking motor be AC motor, described transformer input end is provided with a lead that connects with fan electromotor, head-shaking motor again along fan circuit, also be provided with inverter in the fan body, the inverter input end connects with rechargeable battery, and inverter output end connects with fan electromotor, head-shaking motor.
Further technology contents of the present utility model is: described fan electromotor and head-shaking motor are AC motor, also be provided with inverter in the described fan body, the inverter input end connects with rectification circuit, rechargeable battery, and inverter output end connects with fan electromotor, head-shaking motor.
Further technology contents of the present utility model is: institute
Figure Y20082009388500061
Fan electromotor and head-shaking motor be direct current generator, the output terminal of rechargeable battery connects with fan electromotor, head-shaking motor along fan circuit again.
Further technology contents of the present utility model is: described fan base comprises a chassis and is fixedly arranged on the pole of center chassis, the chassis is provided with the power plug of band power line, the upper-end surface of pole is provided with the aforementioned electrically power supply port of connection that is used for, described power supply port is an AC outlet, be provided with the transformer, rectification circuit, the charging circuit that electrically connect successively in the fan body, rectification circuit also connects with fan circuit, and the output terminal of charging circuit connects with rechargeable battery; The power connection end mouth that the fan body lower end is provided with is an ac plug, and this ac plug connects with the transformer input end, and also is connected with a lead that connects with fan electromotor again along fan circuit, and described fan electromotor is an AC motor; Also be provided with an inverter in the fan body, this inverter input end connects with rechargeable battery, and output terminal connects with fan electromotor.
The utility model beneficial effect compared with prior art is: the utility model uses very convenient, has can move arbitrarily or use with the formula of taking, and has comparatively extensive market prospects; And structure is uncomplicated, for the Consumer provides a kind of selection to the multiple demand of household appliances.
Description of drawings
Fig. 1 is the three-dimensional structure diagram of the rechargeable fan specific embodiment of the utility model;
Fig. 2 is the three-dimensional structure diagram of the fan body of the rechargeable fan of the utility model;
Fig. 3 is the amplification profile structural drawing of the fan body of the rechargeable fan of the utility model;
Fig. 4 is the three-dimensional structure diagram of the fan base of the rechargeable fan of the utility model;
Fig. 5 is the circuit block diagram of the rechargeable fan embodiment one of the utility model;
Fig. 6 is the circuit block diagram of the rechargeable fan embodiment two of the utility model;
Fig. 7 is the circuit block diagram of the rechargeable fan embodiment three of the utility model;
Fig. 8 is the circuit block diagram of the rechargeable fan embodiment four of the utility model.
Embodiment
In order to more fully understand technology contents of the present utility model, the technical solution of the utility model is further introduced and explanation below in conjunction with the drawings and specific embodiments.
As Fig. 1, Fig. 2, Fig. 3 and shown in Figure 4, structural drawing for the rechargeable fan specific embodiment of the utility model, the rechargeable fan of the utility model has comprisedfan base 1 andfan body 2 among this embodiment,fan base 1 comprises achassis 16 and is fixedly arranged on thepole 17 at 16 centers, chassis,chassis 16 also is provided with thepower plug 11 of band power line, the upper-end surface ofpole 17 is provided with and is used for and thefan body 2 electrical power supply ports 18 that connect, be used for the tenon 19 that is fixedly connected with fan body plug formula, this power supply port 18 is that two pairs of rubber-like electrodes (are respectively applied for rectification circuit and fan circuit, charging circuit connects with rechargeable battery, also can adopt the mode of shared pair of electrodes).Fan body 2 is divided into movablefan body top 28 and thefan body bottom 29 that connects of rotary type, the inboard, upper-end surface onfan body top 28 is provided with fan control panel 22, the outside, upper-end surface is provided with and the corresponding operatedkey 280 of fan control panel, be provided with wind wheel 281 in the fan body top, the lower end on fan body top is provided with the fan electromotor 23 that connects with wind wheel 281.The power connection end mouth 27 (drain pan of fan body bottom is provided with the through hole 292 that is used to pass power supply port 18) thatfan body bottom 29 is provided with fan circuit 21, rechargeable battery 24, inverter 26, head-shaking motor 25, connects with power supply port 18 on the fan base.Fan body bottom 28 also is provided with uses the groove 293 that is fixedly connected withfan base 1 plug formula, in addition in the present embodiment, can do 360 degree rotations between fan body top and the fan body bottom, for the circuit of realizing control panel, fan electromotor connects, the lower end onfan body top 28 is provided with electric slip ring 282, andfan body bottom 29 is provided with and is used for and the electric slip ring 282 electrical brush shell fragments 291 that connect.Thehandle 290 thatfan body bottom 29 is provided be used forfan body 2 whenfan base 1 takes off independent use fixing, increase stability when placing, also can comply with the actual handle of setting up other form, perhaps be not provided with handle.The circuit connecting mode of present embodiment is identical with mode of execution shown in Figure 6 two, head-shaking motor, fan electromotor are AC motor, the power supply that offersfan body 2 on thefan base 1 is the direct current safety power supply, so can power tofan body 2 with the electrode of projection.In order to save electricity consumption, can also design a mechanical type touch switch (15B as shown in Figure 6), at fan
Figure Y20082009388500081
Whenbody 2 does not place above thefan base 1, the not conducting of mechanical type touch switch, transformer, rectification circuit, charging circuit all do not have power supply to provide at this moment, the circuit that can realizefan base 1 does not have electric energy loss, have onlyfan body 2 place on thefan base 1 and when being in correct position the mechanical type touch switch by under the gravity pressure, turn-onpower plug 11 connects with transformer, but this moment,fan base 1 provided power supply for fan body 2.Fan body 2 places on thefan base 1, promptly rechargeable battery 24 is charged, this moment, the rectification circuit of fan base provided electric energy for fan circuit, provide power by inverter for fan electromotor, head-shaking motor again, the purpose of an edge work realizes charging on one side, close fan by operatedkey 280 when need not to dry, can charge separately this moment.The electric weight indication of rechargeable battery all can show by control panel, with the prompting user, also may adopt smart circuit that rechargeable battery is carried out intelligent charge.Operation for the ease of the user, can be provided with a handle groove 283 that is used to control (pick up or put down) whole fan body in the upper end of fan body, the size of handle groove 283, shape can be changed to various forms according to actual demand under the situation that does not influence overall appearance and internal structure.
Mechanical structure mode of execution of the present utility model does not limit to Fig. 1 to shown in Figure 4, the fan or the desk-top fan structure that changes that also can be used for disc type, can adopt band to shake the head or be not with and shake the head, the angle of shaking the head can be 90 degree, 180 degree, 270 degree or the continuous revolution that surpasses 360 degree, the plug formula of fan base and fan body is fixedly connected except the mode of tenon in the foregoing description and groove, can also be that seizing type connects, (for example: bull readily removable fast also can increase screw
Figure Y20082009388500091
Screw fashion), do not enumerate one by one at this.
With the connecting mode of circuit, with four kinds of different mode of executions the utility model is illustrated further below in conjunction with mechanical structure.
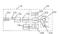
As shown in Figure 5, be the circuit block diagram of the rechargeable fan mode of execution one of the utility model; The rechargeable fan of the utility model has comprised fan base 1A andfan body 2A, fan base 1A is provided withpower plug 11A, mechanicaltype touch switch 15A (mechanical type touch switch one end connects with power plug, and the other end connects with the transformer input end),transformer 12A, rectification circuit 13A, charging circuit14A.Fan body 2A is provided withfan circuit 21A,control panel 22A, fan electromotor 23A,rechargeable battery 24A and head-shaking motor 25A.Fan electromotor 23A, head-shaking motor 25A are direct current generator, whenfan body 2A places fan base 1A to go up, rectification circuit 13A provides DC electrical source forfan circuit 21A, control bycontrol panel 22A, realize the running of fan electromotor 23A, head-shaking motor 25A different rotating speeds,charging circuit 14A charges forrechargeable battery 24A simultaneously.Whenfan body 2A broke away from fan base 1A,rechargeable battery 24A realized various controls forfan circuit 21A provides power supply.
As shown in Figure 6, circuit block diagram for the rechargeable fan embodiment two of the utility model, the rechargeable fan of the utility model has comprised fan base 1B and fan body 2B, and fan base 1B is provided with power plug 11B, mechanical type touch switch 15B, transformer 12B, rectification circuit 13B, charging circuit 14B.Fan body 2B is provided with fan circuit 21B, control panel 22B, fan electromotor 23B, rechargeable battery 24B, head-shaking motor 25B and inverter 26B (the inverter input end connects with rechargeable battery, and inverter output end connects with fan electromotor, head-shaking motor).Fan electromotor 23B, head-shaking motor 25B are AC motor, when fan body 2B places fan base 1B to go up, rectification circuit 13B provides DC electrical source for fan circuit 21B, control by control panel 22B, provide power supply for fan electromotor 23B, head-shaking motor 25B and realize their runnings with different rotating speeds by inverter 26B, charging circuit 14B charges for rechargeable battery 24B simultaneously.When fan body 2B broke away from fan base 1B, rechargeable battery 24B realized various controls for fan circuit 21B, inverter 26B provide power supply.
As shown in Figure 7, circuit block diagram for the rechargeable fan embodiment three of the utility model, the rechargeable fan of the utility model has comprised fan base 1C and fan body 2C, and fan base 1C is provided with power plug 11C, mechanical type touch switch 15C, transformer 12C, rectification circuit 13C, charging circuit 14C.Fan body 2C is provided with fan circuit 21C, control panel 22C, fan electromotor 23C, rechargeable battery 24C, head-shaking motor 25C and inverter 26C, and (the inverter input end connects with rechargeable battery, inverter output end connects with fan electromotor, head-shaking motor), transformer 12C input end is provided with a lead 10C (fan body and fan base are provided with corresponding power supply port/power connection end mouth) who connects with fan electromotor 23C, head-shaking motor 25C again along fan circuit 21C.Fan electromotor 23C, head-shaking motor 25C are AC motor, when fan body 2C places fan base 1C to go up, rectification circuit 13C provides DC electrical source for fan circuit 21C, fan base 1C provides ac power supply for fan circuit 21C, control by control panel 22C, for fan electromotor 23C, head-shaking motor 25C provide power supply and realize their runnings with different rotating speeds, charging circuit 14C charges for rechargeable battery 24D simultaneously.When fan body 2C broke away from fan base 1C, rechargeable battery 24C was that fan circuit 21C, inverter 26C (inverter 26C has ac power supply and exports fan electromotor 23C and head-shaking motor 25C at this moment) provide DC electrical source, realizes various controls.
As shown in Figure 8, be the circuit block diagram of the rechargeable fan embodiment four of the utility model, the rechargeable fan of the utility model has comprisedfan base 1D andfan body 2D, andfan base 1D is provided withpower plug 11D, mechanical type touch switch15D.Fan body 2D is provided withtransformer 12D, rectification circuit 13D,charging circuit 14D,fan circuit 21D,control panel 22D, fan electromotor 23D, rechargeable battery 24D, head-shaking motor 25D and inverter 26D (the inverter input end connects with rechargeable battery, and inverter output end connects with fan electromotor, head-shaking motor).Fan electromotor 23D, head-shaking motor 25D are AC motor, whenfan body 2Dplaces fan base 1D to go up,power plug 11D on the fan base connects withtransformer 12D andfan circuit 21D (ac power supply is provided) by the power supply port, rectification circuit 13D provides DC electrical source for fan circuit 21B, control by control panel 22B, provide ac power supply for fan electromotor 23D, head-shakingmotor 25D and realize their runnings with different rotating speeds byfan circuit 21D,charging circuit 14D charges for rechargeable battery 24D simultaneously.Whenfan body 2D broke away fromfan base 1D, rechargeable battery 24D was thatfan circuit 21D, inverter 26D (inverter 26D has ac power supply and exports fan electromotor 23D and head-shakingmotor 25D at this moment) provide power supply, realizes various controls.In this mode of execution, power supply port and power connection end mouth can adopt the structural type of AC outlet and ac plug, but considering should not have bump to the bottom of fan body, can be provided with the cavity of a built-in plug in the bottom of fan body, be provided with the projection of a built-in socket in the upper end of fan base, get final product.
As further innovation of the present utility model, can on fan base, be provided with lighting burner, make it become a floor lamp and use; Make full use of the effect of rechargeable battery; side at fan body has additional lighting burner; make it become a kind of flare-up light and use, the technological scheme that increases lighting burner at fan base and/or fan body belongs to further extension of the present utility model, all belongs to protection category of the present utility model.
The above angle from specific embodiment discloses further to technology contents of the present utility model; but do not represent mode of execution of the present utility model and rights protection to be confined to this, rights protection scope of the present utility model should be as the criterion in claims of the present utility model.

Claims (10)

1. rechargeable fan, comprise fan body and fan base, fan body comprises fan electromotor, fan circuit and fan control panel, it is characterized in that: described fan body and fan base are fixedly connected for the plug formula, the upper end of fan base is provided with and is used for the power supply port that electrically connects with fan body, the bottom of fan body is provided with and is used for the power connection end mouth that electrically connects with fan base, and described fan body also is provided with the rechargeable battery that connects with fan circuit.
2. rechargeable fan according to claim 1, it is characterized in that: described fan base is provided with power plug, transformer, rectification circuit and the charging circuit that electrically connects successively, charging circuit connects with the rechargeable battery that fan body is provided with, and rectification circuit connects with fan circuit.
3. rechargeable fan according to claim 2 is characterized in that: described fan base upper end is provided with and is used for and the fixing tenon of fan body, and the fan body lower end is provided with and is used for and the fixing groove of fan base.
4, rechargeable fan according to claim 3, it is characterized in that: described fan body is a cylindrical structure, comprise movable fan body top and the fan body bottom that connects of rotary type, fan body is provided with wind wheel in the top, and the fan body bottom also is provided with a head-shaking motor.
5. rechargeable fan according to claim 4, it is characterized in that: can rotate by 360 degree between described fan body top and the fan body bottom, fan circuit is located at the fan body bottom, and the fan control panel is located at the inboard, upper end on fan top, and the outside, upper end is provided with and controls
Figure Y2008200938850002C1
The corresponding operated key of panel; The lower end on fan body top is provided with electric slip ring, and the fan body bottom is provided with and is used for the brush shell fragment that connects with electric slip ring.
6. according to claim 1,2,3,4 or 5 described rechargeable fans, it is characterized in that: described fan base upper end is provided with a mechanical type touch switch, and described mechanical type touch switch one end connects with power plug, and the other end connects with the transformer input end.
7. rechargeable fan according to claim 6, it is characterized in that: described fan electromotor and head-shaking motor are AC motor, described transformer input end is provided with a lead that connects with fan electromotor, head-shaking motor again along fan circuit, also be provided with inverter in the fan body, the inverter input end connects with rechargeable battery, and inverter output end connects with fan electromotor, head-shaking motor.
8. rechargeable fan according to claim 6, it is characterized in that: described fan electromotor and head-shaking motor are AC motor, also be provided with inverter in the described fan body, the inverter input end connects with rectification circuit, rechargeable battery, and inverter output end connects with fan electromotor, head-shaking motor.
9. rechargeable fan according to claim 6 is characterized in that: described fan electromotor and head-shaking motor are direct current generator, and the output terminal of rechargeable battery connects with fan electromotor, head-shaking motor along fan circuit again.
10. rechargeable fan according to claim 1, it is characterized in that: described fan base comprises a chassis and is fixedly arranged on the pole of center chassis, the chassis is provided with the power plug of band power line, the upper-end surface of pole is provided with the aforementioned electrically power supply port of connection that is used for, described power supply port is an AC outlet, be provided with the transformer, rectification circuit, the charging circuit that electrically connect successively in the fan body, rectification circuit also connects with fan circuit, and the output terminal of charging circuit connects with rechargeable battery; The power connection end mouth that the fan body lower end is provided with is an ac plug, and this ac plug connects with the transformer input end, and also is connected with a lead that connects with fan electromotor again along fan circuit, and described fan electromotor is an AC motor; Also be provided with an inverter in the fan body, this inverter input end connects with rechargeable battery, and output terminal connects with fan electromotor.
CNU2008200938854U2008-05-062008-05-06Charging type fanExpired - Fee RelatedCN201221477Y (en)

Priority Applications (1)

Application NumberPriority DateFiling DateTitle
CNU2008200938854UCN201221477Y (en)2008-05-062008-05-06Charging type fan

Applications Claiming Priority (1)

Application NumberPriority DateFiling DateTitle
CNU2008200938854UCN201221477Y (en)2008-05-062008-05-06Charging type fan

Publications (1)

Publication NumberPublication Date
CN201221477Ytrue CN201221477Y (en)2009-04-15

Family

ID=40574985

Family Applications (1)

Application NumberTitlePriority DateFiling Date
CNU2008200938854UExpired - Fee RelatedCN201221477Y (en)2008-05-062008-05-06Charging type fan

Country Status (1)

CountryLink
CN (1)CN201221477Y (en)

Cited By (74)

* Cited by examiner, † Cited by third party
Publication numberPriority datePublication dateAssigneeTitle
WO2011066749A1 (en)*2009-12-022011-06-09Chan YewchohDouble fan structure
GB2484318A (en)*2010-10-062012-04-11Dyson Technology LtdA portable, bladeless fan having a direct current power supply
US8246317B2 (en)2009-03-042012-08-21Dyson Technology LimitedFan assembly
US8308432B2 (en)2009-03-042012-11-13Dyson Technology LimitedFan assembly
US8348629B2 (en)2008-09-232013-01-08Dyston Technology LimitedFan
US8348597B2 (en)2009-03-042013-01-08Dyson Technology LimitedFan assembly
US8356804B2 (en)2009-03-042013-01-22Dyson Technology LimitedHumidifying apparatus
US8366403B2 (en)2010-08-062013-02-05Dyson Technology LimitedFan assembly
US8403650B2 (en)2007-09-042013-03-26Dyson Technology LimitedFan
US8403640B2 (en)2009-03-042013-03-26Dyson Technology LimitedFan assembly
US8408869B2 (en)2009-03-042013-04-02Dyson Technology LimitedFan assembly
US8430624B2 (en)2009-03-042013-04-30Dyson Technology LimitedFan assembly
US8454322B2 (en)2009-11-062013-06-04Dyson Technology LimitedFan having a magnetically attached remote control
US8469658B2 (en)2009-03-042013-06-25Dyson Technology LimitedFan
US8469660B2 (en)2009-03-042013-06-25Dyson Technology LimitedFan assembly
US8613601B2 (en)2009-03-042013-12-24Dyson Technology LimitedFan assembly
US8714937B2 (en)2009-03-042014-05-06Dyson Technology LimitedFan assembly
US8721286B2 (en)2009-03-042014-05-13Dyson Technology LimitedFan assembly
US8734094B2 (en)2010-08-062014-05-27Dyson Technology LimitedFan assembly
US8770946B2 (en)2010-03-232014-07-08Dyson Technology LimitedAccessory for a fan
CN103953557A (en)*2014-05-262014-07-30贵州大学Three-dimensional wind source fan and production method thereof
US8873940B2 (en)2010-08-062014-10-28Dyson Technology LimitedFan assembly
US8882451B2 (en)2010-03-232014-11-11Dyson Technology LimitedFan
US8894354B2 (en)2010-09-072014-11-25Dyson Technology LimitedFan
US8967979B2 (en)2010-10-182015-03-03Dyson Technology LimitedFan assembly
US8967980B2 (en)2010-10-182015-03-03Dyson Technology LimitedFan assembly
US9011116B2 (en)2010-05-272015-04-21Dyson Technology LimitedDevice for blowing air by means of a nozzle assembly
USD728092S1 (en)2013-08-012015-04-28Dyson Technology LimitedFan
USD728769S1 (en)2013-08-012015-05-05Dyson Technology LimitedFan
USD728770S1 (en)2013-08-012015-05-05Dyson Technology LimitedFan
USD729373S1 (en)2013-03-072015-05-12Dyson Technology LimitedFan
USD729374S1 (en)2013-03-072015-05-12Dyson Technology LimitedFan
USD729376S1 (en)2013-03-072015-05-12Dyson Technology LimitedFan
USD729375S1 (en)2013-03-072015-05-12Dyson Technology LimitedFan
USD729372S1 (en)2013-03-072015-05-12Dyson Technology LimitedFan
USD729925S1 (en)2013-03-072015-05-19Dyson Technology LimitedFan
US9127855B2 (en)2011-07-272015-09-08Dyson Technology LimitedFan assembly
US9127689B2 (en)2009-03-042015-09-08Dyson Technology LimitedFan assembly
US9151299B2 (en)2012-02-062015-10-06Dyson Technology LimitedFan
USD746425S1 (en)2013-01-182015-12-29Dyson Technology LimitedHumidifier
USD746966S1 (en)2013-01-182016-01-05Dyson Technology LimitedHumidifier
USD747450S1 (en)2013-01-182016-01-12Dyson Technology LimitedHumidifier
US9249809B2 (en)2012-02-062016-02-02Dyson Technology LimitedFan
USD749231S1 (en)2013-01-182016-02-09Dyson Technology LimitedHumidifier
US9283573B2 (en)2012-02-062016-03-15Dyson Technology LimitedFan assembly
US9328739B2 (en)2012-01-192016-05-03Dyson Technology LimitedFan
US9366449B2 (en)2012-03-062016-06-14Dyson Technology LimitedHumidifying apparatus
US9410711B2 (en)2013-09-262016-08-09Dyson Technology LimitedFan assembly
US9458853B2 (en)2011-07-272016-10-04Dyson Technology LimitedFan assembly
US9513028B2 (en)2009-03-042016-12-06Dyson Technology LimitedFan assembly
US9568021B2 (en)2012-05-162017-02-14Dyson Technology LimitedFan
US9568006B2 (en)2012-05-162017-02-14Dyson Technology LimitedFan
US9599356B2 (en)2014-07-292017-03-21Dyson Technology LimitedHumidifying apparatus
US9732763B2 (en)2012-07-112017-08-15Dyson Technology LimitedFan assembly
US9745996B2 (en)2010-12-022017-08-29Dyson Technology LimitedFan
US9745981B2 (en)2011-11-112017-08-29Dyson Technology LimitedFan assembly
US9752789B2 (en)2012-03-062017-09-05Dyson Technology LimitedHumidifying apparatus
US9797414B2 (en)2013-07-092017-10-24Dyson Technology LimitedFan assembly
US9797613B2 (en)2012-03-062017-10-24Dyson Technology LimitedHumidifying apparatus
US9797612B2 (en)2013-01-292017-10-24Dyson Technology LimitedFan assembly
CN107299920A (en)*2016-04-142017-10-27广东德昌电机有限公司Bladeless fan
US9816531B2 (en)2008-10-252017-11-14Dyson Technology LimitedFan utilizing coanda surface
US9822778B2 (en)2012-04-192017-11-21Dyson Technology LimitedFan assembly
US9903602B2 (en)2014-07-292018-02-27Dyson Technology LimitedHumidifying apparatus
US9927136B2 (en)2012-03-062018-03-27Dyson Technology LimitedFan assembly
US9926804B2 (en)2010-11-022018-03-27Dyson Technology LimitedFan assembly
US9982677B2 (en)2014-07-292018-05-29Dyson Technology LimitedFan assembly
US10094392B2 (en)2011-11-242018-10-09Dyson Technology LimitedFan assembly
US10100836B2 (en)2010-10-132018-10-16Dyson Technology LimitedFan assembly
US10145583B2 (en)2012-04-042018-12-04Dyson Technology LimitedHeating apparatus
US10408478B2 (en)2012-03-062019-09-10Dyson Technology LimitedHumidifying apparatus
US10428837B2 (en)2012-05-162019-10-01Dyson Technology LimitedFan
US10465928B2 (en)2012-03-062019-11-05Dyson Technology LimitedHumidifying apparatus
US10612565B2 (en)2013-01-292020-04-07Dyson Technology LimitedFan assembly

Cited By (99)

* Cited by examiner, † Cited by third party
Publication numberPriority datePublication dateAssigneeTitle
US8764412B2 (en)2007-09-042014-07-01Dyson Technology LimitedFan
US9249810B2 (en)2007-09-042016-02-02Dyson Technology LimitedFan
US8403650B2 (en)2007-09-042013-03-26Dyson Technology LimitedFan
US8348629B2 (en)2008-09-232013-01-08Dyston Technology LimitedFan
US9816531B2 (en)2008-10-252017-11-14Dyson Technology LimitedFan utilizing coanda surface
US10145388B2 (en)2008-10-252018-12-04Dyson Technology LimitedFan with a filter
US8721286B2 (en)2009-03-042014-05-13Dyson Technology LimitedFan assembly
US8783663B2 (en)2009-03-042014-07-22Dyson Technology LimitedHumidifying apparatus
US8348596B2 (en)2009-03-042013-01-08Dyson Technology LimitedFan assembly
US8356804B2 (en)2009-03-042013-01-22Dyson Technology LimitedHumidifying apparatus
US9127689B2 (en)2009-03-042015-09-08Dyson Technology LimitedFan assembly
US8308432B2 (en)2009-03-042012-11-13Dyson Technology LimitedFan assembly
US8403640B2 (en)2009-03-042013-03-26Dyson Technology LimitedFan assembly
US8408869B2 (en)2009-03-042013-04-02Dyson Technology LimitedFan assembly
US8430624B2 (en)2009-03-042013-04-30Dyson Technology LimitedFan assembly
US9513028B2 (en)2009-03-042016-12-06Dyson Technology LimitedFan assembly
US8469658B2 (en)2009-03-042013-06-25Dyson Technology LimitedFan
US8469655B2 (en)2009-03-042013-06-25Dyson Technology LimitedFan assembly
US8469660B2 (en)2009-03-042013-06-25Dyson Technology LimitedFan assembly
US8529203B2 (en)2009-03-042013-09-10Dyson Technology LimitedFan assembly
US8613601B2 (en)2009-03-042013-12-24Dyson Technology LimitedFan assembly
US8684687B2 (en)2009-03-042014-04-01Dyson Technology LimitedFan assembly
US8708650B2 (en)2009-03-042014-04-29Dyson Technology LimitedFan assembly
US8714937B2 (en)2009-03-042014-05-06Dyson Technology LimitedFan assembly
US8246317B2 (en)2009-03-042012-08-21Dyson Technology LimitedFan assembly
US9599368B2 (en)2009-03-042017-03-21Dyson Technology LimitedNozzle for bladeless fan assembly with heater
US10006657B2 (en)2009-03-042018-06-26Dyson Technology LimitedFan assembly
US10221860B2 (en)2009-03-042019-03-05Dyson Technology LimitedFan assembly
US8784071B2 (en)2009-03-042014-07-22Dyson Technology LimitedFan assembly
US8348597B2 (en)2009-03-042013-01-08Dyson Technology LimitedFan assembly
US8784049B2 (en)2009-03-042014-07-22Dyson Technology LimitedFan
US8932028B2 (en)2009-03-042015-01-13Dyson Technology LimitedFan assembly
US9004878B2 (en)2009-11-062015-04-14Dyson Technology LimitedFan having a magnetically attached remote control
US8454322B2 (en)2009-11-062013-06-04Dyson Technology LimitedFan having a magnetically attached remote control
WO2011066749A1 (en)*2009-12-022011-06-09Chan YewchohDouble fan structure
US8770946B2 (en)2010-03-232014-07-08Dyson Technology LimitedAccessory for a fan
US8882451B2 (en)2010-03-232014-11-11Dyson Technology LimitedFan
US9011116B2 (en)2010-05-272015-04-21Dyson Technology LimitedDevice for blowing air by means of a nozzle assembly
US8873940B2 (en)2010-08-062014-10-28Dyson Technology LimitedFan assembly
US8366403B2 (en)2010-08-062013-02-05Dyson Technology LimitedFan assembly
US10344773B2 (en)2010-08-062019-07-09Dyson Technology LimitedFan assembly
US8734094B2 (en)2010-08-062014-05-27Dyson Technology LimitedFan assembly
US8894354B2 (en)2010-09-072014-11-25Dyson Technology LimitedFan
US9745988B2 (en)2010-09-072017-08-29Dyson Technology LimitedFan
WO2012046023A1 (en)*2010-10-062012-04-12Dyson Technology LimitedBattery driven portable fan
CN102444628A (en)*2010-10-062012-05-09戴森技术有限公司Fan assembly
GB2484318A (en)*2010-10-062012-04-11Dyson Technology LtdA portable, bladeless fan having a direct current power supply
US10100836B2 (en)2010-10-132018-10-16Dyson Technology LimitedFan assembly
US8967979B2 (en)2010-10-182015-03-03Dyson Technology LimitedFan assembly
US8967980B2 (en)2010-10-182015-03-03Dyson Technology LimitedFan assembly
US9926804B2 (en)2010-11-022018-03-27Dyson Technology LimitedFan assembly
US9745996B2 (en)2010-12-022017-08-29Dyson Technology LimitedFan
US9291361B2 (en)2011-07-272016-03-22Dyson Technology LimitedFan assembly
US10094581B2 (en)2011-07-272018-10-09Dyson Technology LimitedFan assembly
US9127855B2 (en)2011-07-272015-09-08Dyson Technology LimitedFan assembly
US9458853B2 (en)2011-07-272016-10-04Dyson Technology LimitedFan assembly
US9335064B2 (en)2011-07-272016-05-10Dyson Technology LimitedFan assembly
US9745981B2 (en)2011-11-112017-08-29Dyson Technology LimitedFan assembly
US10094392B2 (en)2011-11-242018-10-09Dyson Technology LimitedFan assembly
US9328739B2 (en)2012-01-192016-05-03Dyson Technology LimitedFan
US9249809B2 (en)2012-02-062016-02-02Dyson Technology LimitedFan
US9151299B2 (en)2012-02-062015-10-06Dyson Technology LimitedFan
US9283573B2 (en)2012-02-062016-03-15Dyson Technology LimitedFan assembly
US9797613B2 (en)2012-03-062017-10-24Dyson Technology LimitedHumidifying apparatus
US10408478B2 (en)2012-03-062019-09-10Dyson Technology LimitedHumidifying apparatus
US9927136B2 (en)2012-03-062018-03-27Dyson Technology LimitedFan assembly
US9366449B2 (en)2012-03-062016-06-14Dyson Technology LimitedHumidifying apparatus
US9752789B2 (en)2012-03-062017-09-05Dyson Technology LimitedHumidifying apparatus
US10563875B2 (en)2012-03-062020-02-18Dyson Technology LimitedHumidifying apparatus
US10465928B2 (en)2012-03-062019-11-05Dyson Technology LimitedHumidifying apparatus
US10145583B2 (en)2012-04-042018-12-04Dyson Technology LimitedHeating apparatus
US9822778B2 (en)2012-04-192017-11-21Dyson Technology LimitedFan assembly
US10428837B2 (en)2012-05-162019-10-01Dyson Technology LimitedFan
US9568006B2 (en)2012-05-162017-02-14Dyson Technology LimitedFan
US10309420B2 (en)2012-05-162019-06-04Dyson Technology LimitedFan
US9568021B2 (en)2012-05-162017-02-14Dyson Technology LimitedFan
US9732763B2 (en)2012-07-112017-08-15Dyson Technology LimitedFan assembly
USD746425S1 (en)2013-01-182015-12-29Dyson Technology LimitedHumidifier
USD749231S1 (en)2013-01-182016-02-09Dyson Technology LimitedHumidifier
USD746966S1 (en)2013-01-182016-01-05Dyson Technology LimitedHumidifier
USD747450S1 (en)2013-01-182016-01-12Dyson Technology LimitedHumidifier
US9797612B2 (en)2013-01-292017-10-24Dyson Technology LimitedFan assembly
US10612565B2 (en)2013-01-292020-04-07Dyson Technology LimitedFan assembly
USD729373S1 (en)2013-03-072015-05-12Dyson Technology LimitedFan
USD729374S1 (en)2013-03-072015-05-12Dyson Technology LimitedFan
USD729925S1 (en)2013-03-072015-05-19Dyson Technology LimitedFan
USD729376S1 (en)2013-03-072015-05-12Dyson Technology LimitedFan
USD729372S1 (en)2013-03-072015-05-12Dyson Technology LimitedFan
USD729375S1 (en)2013-03-072015-05-12Dyson Technology LimitedFan
US9797414B2 (en)2013-07-092017-10-24Dyson Technology LimitedFan assembly
USD728769S1 (en)2013-08-012015-05-05Dyson Technology LimitedFan
USD728092S1 (en)2013-08-012015-04-28Dyson Technology LimitedFan
USD728770S1 (en)2013-08-012015-05-05Dyson Technology LimitedFan
US9410711B2 (en)2013-09-262016-08-09Dyson Technology LimitedFan assembly
CN103953557A (en)*2014-05-262014-07-30贵州大学Three-dimensional wind source fan and production method thereof
US9982677B2 (en)2014-07-292018-05-29Dyson Technology LimitedFan assembly
US9599356B2 (en)2014-07-292017-03-21Dyson Technology LimitedHumidifying apparatus
US9903602B2 (en)2014-07-292018-02-27Dyson Technology LimitedHumidifying apparatus
CN107299920A (en)*2016-04-142017-10-27广东德昌电机有限公司Bladeless fan

Similar Documents

PublicationPublication DateTitle
CN201221477Y (en)Charging type fan
CN209516744U (en)A kind of wireless charger
CN106764625A (en)A kind of multi-function desk lamp
CN208106809U (en)The hand-held fan in open air
CN204044664U (en)Sun power video display illumination home appliance system
CN204930600U (en)Based on the solar energy intelligent umbrella of wind light mutual complementing power generation
CN219247498U (en)Outdoor power supply
CN208284744U (en)A kind of intelligent socket
CN202381360U (en)Multifunctional portable electric fan
CN207920906U (en)A kind of Multifunctional fan
CN204103558U (en)Portable case type solar DC portable power source
CN209058267U (en) A refrigerator storage, multimedia intelligent multi-purpose table
CN103133932A (en)Folding desk lamp with cosmetic mirror
CN207278549U (en)Novel hand-held fan
CN202233697U (en)Multifunctional DC high-temperature heating lunch box
CN201925197U (en)Emergency fan
CN206685639U (en)A kind of intelligent power off socket
CN209593066U (en)A kind of Portable AC/DC power supply
CN206112635U (en)Portable multi -functional camping desk lamp
CN206442307U (en)Multifunctional vehicle mounted inverter
CN202056728U (en)Solar desk lamp
CN202868546U (en)Green multifunctional desk lamp
CN203911797U (en)A novel electric bicycle inverter
CN222301648U (en)Multifunctional inverter
CN206636807U (en)A kind of New Type of Fan

Legal Events

DateCodeTitleDescription
C14Grant of patent or utility model
GR01Patent grant
C17Cessation of patent right
CF01Termination of patent right due to non-payment of annual fee

Granted publication date:20090415

Termination date:20130506


[8]ページ先頭

©2009-2025 Movatter.jp