Movatterモバイル変換


[0]ホーム

URL:


CN201194632Y - Suction disc for toothbrush - Google Patents

Suction disc for toothbrush
Download PDF

Info

Publication number
CN201194632Y
CN201194632YCNU2008200582816UCN200820058281UCN201194632YCN 201194632 YCN201194632 YCN 201194632YCN U2008200582816 UCNU2008200582816 UCN U2008200582816UCN 200820058281 UCN200820058281 UCN 200820058281UCN 201194632 YCN201194632 YCN 201194632Y
Authority
CN
China
Prior art keywords
toothbrush
hole
sucker
adhesive disc
reverse side
Prior art date
Legal status (The legal status is an assumption and is not a legal conclusion. Google has not performed a legal analysis and makes no representation as to the accuracy of the status listed.)
Expired - Fee Related
Application number
CNU2008200582816U
Other languages
Chinese (zh)
Inventor
徐荣华
郑昭
Current Assignee (The listed assignees may be inaccurate. Google has not performed a legal analysis and makes no representation or warranty as to the accuracy of the list.)
SHANGHAI BAOSHAN DISTRICT QILIAN CENTRAL SCHOOL
Original Assignee
SHANGHAI BAOSHAN DISTRICT QILIAN CENTRAL SCHOOL
Priority date (The priority date is an assumption and is not a legal conclusion. Google has not performed a legal analysis and makes no representation as to the accuracy of the date listed.)
Filing date
Publication date
Application filed by SHANGHAI BAOSHAN DISTRICT QILIAN CENTRAL SCHOOLfiledCriticalSHANGHAI BAOSHAN DISTRICT QILIAN CENTRAL SCHOOL
Priority to CNU2008200582816UpriorityCriticalpatent/CN201194632Y/en
Application grantedgrantedCritical
Publication of CN201194632YpublicationCriticalpatent/CN201194632Y/en
Anticipated expirationlegal-statusCritical
Expired - Fee Relatedlegal-statusCriticalCurrent

Links

Images

Landscapes

Abstract

The utility model relates to living goods, in particular to an adhesive disc for a toothbrush, which comprises an adhesive disc and a toothbrush. The adhesive disc for a toothbrush is characterized in that the reverse side of the adhesive disc is extended and provided with a hole with a rib arranged at the external orifice, the tail part of the toothbrush is provided with a groove matching with the size of the rib on the reverse side of the adhesive disc, the inside diameter of the hole is larger than the outside diameter of the toothbrush tail, and the orifice is provided with a rib. With the reverse side of the adhesive disc extended and provided with the hole with the rib and the tail part of the toothbrush provided with the groove matching with the size of the rib in the hole, the toothbrush can be arranged on the adhesive disc, and the toothbrush can be placed at a well-ventilated site under the action of the adhesive disc, so that the dry toothbrush can prevent the growth of bacteria to guarantee the health of a user. The utility model has simple structure, convenient operation, effective cost and sanitation.

Description

The sucker that is used for toothbrush
Technical field
The utility model relates to a kind of daily necessities, relates in particular to a kind of sucker that is used for toothbrush.
Background technology
In existing life, because toothbrush does not have the specific place of placing after making good use of, toothbrush can not be dried up in the place that air flows, moist toothbrush is grown bacterium fast, makes the people throat often cause disease.
Summary of the invention
The utility model provides the change by sucker and Tooth-brush structure, and toothbrush can be inserted on the sucker, and the sucker that is used for toothbrush that can place the ventilation to dry up.
For achieving the above object, the technical solution of the utility model is: a kind of sucker that is used for toothbrush, comprise sucker, toothbrush, be characterized in that the reverse side of described sucker prolongs and is equipped with the hole that collar extension has fin, the afterbody of described toothbrush is equipped with and the suitable groove of sucker reverse side fin size, the internal diameter in described hole is greater than the external diameter of toothbrush afterbody, and the place, aperture is equipped with fin.
The beneficial effects of the utility model are to have the sucker that is used for toothbrush that sucker makes toothbrush can place the ventilation to do soon.Prolong and be provided with the hole of fin at the reverse side of sucker, and at the afterbody setting of toothbrush and the suitable groove of fin in the hole, make toothbrush can place on the sucker, under the effect of sucker, make toothbrush can place the ventilation, dry toothbrush makes bacterium be difficult for growth, the guarantee user's is healthy, the utility model is simple in structure, and is easy to use, economic health.
Description of drawings
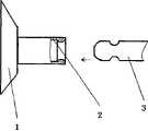
Fig. 1 is a structural representation of the present utility model.
The specific embodiment
Below in conjunction with accompanying drawing and embodiment the utility model is further described.
As shown in Figure 1, a kind of sucker that is used for toothbrush, comprisesucker 1,toothbrush 3, be characterized in that the reverse side of describedsucker 1 prolongs and is equipped with thehole 2 that collar extension has fin, the afterbody of describedtoothbrush 3 is equipped with and the suitable groove ofsucker 1 reverse side fin size, the internal diameter in describedhole 2 is greater than the external diameter oftoothbrush 3 afterbodys, and 2 mouthfuls of places, hole are equipped with fin.
As shown in Figure 1, prolong and be equipped with thehole 2 that collar extension has fin at the reverse side ofsucker 1, and the internal diameter inhole 2 is greater than the external diameter oftoothbrush 3 afterbodys, 2 mouthfuls of places, hole are equipped with fin, make the reverse side ofsucker 1 thattoothbrush 3 is inserted in thehole 2, it is more firm that fin is inserted in thehole 2toothbrush 3,toothbrush 3 can not drop out outside thehole 2, the afterbody oftoothbrush 3 is equipped with and the suitable groove ofsucker 1 reverse side fin size, makes betweentoothbrush 3 and thesucker 1 free gap reduce to minimum, during use,sucker 1 is adsorbed in the ventilation, treattoothbrush 3 make make good use of after, justtoothbrush 3 afterbodys are placed thehole 2 ofsucker 1, enter the groove oftoothbrush 3 afterbodys to fin.
Prolong and be provided with thehole 2 of fin at the reverse side ofsucker 1, and at the afterbody setting oftoothbrush 3 and the suitable groove of fin in thehole 2,toothbrush 3 can be placed on thesucker 1, under the effect ofsucker 1, maketoothbrush 3 can place the ventilation,dry toothbrush 3 makes bacterium be difficult for growth, the guarantee user's is healthy, the utility model is simple in structure, and is easy to use, economic health.

Claims (2)

CNU2008200582816U2008-05-092008-05-09Suction disc for toothbrushExpired - Fee RelatedCN201194632Y (en)

Priority Applications (1)

Application NumberPriority DateFiling DateTitle
CNU2008200582816UCN201194632Y (en)2008-05-092008-05-09Suction disc for toothbrush

Applications Claiming Priority (1)

Application NumberPriority DateFiling DateTitle
CNU2008200582816UCN201194632Y (en)2008-05-092008-05-09Suction disc for toothbrush

Publications (1)

Publication NumberPublication Date
CN201194632Ytrue CN201194632Y (en)2009-02-18

Family

ID=40414270

Family Applications (1)

Application NumberTitlePriority DateFiling Date
CNU2008200582816UExpired - Fee RelatedCN201194632Y (en)2008-05-092008-05-09Suction disc for toothbrush

Country Status (1)

CountryLink
CN (1)CN201194632Y (en)

Cited By (5)

* Cited by examiner, † Cited by third party
Publication numberPriority datePublication dateAssigneeTitle
CN104397972A (en)*2014-11-192015-03-11济南大学Toothbrush with good ventilating property
US9044083B2 (en)2012-08-152015-06-02Children Oral Care, LlcIlluminated multi-light flashing toothbrush and method of use
US9060596B2 (en)2007-04-122015-06-23Dr. Fresh, LlcIlluminated flashing toothbrush and method of use
USD776436S1 (en)2015-07-232017-01-17Colgate-Palmolive CompanyOral care implement
USD776937S1 (en)2015-07-232017-01-24Colgate-Palmolive CompanyOral care implement

Cited By (16)

* Cited by examiner, † Cited by third party
Publication numberPriority datePublication dateAssigneeTitle
US9060596B2 (en)2007-04-122015-06-23Dr. Fresh, LlcIlluminated flashing toothbrush and method of use
US9084473B2 (en)2007-04-122015-07-21Dr. Fresh, LlcIlluminated flashing toothbrush and method of use
US11191349B2 (en)2007-04-122021-12-07Ranir, LlcIlluminated flashing toothbrush and method of use
US11103059B2 (en)2007-04-122021-08-31Ranir, LlcIlluminated flashing toothbrush and method of use
US10085549B2 (en)2007-04-122018-10-02Dr. Fresh, LlcIlluminated flashing toothbrush and method of use
US10004324B2 (en)2012-08-152018-06-26Children Oral Care, LlcIlluminated multi-light flashing toothbrush and method of use
US9044083B2 (en)2012-08-152015-06-02Children Oral Care, LlcIlluminated multi-light flashing toothbrush and method of use
CN104397972B (en)*2014-11-192016-03-23济南大学 A well-ventilated toothbrush
CN104397972A (en)*2014-11-192015-03-11济南大学Toothbrush with good ventilating property
USD776937S1 (en)2015-07-232017-01-24Colgate-Palmolive CompanyOral care implement
USD840158S1 (en)2015-07-232019-02-12Colgate-Palmolive CompanyOral care implement
USD840692S1 (en)2015-07-232019-02-19Colgate-Palmolive CompanyOral care implement
USD882959S1 (en)2015-07-232020-05-05Colgate-Palmolive CompanyOral care implement
USD884353S1 (en)2015-07-232020-05-19Colgate-Palmolive CompanyOral care implement
USD776436S1 (en)2015-07-232017-01-17Colgate-Palmolive CompanyOral care implement
USD987300S1 (en)2015-07-232023-05-30Colgate-Palmolive CompanyOral care implement

Similar Documents

PublicationPublication DateTitle
CN201194632Y (en)Suction disc for toothbrush
CN201911546U (en)Sucking-type toothbrush
CN202603987U (en)Sucked type toothbrush
CN202085939U (en)Novel toothbrush
CN201004894Y (en)Feed boxes
CN202588743U (en)Novel sucker toothbrush
CN202514907U (en)Music toothbrush
CN201840224U (en)Chopstick box capable of air-drying chopsticks rapidly
CN201260705Y (en)Inserted tooth pick
CN200942152Y (en)Ear-cleaning brush
CN201977076U (en)Toothbrush with bent hook
CN202376031U (en)Broom with magnet
CN202153886U (en)Ikebana base with receiving box
CN203763013U (en)Broom with suction cup
CN203106162U (en)Novel toothbrush
CN202504527U (en)Toothbrush
CN205585761U (en)Novel fruit fork box
CN201617368U (en)Magnetic brush wall sticker
CN205109000U (en)Chess board of intelligence mosquito repellent
CN202085533U (en)Independent paper seedling cup
CN204635806U (en)Fruit dish
CN201822762U (en)Novel toothbrush cup
CN202078009U (en)Bowl
CN201684072U (en)Foldable-type earpick
CN202723706U (en)Tooth-brushing cup

Legal Events

DateCodeTitleDescription
C14Grant of patent or utility model
GR01Patent grant
C17Cessation of patent right
CF01Termination of patent right due to non-payment of annual fee

Granted publication date:20090218


[8]ページ先頭

©2009-2025 Movatter.jp