










技术领域technical field
本发明涉及一种液晶显示器(Liquid Crystal Display),尤其涉及一种多区域垂直配向型(Multi-domain Vertically Aligned,MVA)液晶显示器。The present invention relates to a liquid crystal display (Liquid Crystal Display), in particular to a multi-domain vertically aligned (Multi-domain Vertically Aligned, MVA) liquid crystal display.
背景技术Background technique
液晶显示器主要包含一个液晶显示器单元具有两块玻璃基板彼此对置而将一个液晶层夹设于其间。垂直配向(Vertical Aligned,VA)型液晶显示器是一种使用负型液晶材料以及垂直配向薄膜的类型(mode)。当无电压供应时,液晶分子排列在一垂直方向,因入射光线无法穿透该液晶显示器单元而出现黑屏幕显示(blackdisplay)。当供给一预先设定的电压时,液晶分子排列在一水平方向,因入射光线可以穿透该液晶显示器单元而出现白屏幕显示(white display)。A liquid crystal display mainly includes a liquid crystal display unit having two glass substrates facing each other with a liquid crystal layer sandwiched therebetween. A vertical alignment (Vertical Aligned, VA) type liquid crystal display is a type (mode) using a negative type liquid crystal material and a vertical alignment film. When there is no voltage supply, the liquid crystal molecules are arranged in a vertical direction, and a black display appears because the incident light cannot pass through the liquid crystal display unit. When a preset voltage is supplied, the liquid crystal molecules are arranged in a horizontal direction, and a white display appears because the incident light can pass through the liquid crystal display unit.
然而,当观看角度并非垂直于屏幕平面时,该垂直配向型液晶显示器会有对比下降或对比反转(contrast reversal)的问题。这是光与液晶显示器单元内液晶分子交互作用的结果。当光以非垂直的入射角通过液晶显示器单元时,其与液晶分子交互作用的方式不同于当光以垂直的入射角通过液晶显示器单元。因此,在光穿透状态(白)以及非穿透状态(黑)之间的对比在非垂直角度时明显下降,因而使这些显示器在许多应用(例如平面电视屏幕以及大型电脑屏幕)皆无法令人满意。However, when the viewing angle is not perpendicular to the plane of the screen, the vertical alignment type LCD has a problem of contrast reduction or contrast reversal. This is the result of light interacting with the liquid crystal molecules inside the LCD cell. When light passes through an LCD cell at a non-perpendicular angle of incidence, it interacts with the liquid crystal molecules in a different way than when light passes through the LCD cell at a normal angle of incidence. Consequently, the contrast between the light-transmissive state (white) and the non-transmissive state (black) drops significantly at non-perpendicular angles, making these displays impractical for many applications such as flat-screen TV screens and large computer screens. People are satisfied.
已知多区域垂直配向型液晶显示器的视野角度(viewing angle)表现,可通过将像素内液晶分子的方位(orientation)设定为多个互为不同的方向而加以改善。欧洲专利公告第0884626-A2号揭示一个多区域垂直配向型(multi-domainvertically aligned,MVA)液晶显示器,其具有多个区域调整构件用以改善其视野角度的表现。典型地,该区域调整构件通过在薄膜晶体管基板的像素电极上设多个狭缝(slit)并且在彩色滤光基板的共同电极上设多个突起(protrusion)而实现,其中这些突起与狭缝彼此交错排列。而液晶分子的排列的方位是由突起(protrusion)与狭缝(slit)的图案(pattern)产生的边场效应(fringe field)所决定。It is known that the viewing angle performance of a multi-domain vertical alignment liquid crystal display can be improved by setting the orientation of liquid crystal molecules in a pixel to a plurality of mutually different directions. European Patent Publication No. 0884626-A2 discloses a multi-domain vertically aligned (MVA) liquid crystal display, which has multiple domain adjustment components to improve its viewing angle performance. Typically, the area adjustment means is realized by providing a plurality of slits on the pixel electrodes of the thin film transistor substrate and providing a plurality of protrusions (protrusions) on the common electrode of the color filter substrate, wherein these protrusions are connected with the slits. staggered with each other. The alignment of liquid crystal molecules is determined by the fringe field effect generated by the pattern of protrusions and slits.
在前述液晶显示器的驱动上,其必须通过外加电压来使每一个像素(pixel)内所对应的液晶分子发生转动(rotation),并且通过液晶分子的转动来改变各个像素的透光率,所以该液晶显示器为了适应液晶分子的转动会显示不同的亮度(brightness)。In the driving of the aforementioned liquid crystal display, it is necessary to rotate the corresponding liquid crystal molecules in each pixel (pixel) by applying an external voltage, and change the light transmittance of each pixel through the rotation of the liquid crystal molecules, so the In order to adapt to the rotation of the liquid crystal molecules, the liquid crystal display will display different brightness (brightness).
对于大多数的液晶显示器而言,在初始电压固定时,当外加电压越高时,反应时间会越快,然而,对于一些液晶显示器而言,并不完全适用。For most LCDs, when the initial voltage is fixed, the higher the applied voltage, the faster the response time will be. However, for some LCDs, it is not completely applicable.
例如,在2004年于SID发表的”DCCII:Novel Method for Fast Response inPVA Mode”一文中即指出,以图案化垂直配向(Patterned Vertical Alignment;PVA)为显示模式的液晶显示器,在某些条件下,当外加一高电压时,反应时间相反地越慢。类似的情形也发生在以多区域垂直配向作为显示模式的液晶显示器。For example, in the article "DCCII: Novel Method for Fast Response inPVA Mode" published in SID in 2004, it was pointed out that, under certain conditions, liquid crystal displays with patterned vertical alignment (Patterned Vertical Alignment; PVA) as the display mode, When a high voltage is applied, the response time is conversely slower. A similar situation also occurs in liquid crystal displays with multi-domain vertical alignment as the display mode.
图9A显示传统多域垂直配向液晶显示器在像素区的突起与狭缝的配置图,图9B显示图9A沿A-A线的剖面图。请先参照9A图,液晶显示器的像素区400是利用一条闸线路402与一条数据线404交叉而定义,像素区400具有一个薄膜晶体管406与闸线路402、数据线404连接,并配置一个与薄膜晶体管406连接的像素电极408。请再参照第9B图,配置于像素区400的突起410与狭缝412分别形成在彩色滤光片基板414以及薄膜晶体管基板416。其中,突起410与狭缝412的配置使液晶分子的方位与上下偏光板(未图示)的穿透轴均呈45度角,使光线在通过多域垂直配向液晶显示器时,得呈现最大的灰阶亮度,而一旦液晶分子与上下偏光板(未图示)在突起410与狭缝412的调节(regulate)下仍无法呈45度角方位时,即称液晶分子的排列产生异常,此时当光线通过液晶显示器时,无法呈现最大灰阶亮度。FIG. 9A shows a configuration diagram of protrusions and slits in a pixel region of a conventional multi-domain vertical alignment liquid crystal display, and FIG. 9B shows a cross-sectional view along line A-A of FIG. 9A . Please refer to Figure 9A first, the pixel area 400 of the liquid crystal display is defined by the intersection of a gate line 402 and a data line 404, the pixel area 400 has a thin film transistor 406 connected to the gate line 402 and the data line 404, and is configured with a thin film transistor 406 The transistor 406 is connected to the pixel electrode 408 . Referring to FIG. 9B again, the
图10A至图10E模拟图9A区域418的液晶分子在相同观察时间,不同外加电压下因突起(protrusion)与狭缝(slit)的图案(pattern)产生的边场效应而引起的转动排列(switching),其中第10A-10E图的横轴与纵轴分别对应至图9A的A-A及A-B方向。如图10A与图10B所示,当外加电压分别在5V与5.5V时,区域418的液晶分子是依边场效应的配列呈现正常排列的结果;然而,如图10C至图10E所示,当外加电压增加至5.75V、6.0V及6.5V时,区域418中的部分液晶分子420a、420b不受边场效应的配列而呈现异常排列(disclination),尤其如图10E所显示的部分液晶分子420a、420b异常排列最为严重。10A to 10E simulate the liquid crystal molecules in the
目前所知,造成多域垂直液晶分子排列异常的可能原因之一是当突起410与狭缝412距离变大时,突起410与狭缝412中间液晶分子420a、420b需耗费较长的时间才得以随着邻近的液晶分子倾倒(tilt)而配列,如此不仅使得液晶分子的反应时间增加,再加上突起410与狭缝412中间的液晶分子所受边场效应较弱,且施加的垂直电场可能使多域垂直液晶以任意的方向倾倒的情况下,使得倾倒方向不受控制,而造成异常排列。Currently known, one of the possible reasons for the abnormal alignment of multi-domain vertical liquid crystal molecules is that when the distance between the
另外,异常排列的成因也可能因为瞬间施加高电压,突起410与狭缝412中间的液晶分子420a、420b在尚未受邻近液晶分子的倾倒而配列前,先受施加的垂直电场影响,使液晶以任意方向倾倒,而在倾倒方向不受边场效应控制的情况下,异常排列也因而产生,造成如图10C至图10E所示,突起410与狭缝412中间的液晶分子420a、420b异常排列,而图10E中异常排列的液晶分子420a、420b在光学显微镜观察下将呈现暗点(gray spot)或黑点(black spot)420a、420b,如第11图所示。In addition, the cause of the abnormal alignment may also be due to the instantaneous application of high voltage, the
上述灰点或黑点的产生是因任意方向倾倒的液晶分子未与上下偏光片的穿透轴呈45度角方位所致,异常排列的液晶分子随后可能受邻近液晶分子的影响而欲重倒(retilt)回与上下偏光片穿透轴成45度角的正确角度时,则需花费更长的时间,因此造成反应时间增加,尤有甚者,当邻近液晶分子的带动已无法使异常排列的液晶分子重倒时,液晶分子将呈现灰点或黑点而无法恢复该有的亮度。The above-mentioned gray spots or black spots are caused by liquid crystal molecules tilted in any direction not at a 45-degree angle to the transmission axis of the upper and lower polarizers. The abnormally aligned liquid crystal molecules may be affected by the adjacent liquid crystal molecules and tend to fall over again. (retilt) When returning to the correct angle of 45 degrees with the penetration axis of the upper and lower polarizers, it takes longer time, so the reaction time increases, especially when the driving of adjacent liquid crystal molecules can no longer make the abnormal arrangement When the liquid crystal molecules fall down, the liquid crystal molecules will appear gray or black spots and cannot restore the original brightness.
由此可知在多区域垂直配向型液晶显示器在驱动时有一个临界电压,当外加电压超过此临界电压时就会产生前述液晶分子异常排列的问题,所以在传统显示器设计上必须限制驱动偏压不能超过此临界电压,以免造成反应时间的增加。并且在传统显示器设计上,突起与狭缝的间距也需小于一定程度,来避免异常排列问题,以此可以提高临界电压值以增加驱动电压可使用的范围。但由于突起与狭缝的间距变小,导致单一像素内所设置的突起与狭缝数量增加,且突起与狭缝皆为不能控制液晶进行正常操作的区域,因而导致像素区的开口率(aperture ratio)降低,致使液晶显示器的亮度下降。It can be seen that there is a critical voltage when the multi-region vertical alignment liquid crystal display is driven. When the applied voltage exceeds this critical voltage, the aforementioned problem of abnormal alignment of liquid crystal molecules will occur. Therefore, in the design of traditional displays, it is necessary to limit the driving bias. Exceed this critical voltage to avoid an increase in response time. In addition, in traditional display design, the distance between protrusions and slits must be smaller than a certain degree to avoid abnormal alignment problems, so that the threshold voltage value can be increased to increase the usable driving voltage range. However, since the distance between the protrusions and the slits becomes smaller, the number of protrusions and slits in a single pixel increases, and both the protrusions and the slits are areas that cannot control the normal operation of the liquid crystal, thus resulting in the aperture ratio of the pixel area. ratio) is reduced, resulting in a decrease in the brightness of the liquid crystal display.
在美国公开专利US2002/0159018所揭示的多区域垂直配向型液晶显示器,其像素电极在狭缝处更具有锯齿状的凹口(jagged),可以加快液晶的反应时间,虽然可以因此略为增加突起与狭缝的间距,但液晶分子异常排列的问题并无法完全排除,所以其间距仍是必须维持在一定值以下,使得开口率的增加程度有限。In the multi-area vertical alignment type liquid crystal display disclosed in the U.S. publication patent US2002/0159018, the pixel electrodes have jagged notches (jagged) at the slits, which can speed up the response time of the liquid crystal, although it can slightly increase the protrusion and However, the problem of abnormal arrangement of liquid crystal molecules cannot be completely ruled out, so the spacing must still be maintained below a certain value, so that the increase in aperture ratio is limited.
发明内容Contents of the invention
本发明的主要目的之一是提供一种高开口率的多区域垂直配向型液晶显示器,其可克服或至少改善前述背景技术的问题。One of the main objectives of the present invention is to provide a high aperture ratio multi-domain vertical alignment liquid crystal display, which can overcome or at least improve the aforementioned problems in the background art.
根据本发明的液晶显示器,其主要包含经垂直配向处理的第一基板及第二基板,一个液晶层夹设于该第一及第二基板之间,以及分别设于该第一基板以及第二基板上的第一构件与第二构件。该液晶层所包含的液晶分子在大致无电场施加于该液晶层时大致垂直于该第一基板的主要表面。该第一构件与第二构件用以调整该液晶层的方位(orientation)使得当电压施加时该液晶分子被倾斜配向而使该方位包含多个方向。According to the liquid crystal display of the present invention, it mainly includes a first substrate and a second substrate that have undergone vertical alignment processing, a liquid crystal layer is interposed between the first and second substrates, and is respectively provided on the first substrate and the second substrate. The first component and the second component on the substrate. The liquid crystal molecules included in the liquid crystal layer are substantially perpendicular to the main surface of the first substrate when substantially no electric field is applied to the liquid crystal layer. The first component and the second component are used to adjust the orientation of the liquid crystal layer so that the liquid crystal molecules are tilted when the voltage is applied so that the orientation includes multiple directions.
前述的第一构件可通过将多个阵列排列的突起设于该第一基板而实现,而前述的第二构件可通过将多个阵列排列的狭缝设于像素电极而实现。此外,根据本发明的第一构件与第二构件也可以下述的结构实现:例如第一构件是为狭缝(例如设于该第一基板的共同电极上)搭配第二构件为突起(设于该第二基板上)的结构,或是第一构件与第二构件皆为突起或皆为狭缝的结构。该第一构件与第二构件大致上彼此平行且交错排列。The aforementioned first component can be realized by arranging a plurality of arrayed protrusions on the first substrate, and the aforementioned second component can be achieved by arranging a plurality of arrayed slits on the pixel electrodes. In addition, the first component and the second component according to the present invention can also be implemented in the following structure: for example, the first component is a slit (for example, provided on the common electrode of the first substrate) and the second component is a protrusion (set on the second substrate), or the structure in which both the first member and the second member are protrusions or both are slits. The first component and the second component are substantially parallel to each other and arranged in a staggered manner.
当采用申请人于2004年8月20日申请的中国台湾第93123879号专利申请发明所揭示的驱动方法时,该第一构件与第二构件之间的部分的(partial)间距可设计为大于或等于25μm而不会发生液晶排列异常的问题。前述驱动方法主要是以分阶段提供偏压的方式来使像素的驱动电压突破临界电压值(初始电压值加上临界偏压)的限制,而达到较高的目标电压值。When adopting the driving method disclosed by the applicant in China Taiwan No. 93123879 patent application invention filed on August 20, 2004, the partial (partial) spacing between the first member and the second member can be designed to be greater than or It is equal to 25 μm without the problem of abnormal alignment of liquid crystals. The aforementioned driving method is mainly to provide the bias voltage in stages to make the driving voltage of the pixel break through the limit of the critical voltage value (the initial voltage value plus the critical bias voltage) and reach a higher target voltage value.
前述的狭缝较佳设有多个排列成锯齿状的凹口。本发明发明人经研究后发现当使用前述以分阶段提供偏压的驱动方法时,这些突起以及这些设有凹口的狭缝之间的部分的(partial)间距可设计为30μm至50μm而不会发生液晶排列异常的问题。The aforementioned slit is preferably provided with a plurality of notches arranged in a zigzag shape. The inventors of the present invention found after research that when using the aforementioned driving method to provide bias voltage in stages, the partial distance between these protrusions and the slits provided with notches can be designed to be 30 μm to 50 μm instead of A problem of abnormal liquid crystal alignment may occur.
在前述的多区域垂直配向型液晶显示器中,由于突起与狭缝可以配置成具有较大的间距,因此有效减少这些突起与狭缝的分布密度,藉此有效增加开口率(aperture ratio)(也即可透光区域的比例)使得液晶显示器的亮度提升。In the aforementioned multi-area vertical alignment liquid crystal display, since the protrusions and slits can be configured to have a larger pitch, the distribution density of these protrusions and slits can be effectively reduced, thereby effectively increasing the aperture ratio (aperture ratio) (also That is, the ratio of the light-transmitting area) increases the brightness of the liquid crystal display.
每个突起较佳是设有多个分岔部(branch),这些分岔部设在正对这些像素电极的边缘的位置。每个像素电极被这些狭缝分隔成多个部分电极,每两个相邻的部分电极由一个连接部接合在一起。每个连接部具有一个第一部份以及一个第二部分,该第一部份的延伸方向大致垂直于这些突起的延伸方向,该第二部分的延伸方向大致平行于这些数据线路,其中每个连接部的第二部分完全与该突起的分岔部重叠。Each protrusion is preferably provided with a plurality of branches, and these branches are disposed at positions facing the edges of the pixel electrodes. Each pixel electrode is divided into a plurality of partial electrodes by these slits, and every two adjacent partial electrodes are joined together by a connecting portion. Each connection part has a first part and a second part, the extension direction of the first part is approximately perpendicular to the extension direction of the protrusions, the extension direction of the second part is approximately parallel to the data lines, and each The second portion of the connecting portion completely overlaps the protruding bifurcation.
前述的液晶显示器较佳另包含多个“H”形电容电极分别设于相对应的像素区域。该电容电极具有通过一个中央部份互相连接的两个侧部分。每个电容电极的该两个侧部分分别设在相对应像素区域中邻近数据线路的位置。这些电容电极与这些像素电极形成一个储存电容单元。The aforementioned liquid crystal display preferably further includes a plurality of "H"-shaped capacitive electrodes respectively disposed in corresponding pixel regions. The capacitive electrode has two side portions interconnected by a central portion. The two side portions of each capacitive electrode are respectively disposed adjacent to the data line in the corresponding pixel area. The capacitor electrodes and the pixel electrodes form a storage capacitor unit.
附图说明Description of drawings
为了让本发明的上述和其他目的、特征、和优点能更明显,下文特举本发明实施例,并配合所附图示,作详细说明如下。In order to make the above and other objects, features, and advantages of the present invention more apparent, the following specifically cites the embodiments of the present invention, together with the accompanying drawings, for a detailed description as follows.
图1至图4:其是用以说明根据本发明一个实施例的多区域垂直配向型液晶显示器;1 to 4: It is used to illustrate a multi-region vertical alignment type liquid crystal display according to an embodiment of the present invention;
图5:根据本发明另一个实施例的多区域垂直配向型液晶显示器的像素部分的部分平面图;5: A partial plan view of a pixel portion of a multi-region vertical alignment type liquid crystal display according to another embodiment of the present invention;
图6:根据本发明另一个实施例的多区域垂直配向型液晶显示器的像素部分的平面图;6: A plan view of a pixel portion of a multi-region vertical alignment type liquid crystal display according to another embodiment of the present invention;
图7:根据本发明另一个实施例的多区域垂直配向型液晶显示器的像素部分的平面图;7: A plan view of a pixel portion of a multi-region vertical alignment type liquid crystal display according to another embodiment of the present invention;
图8:根据本发明一个较佳实施例的垂直配向型液晶显示器的部分剖示图;Figure 8: A partial cutaway view of a vertical alignment liquid crystal display according to a preferred embodiment of the present invention;
图9A:传统多域垂直配向液晶显示器于像素区的突起与狭缝的配置图;FIG. 9A : a configuration diagram of protrusions and slits in a pixel region of a conventional multi-domain vertical alignment liquid crystal display;
图9B:图9A的液晶显示器沿A-A线的剖面图;Fig. 9B: a sectional view of the liquid crystal display of Fig. 9A along line A-A;
图10A至图10E:其是模拟图9A区域418的液晶分子在相同观察时间,不同外加电压下因突起与狭缝图案产生的边场效应而引起的转动排列(switching)的示意图,其中图10A-10E的横轴与纵轴分别对应至图9A的A-A及A-B方向;以及10A to FIG. 10E: It is a schematic diagram of the rotation arrangement (switching) caused by the side field effect generated by the protrusion and the slit pattern under the same observation time and different applied voltages of the liquid crystal molecules in the
图11:第10E图所示的液晶分子在光学显微镜下的观察结果。FIG. 11 : Observation results of the liquid crystal molecules shown in FIG. 10E under an optical microscope.
图号说明:Description of figure number:
102基板 102a彩色滤光片102
102b共同电极 104基板102b common electrode 104 substrate
106闸线路 108数据线路106
109薄膜晶体管 120像素电极109
120a、120b液晶分子120a, 120b liquid crystal molecules
130突起 130a分岔部130
140狭缝 140a凹口140
150电容电极 150a侧部分150
150b中央部份150b central part
120A、120B、120C、120D部分电极Partial electrodes of 120A, 120B, 120C, 120D
122连接部 122a第一部份122
122b第二部分 220像素电极122b
230突起 240狭缝230
220A、220B、220C部分电极Partial electrodes of 220A, 220B, 220C
224突出部 320像素电极224 protrusions 320 pixel electrodes
320a十字形主体 320b突出部320a cross-shaped main body 320b protrusion
340狭缝 350电容电极340 slits 350 capacitive electrodes
350a中央部份 350b侧部分350a central part 350b side part
400像素区 402闸线路400 pixel area 402 gate line
404数据线 406薄膜晶体管404 data line 406 thin film transistor
408像素电极 410突起408
412狭缝 414彩色滤光片基板412
416薄膜晶体管基板 418区域416 thin
420a、420b液晶分子420a, 420b liquid crystal molecules
a最小深度 b最小距离a minimum depth b minimum distance
c间距 d间距c spacing d spacing
e宽度e width
具体实施方式Detailed ways
虽然本发明可表现为不同形式的实施例,但附图所示及于下文中说明是本发明的实施例,并请了解本文所揭示者为本发明的一个范例,且并非意图用以将本发明限制于图示及/或所描述的特定实施例中。Although the present invention may be embodied in different forms, what is shown in the drawings and described below are embodiments of the present invention, and please understand that what is disclosed herein is an example of the present invention and is not intended to be used as an example of the present invention. The invention is limited to the specific embodiments shown and/or described.
本发明有关于一种多区域垂直配向型液晶显示器,其主要包含经垂直配向处理的第一基板及第二基板,一个液晶层夹设于该第一及第二基板之间,以及分别设于该第一基板以及第二基板上的第一构件与第二构件。该液晶层所包含的液晶分子在大致无电场施加于该液晶层时大致垂直于该第一基板的主要表面。该第一构件与第二构件用以调整该液晶层内液晶分子的方位(orientation)使得当电压施加时该液晶分子被倾斜配向而使该方位包含多个方向。因此,根据本发明的多区域垂直配向型液晶显示器的视野角度表现,可通过将像素内液晶分子的方位(orientation)设定为多个互为不同的方向而加以改善。The present invention relates to a multi-area vertical alignment type liquid crystal display, which mainly includes a first substrate and a second substrate that have undergone vertical alignment treatment, a liquid crystal layer is sandwiched between the first and second substrates, and respectively arranged on The first component and the second component on the first substrate and the second substrate. The liquid crystal molecules included in the liquid crystal layer are substantially perpendicular to the main surface of the first substrate when substantially no electric field is applied to the liquid crystal layer. The first component and the second component are used to adjust the orientation of the liquid crystal molecules in the liquid crystal layer so that the liquid crystal molecules are obliquely aligned when the voltage is applied so that the orientation includes multiple directions. Therefore, the viewing angle performance of the multi-domain vertical alignment liquid crystal display according to the present invention can be improved by setting the orientation of the liquid crystal molecules in the pixel to a plurality of mutually different directions.
本发明的液晶显示器例如是一种薄膜晶体管液晶显示器(Thin filmtransistor 1iquid crystal display;TFT LCD)。参照图8,第一基板102可设有一个光遮蔽阵列例如遮光层(BM)(未示于图8中);多个彩色滤光片102a以及一个共同电极102b。The liquid crystal display of the present invention is, for example, a thin film transistor liquid crystal display (Thin film transistor liquid crystal display; TFT LCD). Referring to FIG. 8 , the
图1所示为根据本发明一个实施例的设置在前述的第二基板104(104未见于图1)的像素部分,其中设有多条彼此平行的闸线路(gate line)106;多条彼此平行的数据线路(data line)108,其垂直于该闸线路106;及多个薄膜晶体管109与像素电极120。该薄膜晶体管109及像素电极120一般成矩阵式排列于该闸线路106与数据线路108的交叉部分。一般而言,该第一基板102因为其设有彩色滤光片可称为彩色滤光基板,而该第二基板104可称为薄膜晶体管基板。第一基板102与第二基板104间一般设有间隔件(spacer)(未示于图中)用以界定该基板之间的间隔(gap)。Figure 1 shows a pixel portion arranged on the aforementioned second substrate 104 (104 is not shown in Figure 1) according to an embodiment of the present invention, wherein a plurality of gate lines (gate lines) 106 parallel to each other are provided; parallel data line (data line) 108, which is perpendicular to the
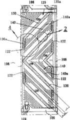
参见图1,像素电极120设于由两相邻闸线路106以及两相邻数据线路108所界定的像素区域内。在此实施例中,前述的第一构件例如通过将多个阵列排列的突起130设于该第一基板而实现,而前述的第二构件例如通过将多个阵列排列的狭缝140设于像素电极120而实现。突起130以及狭缝140大致上彼此平行且交错排列。Referring to FIG. 1 , the
参见图1,每个狭缝140设有多个排列成锯齿状的凹口(jagged)140a。两相邻的突起130以及狭缝140之间的间距标示为c,且该间距c等于这些凹口140a的最小深度a再加上具有最小深度的这些凹口140a与突起130之间的距离b。当这些狭缝140未设有这些凹口140a且使用传统驱动方法液晶显示器时,这些突起130与这些狭缝140之间的间距c需小于25μm,否则位于相邻突起与狭缝所夹区域中间的液晶分子很容易因为驱动电压的瞬间变化(偏压)过大而出现液晶分子异常排列的情形而导致像素的反应时间增加或使显示画面产生影像滞留(imageretention)的问题。Referring to FIG. 1, each slit 140 is provided with a plurality of jagged 140a arranged in a zigzag shape. The distance between two
当采用申请人于2004年年8月20日申请的中国台湾第93123879号专利申请发明所揭示的驱动方法,以分阶段提供偏压的方式来使像素的驱动电压突破临界电压值(初始电压值加上临界偏压)的限制,而达到较高的目标电压值。具体地说,前述驱动方法在图框时间t1时,提供一个小于临界偏压的第一偏压,使得原有的初始电压值在加上第一偏压之后上升至一个中间电压值。接着,在图框时间t2时,再提供一个第二偏压,使得驱动电压进一步由中间电压值上升至目标电压值。由于此驱动方法可以突破临界电压的限制以解决前述液晶分子异常排列的问题,因而这些突起130以及这些狭缝140之间的间距c不需要再限制在小于25μm,部分的(partial)间距可以设计为大于或等于25μm,且不会发生液晶排列异常的问题。When adopting the driving method disclosed in the invention of Taiwan Patent Application No. 93123879 filed by the applicant on August 20, 2004, the driving voltage of the pixel is broken through the critical voltage value (initial voltage value) by providing bias voltage in stages. Plus the limit of the critical bias voltage) to reach a higher target voltage value. Specifically, the aforementioned driving method provides a first bias voltage lower than the critical bias voltage at frame time t1, so that the original initial voltage rises to an intermediate voltage value after adding the first bias voltage. Next, at frame time t2, a second bias voltage is provided, so that the driving voltage further increases from the intermediate voltage value to the target voltage value. Since this driving method can break through the limitation of the critical voltage to solve the aforementioned problem of abnormal alignment of liquid crystal molecules, the distance c between these
由于这些突起130以及这些狭缝140之间的间距c可以设计为大于或等于25μm,因而单一像素区的突起130以及狭缝140的数目可以减少,藉此有效增加开口率,而使亮度的显示品质显著提升。Since the spacing c between these
此外,当这些狭缝140设有这些凹口140a且液晶显示器使用传统驱动方法时,由于反应时间较快,所以这些突起130以及这些狭缝140之间的间距c一般设计为小于30μm以避免发生液晶排列异常的问题。相对地,本发明发明人经研究后发现当使用前述以分阶段提供偏压的驱动方法时,这些突起130以及这些设有凹口140a的狭缝140之间部分的(partial)间距c可设计为大于或等于30μm而不会发生液晶排列异常的问题。In addition, when the
此外,当这些狭缝140设有这些凹口140a时,这些突起130以及这些狭缝140之间的间距c最多可设计为50μm而不会发生液晶排列异常的问题。In addition, when the
本发明发明人另研究这些凹口140a的间距d以及宽度e(参见第2图)与穿透率(transmittance)之间的关系,其结果如下表一(间距c设定为35μm,最小深度a设定为14μm)所示。The inventors of the present invention have also studied the relationship between the distance d and the width e of these
表一Table I
◎优○:佳◎Excellent ○: Good
由表一可知,这些凹口140a较佳设计成其间距d以及宽度e相加等于7~9μm,皆可获得不错的穿透率。It can be seen from Table 1 that the
本发明发明人另研究这些凹口140a的间距d以及宽度e(参见第2图)与以传统驱动方法所得到的反应时间(response time)之间的关系,其结果如下表二(间距c设定为35μm,最小深度a设定为14μm)所示。The inventors of the present invention have also studied the relationship between the distance d and the width e (see FIG. 2 ) of these
表二Table II
◎:优○:佳△:劣◎: Excellent ○: Good △: Poor
由表二可知,这些凹口140a的间距d较佳设计成不大于4.5μm,并且这些凹口140a的宽度e较佳设计成不小于3μm,藉此获得较佳的反应时间。It can be seen from Table 2 that the distance d of the
更进一步同时考量穿透率与反应时间两项因素可知,这些凹口140a较佳设计成其间距d以及宽度e相加等于7~8.5μm。Further considering the two factors of the penetration rate and the response time, it can be seen that the
图3所示为根据本发明另一实施例的多区域垂直配向型液晶显示器的像素部分,其所例示的液晶显示器的每一个像素区域较佳设有“H”形电容电极(storagecapacitance electrode)150,电容电极150具有两个侧部分150a通过一个中央部份150b互相连接。如图3所示,该电容电极150的两个侧部分150a设在像素区域中邻近数据线路108的位置。相对于传统液晶显示器的电容电极一般设计成仅具有前述的中央部份150b,该电容电极150的两个侧部分150a与像素电极120相重叠处可提供额外的储存电容。该电容电极150一般是与闸线路106及闸电极一起由一闸金属层图案化而成。因此,在图3中,该电容电极150与闸线路106以阴影表示以帮助了解。由于闸金属层一般是以不透光的导电金属例如铝(aluminum)、铬(chromium)、钽(tantalum)或钼(molybdenum)形成,因此该电容电极150的两个侧部分150a可作为一辅助光遮蔽层而用来遮蔽漏光。FIG. 3 shows a pixel portion of a multi-region vertical alignment liquid crystal display according to another embodiment of the present invention. Each pixel region of the illustrated liquid crystal display is preferably provided with an "H"-shaped capacitance electrode (storage capacitance electrode) 150. , the
图1所例示的液晶显示器的每个突起130具有多个分岔部130a设于正对像素电极120的边缘的位置。由于液晶分子的长轴会沿着分岔部130a与狭缝140的垂直方向排列,因此将该分岔部130a与狭缝140的夹角保持在小于或等于45度,藉此使得在分岔部130a与狭缝140交界附近的液晶分子的长轴的排列方向差异大幅降低至最多45度。这有效抑制异常排列(disclination)发生在狭缝140与像素电极120的边缘交界的邻近区域。然而由于突起130以及像素电极120分别形成在不同基板上,因此不同基板间的对位误差常常会造成分岔部130a无法准确设于正对像素电极120的边缘,反而导致液晶分子异常排列的变暗区域出现在狭缝140与像素电极边缘交界的邻近区域。Each
如图1及图4所示,该像素电极120被这些狭缝140分隔成四个部分电极120A、120B、120C以及120D。每两个相邻的部分电极至少为一个连接部122接合在一起。每一个连接部122具有一个第一部份122a以及一个第二部分122b(参见图4),该第一部份122a的延伸方向垂直于这些突起130的延伸方向,该第二部分122b的延伸方向平行于这些数据线路108。在此实施例中,每个连接部122的第二部分122b并未完全与该突起130的分岔部130a重叠(也即该第二部分122b与该分岔部130a并未完全垂直投影在基板平面上相同的区域)。本发明发明人经研究后发现在前述第二部分122b未与该分岔部130a重叠的区域会呈现变暗(darkened)的状况。而在该呈现黑暗的区域内,其已发现当施以电压时液晶分子的方位改变得很慢。这将降低对比以及反应时间,因而使显示品质恶化。并且若两基板对位产生误差,使得该第二部分122b与该分岔部130a产生错位而未重叠在一起,其错位区域也会产生变暗的状况。As shown in FIGS. 1 and 4 , the
图5所示为根据本发明另一个实施例的多区域垂直配向型液晶显示器的像素部分。除了每个连接部122的第二部分122b完全与该突起130的分岔部130a重叠(也即该第二部分122b与该分岔部130a垂直投影在基板平面上相同的区域)之外,图5所示的液晶显示器大致与图1及图4所示的液晶显示器相同。本发明发明人经研究后发现此实施例的设计可有效缩小前述呈现变暗的区域。且当两基板产生在图5中上下方向的对位异常时,如此设计也可以有效减少产生变暗的区域。FIG. 5 shows a pixel portion of a multi-domain vertical alignment type liquid crystal display according to another embodiment of the present invention. Except that the
图6所示为根据本发明另一个实施例的多区域垂直配向型液晶显示器的像素部分。在此实施例中,前述的第一构件通过将多个阵列排列的突起230设于该第一基板而实现,而前述的第二构件通过将多个阵列排列的狭缝240设于该像素电极220而实现。这些突起230以及这些狭缝240大致上彼此交错排列,其中夹设于两相邻突起230的狭缝240被弯折成“之”字形。如图所示,该像素电极220被这些狭缝240分隔成三个部分电极220A、220B以及220C。每两个相邻的部分电极至少为一连接部接合在一起。这些部分电极220A、220B以及220C各具有多个突出部224,这些突出部224的延伸方向垂直于这些突起230的延伸方向。值得注意的是,这些突起230在正对该像素电极靠近数据线路的边缘的位置并未设有任何平行数据线路的分岔部(branch),因此可有效减少分岔部对位误差所造成的变暗区域。FIG. 6 shows a pixel portion of a multi-domain vertical alignment type liquid crystal display according to another embodiment of the present invention. In this embodiment, the aforesaid first component is realized by arranging a plurality of arrayed
图7所示为根据本发明另一个实施例的多区域垂直配向型液晶显示器的像素部分。相较于图1-6所例示的多区域垂直配向型液晶显示器,图7所示的显示器仅设有由多个阵列排列的狭缝340所构成的第二构件,而不需在第一基板设置前述的第一构件即可达到改善视野角度表现的目的。如图所示,该像素电极320具有一个十字形主体(cross-shaped main body)320a以及多个突出部320b由该十字形主体320a延伸而出。在图7所示的显示器中,每一个像素包含四个区域(domain)A、B、C以及D,其中的液晶分子的方位(orientation)分别被设定为四个互为不同的方向,藉此有效改善液晶显示器的视野角度表现。FIG. 7 shows a pixel portion of a multi-domain vertical alignment type liquid crystal display according to another embodiment of the present invention. Compared with the multi-area vertical alignment liquid crystal display illustrated in FIGS. 1-6, the display shown in FIG. The purpose of improving the viewing angle performance can be achieved by setting the aforementioned first component. As shown in the figure, the pixel electrode 320 has a cross-shaped main body 320a and a plurality of protrusions 320b extending from the cross-shaped main body 320a. In the display shown in FIG. 7 , each pixel includes four domains (domains) A, B, C, and D, in which the orientations of the liquid crystal molecules (orientation) are respectively set to four directions that are different from each other. This effectively improves the viewing angle performance of the liquid crystal display.
在图7所示的液晶显示器中,每一个像素区域较佳设有一个具有一十字形中央部份350a以及两个侧部分350b的电容电极350。该十字形中央部份350a大致形成在正对该像素电极320的该十字形主体320a的位置。该两个侧部分350b通过该十字形中央部份350a互相连接,且该两个侧部分350b分别设在像素区域中邻近数据线路108的位置。相对于传统液晶显示器的电容电极一般设计成仅具有前述的十字形中央部份350a的横向部分,该电容电极350的中央部份350a的纵向部分以及两个侧部分350b可提供额外的储存电容。该电容电极350一般与闸线路106及闸电极一起由一闸金属层图案化而成。因此,在图7中,该电容电极350与闸线路106以阴影表示以帮助了解。由于闸金属层一般是以不透光的导电金属例如铝、铬、钽或钼形成,因此该电容电极350的中央部份350a的纵向部分以及两个侧部分350b可作为一辅助光遮蔽层而用来遮蔽漏光。In the liquid crystal display shown in FIG. 7 , each pixel area is preferably provided with a capacitive electrode 350 having a cross-shaped central portion 350a and two side portions 350b. The cross-shaped central portion 350 a is formed approximately at the position of the cross-shaped main body 320 a facing the pixel electrode 320 . The two side portions 350b are connected to each other through the cross-shaped central portion 350a, and the two side portions 350b are respectively disposed at positions adjacent to the
虽然在图1-6所示的显示器中,该第一构件通过将多个阵列排列的突起设于该第一基板而实现,且第二构件通过将多个阵列排列的狭缝设于该像素电极而实现,然而根据本发明的第一构件与第二构件也可以下述的结构实现。例如第一构件是狭缝(例如设于该第一基板的共同电极上)搭配第二构件是突起(设于该第二基板上)的结构,或是第一构件与第二构件皆为突起或皆为狭缝的结构。接着,用以形成这些突起的制程叙述如下。当这些突起要形成在彩色滤光基板时,先将一光阻涂布于彩色滤光基板表面,转移一预先设定图案(参照图1-7所示的突起图案),然后显影而形成这些突起。该制程可通过传统技术而轻易实施。此外,这些狭缝可利用传统像素电极形成步骤而与像素电极一起形成。Although in the display shown in FIGS. 1-6, the first component is realized by arranging a plurality of protrusions arranged in an array on the first substrate, and the second component is realized by arranging a plurality of slits arranged in an array on the pixel. However, the first member and the second member according to the present invention can also be realized with the following structures. For example, the structure in which the first member is a slit (for example, disposed on the common electrode of the first substrate) and the second member is a protrusion (disposed on the second substrate), or both the first member and the second member are protrusions Or all are slit structures. Next, the process for forming these protrusions is described as follows. When these protrusions are to be formed on the color filter substrate, first coat a photoresist on the surface of the color filter substrate, transfer a preset pattern (refer to the protrusion pattern shown in Figure 1-7), and then develop to form these protrusion. This process can be easily implemented by conventional techniques. In addition, these slits can be formed together with the pixel electrodes using conventional pixel electrode forming steps.
虽然本发明已以前述实施例揭示,然其并非用以限定本发明,任何本领域普通技术人员在不脱离本发明的精神和范围内,当可作各种更动与修改。因此本发明的保护范围当视后附的权利要求范围所界定者为准。Although the present invention has been disclosed by the foregoing embodiments, they are not intended to limit the present invention. Any person skilled in the art may make various changes and modifications without departing from the spirit and scope of the present invention. Therefore, the protection scope of the present invention should be defined by the appended claims.
| Application Number | Priority Date | Filing Date | Title |
|---|---|---|---|
| CN2005101063850ACN1936677B (en) | 2005-09-19 | 2005-09-19 | LCD Monitor |
| Application Number | Priority Date | Filing Date | Title |
|---|---|---|---|
| CN2005101063850ACN1936677B (en) | 2005-09-19 | 2005-09-19 | LCD Monitor |
| Application Number | Title | Priority Date | Filing Date |
|---|---|---|---|
| CN2011104150998ADivisionCN102436097A (en) | 2005-09-19 | 2005-09-19 | Liquid crystal display device with a light guide plate |
| Publication Number | Publication Date |
|---|---|
| CN1936677A CN1936677A (en) | 2007-03-28 |
| CN1936677Btrue CN1936677B (en) | 2011-12-28 |
| Application Number | Title | Priority Date | Filing Date |
|---|---|---|---|
| CN2005101063850AExpired - Fee RelatedCN1936677B (en) | 2005-09-19 | 2005-09-19 | LCD Monitor |
| Country | Link |
|---|---|
| CN (1) | CN1936677B (en) |
| Publication number | Priority date | Publication date | Assignee | Title |
|---|---|---|---|---|
| CN102201216B (en)* | 2007-06-08 | 2013-04-17 | 奇美电子股份有限公司 | Liquid crystal display device, liquid crystal display panel, and driving method thereof |
| CN101382707B (en)* | 2007-09-06 | 2012-01-18 | 奇美电子股份有限公司 | Liquid crystal display device |
| CN103336385B (en)* | 2008-07-21 | 2016-02-17 | 群创光电股份有限公司 | Color filter substrate and its applied liquid crystal display panel and liquid crystal display device |
| CN104252074B (en)* | 2013-06-28 | 2017-04-26 | 群创光电股份有限公司 | pixel array substrate and liquid crystal display device |
| Publication number | Priority date | Publication date | Assignee | Title |
|---|---|---|---|---|
| EP0884626A3 (en)* | 1997-06-12 | 2001-03-21 | Fujitsu Limited | Vertically-aligned (VA) liquid crystal display device |
| Publication number | Priority date | Publication date | Assignee | Title |
|---|---|---|---|---|
| EP0884626A3 (en)* | 1997-06-12 | 2001-03-21 | Fujitsu Limited | Vertically-aligned (VA) liquid crystal display device |
| Title |
|---|
| JP特开2004-301879A 2004.10.28 |
| JP特开2005-49740A 2005.02.24 |
| Publication number | Publication date |
|---|---|
| CN1936677A (en) | 2007-03-28 |
| Publication | Publication Date | Title |
|---|---|---|
| US7486366B2 (en) | Liquid crystal display device and method for fabricating the same | |
| JP5540214B2 (en) | Liquid crystal display | |
| JP4041336B2 (en) | Substrate for liquid crystal display device, liquid crystal display device including the same, and manufacturing method thereof | |
| EP2778776B1 (en) | Liquid crystal display | |
| JP4039232B2 (en) | Liquid crystal display device and electronic device | |
| JP4902284B2 (en) | Transflective liquid crystal display device | |
| US10895787B2 (en) | Liquid crystal panel | |
| JP2008097049A (en) | Liquid crystal display device and manufacturing method thereof | |
| JP4244289B2 (en) | Substrate for liquid crystal display device and liquid crystal display device including the same | |
| CN103597403B (en) | Liquid crystal indicator | |
| US7528894B2 (en) | LCD having storage capacitor electrodes with wider portions located within triangular areas of pixel regions and with spacers disposed in regions corresponding to the triangular areas to mitigate dark-state light leakage | |
| US20060092360A1 (en) | Multi-domain liquid crystal display device and fabrication method thereof | |
| JP4516432B2 (en) | Liquid crystal display | |
| CN1936677B (en) | LCD Monitor | |
| EP1659444A2 (en) | Liquid crystal display and storage capacitor therefor | |
| JP2007183678A (en) | Substrate for liquid crystal display device, liquid crystal display device including the same, and manufacturing method thereof | |
| JP4121357B2 (en) | Liquid crystal display | |
| KR101994970B1 (en) | Liquid crystal display | |
| JPH07175056A (en) | Liquid crystal display device | |
| CN102436097A (en) | Liquid crystal display device with a light guide plate | |
| JP2010186201A (en) | Substrate for liquid crystal display device, liquid crystal display device equipped with the same and method of manufacturing the same |
| Date | Code | Title | Description |
|---|---|---|---|
| C06 | Publication | ||
| PB01 | Publication | ||
| C10 | Entry into substantive examination | ||
| SE01 | Entry into force of request for substantive examination | ||
| C41 | Transfer of patent application or patent right or utility model | ||
| TA01 | Transfer of patent application right | Effective date of registration:20111111 Address after:Taiwan, China 350 Hsinchu science and Technology Industrial Park, Miaoli County, Southern Town, science Road, No. 160 Applicant after:Chimei Optoelectronics Co., Ltd. Address before:China Taiwan 74144 Tainan County Tainan Science Industrial Park odd Road No. 1 Applicant before:Chimei Optoelectronics Co., Ltd. | |
| C14 | Grant of patent or utility model | ||
| GR01 | Patent grant | ||
| CF01 | Termination of patent right due to non-payment of annual fee | ||
| CF01 | Termination of patent right due to non-payment of annual fee | Granted publication date:20111228 Termination date:20190919 |