
技术领域technical field
本发明涉及空间相关MIMO系统中的自适应传输技术,更具体地,涉及一种在空间相关MIMO系统中使用的自适应传输方法和设备,能够提高相关MIMO系统中自适应传输的性能,同时不为系统带来过多的开销和复杂度上的增加。The present invention relates to an adaptive transmission technology in a spatially correlated MIMO system, and more specifically, to an adaptive transmission method and device used in a spatially correlated MIMO system, which can improve the performance of adaptive transmission in a correlated MIMO system without Bring excessive overhead and increase in complexity to the system.
背景技术Background technique
越来越高的信息传输速率是未来无线通信系统所面临的主要问题之一。为了在有限的频谱资源上实现这一目标,多天线技术(MIMO,多输入多输出)已成为未来无线通信中所采用的必不可少的手段之一。在MIMO系统中,发送端利用多根天线进行信号的发送,接收端利用多根天线进行空间信号的接收。研究表明,相比于传统的单天线传输方法,MIMO技术可以显著的提高信道容量,从而提高信息传输速率。Higher and higher information transmission rate is one of the main problems faced by future wireless communication systems. In order to achieve this goal on limited spectrum resources, multi-antenna technology (MIMO, Multiple Input Multiple Output) has become one of the indispensable means used in future wireless communications. In the MIMO system, the transmitting end uses multiple antennas to transmit signals, and the receiving end uses multiple antennas to receive spatial signals. Studies have shown that compared with traditional single-antenna transmission methods, MIMO technology can significantly increase channel capacity, thereby increasing information transmission rates.
除了MIMO技术之外,自适应传输技术也可以有效提高衰落信道中的信息传输速率。自适应调制与编码(AMC)技术是一种重要的自适应传输技术,其基本思想是根据当前的信道特性自适应的变化发送时采用的调制和编码参数,通过在信道条件好时多传一些信息,在信道条件差时少传一些信息来提高系统的平均吞吐能力,也即平均频谱利用率。In addition to MIMO technology, adaptive transmission technology can also effectively improve the information transmission rate in fading channels. Adaptive modulation and coding (AMC) technology is an important adaptive transmission technology. Its basic idea is to transmit the modulation and coding parameters according to the current channel characteristics adaptive changes, and transmit more when the channel conditions are good. Information, when the channel condition is poor, less information is transmitted to improve the average throughput of the system, that is, the average spectrum utilization.
因此,如果将MIMO与AMC技术相结合,将可以获得比单纯使用一种技术更高的信息传输速率。Therefore, if you combine MIMO and AMC technology, you will be able to obtain a higher information transmission rate than using only one technology.
图1所示为通常的采用AMC技术的MIMO系统结构示意。比如在3GPP中由Lucent公司提出的PARC(逐天线速率控制)方案。FIG. 1 is a schematic diagram of the structure of a common MIMO system using the AMC technology. For example, the PARC (Antenna-by-Antenna Rate Control) scheme proposed by Lucent Company in 3GPP.
在该结构中,发送端和接收端分别采用nT和nR个天线进行信号的发送和接收。在发送端,待发送的数据首先经过串并变换装置101的处理分成nT个数据子流,每个数据子流对应一个发送天线。在发送之前,根据当前每个发送天线所对应的信道传输特性在自适应调制和编码装置102中对这些数据子流进行自适应调制和编码。各个数据子流在AMC时所需的调制与编码参数M1,M2,…,MnT来自于接收端通过反馈信道108进行的反馈。In this structure, the transmitting end and the receiving end respectively use nT and nR antennas to transmit and receive signals. At the sending end, the data to be sent is first processed by the serial-to-
在接收端,首先由nR个接收天线104将空间全部信号接收下来,然后由信道估计装置105根据该接收信号中的导频信号或采用其他方法进行信道估计,估计出当前的信道特性矩阵H(对于MIMO系统来说,其信道特性可以用一个nR×nT的矩阵来描述)。然后,AMC参数选取装置107根据H来确定发送端每个数据子流所采用的调制和编码参数,并将选好的各数据子流的调制与编码参数通过反馈信道发送回发送端。这里,为了降低系统反馈开销,一般采取发送端各天线等功率发送,而且,在反馈各子流AMC参数时,只返回各调制与编码参数对应的序号。最后,MIMO检测装置106根据信道特性矩阵H,以及AMC参数选取装置107输出的各子流的调制编码参数,采用一般的MIMO检测方法对各个发送数据子流进行检测,并得到原始的发送数据。At the receiving end, firstly, the nR receiving antennas 104 receive all the spatial signals, and then the
在PARC中,AMC参数选取装置107中的操作,即AMC参数选取过程可以分成两步:In PARC, the operation in the AMC
(1)根据当前信道特性矩阵H,预先计算各个子流1,2,…,nT经MIMO检测后的等效SINR(信号与干扰噪声比):SINR(1),SINR(2),…,SINR(nT)。(1) According to the current channel characteristic matrix H, pre-calculate the equivalent SINR (signal to interference and noise ratio) of each substream 1, 2, ..., nT after MIMO detection: SINR(1), SINR(2), ... , SINR(nT ).
这里,可采用的MIMO检测方法有多种,比如:线性检测方法,包括迫零(ZF)和最小均方误差(MMSE)检测;串行干扰抵消(SIC)方法;最大似然检测方法等等。现有文献中已给出了各种MIMO检测下的子流检测后等效SINR的计算方法。比如:当采用ZF检测时,第k个子流经检测后的SINR为:
(2)依据所得到的SINR(1),SINR(2),…,SINR(nT),为各个子流选取调制和编码参数M1,M2,…,MnT。(2) According to the obtained SINR(1), SINR(2), ..., SINR(nT ), select modulation and coding parameters M1 , M2 , ..., MnT for each substream.
由SINR确定调制编码参数可以采用多种方法,比如可以采用如下的方法:首先选定若干种调制与编码参数组合,并且通过理论推导或者数值方法估计出在AWGN(加性白高斯噪声)信道下各种参数的BER性能。然后,根据各子流检测后的SINR数值,选取能满足一定BER要求且吞吐最大的调制编码参数作为该发送子流上的调制与编码参数。A variety of methods can be used to determine the modulation and coding parameters by SINR, for example, the following method can be used: firstly select several combinations of modulation and coding parameters, and estimate the AWGN (additive white Gaussian noise) channel by theoretical derivation or numerical method BER performance for various parameters. Then, according to the detected SINR value of each sub-stream, the modulation and coding parameters that can meet a certain BER requirement and have the largest throughput are selected as the modulation and coding parameters on the transmission sub-stream.
研究表明,在MIMO系统中采用PARC的自适应传输方法可以获得较好的吞吐性能。但是,此较好吞吐性能的获得需要一个前提,那就是MIMO信道是独立的。The research shows that the adaptive transmission method of PARC can obtain better throughput performance in the MIMO system. However, the acquisition of this better throughput performance requires a prerequisite, that is, the MIMO channels are independent.
然而,在实际的MIMO系统中,MIMO信道往往是相关的。造成MIMO信道相关的原因有很多,比如天线放置的间距没有足够远,天线周围没有足够多的散射物,以及收发之间存在直射径(LOS)等等。当MIMO信道存在相关时,其信道特性矩阵H可以用下式来描述:
其中,Hw是nR×nT的独立MIMO信道特性矩阵,Rr和Rt分别为nR×nR和nT×nT的接收和发送相关矩阵。where Hw is the nR ×nT independent MIMO channel characteristic matrix, Rr and Rt are the nR ×nR and nT ×nT receive and transmit correlation matrices, respectively.
与独立MIMO系统相比,PARC方法在实际的相关MIMO系统中会有很大的性能损失。为了克服信道相关性所带来的性能损失,现有技术给出了一种基于对瞬时信道特性矩阵H进行奇异值分解(SVD)的方法。该方法的思路是这样的:在每个发送时刻,由接收端将估计所得的当前信道特性矩阵H通过反馈信道发送回发送端,再由发送端对H进行SVD,并利用SVD的结果对发送信号进行预处理。该方法虽然在一定程度上可以提高相关MIMO下的性能,然而,在实际系统中每个时刻都要对H进行反馈和作SVD,从系统反馈开销和实现复杂度上来说是难以容忍的。Compared with stand-alone MIMO systems, the PARC method suffers a large performance loss in practical correlated MIMO systems. In order to overcome the performance loss caused by channel correlation, the prior art provides a method based on performing singular value decomposition (SVD) on the instantaneous channel characteristic matrix H. The idea of this method is as follows: at each sending moment, the receiving end sends the estimated current channel characteristic matrix H back to the sending end through the feedback channel, and then the sending end performs SVD on H, and uses the SVD result to The signal is preprocessed. Although this method can improve the performance under correlated MIMO to a certain extent, it is unacceptable in terms of system feedback overhead and implementation complexity to perform feedback and SVD on H at every moment in the actual system.
为此,如何针对空间相关MIMO系统设计一种新的自适应传输方法,一方面可以获得比传统PARC方法更好的自适应性能,另一方面,又不会为系统带来过多的开销和复杂度上的增加,是该发明的一个主要目的。Therefore, how to design a new adaptive transmission method for spatially correlated MIMO systems, on the one hand, it can obtain better adaptive performance than the traditional PARC method, and on the other hand, it will not bring too much overhead and cost to the system. This increase in complexity is one of the main objectives of the invention.
发明内容Contents of the invention
本发明的目的在于提出一种在空间相关MIMO系统中使用的自适应传输方法和设备,能够提高相关MIMO系统中自适应传输的性能,同时不为系统带来过多的开销和复杂度上的增加。根据本发明的方法中,发送端根据MIMO相关信道的长时统计特性对发送信号进行预处理和功率分配,接收端根据短时信道特性对各发送子流进行比特分配。该方法中,在自适应参数选取时同时利用了MIMO相关信道的长时统计特性和短时特性,与传统方法相比,可以在相近的实现复杂度和反馈开销前提下获得更好的自适应性能。The purpose of the present invention is to propose an adaptive transmission method and device used in a spatially correlated MIMO system, which can improve the performance of adaptive transmission in a correlated MIMO system without bringing too much overhead and complexity to the system Increase. In the method according to the present invention, the transmitting end performs preprocessing and power allocation on the transmitted signal according to the long-term statistical characteristics of the MIMO related channel, and the receiving end performs bit allocation on each transmission sub-stream according to the short-term channel characteristics. In this method, the long-term statistical characteristics and short-term characteristics of MIMO-related channels are used in the selection of adaptive parameters. Compared with traditional methods, better self-adaptation can be obtained under the premise of similar implementation complexity and feedback overhead. performance.
为了实现上述目的,根据本发明,提出了一种在空间相关多输入多输出通信系统中使用的自适应传输方法,包括:接收端估计信道统计特性并将其反馈回发送端;发送端根据反馈来的信道统计特性,确定功率分配矩阵和预处理矩阵;接收端根据信道特性确定调制与编码参数并向发送端发送;以及发送端根据所确定的功率分配矩阵和预处理矩阵对发送信号进行预处理和功率分配,并根据从接收端接收到的调制与编码参数对发送信号进行调制和编码,以便通过天线发射所述发送信号。In order to achieve the above object, according to the present invention, an adaptive transmission method used in a space-correlated multiple-input multiple-output communication system is proposed, including: the receiving end estimates the channel statistical characteristics and feeds it back to the sending end; According to the statistical characteristics of the incoming channel, the power allocation matrix and preprocessing matrix are determined; the receiving end determines the modulation and coding parameters according to the channel characteristics and sends them to the transmitting end; and the transmitting end performs preprocessing on the transmitted signal according to the determined power allocation matrix and preprocessing matrix processing and power allocation, and modulate and code the transmission signal according to the modulation and coding parameters received from the receiving end, so as to transmit the transmission signal through the antenna.
优选地,所述发送端根据反馈来的信道统计特性确定功率分配矩阵和预处理矩阵的步骤包括:根据多输入多输出相关信道的长时统计特性来确定功率分配矩阵和预处理矩阵。Preferably, the step of determining the power allocation matrix and the preprocessing matrix according to the fed back statistical characteristics of the channel includes: determining the power allocation matrix and the preprocessing matrix according to the long-term statistical characteristics of MIMO related channels.
优选地,所述多输入多输出相关信道的长时统计特性是R=E{HHRn-1H},其中H为多输入多输出信道特性矩阵,Rn为接收信号中加性噪声n的协方差矩阵,以及E为数学期望运算符。Preferably, the long-term statistical characteristics of the MIMO correlation channel is R=E{HH Rn-1 H}, where H is the MIMO channel characteristic matrix, and Rn is the additive noise in the received signal The covariance matrix of n, and E is the mathematical expectation operator.
优选地,接收端根据信道特性确定调制与编码参数并向发送端发送的步骤包括:根据短时信道特性来确定所述调制与编码参数。Preferably, the receiving end determines the modulation and coding parameters according to the channel characteristics and sends them to the sending end including: determining the modulation and coding parameters according to the short-term channel characteristics.
优选地,在所述发送端根据多输入多输出相关信道的长时统计特性对发送信号进行预处理和功率分配的步骤之前,还包括步骤:首先确定发送端发送的并行子流数目L,L由系统选取,其值应不大于R的秩。Preferably, before the step of the transmitting end performing preprocessing and power allocation on the transmitted signal according to the long-term statistical characteristics of the multiple-input multiple-output related channel, it also includes the step of first determining the number of parallel sub-streams L, L transmitted by the transmitting end Selected by the system, its value should not be greater than the rank of R.
优选地,发送端根据反馈来的长时信道统计特性确定预处理矩阵的步骤包括:对R进行特征值分解后;以及选取其最大的L个特征值所对应的特征向量所组成的一个L×nT矩阵。Preferably, the step of determining the preprocessing matrix according to the long-term channel statistical characteristics fed back by the sending end includes: performing eigenvalue decomposition on R; and selecting an L× nT matrix.
优选地,发送端根据反馈来的信道统计特性确定功率分配矩阵的步骤包括:按照等功率分配和注水功率分配的方式来确定功率分配矩阵。Preferably, the step of determining the power allocation matrix at the transmitting end according to the fed back statistical characteristics of the channel includes: determining the power allocation matrix in the manner of equal power allocation and water injection power allocation.
优选地,所述方法还包括:接收端利用当前信道特性矩阵和信道的统计特性,通过滤波来消除发送端预处理的作用,以及通过滤波对噪声进行白化处理,并且对接收信号进行匹配滤波。Preferably, the method further includes: using the current channel characteristic matrix and the statistical characteristics of the channel at the receiving end to eliminate the effect of preprocessing at the sending end through filtering, whitening the noise through filtering, and performing matched filtering on the received signal.
根据本发明,还提出了一种在空间相关多输入多输出通信系统中使用的自适应传输设备,包括:处于接收端的统计特性计算装置,用于估计信道统计特性并将其反馈回发送端;处于发送端的长时控制装置,根据反馈来的信道统计特性,确定功率分配矩阵和预处理矩阵;处于接收端的调制与编码参数选取装置,用于根据信道特性确定调制与编码参数并向发送端发送;处于发送端的功率分配装置,用于根据所确定的功率分配矩阵对发送数据进行预处理和功率分配;处于发送端的预处理装置,用于根据所确定的预处理矩阵对发送数据进行预处理;以及处于发送端的调制与编码装置,根据接收端反馈回来的调制与编码参数对发送信号进行调制和编码。According to the present invention, an adaptive transmission device used in a space-correlated multiple-input multiple-output communication system is also proposed, including: a statistical characteristic calculation device at the receiving end, used to estimate channel statistical characteristics and feed it back to the sending end; The long-term control device at the sending end determines the power allocation matrix and the preprocessing matrix according to the channel statistical characteristics fed back; the modulation and coding parameter selection device at the receiving end is used to determine the modulation and coding parameters according to the channel characteristics and send them to the sending end ; The power distribution device at the sending end is used for preprocessing and power distribution of the sent data according to the determined power distribution matrix; the preprocessing device at the sending end is used for preprocessing the sent data according to the determined preprocessing matrix; And the modulation and coding device at the sending end modulates and codes the sending signal according to the modulation and coding parameters fed back from the receiving end.
优选地,上述自适应传输设备还包括:滤波装置,用于利用当前信道特性矩阵和信道的统计特性,消除发送端预处理的作用,以及对噪声进行白化处理,并且对接收信号进行匹配滤波。Preferably, the above-mentioned adaptive transmission device further includes: filtering means for eliminating the effect of preprocessing at the sending end, whitening the noise, and performing matched filtering on the received signal by using the current channel characteristic matrix and the statistical characteristics of the channel.
附图说明Description of drawings
通过参考以下结合附图对所采用的优选实施例的详细描述,本发明的上述目的、优点和特征将变得显而易见,其中:The above objects, advantages and features of the present invention will become apparent by referring to the following detailed description of preferred embodiments employed in conjunction with the accompanying drawings, wherein:
图1为示出了传统的采用AMC技术的MIMO系统结构的示意图;FIG. 1 is a schematic diagram showing the structure of a traditional MIMO system using AMC technology;
图2为示出了根据本发明实施例的MIMO系统结构的示意图;FIG. 2 is a schematic diagram showing a structure of a MIMO system according to an embodiment of the present invention;
图3为示出了根据本发明实施例的滤波装置的细化示意图;FIG. 3 is a detailed schematic diagram showing a filtering device according to an embodiment of the present invention;
图4为示出了根据本发明实施例的自适应传输方法的流程图;FIG. 4 is a flowchart illustrating an adaptive transmission method according to an embodiment of the present invention;
图5为示出了本发明所采用的方法与传统方法的性能比较的曲线图。FIG. 5 is a graph showing the performance comparison of the method adopted by the present invention and the conventional method.
具体实施方式Detailed ways
下面结合附图说明本发明的具体实施方式。The specific implementation manner of the present invention will be described below in conjunction with the accompanying drawings.
图2所示为采用本发明技术的MIMO系统示意图。FIG. 2 is a schematic diagram of a MIMO system using the technology of the present invention.
其中,发送端和接收端分别采用nT和nR个天线进行信号的发送和接收。在发送端,待发送的数据首先经过串并变换装置101分成L个并行数据子流,L≤min{nT,nR}。这L个数据子流在发送之前,需要先后经过自适应调制和编码装置102、功率分配装置201和预处理装置202转化成nT路信号,再从发送端nT个天线上发送出去。这里,L个子流在自适应调制与编码102中所需的调制与编码参数M={M1,M2,…,ML}来自于接收端通过反馈信道108的短时反馈(这里所谓的短时反馈指的是在每个发送时刻,比如每个时隙都要反馈一次)。此外,功率分配装置201和预处理装置202分别通过功率分配矩阵P和预处理矩阵T来实现。功率分配矩阵P的目的是用于对L个发送子流进行功率加权,P为L×L的实正定对角阵,可以表示为
接收端首先由nR个接收天线104将空间信号接收下来,然后完成以下三部分操作:At the receiving end, the spatial signals are first received by nR receiving antennas 104, and then the following three operations are completed:
(1)由信道估计装置105根据该接收信号进行信道估计,估计出当前的信道特性矩阵H。(1) The
(2)计算下一发送时刻发送端进行自适应传输时所需的参数,并将计算所得的参数通过反馈信道108发送回发送端。具体说来,该步骤包括:(2) Calculate the parameters required by the sending end for adaptive transmission at the next sending time, and send the calculated parameters back to the sending end through the
(2.1)根据信道估计的结果在计算信道统计特性装置213计算信道统计特性,并将其反馈回发送端。由于信道统计特性本身随时间的变化非常缓慢,因此这里对信道统计特性的计算和反馈都是长时过程,即很长时间内计算一次,并反馈一次。(2.1) According to the result of the channel estimation, calculate the channel statistical characteristic in the means 213 for calculating the channel statistical characteristic, and feed it back to the sending end. Since the channel statistical characteristics change very slowly over time, the calculation and feedback of the channel statistical characteristics here are long-term processes, that is, they are calculated and fed back once in a long period of time.
(2.2)根据信道估计所得当前的信道特性矩阵H,以及计算所得的信道统计特性,来对下一发送时刻发送端各子流所采用的调制与编码参数M={M1,M2,…,ML}进行选取,这在AMC参数选取装置214中执行,并将选取后的结果M反馈回发送端。由于信道特性矩阵H本身变化较快,因此这里对参数M的计算和反馈是短时过程,即在短时间内,比如每个时隙内都要进行M的选取和反馈。(2.2) According to the current channel characteristic matrix H obtained by channel estimation and the calculated channel statistical characteristics, the modulation and coding parameters M={M1 , M2 , … , ML } to select, which is executed in the AMC parameter selection device 214, and the selected result M is fed back to the sending end. Since the channel characteristic matrix H itself changes quickly, the calculation and feedback of the parameter M here is a short-term process, that is, the selection and feedback of M must be performed within a short period of time, for example, in each time slot.
(3)对当前接收的信号进行检测,其中包括滤波装置211和MIMO检测装置212的功能。这里,滤波装置211操作的目的是为了消除发送端预处理的作用,其中需要用到当前的信道特性矩阵H以及信道的统计特性。除了H和信道统计特性之外,MIMO检测装置212中还需要用到发送端各子流所采用的调制与编码参数信息。这里,滤波装置211可以细化为如图3所示。(3) Detecting the currently received signal, including the functions of the filtering device 211 and the MIMO detecting device 212 . Here, the purpose of the operation of the filtering device 211 is to eliminate the role of preprocessing at the sending end, where the current channel characteristic matrix H and the statistical characteristics of the channel need to be used. In addition to H and channel statistical characteristics, the MIMO detection device 212 also needs to use the modulation and coding parameter information adopted by each substream at the sending end. Here, the filtering device 211 may be refined as shown in FIG. 3 .
图3所示为滤波装置的细化示意。Figure 3 shows a detailed schematic diagram of the filtering device.
从实现功能上,其包括两部分操作:对噪声进行白化处理,以及对信号进行匹配滤波。其中,对噪声的白化滤波装置301可以用加权矩阵Rn-1/2来描述,其中Rn为接收端加性噪声的协方差矩阵,Rn可由213估计得到。对接收信号的匹配滤波过程可以由装置302,303,304和305来实现,即分别用矩阵Rn-H/2,HH,TH和PH对输入信号进行匹配滤波,其中()H表示矩阵的共轭转置。From the realization function, it includes two parts of operation: whitening the noise, and matching filtering to the signal. Wherein, the noise whitening and filtering device 301 can be described by a weighting matrix Rn−1/2 , where Rn is the covariance matrix of the additive noise at the receiving end, and Rn can be estimated by 213 . The matched filtering process of the received signal can be realized by the devices 302, 303, 304 and 305, that is, the matrices Rn -H/2 , HH , TH and PH are used to perform matched filtering on the input signal, wherein ()H Represents the conjugate transpose of a matrix.
与图1中的传统的MIMO-AMC结构,即PARC相比,采用本发明技术的MIMO-AMC系统的主要不同之处在于:Compared with the traditional MIMO-AMC structure in Fig. 1, ie PARC, the main differences of the MIMO-AMC system using the technology of the present invention are:
(1)在发送端,发送子流的数目为L,L≤min{nT,nR},在不同时刻L数值大小可以变化,而不是传统PARC系统中所采用的固定nT个发送子流。另外,发送端在信号发送之前对其采取功率分配201和预处理202操作,为此还增加了长时控制装置202。功率分配装置201和预处理操作装置202所需的信息来自于接收端的反馈,但由于其是一个长时过程,即功率分配矩阵P和预处理T在长时间内都保持不变,因此不会为系统带来过多的复杂度以及反馈开销上的增加。(1) At the sending end, the number of sending sub-streams is L, L≤min{nT , nR }, and the value of L can vary at different times, instead of the fixed nT sending sub-streams used in the traditional PARC system flow. In addition, the transmitting end performs power allocation 201 and preprocessing 202 operations on the signal before transmission, and a long-term control device 202 is also added for this purpose. The information required by the power allocation device 201 and the preprocessing operation device 202 comes from the feedback of the receiving end, but because it is a long-term process, that is, the power allocation matrix P and the preprocessing T remain unchanged for a long time, so it will not It brings too much complexity and an increase in feedback overhead to the system.
(2)在接收端,增加了滤波装置211和统计特性计算装置213。统计特性计算装置213的目的是为发送端提供信道的统计特性,用于发送端的功率分配和预处理操作。同时,由于发送端加入了预处理操作,因此在对接收信号进行MIMO检测之前,必须首先在滤波装置211中对接收信号进行匹配滤波操作,用于抵消发送端预处理对信号的作用。(2) At the receiving end, a filtering device 211 and a statistical characteristic computing device 213 are added. The purpose of the statistical characteristic calculating means 213 is to provide the transmitting end with the statistical characteristic of the channel for power allocation and preprocessing operations of the transmitting end. At the same time, since the transmitting end has added a preprocessing operation, before performing MIMO detection on the received signal, a matched filtering operation must be performed on the receiving signal in the filtering device 211 to cancel the effect of the transmitting end preprocessing on the signal.
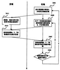
具体说来,本发明中提出的方法可以由图4来描述。Specifically, the method proposed in the present invention can be described by FIG. 4 .
图4所示为发明所采用的自适应传输方法。Figure 4 shows the adaptive transmission method adopted by the invention.
具体说来,该方法的实现主要包含以下几个步骤:Specifically, the implementation of this method mainly includes the following steps:
第一步:接收端估计信道统计特性R,并将其反馈给发送端,如S401。具体包括:Step 1: The receiving end estimates the channel statistical characteristic R, and feeds it back to the sending end, such as S401. Specifically include:
(1.1)估计接收信号中加性噪声n的协方差矩阵Rn,其中n为一nR维列向量,Rn=E{nnH},E{}为期望函数。实际中可作时间上的长时平均得到Rn。(1.1) Estimate the covariance matrix Rn of the additive noise n in the received signal, where n is an nR- dimensional column vector, Rn =E{nnH }, and E{} is the expectation function. In practice, the long-term average of time can be used to obtain Rn .
(1.2)估计信道统计特性R,其中R=E{HHRn-1H}。(1.2) Estimate the channel statistical characteristic R, where R=E{HH Rn−1 H}.
(1.3)将估计所得的R通过反馈信道发送回发送端。(1.3) Send the estimated R back to the sending end through the feedback channel.
第二步,发送端根据R,确定功率分配矩阵P和预处理矩阵T,如S411。这一步骤由发送端的长时控制装置203来完成,其具体实现步骤包括:In the second step, the sending end determines the power allocation matrix P and the preprocessing matrix T according to R, such as S411. This step is completed by the long-term control device 203 at the sending end, and its specific implementation steps include:
(2.1)确定L,其中L为发送端发送的并行子流数目。在本方法中,要求L≤rank(R),其中rank()表示矩阵的秩。在该步骤里,首先计算rank(R),然后由系统选取一不大于rank(R)的正整数作为L的值。(2.1) Determine L, where L is the number of parallel sub-streams sent by the sender. In this method, it is required that L≤rank(R), where rank() represents the rank of the matrix. In this step, rank(R) is calculated first, and then the system selects a positive integer not greater than rank(R) as the value of L.
(2.2)确定预处理矩阵T。具体方法是对R进行特征值分解(EVD),然后选取其最大的L个特征值所对应的特征向量,并将该L个特征向量组成L×nT预处理矩阵T。(2.2) Determine the preprocessing matrix T. The specific method is to perform eigenvalue decomposition (EVD) on R, and then select the eigenvectors corresponding to the largest L eigenvalues, and form the L eigenvectors into an L×nT preprocessing matrix T.
(2.3)确定功率分配矩阵P,这里可以采用两种功率分配方法:(2.3) Determine the power allocation matrix P, where two power allocation methods can be used:
(2.3.1)各子流等功率分配,即
(2.3.2)基于“注水”的功率分配方法。该方法中首先计算R的最大L个特征值,表示成{λ1,λ2,…,λL},并得到
第三步:接收端为下一时刻发送的数据选取调制和编码参数M={M1,M2,…,ML},并将其反馈回发送端,如S402。具体包括:Step 3:The receiving end selects the modulation and coding parameters M={M1 , M2 , . Specifically include:
(3.1)根据当前信道特性矩阵H,预先计算各个子流1,2,…,L经滤波和MIMO检测后的等效SINR值SINR(1),SINR(2),…,SINR(L)。其具体方法同背景技术中介绍的PARC中计算等效SINR的过程一样,这里不再赘述。但需要注意的是,由于本方法中加入了预处理和滤波装置,因此其等效信道矩阵就发生了变化。具体说来,此时的等效信道矩阵由传统PARC中的H变为了H0=PHTHHHRn-1HTP。也就是说,原来计算SINR公式中的H全部用H0来替换,nT全部用L来替换,比如,当采用MMSE检测时,第k个子流经检测后的SINR为:
(3.2)依据所得的SINR(1),SINR(2),…,SINR(L),为各个子流选取调制和编码参数M={M1,M2,…,ML}。这一步骤同背景技术中介绍的传统PARC方法一样,这里不再赘述。(3.2) According to the obtained SINR(1), SINR(2), ..., SINR(L), select modulation and coding parameters M={M1 , M2 , ..., ML } for each substream. This step is the same as the traditional PARC method introduced in the background art, and will not be repeated here.
(3.3)接收端将估计所得的各子流调制与编码参数M={M1,M2,…,ML}通过反馈信道发送回发送端。(3.3) The receiving end sends the estimated modulation and coding parameters M={M1 , M2 , . . . , ML } of each substream back to the sending end through the feedback channel.
第四步:发送端按所得的功率分配矩阵P,预处理矩阵T和调制与编码参数M对发送数据进行相应处理并发送出去,如S412。具体说来,发送端首先按照调制与编码参数M={M1,M2,…,ML}对L个发送子流进行自适应调制与编码,然后用矩阵P和T分别进行功率分配和预处理,最后从nT个天线上发送出去。Step 4: The transmitting end performs corresponding processing on the transmitted data according to the obtained power allocation matrix P, preprocessing matrix T and modulation and coding parameters M, and sends it out, such as S412. Specifically, the transmitting end first performs adaptive modulation and coding on the L transmission sub-streams according to the modulation and coding parameters M={M1 , M2 ,..., ML }, and then uses the matrices P and T to perform power allocation and Preprocessing, and finally sending out from nT antennas.
第五步:接收端收到该信号后,按照相应参数P,T和M对接收信号进行滤波和MIMO检测,如S403。具体包括:Step 5: After receiving the signal, the receiving end performs filtering and MIMO detection on the received signal according to the corresponding parameters P, T and M, such as S403. Specifically include:
(5.1)滤波处理,由滤波装置211来实现。假设接收信号为y,那么,经过滤波处理后的输出信号为z=PHTHHHRn-1y,其中y为一nR维列向量,z为一L维列向量。(5.1) Filter processing is realized by the filter device 211 . Assuming that the received signal is y, then the output signal after filtering is z=PH TH HH Rn−1 y, where y is an nR -dimensional column vector, and z is an L-dimensional column vector.
(5.2)对滤波输出的信号进行MIMO检测,这里可采用任一种常规的MIMO检测方法。(5.2) MIMO detection is performed on the filtered output signal, and any conventional MIMO detection method can be used here.
第六步:判断是否需要重新估计信道统计特性,若是,则转到第一步,否则转到第三步,如S404。Step 6: Judging whether it is necessary to re-estimate the channel statistical characteristics, if so, go to the first step, otherwise go to the third step, such as S404.
由于信道统计特性在长时间内保持不变,因此在本方法中对信道统计特性的估计和反馈是一个长时过程,即很长时间执行一次,其具体时间长度可由系统初始设定。而对于第三步,即为发送子流选取调制和编码参数来说,因为H的变化较快,所以该操作是一个短时过程,即在很短的时间内,比如一个时隙内,就要执行一次。Since the channel statistical characteristics remain unchanged for a long time, the estimation and feedback of the channel statistical characteristics in this method is a long-term process, that is, it is performed once in a long time, and the specific time length can be initially set by the system. As for the third step, which is to select modulation and coding parameters for sending substreams, because H changes quickly, this operation is a short-term process, that is, within a short period of time, such as within a time slot, the To execute once.
图5所示为本发明所采用的方法与传统方法的性能比较。Figure 5 shows the performance comparison between the method used in the present invention and the traditional method.
仿真中给出了采用传统PARC方法与本发明方法下的系统吞吐性能比较。其中,发送天线数nT和接收天线数nR皆为4,信道采用了平坦瑞利衰落信道。其中的AMC采用了无编码的自适应调制,调制参数分别为:“不传”、BPSK、QPSK、8PSK和16QAM,目标BER=10-3。另外,发送相关矩阵为The system throughput performance comparison between the traditional PARC method and the method of the present invention is given in the simulation. Wherein, the number nT of transmitting antennas and the number nR of receiving antennas are both 4, and the channel adopts a flat Rayleigh fading channel. Among them, the AMC adopts adaptive modulation without coding, and the modulation parameters are: "no transmission", BPSK, QPSK, 8PSK and 16QAM, and the target BER=10-3 . In addition, the sending correlation matrix is
对应于ITU中天线间隔为λ/2,传输方向为10°,角度扩展为15°的情况。同时假设接收非相关。由图5的结果可见,与传统方法相比,采用本发明申请中提出的方法可以获得更好的吞吐性能。另外,从前面的分析可知,本发明方法中发送端所增加的功率分配和预处理参数都来自于系统的长时反馈和计算,因此不会为系统带来过多的反馈开销和实现复杂度上的增加。Corresponding to the situation in ITU that the antenna spacing is λ/2, the transmission direction is 10°, and the angle extension is 15°. Also assume that the receiver is uncorrelated. It can be seen from the results in FIG. 5 that, compared with the traditional method, the method proposed in the application of the present invention can obtain better throughput performance. In addition, it can be seen from the previous analysis that the power allocation and preprocessing parameters added by the sending end in the method of the present invention all come from the long-term feedback and calculation of the system, so it will not bring too much feedback overhead and implementation complexity to the system on the increase.
尽管以上已经结合本发明的优选实施例示出了本发明,但是本领域的技术人员将会理解,在不脱离本发明的精神和范围的情况下,可以对本发明进行各种修改、替换和改变。因此,本发明不应由上述实施例来限定,而应由所附权利要求及其等价物来限定。Although the present invention has been illustrated in conjunction with the preferred embodiments thereof, those skilled in the art will understand that various modifications, substitutions and alterations can be made therein without departing from the spirit and scope of the invention. Accordingly, the invention should not be limited by the above-described embodiments, but by the appended claims and their equivalents.
| Application Number | Priority Date | Filing Date | Title |
|---|---|---|---|
| CN2005100893958ACN1909402B (en) | 2005-08-05 | 2005-08-05 | Self-adapting transmission method and apparatus used in spacing related MIMO system |
| Application Number | Priority Date | Filing Date | Title |
|---|---|---|---|
| CN2005100893958ACN1909402B (en) | 2005-08-05 | 2005-08-05 | Self-adapting transmission method and apparatus used in spacing related MIMO system |
| Publication Number | Publication Date |
|---|---|
| CN1909402A CN1909402A (en) | 2007-02-07 |
| CN1909402Btrue CN1909402B (en) | 2011-06-15 |
| Application Number | Title | Priority Date | Filing Date |
|---|---|---|---|
| CN2005100893958AExpired - Fee RelatedCN1909402B (en) | 2005-08-05 | 2005-08-05 | Self-adapting transmission method and apparatus used in spacing related MIMO system |
| Country | Link |
|---|---|
| CN (1) | CN1909402B (en) |
| Publication number | Priority date | Publication date | Assignee | Title |
|---|---|---|---|---|
| US20080219369A1 (en)* | 2007-03-09 | 2008-09-11 | The Hong Kong University Of Science And Technology | Robust rate, power and precoder adaptation for slow fading mimo channels with noisy limited feedback |
| CN101330357B (en)* | 2007-06-18 | 2013-04-17 | 华为技术有限公司 | Method for feedback of channel condition information and net element equipment |
| WO2009026770A1 (en)* | 2007-08-31 | 2009-03-05 | Fujitsu Limited | Feedback apparatus, feedback method, scheduling apparatus, and scheduling method |
| CN101562503B (en)* | 2008-04-16 | 2012-06-27 | 电信科学技术研究院 | Antenna array base station with small space length and multiple data stream transmitting method thereof |
| CN101262311B (en)* | 2008-04-18 | 2010-10-13 | 西安电子科技大学 | Pre-processing method for information data of downlink transmission end in multi-user MIMO system |
| CN101394208B (en)* | 2008-10-10 | 2012-12-19 | 安徽创毅通信科技有限公司 | Indicating power distributing method, system, base station and customer terminal of MIMO system |
| US8649456B2 (en)* | 2009-03-12 | 2014-02-11 | Futurewei Technologies, Inc. | System and method for channel information feedback in a wireless communications system |
| US8675627B2 (en) | 2009-03-23 | 2014-03-18 | Futurewei Technologies, Inc. | Adaptive precoding codebooks for wireless communications |
| WO2011082541A1 (en)* | 2010-01-08 | 2011-07-14 | 富士通株式会社 | Method, base station and corresponding mobile station for obtaining downlink channel directional information |
| CN102149184B (en)* | 2010-02-05 | 2013-08-07 | 中国移动通信集团设计院有限公司 | Method and device for allocating transmission power |
| CN102347784B (en)* | 2010-08-03 | 2014-01-01 | 鼎桥通信技术有限公司 | Joint detection method and joint detection receiver |
| CN102468920B (en)* | 2010-11-01 | 2014-11-05 | 华为技术有限公司 | Method, device and system for self-adaption code modulation |
| CN102594739B (en)* | 2011-01-07 | 2017-03-15 | 上海贝尔股份有限公司 | Channel estimation methods, pilot frequency information selection method, user equipment and base station |
| CN102142875B (en)* | 2011-01-24 | 2013-07-24 | 清华大学 | Adaptive bit loading and power allocation method for broadband CoMP (coordinative multiple point) transmission |
| CN102497222B (en)* | 2011-12-26 | 2014-04-09 | 桂林电子科技大学 | Adaptive switching method of SU-MIMO mode and MU-MIMO mode and adaptive switching apparatus thereof |
| CN103220093B (en)* | 2013-03-15 | 2016-05-11 | 国核电力规划设计研究院 | A kind of method and apparatus of controlling output signal |
| CN107370564B (en)* | 2016-05-13 | 2021-11-02 | 中兴通讯股份有限公司 | Polar code processing method and device, node |
| CN107547119B (en)* | 2017-09-04 | 2020-06-16 | 北京邮电大学 | Transmission mode self-adaption method and device based on correlation between channels |
| CN112311429B (en)* | 2019-08-01 | 2024-11-12 | 中兴通讯股份有限公司 | Transmission control method, base station and storage medium |
| Publication number | Priority date | Publication date | Assignee | Title |
|---|---|---|---|---|
| CN1325573A (en)* | 1998-08-28 | 2001-12-05 | 西门子公司 | Method and devie for adapting a transmission data rate or a transmitter power to the transmission quality of a trausmission channel |
| CN1354610A (en)* | 2000-11-16 | 2002-06-19 | 朗迅科技公司 | Feedback techinque of wireless system with several transmitting and receiving antennas |
| US20030130003A1 (en)* | 2002-01-04 | 2003-07-10 | Lg Electronics Inc. | Method and apparatus of allocating power in multiple-input multiple-output communication system |
| WO2004040833A1 (en)* | 2002-10-31 | 2004-05-13 | Mitsubishi Denki Kabushiki Kaisha | Dynamic power control for space time diversity transmit antenna pairs |
| Publication number | Priority date | Publication date | Assignee | Title |
|---|---|---|---|---|
| CN1325573A (en)* | 1998-08-28 | 2001-12-05 | 西门子公司 | Method and devie for adapting a transmission data rate or a transmitter power to the transmission quality of a trausmission channel |
| CN1354610A (en)* | 2000-11-16 | 2002-06-19 | 朗迅科技公司 | Feedback techinque of wireless system with several transmitting and receiving antennas |
| US20030130003A1 (en)* | 2002-01-04 | 2003-07-10 | Lg Electronics Inc. | Method and apparatus of allocating power in multiple-input multiple-output communication system |
| WO2004040833A1 (en)* | 2002-10-31 | 2004-05-13 | Mitsubishi Denki Kabushiki Kaisha | Dynamic power control for space time diversity transmit antenna pairs |
| Publication number | Publication date |
|---|---|
| CN1909402A (en) | 2007-02-07 |
| Publication | Publication Date | Title |
|---|---|---|
| CN1909402B (en) | Self-adapting transmission method and apparatus used in spacing related MIMO system | |
| Love et al. | What is the value of limited feedback for MIMO channels? | |
| KR101023366B1 (en) | Apparatus and method for transmitting / receiving signals in a multiple input multiple output wireless communication system using a beamforming method | |
| Santipach et al. | Asymptotic performance of MIMO wireless channels with limited feedback | |
| US8761288B2 (en) | Limited channel information feedback error-free channel vector quantization scheme for precoding MU-MIMO | |
| CN101170386B (en) | Adaptive multi-antenna reception and transmission method using mean value and covariance information | |
| CN102035615B (en) | MIMO-based downlink data transmission method, device and system | |
| US20060209764A1 (en) | User scheduling method for multiuser MIMO communication system | |
| Ding et al. | On the sum rate of channel subspace feedback for multi-antenna broadcast channels | |
| CN101453259A (en) | Pre-encoded transmission method for MIMO system | |
| KR20060028989A (en) | Signal Processing Method Applied to Multiple Input / Output System | |
| KR20080078813A (en) | How to determine the number of data streams to be used in the MIO system | |
| CN101321009B (en) | Self-adapting MIMO system and its signal processing method | |
| CN101227217A (en) | Random beamforming method and system based on multi-antenna receiver | |
| KR20120010235A (en) | Communication method in multi-user MIO network using precoding and precoding device | |
| CN102571301A (en) | Dual-codebook-based multi-user adaptive feedback method | |
| KR100975730B1 (en) | Random Beamforming Method for Multiple Input and Output Systems | |
| CN103493393A (en) | Method and system for spatial channel state information feedback for multiple-input multiple-output (MIMO) | |
| CN102404031A (en) | Self-adaptive user scheduling method based on maximum throughput | |
| CN101039163A (en) | Method and system for selecting and transmitting self-adaptive wave velocity in related multi-input multi-output system | |
| Santipach et al. | Capacity of beamforming with limited training and feedback | |
| CN101577573B (en) | Method and device for controlling independent data stream | |
| CN102195697B (en) | Multi-input multi-output beamforming system and data sending method thereof | |
| CN102025405A (en) | Combined receiving and transmitting terminal information based multi-beam forming method and system | |
| CN101645757B (en) | Method and device for selecting precoding matrix |
| Date | Code | Title | Description |
|---|---|---|---|
| C06 | Publication | ||
| PB01 | Publication | ||
| C10 | Entry into substantive examination | ||
| SE01 | Entry into force of request for substantive examination | ||
| C14 | Grant of patent or utility model | ||
| GR01 | Patent grant | ||
| CF01 | Termination of patent right due to non-payment of annual fee | Granted publication date:20110615 Termination date:20140805 | |
| EXPY | Termination of patent right or utility model |