




技术领域technical field
本发明涉及烤炉烹饪灶等的加热烹调器。The present invention relates to heating cookers such as oven cooking hobs.
背景技术Background technique
在以前的这种加热烹调器中,如专利文献1-日本特开2005-061816号公报所示,具有:装有被加热物的加热室、蒸气发生装置和设置在加热室上部的喷气孔,并从加热室上部的喷气孔喷出由蒸气发生装置发生的蒸气,使其包围被装入到加热室中的被加热物以进行烹调。In the conventional heating cooker, as shown in Patent Document 1-Japanese Patent Application Laid-Open No. 2005-061816, there are: a heating chamber containing an object to be heated, a steam generating device, and an air injection hole arranged on the upper part of the heating chamber, And the steam generated by the steam generating device is ejected from the gas injection hole on the upper part of the heating chamber, so that it surrounds the object to be heated loaded into the heating chamber for cooking.
另外,如专利文献2-日本特开2004-309060号公报所示,在往容纳被烹调物的加热室供给来自热源的热,并对被加热物进行加热处理的加热烹调器中,有具备往加热室内供给蒸气的蒸气发生部,对蒸气发生部进行加热的加热器和给水装置,和能供给蒸气的蒸气供给操作装置的加热烹调器。In addition, as shown in Patent Document 2 - Japanese Unexamined Patent Publication No. 2004-309060, in a heating cooker that supplies heat from a heat source to a heating chamber that accommodates an object to be cooked, and performs heat treatment on the object to be heated, there are A steam generator that supplies steam in the heating chamber, a heater and a water supply device that heats the steam generator, and a heating cooker that can supply steam to a steam supply operating device.
而且,如专利文献3-日本特开2004-278853号公报所示,在用红外线温度传感器测量食品的温度,控制加热的方式的带有蒸气发生功能的高频加热装置中,具备:高频发生部,和用设置在加热室底面的蒸发皿及加热器装置构成的蒸气发生部,加热器装置由将护套式加热器埋入铝压铸件中构成,并直接装在蒸发皿的里侧。Moreover, as shown in Patent Document 3-Japanese Patent Laid-Open No. 2004-278853, in a high-frequency heating device with a steam generation function that measures the temperature of food with an infrared temperature sensor and controls heating, it is equipped with: part, and the steam generating part composed of an evaporating dish and a heater device arranged on the bottom surface of the heating chamber. The heater device is composed of a sheathed heater embedded in an aluminum die-casting, and is directly installed on the inner side of the evaporating dish.
在上述的现有技术中,专利文献1表示的是用蒸气进行加热烹调的加热烹调器,烹饪灶加热等没有其它的加热装置。因此,不能进行范围广泛的加热烹调,在所能提供的菜单和内容方面自然受到限制。In the above-mentioned prior art,
专利文献2表示的加热烹调器,作为加热装置除用蒸气加热外,还有磁控管和加热器,虽然能将这些加热装置予以组合进行烹调,但由于在加热室内有蒸气发生部,所以决定了加热时可利用的加热室的有效空间有所浪费。The heating cooker shown in
另外,由于对贮存在蒸气发生部的水进行加热而使其蒸发,因而,水滴滴落在高温面上使其瞬时蒸发的现象不会发生,所得到的水蒸气难以达到超细微。In addition, since the water stored in the steam generating part is heated and evaporated, the phenomenon of instantaneous evaporation of water droplets falling on the high-temperature surface does not occur, and the obtained water vapor is difficult to be ultrafine.
再有,由于用红外线传感器等温度传感器测量被烹调物的表面温度,根据该检测温度来控制蒸气发生量和加热器的加热量,所以对于在表面和内部发生很大的温度差的被烹调物,有时不能进行最佳的加热控制。In addition, since the surface temperature of the object to be cooked is measured by a temperature sensor such as an infrared sensor, and the amount of steam generation and the heating amount of the heater are controlled according to the detected temperature, for the object to be cooked that has a large temperature difference between the surface and the inside , sometimes the best heating control cannot be performed.
专利文献3表示的加热烹调器是在带有蒸气发生功能的高频加热装置中,作为上述对策之一,即使不知道食品的量,也用红外线温度传感器测量食品的温度来控制加热的方法。The heating cooker disclosed in
可是,在蒸气存在的环境下用红外线温度传感器进行温度检测,在其说明书中指出了以下问题。However, the following problems are pointed out in the specification of infrared temperature sensors for temperature detection in an environment where steam exists.
即,当蒸气充满加热室内时,红外线温度传感器测定的温度不是被加热物(食品等的被烹调物)的温度,而是存在于与被加热物之间的蒸气的漂浮粒子的温度。因此,不能正确地测量被加热物的温度。这样一来,根据红外线温度传感器的温度检测结果进行的加热控制不能正常工作,例如,会发生加热不足、加热过剩等不正常的情况,特别是在进行按时序的顺序进行的自动烹调时,则以加热不良的状态进入下一个步骤,仅通过再加热和自然冷却等不能解决问题,也有烹调以失败告终的可能性。That is, when steam fills the heating chamber, the temperature measured by the infrared temperature sensor is not the temperature of the object to be heated (cooked object such as food) but the temperature of floating particles of vapor existing between the object to be heated. Therefore, the temperature of the object to be heated cannot be accurately measured. As a result, the heating control based on the temperature detection results of the infrared temperature sensor cannot work normally. For example, abnormal situations such as insufficient heating and excessive heating will occur. Going to the next step in a state of poor heating, only reheating and natural cooling cannot solve the problem, and there is a possibility that cooking will end in failure.
因此,在利用了蒸气的加热烹调器中,利用红外线温度传感器正确计测加热室内被烹调物的温度是非常困难的,红外线温度传感器作为加热控制的装置存在不能使用的问题。Therefore, in a heating cooker using steam, it is very difficult to accurately measure the temperature of the object to be cooked in the heating chamber with an infrared temperature sensor, and there is a problem that the infrared temperature sensor cannot be used as a heating control device.
发明内容Contents of the invention
本发明的目的就在于解决上述问题中的至少一个。It is an object of the present invention to solve at least one of the above-mentioned problems.
为了解决上述课题,本发明的加热烹调器的第一方案的特征是,作为加热收放在加热室内的被烹调物的装置,具有以下4个加热装置:把磁控管作为热源的烹饪灶加热装置,由第一加热器和风扇和覆盖它们的通风道构成的热风烤炉加热装置,把第二加热器作为热源的烤架加热装置以及由发生水蒸气的蒸气发生装置和由第一加热器生成的高温水蒸气构成的加热装置;在通风道外侧设置上述蒸气发生装置,向从风扇流出的空气流喷射由蒸气发生装置供给的水蒸气,利用第一加热器加热在通风道内与空气流混合了的水蒸气,生成高温水蒸气,并将该高温水蒸气供给加热室内。In order to solve the above-mentioned problems, the first aspect of the heating cooker of the present invention is characterized in that, as a device for heating the object to be cooked stored in the heating chamber, the following four heating devices are provided: a cooking stove using a magnetron as a heat source; device, a hot air oven heating device consisting of a first heater, a fan and an air duct covering them, a grill heating device using the second heater as a heat source, and a steam generating device for generating water vapor and a first heater The heating device composed of the generated high-temperature water vapor; the above-mentioned steam generating device is installed outside the air passage, and the water vapor supplied by the steam generating device is sprayed to the air flow flowing out from the fan, and is heated by the first heater and mixed with the air flow in the air passage. The heated water vapor is generated to generate high-temperature water vapor, and the high-temperature water vapor is supplied to the heating chamber.
本发明的加热烹调器的第二方案的特征是,作为加热收放在加热室内的被烹调物的装置,具有以下4个加热装置:把磁控管作为热源的烹饪灶加热装置,由第一加热器和风扇和覆盖它们的通风道构成的热风烤炉加热装置,把第二加热器作为热源的烤架加热装置以及由发生水蒸气的蒸气发生装置和由第一加热器生成的高温水蒸气构成的加热装置;还具有检测被烹调物的质量的质量检测装置和控制上述4个加热装置的控制装置;其结构为,在通风道的外侧设置蒸气发生装置,向从风扇流出的空气流喷射从蒸气发生装置供给的水蒸气,利用第一加热器加热在通风道内与空气流混合的水蒸气,生成高温水蒸气,将该高温水蒸气供给加热室内;根据上述质量检测装置的质量检测值,利用控制装置控制4个加热装置中的至少一个的输出,进行适应被烹调物的烹调内容的最佳加热控制。The second aspect of the heating cooker of the present invention is characterized in that, as a device for heating the cooked object stored in the heating chamber, it has the following four heating devices: a cooking stove heating device using a magnetron as a heat source, a first A hot-air oven heating device consisting of a heater, a fan, and an air passage covering them, a grill heating device using the second heater as a heat source, and a steam generating device that generates water vapor and high-temperature water vapor generated by the first heater It also has a quality detection device for detecting the quality of the food to be cooked and a control device for controlling the above four heating devices; its structure is that a steam generating device is arranged on the outside of the ventilation channel, and the steam is injected into the air stream flowing out from the fan. The water vapor supplied from the steam generating device utilizes the first heater to heat the water vapor mixed with the air flow in the ventilation channel to generate high-temperature water vapor, which is supplied to the heating chamber; according to the quality detection value of the above-mentioned quality detection device, The output of at least one of the four heating devices is controlled by the control device to perform optimal heating control in accordance with the cooking content of the object to be cooked.
本发明的加热烹调器的第三方案的特征是,作为加热收放在加热室内的被烹调物的装置,具有以下4个加热装置:把磁控管作为热源的烹饪灶加热装置,由第一加热器和风扇和覆盖它们的通风道构成的热风烤炉加热装置,把第二加热器作为热源的烤架加热装置以及由发生水蒸气的蒸气发生装置和由第一加热器生成的高温水蒸气构成的加热装置;还具有设置在加热室底面并放置被烹调物的不旋转的台子,设置于台子下面用以支撑该台子并检测被烹调物质量的多个质量检测装置和控制上述4个加热装置的控制装置;其结构为,在通风道的外侧设置蒸气发生装置,向从风扇流出的空气流喷射从蒸气发生装置供给的水蒸气,利用第一加热器加热在通风道内与空气流混合的水蒸气,生成高温水蒸气,将该高温水蒸气供给加热室内;通过多个质量检测装置的总和检测台子上的被烹调物的质量,根据该质量检测装置的质量检测值,利用上述控制装置控制4个加热装置的至少一个的输出,进行适应被烹调物的烹调内容的最佳加热控制。The third aspect of the heating cooker of the present invention is characterized in that, as a device for heating the object to be cooked stored in the heating chamber, it has the following four heating devices: a cooking range heating device using a magnetron as a heat source, a first A hot-air oven heating device consisting of a heater, a fan, and an air passage covering them, a grill heating device using the second heater as a heat source, and a steam generating device that generates water vapor and high-temperature water vapor generated by the first heater The heating device constituted; it also has a non-rotating table arranged on the bottom surface of the heating chamber and placed on the food to be cooked, and is arranged under the table to support the table and detect the quality of the food to be cooked. A plurality of quality detection devices and control the above four heating The control device of the device; its structure is that a steam generating device is installed outside the air passage, and the water vapor supplied from the steam generating device is sprayed to the air flow flowing out from the fan, and the steam mixed with the air flow in the air passage is heated by the first heater. Water vapor, high-temperature water vapor is generated, and the high-temperature water vapor is supplied to the heating chamber; the quality of the food to be cooked on the table is detected by the sum of a plurality of quality detection devices, and the above-mentioned control device controls the quality according to the quality detection value of the quality detection device. The output of at least one of the four heating devices performs optimum heating control according to the cooking contents of the food to be cooked.
本发明的加热烹调器的第四方案的特征是,生成的高温水蒸气中至少包含约1000纳米不足的超细微水蒸气和约1微米以上的细微水蒸气两者,通过使前者的超细微水蒸气主要渗透到被烹调物内来对被烹调物进行保湿和加湿,通过使后者的细微水蒸气主要附着并凝结在被烹调物表面来加热烹调被烹调物。A fourth aspect of the heating cooker of the present invention is characterized in that the generated high-temperature water vapor contains at least both ultra-fine water vapor of less than about 1000 nanometers and fine water vapor of about 1 micron or more, and the former ultra-fine water vapor It mainly penetrates into the cooked object to moisturize and humidify the cooked object, and makes the latter's fine water vapor mainly adhere to and condense on the surface of the cooked object to heat and cook the cooked object.
根据本发明的第一方案,由于有包含高温水蒸气的加热装置的4个加热装置,所以通过组合各个具有特征的加热装置进行烹调,能提供最佳的烹调。According to the first aspect of the present invention, since there are four heating means including the heating means of high-temperature steam, cooking can be provided by combining each characteristic heating means to provide optimum cooking.
根据本发明的第二方案,由于还采用将被烹调物放置在圆形台子上进行旋转烹调的烤炉烹饪灶等,可以根据被烹调物的种类、烹调、重量控制所有4个加热装置的输出或至少一个加热装置的输出,因而能实现最佳的烹调。According to the second aspect of the present invention, since an oven cooking hob, etc. in which the object to be cooked is placed on a circular table for rotary cooking is also used, the output of all four heating devices can be controlled according to the type, cooking, and weight of the object to be cooked. Or the output of at least one heating device, thus enabling optimal cooking.
而且,利用了质量检测装置的烹调,可以实现能充分弥补利用红外线温度传感器的烹调问题的最佳的加热控制。Furthermore, the cooking using the quality detection device can realize optimal heating control that can sufficiently compensate for the problem of cooking using the infrared temperature sensor.
进而,根据本发明的第三方案,可以采用放置了被烹调物的台子不旋转的无转台式烤炉烹饪灶等,也能得到与上述的同样的效果。Furthermore, according to the third aspect of the present invention, the same effect as above can be obtained by using a non-rotary oven cooking range or the like on which the table on which the food is placed does not rotate.
另外,由于用多个质量检测装置的总和检测台子上的被烹调物的重量,既能根据该检测值的总和用控制装置控制所有4个加热装置的输出或至少一个加热装置的输出,也能从这些质量检测装置各自的输出值的比例来特定放置着被烹调物的台子的放置位置,所以能对所有4个加热装置或至少一个加热装置有效地进行方向控制,使其朝向该被烹调物。In addition, since the weight of the cooked object on the table is detected by the sum of a plurality of quality detection devices, the output of all 4 heating devices or the output of at least one heating device can be controlled by the control device according to the sum of the detected values, or the output of at least one heating device can be controlled. The placement position of the table on which the object to be cooked is placed is specified from the ratio of the respective output values of these quality detection devices, so all four heating devices or at least one heating device can be effectively directional controlled so that it faces the object to be cooked. .
再有,根据本发明的第四方案,在高温水蒸气中,不仅将所生成的细微水蒸气利用于被烹调物的加热中,而且还可以将超细微水蒸气利用于被烹调物的保湿中,能扩展利用以蒸气发生装置生成的水蒸气的应用范围。Furthermore, according to the fourth aspect of the present invention, in the high-temperature water vapor, not only the generated fine water vapor is utilized in heating the cooked object, but also the ultra-fine water vapor can be utilized in the moisturizing of the cooked object. , can expand the application range of using the steam generated by the steam generator.
附图说明Description of drawings
图1是本发明的电式烤炉烹饪灶的侧剖视图。Fig. 1 is a side sectional view of the electric oven cooking range of the present invention.
图2是从背面看到的图1的电式烤炉烹饪灶的的立体图。Fig. 2 is a perspective view of the electric oven cooking stove of Fig. 1 seen from the back.
图3是本发明的水蒸气对被烹调物的作用的示意图。Fig. 3 is a schematic diagram of the effect of the water vapor of the present invention on the food to be cooked.
图4是具有本发明的质量检测装置的电式烤炉烹饪灶的侧剖视图。Fig. 4 is a side sectional view of an electric oven cooking range with the quality detection device of the present invention.
图5是从正面看到的具有图4的质量检测装置的电式烤炉烹饪灶的立体图。Fig. 5 is a perspective view of the electric oven cooking stove with the quality detection device in Fig. 4 seen from the front.
图6是本发明的静电电容式质量检测装置的侧剖视图。Fig. 6 is a side sectional view of the capacitance type mass detection device of the present invention.
图7是在本发明的质量检测装置中用三点支撑台子的结构图。Fig. 7 is a structural view of a three-point support platform in the quality inspection device of the present invention.
图8是本发明的烹调方法的流程图。Fig. 8 is a flowchart of the cooking method of the present invention.
图9是本发明的转台式烤炉烹饪灶的侧剖视图。Fig. 9 is a side sectional view of the rotary oven cooking range of the present invention.
具体实施方式Detailed ways
以下,以电式烤炉烹饪灶为例,说明本发明的加热烹调器。Hereinafter, the heating cooker of the present invention will be described by taking an electric oven cooking stove as an example.
实施例1Example 1
图1是本发明的电式烤炉烹饪灶的侧剖视图。Fig. 1 is a side sectional view of the electric oven cooking range of the present invention.
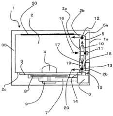
图2是从背面一侧看到的该电式烤炉烹饪灶的立体图,是把作为外框的盖35挪开到主体前方(门36侧)的状态。Fig. 2 is a perspective view of the electric oven cooking stove seen from the back side, and is a state in which the cover 35 as the outer frame is moved to the front of the main body (
电式烤炉烹饪灶的主体1由以下部件构成:容纳加热烹调的食品等被烹调物4的加热室2,设置在该加热室2的底面2c的放置被烹调物4的不旋转的台子3,使热风在加热室2循环的热风单元5,作为烹饪灶加热装置的加热源的磁控管6,引导微波的波导管7,对加热室2照射微波的旋转天线8及天线电机9等。The
由于上述磁控管6、波导管7、旋转天线8及天线电机9等都是公知的,因而省略其详细说明,但这些构成零部件如图示那样配置在加热室2和主体1的底面之间的机械室中。Since the above-mentioned
烤炉烹调使用的热风单元5是构成热风烤炉加热装置的单元,由通风道5a、旋转自如地设置在该通风道5a内大致中央的风扇10、在该风扇10的外周上下、即空气流的流出一侧设置的第一加热器12、安装在通风道5a的风扇电机11等构成,并配置在主体1的加热室2的背面的壁上。在该图1中,虽在风扇10的外周上下设置两个第一加热器12,但既可以把该加热器的形状制成コ字状、矩形状或圆形状的连续的一个加热器、也可以是只设置在上下任何一边的结构。例如,在图1中,可以只在热风单元5的下侧设置加热器12(参照后述图4)。The
在加热室2的背面的壁上设置由多个冲孔组成的吸入孔2a、吹出孔2b,吸入孔2a设置在风扇10的大致中心部、即与空气流的吸入孔2a相对的位置,吹出孔2b设置在与上下的第一加热器12相对的位置。On the wall of the back side of the
在加热室2的上面的壁上设置着作为烤架加热装置的加热源的第二加热器50。这里,第二加热器50既可以是上述上面的壁一个面扩展的平面状加热器50,也可以是在前后或左右分割成多个(例如,分成2部分)的平面状加热器,也可以是棒状的护套式加热器和石英管加热器。On the upper wall of the
而且,在主体1的前方设置着取出和放入被烹调物4的开关自如的门36。Furthermore, an
图1及图2的电式烤炉烹饪灶的主体1在加热室2的中央没有旋转台子,被称为所谓旋无转台式烤炉烹饪灶。The
这里,标号13是蒸气发生装置,其设置在构成热风单元5的通风道5a的外侧、即外壁面上,是本发明的利用高温水蒸气构成加热装置的零件。该蒸气发生装置13由供给水的容器13a、加热该容器13a的加热器13b、热敏电阻等温度检测器(未图示)等构成,这些零件布置在热风单元5和主体1背面的壁1a之间。Here,
这样,在本发明中,由于蒸气发生装置13不是设置在加热室2内和热风单元5内,而是设置在构成热风单元5的通风道5a的外侧,所以能有效地利用加热时能利用的加热室2的空间,而且也不妨碍热风和水蒸气在热风单元5内的流动。Like this, in the present invention, because
另外,容器13a由铝压铸件等铝材料和不锈钢材料等难于生锈的金属材料制成,加热器13b用埋入在容器13a的内部的护套式加热器等构成。但是,容器13a、加热器13b都不必限制于这样的结构,为了缩短升温时间,最好容器13a的热容量较小,更希望的是容器13a的质量以100g~200g左右为宜。加热器13b同样为了缩短升温时间,最好使消耗电功率为500W~1000W左右。In addition, the container 13a is made of an aluminum material such as aluminum die-casting or a metal material such as stainless steel that is not easily rusted, and the heater 13b is constituted by a sheath heater or the like embedded in the container 13a. However, the container 13a and the heater 13b need not be limited to such a structure. In order to shorten the heating time, the heat capacity of the container 13a is preferably small, and it is more desirable that the mass of the container 13a is about 100g to 200g. Similarly, in order to shorten the heating time of the heater 13b, the electric power consumption is preferably about 500W to 1000W.
这样,通过将质量和消耗电功率设定为上述的数值,从而可将蒸气发生装置13到达预定温度的升温时间缩短到30秒~1分左右或其以下。In this way, by setting the mass and power consumption to the above values, the temperature rise time for the
当然,容器13a和加热器13b也不必限定为这种式样和数值,容器13a和加热器13b也可以分别分割成多个。当用绝热材料覆盖蒸气发生装置13的外壁,抑制向周围的散热时,在缩短升温时间的同时,还提高加热效率并省能。Of course, the container 13a and the heater 13b are not necessarily limited to such specifications and numerical values, and the container 13a and the heater 13b may be divided into a plurality of each. When the outer wall of the
对容器13a供给水,从设置在主体1内的水箱14通过水泵15和水管34进行。这里,作为水,若考虑卫生方面,希望包含若干氯成份的自来水等。另外,水箱14和水泵15、水管34不必限定于图1和图2所示的位置。尤其是,水箱14,其位置以容易从主体1的前方取出为宜,为了能从主体1的前方看得见,可以设置在该主体1前方的底面或上面或侧面。Water is supplied to the container 13 a from the water tank 14 provided in the
标号18是水蒸气19的送出口,与蒸气发生装置13连接,其前端开口以便向从风扇10流出的空气流、即吹出风17喷射。而且,最希望的是,其开口能向刚从风扇10流出来的空气流喷射,使其与该空气流冲突。另外,送出口18的口径大小和数量为控制水蒸气的喷出速度的参数,对于本发明,口径最好是1~3mm,个数最好是2~4个。Reference numeral 18 is an outlet for
而且,在通风道5a内与空气流的吹出风17混合的水蒸气用设置在相同的通风道5a内的第一加热器12进一步加热,变成高温水蒸气后供给加到热室2内。And, the water vapor mixed with the blowing
如以上那样,对于本发明的加热烹调器、即电式烤炉烹饪灶,其特征是,具有加热功能各自不同的4个加热装置,即,烹饪灶加热装置、热风烤炉加热装置、烤架加热装置、高温水蒸气的加热装置。As above, the heating cooker of the present invention, that is, the electric oven cooking range, is characterized in that it has four heating devices with different heating functions, that is, a cooking range heating device, a hot air oven heating device, a grill Heating device, heating device for high temperature steam.
当用如以上那样构成的无转台方式电式烤炉烹饪灶使用高温水蒸气的加热装置进行烹调时,本发明实行以下工序。When cooking is performed using a heating device using high-temperature steam in the non-rotary type electric oven cooking range constituted as above, the present invention implements the following steps.
(1)开始运转时,接通构成热风单元5的风扇10,从加热室2通过吸入孔2a吸入到热风单元5的吹入风16因风扇10的旋转成为高速的吹出风17,从该风扇10势头强劲地吹出。(1) When starting to run, turn on the
(2)对蒸气发生装置13,接通加热器13b,开始容器13a的升温。(2) For the
(3)当容器13a接近预定温度时,用水泵15从水箱14通过水管34把预定水量的水供给蒸气发生装置13。作为预定温度的一例,是水沸腾并蒸发的饱和温度以上,虽然最理想的是150℃~250℃左右,但根据状况既可以是150℃以下,也可以是250℃以上。(3) When the container 13a approaches a predetermined temperature, the water pump 15 supplies a predetermined amount of water to the
另外,预定水量虽随作为被烹调物的食品和其烹调菜单而不同,但希望的是5cc/分~20cc/分左右。In addition, although the predetermined amount of water varies depending on the food to be cooked and its cooking menu, it is preferably about 5 cc/minute to 20 cc/minute.
(4)当对蒸气发生装置13供给水时,该供给水与保持高温的容器13a的内壁等接触,瞬时地沸腾、蒸发,水因水蒸气爆发的现象急剧地膨胀,生成饱和水蒸气19。饱和水蒸气19,在大气压下的饱和温度是100℃。在本实施例中,如从工序(2)到工序(4)所示,采用的方法是事先使容器13a升温,达到预定温度后,连续或间断地对蒸气发生装置13供给少量的水,使其瞬时地沸腾、蒸发的方法;为了得到细微粒径的水蒸气,该方法虽是最希望的,但作为其它的方法,也可以采用以下的方式,即,事先把预定量的水贮存在蒸气发生装置13中,然后使贮存水的蒸气发生装置13升温,使水慢慢地蒸发的方式。(4) When water is supplied to the
(5)已蒸发的饱和水蒸气19,由于相对于水的体积急剧地膨胀1600倍左右,所以该水蒸气19从蒸气发生装置13的送出口18势头强劲地喷出。送出口18的大小和数量,如上所述那样,是控制水蒸气19的喷出速度的参数,在本发明中,理想的是送出口18的口径是1~3mm,个数是2~4个。(5) The evaporated saturated
(6)从蒸气发生装置13喷出的水蒸气19与在上述(1)生成的从风扇10刚送出去的高速吹出风17有力地冲突,给与冲击力,包含在该水蒸气19中的大直径的水蒸气和水滴进一步被粉碎得更细。此外,从上述蒸气发生装置13喷出的水蒸气19也可以不是从风扇10刚送出去的高速的吹出风17,而是使空气流的流出端,例如在图1,使蒸气发生装置13和风扇10的高度方向的位置关系接近,使从送出口18喷出的水蒸气19吹撞在风扇10的叶片部的前端部侧。另外,也可以在蒸气发生装置13和风扇10的位置关系为图1的状态下,将管道连接到送出口18上,如上所述利用该管道将水蒸气19引导到风扇10。(6) The
因而,在本发明中,其特征是,由径流式风扇等构成的风扇10起到了将水蒸气19粉碎得更细的粉碎装置的作用,通过从蒸气发生装置13供给的水蒸气19与风扇10的叶片部的前端部周边,或从风扇10刚流出的高速吹出风17激烈地冲撞,使水蒸气19受到冲击而粉碎得更细。这里,风扇10的种类也可以不是径流式风扇,也可以是横流式风扇和西洛克风扇、涡轮式风扇等。Therefore, in the present invention, it is characterized in that the
(7),然后,用热风单元5内的第一加热器12将由上述(6)生成的直径不同的水蒸气进一步加热,成为含有大量包含细微水蒸气的高温水蒸气20的高温热风,从吹出孔2b提供给加热室2及被烹调物4。(7), then, with the
含有大量用第一加热器12加热的细微的高温水蒸气20等的高温热风的温度虽能达到从100℃~350℃左右,但在本实施例中,优选200℃~300℃左右。细微的高温水蒸气20的特征是,至少包含纳米级〔从作为水分子大小的约0.3纳米(nm)到小于1000nm〕的超细微水蒸气和微米级〔约1微米(μm)〕以上的细微水蒸气两者。当然,虽然也有在蒸气发生装置13中没有完成蒸发的从数十到数百微米级的细微水滴包含在水蒸气19中并喷出的情况,和从蒸气发生装置13喷出的水蒸气19在刚喷出后急冷成为细微水滴的情况,但任何细微水滴都能利用作为本发明的粉碎装置的风扇10和第一加热器12进一步粉碎得更细。The temperature of the high-temperature hot air containing a large amount of fine high-
(8)由上述(1)~(7)生成的高温水蒸气20(包含纳米级的超细微水蒸气和微米级以上的细微水蒸气)喷射并作用在加热室2内的被烹调物4上,便能得到如图3所示的以下效果。(8) The high-temperature water vapor 20 (including nano-scale ultrafine water vapor and micron-scale or above fine water vapor) generated by the above (1) to (7) is sprayed and acts on the cooked
即,一个效果是,高温水蒸气20所包含的直径最小的纳米级超细微水蒸气20a,接连不断地渗透到被烹调物4的内部和表面的凹部,由于毛细管凝缩现象,通过边凝缩边向该被烹调物4补给水分来进行加湿和保湿。这是因为,由于纳米级超细微水蒸气的大小比被烹调物4表层等的烹调前表面的细度和凹凸更小,因而容易从被烹调物4的表层渗透到内部。That is, one effect is that the nano-scale
另一个效果是,高温水蒸气20所包含的微米级以上的直径稍大的细微水蒸气20b与被烹调物4的表面接触、附着,通过在温度低的被烹调物4的表面凝缩而发生大的加热能量,进行高效的加热。即,由于细微水蒸气20b成为凝缩水滴21而发生的凝缩潜热,能对被烹调物4进行高效的加热烹调。当然,上述的本发明的高温水蒸气20的二个效果是主要的效果,既可以产生除此以外的效果,这两种水蒸气的效果也可以互相补充。Another effect is that the
上述工序(1)~(4)中的各工序的次序也可以分别替换。The order of each step in the above-mentioned steps (1) to (4) can also be replaced respectively.
下面,说明在上述高温水蒸气的加热装置中加上烹饪灶加热装置、热风烤炉加热装置的4个加热装置组合的烧烤料理、例如鸡的香草烧烤等的一个Next, one of the barbecue dishes combined with the four heating devices of the cooking stove heating device and the hot air oven heating device added to the above-mentioned high-temperature steam heating device, such as herb grilling of chicken, will be described.
实施例。Example.
首先,使用作为烤架加热装置的加热室2上面的第二加热器50使加热室2的室内温度上升,同时用烹饪灶加热装置的磁控管6加热被烹调物4的内部。然后,用高温水蒸气的加热装置生成高温水蒸气20,提供给被烹调物4。最后,再次使用作为烤架加热装置的第二加热器50使被烹调物4的表面烤得稍焦一些。这时,虽未图示,但也可以在加热室2的底面设置加热器,用上下两个加热器快速地烤得稍焦一些。First, the temperature inside the
这样,通过将4个加热装置巧妙地组合,使被烹调物4的多余脂肪熔化去掉,或用热能量大的高温水蒸气一口气加热,由于表面烤得稍焦一些,所以,能做成看起来味很美,吃起来外焦里嫩的里面湿润而柔软,外面很有咬头的卡巴卡巴声的食感。In this way, by ingeniously combining the four heating devices, the excess fat of the food to be cooked is melted and removed, or heated at one go with high-temperature water vapor with large heat energy. It tastes delicious, it tastes burnt on the outside, tender on the inside, moist and soft on the inside, and has a bite-like kaba kaba sound on the outside.
以上虽是一个例子,但通过这样将4个加热装置中的至少两个以上加热装置同时并行或按时间系列予以组合,就可以用本发明的加热烹调器简单地提供各式各样的味美烹调菜单。Although the above is an example, by combining at least two of the four heating devices simultaneously in parallel or in time series, the heating cooker of the present invention can simply provide a variety of delicious cooking. menu.
实施例2Example 2
图4是本发明的另一实施例,与图1同样是无转台方式的电式烤炉烹饪灶的侧剖视图,大的不同点是,置于加热室2的底面的台子3与加热室2分离,能与加热室2自如地装卸,在台子3的下面设置着测量被烹调物4重量的质量检测装置22。这里,虽然仅在位于热风单元5下侧的蒸气发生装置13的送出口18附近设有一个第一加热器12,但也可以如图1所示分成上下两个设置。Fig. 4 is another embodiment of the present invention, same as Fig. 1 is the side sectional view of the electric oven cooking stove of no turntable mode, the big difference is that the
图5是从该电式烤炉烹饪灶的正面一侧看到的立体图,是卸下作为外框的盖的状态。Fig. 5 is a perspective view seen from the front side of the electric oven cooking hob, showing a state in which a cover serving as an outer frame is removed.
若采用本结构,其特征是,用质量检测装置22检测台子3上的被烹调物4的重量,根据该检测值,能用控制装置27控制4个加热装置的输出。这时,既可以根据该检测值控制4个加热装置的全部输出,也可以仅控制其中一个加热装置的输出,还可以控制两个以上加热装置的输出。If this structure is adopted, it is characterized in that the weight of the object to be cooked 4 on the table 3 is detected by the
例如,可以根据该检测值控制由蒸气发生装置13供给的水蒸气19的量,可以把与被烹调物4的烹调内容对应的适量高温水蒸气供给到加热室2内。For example, the amount of
图6是质量检测装置22的一例,是测定原理为静电电容式的检测装置。该静电电容式的检测装置22由用薄板的金属材料制造的可动电极28和固定电极29构成,并安装在加热室底面2c上。FIG. 6 is an example of the
这里,固定电极29和可动电极28大致平行地相对,保持预定的间隙、即检测空间30,在该固定电极29和可动电极28之间形成电容器,把根据放置在台子3上的被烹调物4的重量移动的可动电极28和静置着的固定电极29的检测空间30的变化转换成静电电容的变化,从静电电容变化的检测算出被烹调物4重量。还有,本发明的质量检测装置22不必限定为静电电容式,也可以是应变式和光学式传感器等。Here, the fixed electrode 29 and the movable electrode 28 are substantially parallel to each other, and a predetermined gap, that is, the detection space 30 is maintained, and a capacitor is formed between the fixed electrode 29 and the movable electrode 28. The change in the detection space 30 between the movable electrode 28 and the fixed electrode 29 where the weight of the
图7是从上面看到的具有图4的质量检测装置22的电式烤炉烹饪灶1的加热室底面2c的平面略图。本实施例在台子3的下部设有三个(参照图5)质量检测装置22,利用加热室底面2c的后方中央部的质量检测装置22a、加热室底面2c的前方左侧部的质量检测装置22b和加热室底面2c的前方右侧部的质量检测装置22c以三点稳定地支撑着台子3。利用质量检测装置22支撑台子3不必限定于三点,也可以是四点,而且,即使用其以外的个数的支撑也无任何妨碍。FIG. 7 is a schematic plan view of the bottom surface 2c of the heating chamber of the electric
在图4和图7中,从质量检测装置22通到控制装置27的信号线是质量检测信号23,从控制装置27通到旋转天线8的信号线是构成烹饪灶的加热装置的天线控制信号24,从控制装置27通到热风单元5侧附近的蒸气发生装置13的信号线是构成高温水蒸气的加热装置的蒸气量控制信号25,从控制装置27通到磁控管6的信号线是构成烹饪灶的加热装置的微波控制信号26,从控制装置27通到热风单元5的信号线是构成热风烤炉加热装置的加热量控制信号40,而且,除此以外,还有构成烤架加热装置的加热量控制信号(未图示)。还有,这里表示的检测信号、控制信号以外的信号线和动力线都省略。In Fig. 4 and Fig. 7, the signal line that leads to the
接着,在上述具有从图4到图7所示的质量检测装置22的无转台式烤炉烹饪灶1中,用图8的流程图,具体说明利用高温水蒸气的加热装置的自动烹调方法的一个例子。Next, in the above-mentioned non-turntable
步骤1
首先,打开门36,将被烹调物4放置在台子3上,关闭门36。而且,利用操作面板上的刻度盘和按钮等(图省略)以手工输入食品的种类和烹调菜单内容。在能自动识别被烹调物等的烹调机器中,可以省略该步骤1。First, the
步骤2
确认烹调菜单内容等后,同样用刻度盘和按钮等以手工输入烹调开始(起动)。还有,在这些以手工输入不是在主体1的操作面板上,而是用遥控进行的加热烹调器中,也可以用远距离遥控操作来进行。After checking the contents of the cooking menu, etc., similarly, the cooking start (start) is manually input using a dial, a button, or the like. Also, in these heating cookers that are manually input not on the operation panel of the
步骤3
当步骤2的操作结束时,主体1的控制装置发出指令,由质量检测装置22自动地进行被烹调物(食品)4的质量检测。即,在本实施例中,由于可自动检测被烹调物4的重量,用户不需要用手工输入来进行被烹调物4的重量信息(重量多少克,多少人份,多少份)的输入,所以用户事前没有测量被烹调物4的重量或手工输入重量信息等的麻烦。When the operation of
在本实施例中,如以下那样自动进行被烹调物4的质量检测。In this embodiment, the quality detection of the food to be cooked 4 is automatically performed as follows.
(1)利用设于台子3下部的三个质量检测装置22a、22b、22c检测在各自的支撑点的重量Wa、Wb、Wc。(1) The weights Wa, Wb, and Wc at the respective support points are detected by the three
(2)利用三个质量检测装置22a、22b、22c检测的重量的总和(W=Wa+Wb+Wc),算出台子3上的被烹调物4的重量。(2) Calculate the weight of the object to be cooked 4 on the table 3 using the sum (W=Wa+Wb+Wc) of the weights detected by the three
步骤4
由于在步骤1知道了食品的种类和烹调菜单的内容,在步骤3知道了食品(被烹调物)4的重量,根据这些信息决定加热时间,本加热时间的设定也可以利用控制装置27等自动算出,决定。Owing to know the kind of food and the content of cooking menu in
当然,用高温水蒸气的加热装置、烹饪灶加热装置、热风烤炉加热装置、烤架加热装置等4个加热装置,加热时间是不同的。Of course, the heating time is different for four heating devices such as a heating device of high-temperature steam, a cooking stove heating device, a hot air oven heating device, and a grill heating device.
步骤5
在不使用高温水蒸气的加热装置等蒸气进行烹调的情况下,本步骤5虽可不要,但在使用高温水蒸气和饱和水蒸气等的加热烹调中,根据上述被烹调物4的种类和烹调菜单、被烹调物4的重量、加热时间自动算出并决定蒸气发生量。蒸气发生量的控制,可以通过例如用控制装置27控制向蒸气发生装置13供给的供给水量来进行。还有,利用第一加热器12和蒸气发生装置13的加热器13b可以进行热风和蒸气温度的控制。In the case of cooking without using steam such as a heating device with high-temperature steam, although this
步骤6
上述各种量的算出和决定几乎是瞬时自动进行的,然后,自动起动使用了蒸气的加热烹调。烹调中的蒸气发生量,根据被烹调物4的种类、烹调菜单、质量等的信息,用用控制装置27适当控制。若还有从蒸气发生装置13连续发生蒸气的烹调,则既有间断发生蒸气的烹调,又有蒸气发生量可以是5cc/分左右的烹调,还有需要20cc/分左右的烹调。The calculation and determination of the above-mentioned various quantities are almost instantaneously and automatically performed, and then heating cooking using steam is automatically started. The amount of steam generated during cooking is appropriately controlled by the
另外,热风温度也控制在适宜烤炉烹调的温度,例如从200℃~300℃左右。这里,在不是需要高温热风的烤炉烹调的情况(例如烹饪灶烹调),则可将构成热风单元5的第一加热器12关掉,而仅将风扇10打开,即使在这种情况下,风扇10也能起到粉碎装置的作用,进行水蒸气的粉碎,使其细微化。In addition, the temperature of the hot air is also controlled at a temperature suitable for oven cooking, for example, from about 200°C to 300°C. Here, in the case of not needing the oven cooking of high-temperature hot air (such as cooking stove cooking), the
这些被烹调物4的种类、烹调菜单、质量等的信息和蒸气发生量、热风温度等的各控制量的关系,能根据预先存储在烤炉烹饪灶1的控制装置27等的信息和以这些为基础进行的计算算出。The relationship between information such as the type of the food to be cooked 4, the cooking menu, and quality, and the amount of steam generation, hot air temperature, etc., can be based on the information stored in advance in the
步骤7
使用了在步骤6起动的蒸气的加热烹调,进行预定时间(由步骤6决定的加热时间)。Heat cooking using the steam activated in
步骤8
而且,在经过预定时间(加热时间)时结束烹调,并将烹调结束告知用户。Then, the cooking ends when a predetermined time (heating time) elapses, and the user is notified of the end of cooking.
除上述的烹调方法外,本发明的结构还可以采用以下方法。即,由于在利用设置在台子3下部的三个质量检测装置22a、22b、22c检测在各自的支撑点的重量Wa、Wb、Wc之后,能利用该三个质量检测装置22a、22b、22c检测的重量的总和(W=Wa+Wb+Wc)算出台子3上的被烹调物4的重量,同时能从在上述三个支撑点的重量Wa、Wb、Wc的检测值的比例(重量的分配)算出放置被烹调物4的位置,所以能以该放置位置为目标,集中喷射高温水蒸气20,而且还可以控制旋转天线8的旋转(也包含停止),集中照射微波,可以与4个加热装置的各个相对应地对加热装置进行有效的方向控制。In addition to the above-mentioned cooking methods, the structure of the present invention can also adopt the following methods. That is, after utilizing the three
为了如上所述地将高温水蒸气20集中喷射到放置位置,在图1、图4等中,有必要在高温水蒸气20向加热室2的吹出孔2b之前的热风单元5内设置根据检测到的放置位置控制流动的流动控制装置(未图示)。该流动控制装置可以是电动式的百页窗或导向板。In order to spray the high-
另外,在图8中说明的烹调流程也可以用手工输入进行。即,在步骤3、4、5中,利用加热烹调器所具有的操作部的刻度盘和按钮等,手工输入被烹调物4的重量、加热时间、蒸气量。In addition, the cooking process illustrated in FIG. 8 can also be performed by manual input. That is, in
实施例3Example 3
图9是本发明的另一实施例,是与上述实施例不同的,在加热室2的中央设置的放置被烹调物4的旋转台32自如旋转的转台方式的电式烤炉烹饪灶的侧剖视图,其结构是从磁控管6产生的微波通过波导管7从加热室2的侧面照射到被烹调物4上。Fig. 9 is another embodiment of the present invention, which is different from the above-mentioned embodiment. The rotary table 32 on which the object to be cooked 4 is placed in the center of the
转台32利用位于其下部的转台电机33旋转,在其同一条轴的端部设有一个质量检测装置22,可以利用该质量检测装置22检测放置在转台32上的被烹调物4的重量,该质量检测信号23送到控制装置27。烹调方法和上述说明的内容是同样的。
| Application Number | Priority Date | Filing Date | Title |
|---|---|---|---|
| JP2005185894AJP2007003136A (en) | 2005-06-27 | 2005-06-27 | Cooker |
| JP2005185894 | 2005-06-27 |
| Publication Number | Publication Date |
|---|---|
| CN1896599Atrue CN1896599A (en) | 2007-01-17 |
| CN100513886C CN100513886C (en) | 2009-07-15 |
| Application Number | Title | Priority Date | Filing Date |
|---|---|---|---|
| CNB2006100935480AExpired - Fee RelatedCN100513886C (en) | 2005-06-27 | 2006-06-26 | Heating cooker |
| Country | Link |
|---|---|
| JP (1) | JP2007003136A (en) |
| CN (1) | CN100513886C (en) |
| Publication number | Priority date | Publication date | Assignee | Title |
|---|---|---|---|---|
| CN102188154A (en)* | 2010-03-03 | 2011-09-21 | 三洋电机株式会社 | Heating cooker |
| CN102650439A (en)* | 2012-04-26 | 2012-08-29 | 广东格兰仕微波炉电器制造有限公司 | Microwave oven with steam function |
| CN104411174A (en)* | 2012-03-28 | 2015-03-11 | B/E航空公司 | Vehicle oven having an optimized water vapor injector |
| WO2015113483A1 (en)* | 2014-01-30 | 2015-08-06 | 深圳市爱可机器人技术有限公司 | Dual heat source cooking device and cooking method |
| CN104903652A (en)* | 2013-02-06 | 2015-09-09 | 夏普株式会社 | Heating cooker |
| CN106030212A (en)* | 2014-04-09 | 2016-10-12 | 松下知识产权经营株式会社 | Heating cooker with cooking container |
| TWI563918B (en)* | 2015-10-23 | 2017-01-01 | Ovens that produce steam | |
| CN108652417A (en)* | 2017-03-27 | 2018-10-16 | Seb公司 | The cooking equipment using hot-fluid with agitating device |
| CN109008592A (en)* | 2018-10-16 | 2018-12-18 | 广东美的厨房电器制造有限公司 | Micro- cooking control method for scorching all-in-one machine, device and micro- scorch all-in-one machine |
| CN109645842A (en)* | 2018-12-03 | 2019-04-19 | 华帝股份有限公司 | Steaming and baking oven with multilayer weighing structure |
| Publication number | Priority date | Publication date | Assignee | Title |
|---|---|---|---|---|
| JP4949948B2 (en)* | 2007-06-26 | 2012-06-13 | 中部電力株式会社 | Electric pizza kettle |
| JP4382135B1 (en)* | 2008-06-25 | 2009-12-09 | シャープ株式会社 | Cooker |
| JP5350064B2 (en)* | 2009-04-27 | 2013-11-27 | 日立アプライアンス株式会社 | High frequency heating device |
| JP5075925B2 (en)* | 2010-01-20 | 2012-11-21 | 日立アプライアンス株式会社 | Cooker |
| Publication number | Priority date | Publication date | Assignee | Title |
|---|---|---|---|---|
| JPS6217529A (en)* | 1985-07-15 | 1987-01-26 | Matsushita Electric Ind Co Ltd | Heat cooker with weight detection function |
| JPH0486418A (en)* | 1990-07-31 | 1992-03-19 | Toshiba Corp | Heating/cooking device |
| JPH11141881A (en)* | 1997-11-10 | 1999-05-28 | Matsushita Electric Ind Co Ltd | Cooking device using superheated steam |
| DE19824172A1 (en)* | 1998-05-29 | 1999-12-09 | Rational Gmbh | Cooking appliance with energy storage and energy extraction system |
| JP4334201B2 (en)* | 2002-11-11 | 2009-09-30 | シャープ株式会社 | Cooker |
| JP4336244B2 (en)* | 2003-05-12 | 2009-09-30 | 有限会社梅田事務所 | Method and apparatus for heating material to be heated |
| Publication number | Priority date | Publication date | Assignee | Title |
|---|---|---|---|---|
| CN102188154A (en)* | 2010-03-03 | 2011-09-21 | 三洋电机株式会社 | Heating cooker |
| CN104411174A (en)* | 2012-03-28 | 2015-03-11 | B/E航空公司 | Vehicle oven having an optimized water vapor injector |
| CN102650439A (en)* | 2012-04-26 | 2012-08-29 | 广东格兰仕微波炉电器制造有限公司 | Microwave oven with steam function |
| CN102650439B (en)* | 2012-04-26 | 2014-09-10 | 广东格兰仕微波炉电器制造有限公司 | Microwave oven with steam function |
| CN104903652A (en)* | 2013-02-06 | 2015-09-09 | 夏普株式会社 | Heating cooker |
| WO2015113483A1 (en)* | 2014-01-30 | 2015-08-06 | 深圳市爱可机器人技术有限公司 | Dual heat source cooking device and cooking method |
| CN106030212A (en)* | 2014-04-09 | 2016-10-12 | 松下知识产权经营株式会社 | Heating cooker with cooking container |
| CN106030212B (en)* | 2014-04-09 | 2017-12-05 | 松下知识产权经营株式会社 | Heating cooker with cooking container |
| TWI563918B (en)* | 2015-10-23 | 2017-01-01 | Ovens that produce steam | |
| CN108652417A (en)* | 2017-03-27 | 2018-10-16 | Seb公司 | The cooking equipment using hot-fluid with agitating device |
| CN109008592A (en)* | 2018-10-16 | 2018-12-18 | 广东美的厨房电器制造有限公司 | Micro- cooking control method for scorching all-in-one machine, device and micro- scorch all-in-one machine |
| CN109008592B (en)* | 2018-10-16 | 2021-06-18 | 广东美的厨房电器制造有限公司 | Cooking control method and device for micro-steaming and roasting integrated machine, and micro-steaming and roasting integrated machine |
| CN109645842A (en)* | 2018-12-03 | 2019-04-19 | 华帝股份有限公司 | Steaming and baking oven with multilayer weighing structure |
| Publication number | Publication date |
|---|---|
| CN100513886C (en) | 2009-07-15 |
| JP2007003136A (en) | 2007-01-11 |
| Publication | Publication Date | Title |
|---|---|---|
| CN1896599A (en) | heating cooker | |
| CN1860969A (en) | heating cooker | |
| CN108471907B (en) | Device and method for preparing food ingredients from hot air and a fluid introduced therein | |
| JP5530676B2 (en) | Cooker | |
| JP5140178B2 (en) | Cooker | |
| CN101086341B (en) | heating cooker | |
| JP2017531463A (en) | Apparatus and method for cooking food | |
| CN107595153B (en) | Heating pot capable of improving heating efficiency | |
| CN1946969A (en) | Steam cooker | |
| CN208551408U (en) | A heating pot that can improve heating efficiency | |
| CN1946970A (en) | Steam cooker and steam generating device | |
| CN1993585A (en) | Steam cooker | |
| US7802564B2 (en) | Steam cooking apparatus | |
| TWI359647B (en) | ||
| KR20090117070A (en) | Hair dryer | |
| JP4334201B2 (en) | Cooker | |
| CN101377317B (en) | Heating cooking device | |
| CN1946968A (en) | steam cooker | |
| JP2007003136A5 (en) | ||
| KR101189389B1 (en) | A control method of cooking appliance | |
| CN103835993A (en) | Fan blade capable of blowing air in diffused mode and fan blade support | |
| JP2010071637A (en) | Heating cooker | |
| KR101361154B1 (en) | Superheated steam cooking apparatus | |
| JP2007024388A (en) | Cooking equipment | |
| JP2010261690A (en) | Heating cooker |
| Date | Code | Title | Description |
|---|---|---|---|
| C06 | Publication | ||
| PB01 | Publication | ||
| C10 | Entry into substantive examination | ||
| SE01 | Entry into force of request for substantive examination | ||
| C14 | Grant of patent or utility model | ||
| GR01 | Patent grant | ||
| C17 | Cessation of patent right | ||
| CF01 | Termination of patent right due to non-payment of annual fee | Granted publication date:20090715 Termination date:20110626 |