Movatterモバイル変換


[0]ホーム

URL:


CN1829466B - Medical device, medical device guidance system, capsule medical device, and capsule medical device guidance system - Google Patents

Medical device, medical device guidance system, capsule medical device, and capsule medical device guidance system
Download PDF

Info

Publication number
CN1829466B
CN1829466BCN2004800218881ACN200480021888ACN1829466BCN 1829466 BCN1829466 BCN 1829466BCN 2004800218881 ACN2004800218881 ACN 2004800218881ACN 200480021888 ACN200480021888 ACN 200480021888ACN 1829466 BCN1829466 BCN 1829466B
Authority
CN
China
Prior art keywords
magnetic field
capsule
medical device
rotating excitation
magnet
Prior art date
Legal status (The legal status is an assumption and is not a legal conclusion. Google has not performed a legal analysis and makes no representation as to the accuracy of the status listed.)
Expired - Fee Related
Application number
CN2004800218881A
Other languages
Chinese (zh)
Other versions
CN1829466A (en
Inventor
内山昭夫
河野宏尚
横井武司
荒井贤一
石山和志
仙道雅彦
Current Assignee (The listed assignees may be inaccurate. Google has not performed a legal analysis and makes no representation or warranty as to the accuracy of the list.)
Olympus Corp
Original Assignee
Olympus Corp
Priority date (The priority date is an assumption and is not a legal conclusion. Google has not performed a legal analysis and makes no representation as to the accuracy of the date listed.)
Filing date
Publication date
Priority claimed from JP2003291771Aexternal-prioritypatent/JP4153845B2/en
Application filed by Olympus CorpfiledCriticalOlympus Corp
Priority claimed from PCT/JP2004/011628external-prioritypatent/WO2005013811A1/en
Publication of CN1829466ApublicationCriticalpatent/CN1829466A/en
Application grantedgrantedCritical
Publication of CN1829466BpublicationCriticalpatent/CN1829466B/en
Anticipated expirationlegal-statusCritical
Expired - Fee Relatedlegal-statusCriticalCurrent

Links

Images

Classifications

Landscapes

Abstract

A magnet (8) magnetized in a direction perpendicular to an insertion axis is disposed at the center position of a capsule (3) as a medical device inserted into a body cavity, and a vibration (on/off) switch (8f) of an operation input device (8) is turned on with respect to a magnetic field generation device (4) disposed outside the body, whereby the magnetic field generation device (4) generates a vibration magnetic field in a direction parallel to the insertion axis of the capsule (3), and a couple having an action line parallel to the insertion axis acts on the capsule (3), whereby the capsule (3) is swung around the insertion axis, and smoothly travels along the luminal organ.

Description

Medical treatment device, medical device induction system, capsule medical apparatus and encapsulated medical device guiding system
Technical field
The present invention relates to insert endoceliac medical treatment device, be suitable for making medical treatment device in rotation, to advance medical device induction system, capsule medical apparatus and the encapsulated medical device guiding system of channeling conduct.
Background technology
As utilizing rotating excitation field propulsive prior art in tested having a medical check-up, Japan's patent disclosure 2001-179700 communique and patent disclosure 2002-187100 communique are arranged.In these prior aries, disclose a kind of mobile control system of transportable miniature instrument, had: the magnetic field generating unit that produces rotating excitation field; Accept this rotating excitation field and rotate the robot body who obtains thrust; The position detection part of detection machine human agent's position; With change unit, magnetic field, it is according to the detected robot body's of this position detection part position, and change is by the direction of the rotating excitation field of magnetic field generating unit generation, so that the robot body is towards the direction that arrives destination.
In above-mentioned prior art, tube chamber width that miniature instrument is advanced or diameter is less, narrow or the zigzag situation of tube chamber under, produce the phenomenon that can not guide miniature instrument etc. swimmingly sometimes.
And, otherwise at tube chamber during greater than miniature instrument big or small, the helical structure portion and the contact between the tube chamber that are located at the miniature instrument periphery reduce the guiding that can not envision sometimes.
In addition, above-mentioned prior art is to form the type of advancing in the hole by borer, can not be applicable to the situation of advancing along this tube chamber in tube chamber internal organs such as endoceliac esophagus.
The present invention In view of the foregoing proposes, its purpose is, be provided under the situation of the endoceliac medical treatment device main body of guiding insertion in the body cavity, can improve the medical treatment device that passes through function of medical treatment device, and medical treatment device, medical device induction system, capsule medical apparatus and the encapsulated medical device guiding system that can be suitable for making the smooth and easy guiding of passing through of medical treatment device.
And, the objective of the invention is to, medical treatment device, medical device induction system, capsule medical apparatus and the encapsulated medical device guiding system that can be directed to the target site side by rotation along tube chamber internal organs inside at short notice are provided.
In addition, the objective of the invention is to, even provide crooked tube chamber internal organs also can smooth and easy propulsive medical treatment device, medical device induction system, capsule medical apparatus and encapsulated medical device guiding system.
Summary of the invention
Medical treatment device of the present invention is to have the medical treatment device that is directed to endoceliac insertion section, comprises the couple generation unit, and this couple generation unit produces the couple with position parallel with inserting axle.
And medical treatment device of the present invention comprises: the medical treatment device main body, and it has and is inserted into endoceliac and has the insertion section that roughly is profile cylindraceous; Be arranged on the helicoidal structure portion on the side of this medical treatment device main body; Thrust produces mechanism, and it has makes the rotary drive unit of this helicoidal structure portion around the Cylindorical rod rotation of described medical treatment device main body, and produces thrust on the Cylindorical rod direction; And the couple generation unit, its generation has the couple of the position parallel with described Cylindorical rod.
Medical device induction system of the present invention comprises: rotating excitation field; Magnetic field generation device, the magnetic field of the vertical direction of Plane of rotation of its generation and this rotating excitation field; The medical treatment device main body, it has and is inserted into endoceliac insertion section; The thrust that is arranged on the described medical treatment device main body produces structural portion; And Magnet, it is arranged in the described medical treatment device main body, and is configured to pole orientation produces the direction approximate vertical towards the thrust with described thrust generation structural portion direction.
Medical device induction system of the present invention comprises: the magnetic field generation device that produces rotating excitation field; Has the medical treatment device main body that is inserted into endoceliac insertion section; The thrust that is arranged on the described medical treatment device main body produces structural portion; Position of centre of gravity change mechanism, it makes the position of centre of gravity that is arranged on the medical treatment device on the described medical treatment device main body move with respect to the insertion axle of medical treatment device; Magnet, it is arranged on the described medical treatment device main body, and is configured to pole orientation produces the direction approximate vertical towards the thrust with described thrust generation structural portion direction; And transfer unit, the control signal of the described position of centre of gravity change of its control mechanism passes to the medical treatment device main body.
Capsule medical apparatus of the present invention comprises: have the capsule medical apparatus main body that is inserted into endoceliac insertion section; The thrust that is arranged on the described medical treatment device main body produces structural portion; And Magnet, it is arranged on the described medical treatment device main body, and the thrust that is configured in described capsule medical apparatus main body produces near the center of direction, makes pole orientation produce the direction of direction approximate vertical towards the thrust that produces structural portion with described thrust.
Capsule medical apparatus of the present invention comprises: have the capsule medical apparatus main body that is inserted into endoceliac insertion section; The thrust that is arranged on the described medical treatment device main body produces structural portion; And Magnet, it is arranged on the described medical treatment device main body, and the thrust that is configured in described capsule medical instrument main body produces near the end of direction, makes pole orientation produce the direction of direction approximate vertical towards the thrust that produces structural portion with described thrust.
In addition, medical treatment device of the present invention is used for checking in tested tube chamber internal organs of having a medical check-up or the medical act of disposal etc., main body is made of the rotationally symmetric body that has direct of travel along axis of symmetry, the direct of travel front portion of main body or at least one side at rear portion are attenuated along end direction by diameter, and the reducing diameter part with end shape of sphere roughly constitutes, has electromagnetic field response portion in body interior, it is subjected to from the effect of the rotation that is examined the external electromagnetic field that applies, on the main body outer surface, have and be used for rotatablely moving of being produced by described electromagnetic field response portion is converted to the helicoidal structure of propulsive force, be arranged to make the end of described helicoidal structure to arrive near the body end.
Medical treatment device of the present invention is used for checking in tested tube chamber internal organs of having a medical check-up or the medical act of disposal etc., main body is by general cylindrical shape shape part, and the diameter at main body two ends attenuates and reducing diameter part with end shape of sphere roughly constitutes along end direction, has Magnet in body interior, it is subjected to from being examined the magnetic action of the rotating excitation field that external body applies, have on the main body outer surface and be used for rotatablely moving of being produced by described Magnet is converted to the helicoidal structure of propulsive force, described helicoidal structure is arranged on the general cylindrical shape shape part and described reducing diameter part of described main body.
Medical device induction system of the present invention is used for checking in tested tube chamber internal organs of having a medical check-up or the medical act of disposal etc., have: medical treatment device, its main body is made of the rotationally symmetric body that has direct of travel along axis of symmetry, at least one side at the front portion of the direct of travel of main body or rear portion is attenuated and has roughly that the reducing diameter part of the end shape of sphere constitutes along end direction by diameter, has electromagnetic field response portion in body interior, it is subjected to from the effect of the rotation that is examined the electromagnetic field that external body applies, on the main body outer surface, have and be used for rotatablely moving of described electromagnetic field response portion is converted to the helicoidal structure of propulsive force, be arranged to make the end of described helicoidal structure to arrive near the body end; Electromagnetic field generation unit, its generation act on the electromagnetic field of the electromagnetic field response portion that is arranged in the described medical treatment device; The electromagnetic field control unit, it controls the direction of the electromagnetic field of described electromagnetic field generation unit generation, and described electromagnetic field generation unit generates an electromagnetic field on three direction of principal axis, makes described medical treatment device at tube chamber internal organs internal rotation.
Medical device induction system of the present invention is used for checking in tested tube chamber internal organs of having a medical check-up or the medical act of disposal etc., comprise: medical treatment device, its main body is by general cylindrical shape shape part, and the diameter at main body two ends attenuates and reducing diameter part with end shape of sphere roughly constitutes along end direction, has Magnet in body interior, it is subjected to from being examined the magnetic action of the rotating excitation field that external body applies, have the helicoidal structure that is used for rotatablely moving of described Magnet is converted to propulsive force on the main body outer surface, described helicoidal structure is arranged on the general cylindrical shape shape part and described reducing diameter part of described main body; Electromagnetic field generation unit, its generation act on the electromagnetic field of the electromagnetic field response portion that is arranged in the described medical treatment device; The electromagnetic field control unit, it controls the direction of the electromagnetic field of described electromagnetic field generation unit generation, and described electromagnetic field generation unit generates an electromagnetic field on three direction of principal axis, makes described medical treatment device at tube chamber internal organs internal rotation.
Description of drawings
Fig. 1 is the special summary structure chart based on the rotating excitation field generator with encapsulated medical device guiding system of the 1st embodiment of the present invention.
Fig. 2 is the block diagram of internal structure of the each several part of the encapsulated medical device guiding system of expression with the 1st embodiment of the present invention.
Fig. 3 (A) is the side view of capsule body.
Fig. 3 (B) is the front view of capsule body.
Fig. 4 (A) is the key diagram of the structure of expression input device.
Fig. 4 (B) shows the figure of the pictorial display picture that shows the information corresponding with the operation of the input device shown in Fig. 4 (A).
Fig. 5 is the key diagram of the variable condition of the rotating excitation field of expression when applying rotating excitation field etc.
Fig. 6 (A) and Fig. 6 (B) are the synoptic diagrams of the situation of the couple that is subjected to of the capsule medical apparatus of expression when having applied oscillating magnetic field.
Fig. 7 (A) and Fig. 7 (B) are expressions when changing the frequency of rotating excitation field and oscillating magnetic field and intensity, the figure of the track that the front end of capsule medical apparatus is drawn.
Fig. 8 (A) is the figure that expression makes the mutually isochronous track of frequency of the frequency of rotating excitation field and oscillating magnetic field.
Fig. 8 (B) is expression when making the frequency of oscillating magnetic field be 2 times of frequency of rotating excitation field, the figure of the track that the front end of capsule medical apparatus is drawn.
Fig. 8 (C) is expression when making oscillating magnetic field be direct current, the figure of the track that the front end of capsule medical apparatus is drawn.
Fig. 9 (A), Fig. 9 (B) and Fig. 9 (C) are that sample, the figure of the measurement result of the fltting speed when applying rotating excitation field and oscillating magnetic field etc. are used in expression.
Figure 10 (A), Figure 10 (B), Figure 10 (C) and Figure 10 (D) are the action specification figure when advancing in the tube chamber internal organs of the tube chamber internal organs of bending and broad.
Figure 11 applies the isochronous key diagram of rotating excitation field in the coordinate system that the central shaft of capsule medical apparatus is set at x ' direction.
Figure 12 is the key diagram of calculating of the direction of capsular direction when having carried out the direction input indication of direction of change capsule medical apparatus and rotating excitation field.
Figure 13 utilizes polar coordinate system to represent the key diagram of the new direction of capsule medical apparatus.
Figure 14 is the allocation plan of the internal structure of capsule medical apparatus.
Figure 15 is the allocation plan of configurations of magnets in the variation of rear end side in Figure 14.
Figure 16 is the allocation plan of configurations of magnets in the variation of observing reveal in Figure 14.
Figure 17 is the action specification figure when configuration shown in Figure 15 is applied oscillating magnetic field.
Figure 18 (A) and Figure 18 (B) are the key diagrams of the difference of the motion respectively near the configurations of magnets center of capsule medical apparatus main body and under near the situation the end, channeling conduct the time.
Figure 19 (A) and Figure 19 (B) are the capsule medical apparatus of expression the 2nd embodiment of the present invention and the figure of pager motor part.
Figure 20 is the cutaway view of the capsule medical apparatus of expression the 3rd embodiment of the present invention.
Figure 21 (A) is the structure chart of expression o device part.
Figure 21 (B) is illustrated in the figure that one-sided end is provided with the capsule type endoscope of flexible pipe.
Figure 22 is the summary structure chart that expression has the encapsulated medical device guiding system of the 4th embodiment of the present invention.
Figure 23 is a block diagram of representing structure shown in Figure 22 in further detail.
Figure 24 is the summary structure chart of the summary structure of expression magnetic field generation device.
Figure 25 is the side view of the outward appearance of expression capsule medical apparatus.
Figure 26 is the cutaway view of the internal structure of expression capsule medical apparatus.
Figure 27 is the side view of expression tank, and wherein the capsule with sample is inserted in the silicone tube, measures fltting speed to apply rotating excitation field.
Figure 28 is illustrated in the figure that the end is provided with the 1st sample of helical form projection.
Figure 29 (A) and Figure 29 (B) are the curve charts of the measurement result of expression fltting speed.
Figure 30 (A) and Figure 30 (B) are the key diagrams that is illustrated in the effect when advancing in the crooked pipeline.
Figure 31 is the side view of the capsule medical apparatus of expression the 5th embodiment.
Figure 32 is the side view of the capsule medical apparatus of expression the 1st variation.
Figure 33 is the side view of the capsule medical apparatus of expression the 2nd variation.
Figure 34 is the side view of the capsule medical apparatus of expression the 3rd variation.
Figure 35 is the summary side view of spacing of helical form projection of the capsule medical apparatus of expression the 4th variation.
Figure 36 (A) is the key diagram of the capsule medical apparatus of expression the 6th embodiment of the present invention.
Figure 36 (B) is the figure that obtain image of expression from capsule medical apparatus shown in Figure 36 (A).
Figure 37 is that the structure division with the capsule medical apparatus of variation cuts the side view of representing.
The specific embodiment
Below, with reference to the description of drawings embodiments of the present invention.
(the 1st embodiment)
Fig. 1~Figure 18 relates to the 1st embodiment of the present invention, Fig. 1 and Fig. 2 represent the overall structure of the encapsulated medical device guiding system of the 1st embodiment, Fig. 3 (A) and (B) expression capsule body side view and front view, Fig. 4 (A) and (B) the expression input device structure and show the pictorial display picture of operating corresponding information with this, the changing condition of the rotating excitation field when Fig. 5 represents to apply rotating excitation field etc., the Fig. 6 (A) and (B) situation of the couple that is subjected to of the capsule medical apparatus of expression when having applied oscillating magnetic field, Fig. 7 (A) and (B) when expression changes the frequency of rotating excitation field and oscillating magnetic field and intensity, the track that the front end of capsule medical apparatus is drawn, Fig. 8 (A) expression makes the frequency of rotating excitation field and the mutually isochronous track of frequency of oscillating magnetic field, when Fig. 8 (B) expression makes the frequency of oscillating magnetic field be 2 times of frequency of rotating excitation field, the track that the front end of capsule medical apparatus is drawn, when Fig. 8 (C) expression makes oscillating magnetic field be direct current, the track that the front end of capsule medical apparatus is drawn, Fig. 9 (A), (B) and 9 (C) expression use sample, the measurement result of the fltting speed when applying rotating excitation field and oscillating magnetic field etc., Figure 10 (A) to (D) is illustrated in the action specification figure when advancing in the tube chamber internal organs of crooked tube chamber internal organs and broad, Figure 11 is illustrated in the central shaft of capsule medical apparatus is set in the coordinate system of x ' direction and applies the isochronous key diagram of rotating excitation field, the key diagram of the capsule direction when Figure 12 has represented to carry out the direction input indication of direction of change capsule medical apparatus and the calculating of rotating excitation field direction, Figure 13 represents to utilize absolute coordinate system to represent the key diagram of the new direction of capsule medical apparatus, Figure 14 represents the allocation plan of the internal structure of capsule medical apparatus, Figure 15 is illustrated among Figure 14 the allocation plan of configurations of magnets in the variation of rear end side, Figure 16 is illustrated among Figure 14 the allocation plan of configurations of magnets in the variation of observing reveal, the key diagram of the action when Figure 17 represents that configuration shown in Figure 15 applied oscillating magnetic field, Figure 18 (A) and (B) be illustrated in respectively near the difference of configurations of magnets motion the during channeling conduct center of capsule medical apparatus main body and under near the situation the end.
As depicted in figs. 1 and 2, the encapsulated medical device guiding system 1 of the 1st embodiment of medical device induction system of the present invention has: capsule medical apparatus 3 (being designated hereinafter simply as capsule), its insertion (importing) is brought into play the effect of the capsule type endoscope that body cavity inside is taken in not shown patient's body cavity; Magnetic field generation device 4, it is configured in the promptly external of patient on every side, and described capsule 3 is applied rotating excitation field and couple generation usefulness magnetic field (or oscillating magnetic field); Magnetic field control device (or power control) 5, it makes this magnetic field generation device 4 produce rotating excitation field and the couple generation is controlled with the supply of the drive current of magnetic field (or oscillating magnetic field); Blood processor 6, it is made of personal computer etc., be configured in the external of patient, carry out radio communication with capsule 3, and carry out Flame Image Process, and the operation according to the operator comes controlling magnetic field control device 5, controls the rotating excitation field that is applied on the capsule 3 and couple and produces processing with the direction of magnetic field (or oscillating magnetic field) and size etc.; Display device 7, it is connected on this blood processor 6, the image that demonstration is taken by capsule 3 etc.; Operation inputting part 8, it is connected on the blood processor 6, by operators' such as operative doctor operation, the index signal that the indication input is corresponding with operation.
Shown in Fig. 4 (A), thisoperation inputting part 8 has: direction input device 8a, and it makes the input indication that is inserted intointravital capsule 3 propulsive directions;Speed input equipment 8b, it produces the index signal of the rotating excitation field of the speed corresponding with operation; Theintensity adjustments device 8c of rotating excitation field, its intensity to rotating excitation field is regulated operation; Theintensity adjustments device 8d in vibration (or the couple generation is used) magnetic field; Thefrequency regulation arrangement 8e in vibration (couple produces and uses) magnetic field; Vibration (or couple produce with) on/off switch (abbreviating vibroswitch as) 8f, it is arranged on for example top of the stick 9 that constitutes direction input device 8a, vibrates the On/Off that applies in (or couple produce use) magnetic field.In addition, (under nearly all situation) below is expressed as oscillating magnetic field to vibration (couple produce with) magnetic field.
As shown in Figure 3,capsule 3 forms general cylindrical shape shape or capsule shape, on also as the outer peripheral face ofouter packaging container 11 that is inserted into intravital insertion section, helically is provided with rotation is converted to helical form projection (or spire) 12 thrust (propulsive force), produce structural portion as thrust.
Thishelical form projection 12 forms the section structure that the roughly hemispherical grade of arc sections is set on the outer peripheral face ofpackaging container 11 outside, contacts intravital internal face smoothly.
And, by should be outer the airtight inside ofpackaging container 11, taking in byobject lens 13 be configured in the image unit that theimaging apparatus 14 on its image space constitutes.And, outside this inpackaging container 11, except taking in the needed illuminating illumination component 15 (with reference to Fig. 2) of making a video recording etc., also taking in and be used to make the propulsive more smoothly magnet of capsule 3 (permanent magnet) 16.
Shown in Fig. 3 (A), Fig. 3 (B), objectlens 13 are configured in the inboard of the hemispherical and transparent driveend bearing bracket 11a of for exampleouter packaging container 11, make that the central shaft C that can be called the insertion axle of its optical axis andcylindric capsule 3 is consistent, the middle body of driveend bearing bracket 11a becomesobservation window 17 shown in Fig. 3 (B).In addition, though not shown in Fig. 3 (A), Fig. 3 (B),illumination component 15 be configured inobject lens 13 around.
Therefore, under this situation, the visual field direction ofobject lens 13 becomes the optical axis direction ofobject lens 13, promptly along the direction of the central shaft C cylindraceous ofcapsule 3.
And, shown in Fig. 3 (A), Fig. 3 (B), be configured near the central authorities of the length direction in thecapsule 3magnet 16 be configured to the vertical direction of central shaft C on form the N utmost point and the S utmost point.Under this situation, the center ofmagnet 16 is configured to consistent with the position of centre of gravity of thiscapsule 3, applying under the situation in magnetic field from the outside, the center that acts on the magnetic force ofmagnet 16 becomes the position of centre of gravity ofcapsule 3, forms and swimminglycapsule 3 is carried out the propulsive structure of magnetic force easily.
In addition, shown in Fig. 3 (B), be configured to makemagnet 16 the direction of magnetization, be that the direction of dipole is consistent with the specific configuration direction ofimaging apparatus 14.
That is the last direction when, showing the image that photographs by imagingapparatus 14 is set to from the S utmost point ofmagnet 16 direction towards the N utmost point.
And, by utilizing 4 pairs ofcapsules 3 of magnetic field generation device to apply rotating excitation field, make the rotation ofmagnet 16 magnetic force, thecapsule 3 that has made in internal fixation thismagnet 16 is withmagnet 16 rotations, be arranged on thehelical form projection 12 contact cavity walls on the outer peripheral face ofcapsule 3 and rotate this moment, thereby can advancecapsule 3.
And, in the present embodiment, it is characterized in that, as the summary of its basic function (effect) of Fig. 6 (A) and Fig. 6 (B) expression (by connecting the operation of vibroswitch 8f), the oscillating magnetic field that can utilize 4 pairs ofcapsules 3 of magnetic field generation device to apply magnetic direction on the central shaft C ofcapsule 3 direction, to change (couple produces and use magnetic field) Hm, thus can act on the power (being couple) that shown in the arrow among Fig. 6 (A) and Fig. 6 (B), is parallel to central shaft C and opposite sign but equal magnitude like that to themagnet 16 that is built in thiscapsule 3.
Under this situation, couple is connecting on two polar lines ofmagnet 16, on two polar each positions, and C is parallel with central shaft, the equal and opposite in direction of power, and its direction is opposite each other, and act on and makecapsule 3 rotations.
In the present embodiment, be used to comemagnet 16 effect couples from outside magnetic field, but also can be as the middle explanations such as the 2nd embodiment of narration in the back, inclination (shaking) mechanism of the direction rocking vibration of the insertion axle thatcapsule 3 is formed make its length direction or inclination etc., or change the structure (also can be to produce or the suitable power of a side of effect and formation couple) of the mimic couple generation unit of position of centre of gravity.
And, in the present embodiment, utilizing the external magnetic field to control under the situation of thecapsule 3 that is built-in withmagnet 16, can learn which direction is the last direction of the image of taking bycapsule 3 be according to the direction of external magnetic field.
Incapsule 3, except that above-mentionedobject lens 13,imaging apparatus 14,illumination component 15,magnet 16, as shown in Figure 2, also taken in lower member:signal processing circuit 20, the signal of being taken byimaging apparatus 14 is carried out signal processing; Memorizer 21, the digital video signal that interim storage is generated bysignal processing circuit 20; Radio-circuit 22 is utilized high-frequency signal that the video signal of reading from memorizer 21 is modulated and is converted to the signal of wireless transmission, perhaps the control signal that sends fromblood processor 6 is carried out demodulation etc.; Tocapsule 3, the capsule control circuit of controlling assignal processing circuit 20grades 23; Use thebattery 24 of power supply to the electrical system supply work of 3 inside such assignal processing circuit 20 capsules such as grade.
And theblood processor 6 that carries out radio communication with thiscapsule 3 has: carry out the radio-circuit 25 of radio communication with described radio-circuit 22; Data processing circuit 26 is connected with radio-circuit 25, the view data that sends fromcapsule 3 is carried out the date processing of pictorial display etc. etc.; The control circuit 27 of control data treatment circuit 26 andpower control 5 etc.;Memory circuit 28, storage is by the set information of describedpower control 5 by the status information of the rotating excitation field of rotatingexcitation field generator 4 generations and direction input device 8a etc.
Connecting display device 7 on the data processing circuit 26, showing by imagingapparatus 14 shootings, through radio-circuit 22,25, pass through the image of data processing circuit 26 processing etc.And, because photographic images incapsule 3 rotations, so it is the processing of certain orientation that this data processing circuit 26 carries out the adjustment in direction of the image when being presented in the display device 7, and carry out Flame Image Process, so that can show the image (being recorded in Japanese patent application 2002-105493 number) that operative doctor is seen clearly easily.
From constituting direction input device 8a, thespeed input equipment 8b etc. ofinput device 8, to the described control circuit 27 inputs index signal corresponding with operation, control circuit 27 carries out the control action corresponding with index signal.
And described control circuit 27 is connected withmemory circuit 28, is storing the information of the direction in the direction of passing through the rotating excitation field that magneticfield control device 5 produces by magneticfield generation device 4 and magnetic field inmemory circuit 28 always.Then, under the situation of the operation that the direction in direction that makes rotating excitation field and magnetic field changes, the direction of rotating excitation field and the direction in magnetic field are changed continuously, and they are changed smoothly.In addition, also can be arranged on control circuit 27 inside tomemory circuit 28.
And the magneticfield control device 5 that is connected with described control circuit 27 has: alternating current produces and controlpart 31, is made of 3 the alternating currents generations and the control circuit that produce alternating current and control its frequency and phase place;Drive division 32 is made of 3 drivers of amplifying each alternating current respectively, and the output current of 3 drivers is provided for 3 electric magnet 33a, 33b, the 33c that constitutes magneticfield generation device 4 respectively.
Under this situation, electric magnet 33a, 33b, 33c are configured to produce orthogonal three axial magnetic fields.As the example of magneticfield generation device 4, can consider that 33a, 33b, 33c are respectively Helmholtz (helmholtz) coils, be that separately magnetic field produces orthogonal three Helmholtz coils of direction etc.
And, direction input device 8a by theinput device 8 shown in the operation pie graph 4 (A), produce the index signal of magnetic direction, perhaps by operationspeed input equipment 8b, produce the index signal of the rotating excitation field of the speed corresponding with operation, perhaps by operation vibration (on/off)switch 8f, generation is by (interchange or periodic) oscillating magnetic field of settings such as oscillating magnetic fieldintensity adjustments device 8d, thereby can be at themagnet 16 ofcapsule 3, generation makes the couple of the central shaft C ofcapsule 3 around the central point rotation of the central shaft C of the length direction ofcapsule 3 itself.Under this situation, make before central shaft C itself rotates fully, exchange or periodically apply oscillating magnetic field, socapsule 3 carries out banking motion or vibration so that the direction of oscillating magnetic field (working as couple) changes in the other direction.
In addition, in Fig. 4 (A), tilt to the anticipated orientation of wanting to advance, can produce the rotating excitation field thatcapsule 3 is moved to this direction by in direction input device 8a, making stick 9.
State when Fig. 5 represents for example to apply rotating excitation field bycapsule 3 is applied rotating excitation field, can makemagnets 16 rotations that are built in thecapsule 3,capsule 3 is advanced or retreats by this rotation.
And, as shown in Figure 5, apply rotating excitation field, the utmost point of this rotating excitation field is to changing on the plane in the vertical rotating excitation field of direction (being y ' in Fig. 5) with the central shaft C of the length direction ofcapsule 3, makecapsule 3 with incapsule 3, be fixed on the vertical direction of its length direction onmagnet 16 around the rotation of its length direction, corresponding to its direction of rotation, can advance or retreat by helical form projection shown in Figure 3 12 and body cavity walls engagement.
And, in the present embodiment, can apply the oscillating magnetic field (couple produces and uses magnetic field) of the following effect of performance tocapsule 3, that is, make the direction y ' of the central shaft C of the length direction ofmagnet 16 in Fig. 5 shake (vibration).And, when applying oscillating magnetic field, can make length direction be for example state shown in the dotted line (by its central axis direction of yz ' expression) from the change of state shown in the solid line (vibration).
Thus,capsule 3 is around the central shaft C of its length direction rotation, and the eccentric direction of this rotary middle spindle C that makes tilts.That is, can become the state of the action that torque diminishes, axle is shaken (following this action is called zigzag (zigzag) action) of spinning top under action of gravity.
Like this, makecapsule 3 with the roughly the same tube chamber of the diameter of thiscapsule 3 in when the length direction of this tube chamber is advanced or retreat, make the rotating excitation field ofcapsule 3 by applying around its length direction rotation, it is moved swimmingly.
Relative therewith, in the part (with reference to Figure 10 (A)) of tube chamber bending,capsule 3 contact sweeps merely under the situation that length direction rotate, are difficult on the direction of bending mobile swimmingly sometimes.
In this case, as described above, by applying oscillating magnetic field, to act on following power: this power is along the central shaft C of the length direction ofcapsule 3, around the center of this central shaft C, make central shaft C rotation, thereby makecapsule 3 carry out the zigzag action, the length direction when carrying out the zigzag action becomes under the state of bending direction of tube chamber, can makecapsule 3 on this direction, move (, will narrate in the back) swimmingly with reference to Figure 10 (A).
In addition, in order to be controlled to desired any direction to the direction of rotating excitation field from current direct of travel, grasp the state ofcapsule 3 or the state of rotating excitation field by pulling stick 9 always.In the present embodiment, the state of rotating excitation field (specifically referring to the direction of rotating excitation field and the direction in magnetic field) is stored in thememory circuit 28 always.
Specifically, the index signal of the operation in theoperation inputting part 8 among Fig. 2 is transfused to control circuit 27, control circuit 27 is exported the control signal that is used to produce the rotating excitation field corresponding with index signal to magneticfield control device 5, and the information of the direction in the direction of this rotating excitation field and magnetic field is stored in thememory circuit 28.
Therefore, inmemory circuit 28, storing the information of the direction of rotating excitation field that produces by rotatingexcitation field generator 4 and the periodically variable magnetic field that forms this rotating excitation field always.
In addition,memory circuit 28 is not limited to store and the corresponding information of control signal from the direction in the direction of the rotating excitation field of control circuit 27 and magnetic field, also can be utilizing the control signal of exporting to magneticfield control device 5 from control circuit 27, produce and controlpart 31 and drivedivision 32 and the actual information of exporting to the direction in direction rotatingexcitation field generator 4, that be used for definite rotating excitation field and magnetic field through the alternating current of magneticfield control device 5, send to control circuit 27 from magneticfield control device 5 sides, and be stored in thememory circuit 28.
And, in the present embodiment, when beginning to apply rotating excitation field and when stopping to apply and the direction of change rotating excitation field (in other words, capsular direct of travel towards) etc. the time, be controlled to rotating excitation field is changed continuously, make capable acting on reposefully on thecapsule 3, and do not have rapid masterpiece to be used on thecapsule 3.
And, in the present embodiment, because the rotation ofcapsule 3, and the image of being taken byimaging apparatus 14 is also rotated, so when directly being presented in the display device 7 it, shown image also becomes postrotational image, and the operability that the indication towards anticipated orientation ofdirection input device 8b is operated reduces, so the rotation of display image is stopped.
Therefore, in the present embodiment, as Japanese Patent Application 2002-105493 number explanation, utilize data processing circuit 26 and control circuit 27 to carry out image rotating is proofreaied and correct the treatment of picture that stops for rotation.
In addition, also can be based on the directional information in magnetic field, make the image rotation, the rotation of eliminatingcapsule 3 shows (and, also can carry out the relevant treatment of image etc., show the rest image of predetermined direction).
And, shown in Fig. 4 (B), in the display frame 7a of display device 7, for example in circular viewing area 7b, show the rest image of taking by imagingapparatus 14, and utilize arrow 7c to represent the direction of operating of stick 9, utilize the size of arrow 7c to represent operational ton.And, utilize the Show Color of arrow 7c to represent forward/backward.
And, display frame 7a for example below show the frequency of rotating excitation field among the rotating excitation field frequency viewing area 7d in bight.
At first, the rotating excitation field of feature of the present embodiment that becomes this structure and the representativeness effect of oscillating magnetic field are described.
Fig. 6 (A) and Fig. 6 (B) expression have applied the state of oscillating magnetic field Hm.In Fig. 6 (A), by oscillating magnetic field Hm, the position that couple is represented according to arrow works like that, and this couple is rotated themagnet 16 that is fixed incapsule 3 inside in the counterclockwise direction.This force couple role is in the direction parallel with the central shaft C ofcapsule 3.
Like this, by oscillating magnetic field Hm,capsule 3 is subjected to being used to making the power (couple) of the direction rotation that state that thiscapsule 3 represents from solid line represents to double dot dash line.
And, by produce with Fig. 6 (A) be reciprocal oscillating magnetic field Hm, shown in Fig. 6 (B), the couple that effect is rotated themagnet 16 that is fixed incapsule 3 inside in the clockwise direction, the direction that the state thatcapsule 3 is represented from solid line is represented to double dot dash line is rotated.
And, Fig. 7 (A) expression is made as fr<fm to the relation of the frequency f m of the frequency f r of rotating excitation field Hr and oscillating magnetic field Hm, (capsule front end center) the track Tr when the front end face side of thecapsule 3 under the state that has applied rotating excitation field Hr and oscillating magnetic field Hm is observed.
And Fig. 7 (B) is illustrated in the track Tr of thecapsule 3 under 1/2 the state of intensity that the intensity that makes oscillating magnetic field Hm among Fig. 7 (A) is rotating excitation field Hr, and with respect to the situation of Fig. 7 (A), the angle of waving from center of rotation is 1/2 of Fig. 7 (A).
And the frequency f m that Fig. 8 (A) is illustrated in the frequency f r that makes rotating excitation field Hr among Fig. 7 (A) and oscillating magnetic field Hm equates, i.e. the track Tr of thecapsule 3 under the state of fr=fm.
Under this condition, become the operating state (track Tr) that waves to a side (in Fig. 8 (A), being the left side) off-centre.
Therefore, wanting to press under the condition of enlarged effective to a thruster.
And Fig. 8 (B) is illustrated in the frequency f r that makes rotating excitation field Hr among Fig. 7 (A) and produces with 1/2 of the frequency f m of magnetic field H m, even the track Tr of thecapsule 3 under the state of fr=fm/2 for vibration.
In addition, more than narrated the situation that makes oscillating magnetic field Hm cyclical movement, but also can provide oscillating magnetic field Hm as the magnetic field (fm=0, Hm ≠ 0) of not change, under this situation, the track Tr ofcapsule 3 is shown in Fig. 8 (C), with the cycle rotation identical with the frequency f r of rotating excitation field Hr.
And, in the present embodiment, shown in Fig. 9 (A), incontainer 31, be full ofwater 32, insilicone tube 33,insert capsule 3 at its bottom side, the state of settingcapsule 3 is inserted in the endoceliac pipeline carries out mimic state.
And, thiscontainer 31 is configured in the rotatingexcitation field generator 4 shown in Figure 1, utilize this rotatingexcitation field generator 4 to apply to make to the right side of the length direction (in Fig. 9 (A), being left and right directions) ofsilicone tube 33 and advance (advancing) and the rotating excitation field of advance to the left (retreating), and the frequency that changes oscillating magnetic field applies oscillating magnetic field, measures the time that has spent whencapsule 3 has moved 2cm and calculates its translational speed.
Under this situation, the frequency of rotating excitation field is 1Hz, and its magnetic field intensity is 100Oe, and the intensity of oscillating magnetic field is 50Oe, and water level is 20cm, and the angulation of thehelical form projection 12 ofcapsule 3 is 45 ° and forms two projections, adopts above condition to simulate.And, in the present embodiment, under the state that makes silicone tube 43 bottom right inclination a little (promptly the left side is high), simulate.That is, the right side is advance (decline), and the left side is for retreating (rising).
Its measurement result under situation about retreating shown in Fig. 9 (B), under progressive situation shown in Fig. 9 (C).According to the result of Fig. 9 (B) and Fig. 9 (C), under the situation of the frequency that makes oscillating magnetic field greater than the frequency of rotating excitation field, particularly retreat on the direction of rising under the situation about moving very effective.
And, under the condition of present embodiment,, think that about 2~10Hz compares active data to fltting speed as the frequency of oscillating magnetic field.And, think that frequency with respect to rotating excitation field is that about 2~10 times frequency of vibration is to fltting speed active data relatively.
Below, the mass action of present embodiment is described.
When utilizingcapsule 3 to check that body cavity is inner, the patient swallows this capsule 3.When being inserted intoendoceliac capsule 3, utilizeillumination component 15 illuminations, the image of being taken byimaging apparatus 14 is passed through radio-circuit 22 be wirelessly sent toexternal blood processor 6 by esophagus etc.
Blood processor 6 utilizes radio-circuit 25 to receive, in (hard disk etc.) image storage apparatus in being arranged at data processing circuit 26 inside etc. of the image data storage after the demodulation, and show the processing of usefulness, and export to display device 7, show the image of taking successively bycapsule 3.
Operative doctor can infer that according to the image that is presented in the display device 7capsule 3 is currently located at endoceliac Position Approximate.For example, be in the state of taking esophagus and be under the situation of for example darker side such as small intestinal as the position of checking object being judged as, makecapsule 3 advance relatively good more apace in the position halfway, (normal direction towards) becomes along the downside of patient's height under this situation, to carry out initial setting so that the direction of the rotating excitation field that is produced by magnetic field generation device 4.In addition, suppose under this situation to be located at the visual field direction that thehelical form projection 12 on thecapsule 3 makes a video recording withimaging apparatus 14 be the front side, form for example right-hand thread shape.
In order to produce rotating excitation field, for example under the situation of initial manipulation direction input device 8a etc., owing inmemory circuit 28, there not be to store the corresponding information of state with before this rotating excitation field, so control circuit 27 starting initialization circuits 29, the setting picture that shows initial setting on display device 7 grades makes operative doctor can select to be set in the direction of the rotating excitation field that produces under the initial setting.And operative doctor becomes along the indication operation of the downside of patient's height the direction of initial generation rotating excitation field, thereby the initial generation information of rotating excitation field is stored in thememory circuit 28.
And, also can utilize initialization circuit 29 to preestablish the size (amplitude) of rotating excitation field, set for and do not produce the above rotating excitation field of this value.The set information of setting by this initialization circuit 29 is stored in thememory circuit 28.
And, stick 9 by pulling theinput device 8 shown in Fig. 4 (A) and the operation ofaction bars 8b, control circuit 27 is read and is stored in the information in thememory circuit 28 and controls, and becomes the direction of rotating excitation field along the downside of patient's height to produce rotating excitation field, to make.That is,, produce described rotating excitation field by rotatingexcitation field generator 4 by magneticfield control device 5 according to the information of reading frommemory circuit 28.
Like this, by from the external rotating excitation field that applies, effect magnetic moment of torsion on the built-inmagnet 16 in being inserted intoendoceliac capsule 3, makecapsule 3 rotations, at this moment, under the state that makes the endoceliac inwall ofhelical form projection 12 contacts on the outer peripheral face that is arranged atcapsule 3, make screw thread rotation, thereby can advance fast.
And, inmemory circuit 28, storing state (direction of rotating excitation field and the direction in the magnetic field) information of rotating excitation field always, also storing in the status information that stops to apply the rotating excitation field under the state of rotating excitation field.
And, when applying the operation of rotating excitation field once more,, produce rotating excitation field identical when stopping the rotation magnetic field according to the information that is stored in thememory circuit 28 next time.
Like this,capsule 3 is advanced along endoceliac pipeline, but for example shown in Figure 10 (A), in narrower andsmall tube chamber 41, under the situation that has narrower and small and crooked bending section 42, merely rely on rotating excitation field, can not effectively advance along bending section 42 sometimes.
In this case, shown in Fig. 7 (A) etc., apply oscillating magnetic field, oncapsule 3, act on couple again, can makecapsule 3 carry out the zigzag action of Rolling around the axle of its length direction thus with rotating excitation field.
Wave effect by this, shown in the dotted line among Figure 10 (A), can push the tube chamber part that enlarges bending section 42, and towards the state of the bending direction of bending section 42 time, advance to this direction.
And Figure 10 (B) is illustrated in the effect when effectively advancing in the wide tube chamber of the external diameter ofcapsule 3 41.
Shown in Figure 10 (B), in the time will in thetube chamber 41 wideer, advancingcapsule 3 than the external diameter ofcapsule 3, iff applying rotating excitation field tocapsule 3 merely, then shown in Figure 10 (C) or Figure 10 (D), the outer peripheral face of capsule 3 (being located at thehelical form projection 12 on this outer peripheral face) is less with the mate (occlusion portion) oftube chamber 41 inner faces, so idle running easily, gait of march is slack-off easily.
In addition, the state the when arrow A of Figure 10 (D) expression from Figure 10 (C) observed, under the situation of merely rotation, its posture change is little, because idle running reduces the performance of advancing.
In this case, shown in Fig. 7 (A) etc., by applying oscillating magnetic field with rotating excitation field, shown in Figure 10 (B), makecapsule 3 carry out oscillating motion, it is big that the actual effect external diameter of thecapsule 3 under the rocking action state becomes, and its direct of travel is also periodically changed, even under the situation of thetube chamber 41 of broad, also can enlarge the mate with its inwall, can advance effectively.
And, shown in Figure 10 (B), by carrying out rocking action (zigzag action), can advancecapsule 3 effectively on the internaldiameter tube chamber 41 partially stabilized ground bigger than the external diameter ofcapsule 3, and by the zigzag action, can enlarge image pickup scope in fact, taketube chamber 41 inwalls in a wider context.
In addition, as mentioned above in the present embodiment, shown in Fig. 4 (B), utilize arrow 7c to represent direction of operating of stick 9 etc., the indication that can in captured image,capsule 3 be advanced on which direction.And corresponding to this direction indication, magneticfield generation device 4 produces the rotating excitation field thatcapsule 3 is advanced on this direction.
Control circuit 27 calculates the processing of the generation direction of rotating excitation field at this moment, by magneticfield control circuit 5, and the rotating excitation field that rotatingexcitation field generator 4 produces corresponding to direction indication.
Below, the generation action of the rotating excitation field that describes this moment in detail.
Utilize Hr (t), Hm expressions such as (t) the rotating excitation field intensity that depends on the time t of input shown below, oscillating magnetic field intensity etc. herein.
Rotating excitation field intensity: Hr (t) → utilize 8c to set
Oscillating magnetic field intensity: Hm (t) → utilize 8d to set
The frequency of rotating excitation field: fr (t) → utilize 8b to set
The frequency of oscillating magnetic field: fm (t) → utilize 8e to set
Sampling period: Ts → system's switching field intensity or read in the interval of the input quantity of stick etc.
Current rotatable phase: β (t)
Current couple phase place: α (t)
The parameter that is used for the variable quantity of definite direction: C
Vy ' is (t): the input quantity of the y ' direction of the stick 8a during time t
Vz ' is (t): the input quantity of the z ' direction of the stick 8a during time t
Figure 11 represents the central axis direction ofcapsule 3 is set at the coordinate system (x ', y ', z ') of x '.In this coordinate system (x ', y ', z ') because the central axis direction ofcapsule 3 is set at x ', so thatcapsule 3 is advanced along this central shaft x ' direction, and the magnetic field under the state that applies oscillating magnetic field on central shaft x ' direction is expressed as follows.
Hx′(t+Ts)=Hm(t)cos(α(t)+2πTsfm(t))
Hy′(t+Ts)=Hr(t)cos(β(t)+2πTsfr(t))
Hz′(t+Ts)=Hr(t)sin(β(t)+2πTsfr(t))
Hy ', Hz ' are rotating excitation fields, and Hx ' is equivalent to oscillating magnetic field.
Herein, the current phase place in the trigonometric function is expressed as follows, and adopts below.
α(t+Ts)=α(t)+2πTsfm(t)
β(t+Ts)=β(t)+2πTsfr(t)
Figure 12 is the key diagram of new direction calculating ofcapsule 3 of having imported direction when indication ofcapsule 3.
Under state shown in Figure 12, suppose as shown by arrows, indicated the capsule direction indication (becoming the angle direction of angle γ with y ' axle) that changes its direct of travel at (central axis direction is x's ')capsule 3.
Under this situation, make coordinate system become the direction of rotating excitation field around direction with the postrotational new x ' axle of the vertical rotary middle spindle p of capsule direction indication.
This rotation is calculated and can be realized by the following stated.
(1) with x ' axle be the center-rotation (arrow among Figure 12 (1)) of γ
(2) with z ' axle be the rotation (arrow among Figure 12 (2)) of the δ at center
(3) with x ' axle be the rotation (arrow among Figure 12 (3)) of the γ at center
Wherein, the input quantity Vy ' that δ represents stick 9 (t), Vz ' (t),
V(t)=((Vy′(t)2+(Vz′(t)2)1/2
δ(t)=C×V(t)
γ=sin-1(Vz′(t)/V(t))
Thus, around the transformation matrix that rotary middle spindle p carries out δ (t) rotation, use and operation (1), (2), (3) corresponding spin matrix Rγx', Rδ (t)z', Rx', become
Rδ(t)p=Rγx′Rδ(t)z′Rx′。
Wherein, utilize the spin matrix offormula 1 expression around each rotation.
Formula 1
Rγ(t)x′=1000cosγ-sinγ0sinγcosγ
Rδ(t)z′=cosδ(t)-sinδ(t)0sinδ(t)cosδ(t)0001
R-γ(t)x′=1000cisγsinγ0-sinγcosγ
Thus, by using these spin matrixs, the magnetic field that newly applies becomes the magnetic field that utilizes followingformula 2 represented.
Formula 2
Hx′(t+Ts)Hy′(t+Ts)Hz′(t+Ts)=Rγ(t)x′Rδ(t)z′R-γ(t)x′Hx′(t+Ts|v(t)=0Hy′(t+Ts|v(t)=0Hz′(t+Ts|v(t)=0
Wherein, Hx ' is (t+Ts) |V (t)=0, Hy ' (t+Ts) |V (t)=0, Hz ' (t+Ts) |V (t)=0Be respectively x ', the y ' at V (t)=0 o'clock t+Ts place, the magnetic field of z ' direction.
On the other hand, the magnetic field that is produced by three Helmholtz coils becomes (Hx (t) Hy (t) Hz (t)) when moment t.
And, when using the direction of ψ (t), θ (t)expression capsule 3, become as shown in Figure 13.When the magnetic field side also when x ', y ', z ' are transformed to this x, y, z coordinate system, when moment t+Ts, becomeformula 3.
Formula 3
Wherein, in the formula 3
Figure G200480021888101D00204
Rθ (t)yExpression with around the angle ψ of the z of Figure 13 axle (t), around the corresponding spin matrix of rotary manipulation of the angle θ of y axle (t).
Calculate by repeating these, can calculate the magnetic field that produces from the outside.
Generally, the magnetic field of coil generation can be expressed as:
H=I·N
H: magnetic field, N: coefficient, I: electric current
So the control electric current I, promptly I=H/N gets final product.
When the coefficient N of three Helmholtz coils was made as Nx, Ny, Nz respectively, electric current I x (t), the Iy (t), the Iz (t) that flow through coil can utilizeformula 4 expressions.
Formula 4
Ix(t)Iy(t)Iz(t)=Hx(t)/NxNy(t)/NyHz(t)/Nz
About capsular directional information,
(1) under situation,, uses θ (t), ψ (t) according to the testing result of position detection unit with locality detecting unit.Locality detecting unit (pick off) as this moment can use the AURORA of NDI corporate system etc.
(2) when not having position probing, input θ (0), ψ (0) (initial value) carry out.
When asking the direction X (t) ofcapsule 3 after this, Y (t), Z (t), the direction that wushu 5 is defined ascapsule 3 gets final product.
Formula 5
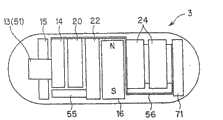
And capsule shown in Figure 3 (medical treatment device 3) disposesmagnet 16 at the central part that becomes this medical treatment device main body.Figure 14 represents the internal configuration diagram ofcapsule 3.
Disposingobject lens 13,illumination component 15, theimaging apparatus 14 that is installed on (on the object lens frame 51) in the observation window end.In addition, dispose signal processing circuit 20 (being built-in with memorizer 21 herein), radio-circuit 22, disposemagnet 16 in its back.Disposebattery 24 and on-off circuit 71 at opposition side across the observation reveal of magnet 16.Utilization is connected up to each unit as theflexible substrate 56 of routing cell, the capsulemedical apparatus 3 of the action that the formation realization illustrates previously.By such configuration, can be configured inmagnet 16 on the core of capsulemedical apparatus 3 main bodys.And in this configuration, the position ofmagnet 16 is near the position of centre of gravity of capsulemedical apparatus 3.
Thus, rotary driving force by applying capsulemedical apparatus 3 main bodys that magnetic field produces from the outside etc. produces near the center of gravity of capsulemedical apparatus 3 main bodys.
Therefore, can carry out stable control to capsulemedical apparatus 3.
But under following situation, sometimes,configuration magnet 16 more can not improve controlled near the center of capsule medical apparatus.
Figure 15 is the configuration that changesmagnet 16,battery 24, on-off circuit 71 with respect to Figure 14,magnet 16 is configured in the opposition side of observing reveal the end variation capsule 3 '.
In this structure, more favourable when the inner guiding of tube chamber of broads such as large intestine.
Under the situation of carrying out the action shown in Figure 18 (B), when as Fig. 3 or shown in Figure 14, whenmagnet 16 being configured near the center ofcapsule 3, when applying oscillating magnetic field, the main body ofcapsule 3 is pressed vibration shown in Fig. 6 (A), Fig. 6 (B).
Relative therewith, by under the situation ofconfiguration magnet 16 shown in Figure 15, when applying oscillating magnetic field, vibrate by shown in Figure 17, make the amplitude of observation window side end of capsule body become big.Owing to can move like this, so even in bigger tube chamber, also can guarantee (increase) lumen wall and capsule 3 ' mate.
Therefore, can guidecapsule 3 even have in bigger tube chamber also ' effect.
And, in Figure 16, makemagnet 16 form hollow structure, and inserted logical being fixed on the object lens frame 51.By forming this structure, can be configured incapsule 3 tomagnet 16 " the end of observation reveal near.
Compare thecapsule 3 that guiding (changing the action of direction) Figure 16 is described withcapsule 3 among Fig. 3, Figure 14 " time the difference of motion.
Shown in Figure 18 (A), in thecapsule 3 of Fig. 3 or Figure 14, (position of magnet 16) is the action that the center changes direction near the center with this capsule 3.Under the rapid crooked situation of the route of tube chamber, there is the situation that is difficult to guarantee radius of turn, guided bone reduction sometimes under this situation along tube chamber.
Relative therewith, at thecapsule 3 of Figure 16 " in carry out following action.
That is shown in Figure 18 (B), be that the center changes direction near the observation window ofcapsule 3 " withcapsule 3 ",, so guarantee radius of turn easily.
Therefore, have and can improvecapsule 3 " the effect of guided bone.
Present embodiment according to above explanation, even tube chamber thatcapsule 3 grades will be passed through greater than the situation of the external diameter ofcapsule 3 grades under or narrow, or under the crooked situation, can both make smooth and easy passing through such ascapsule 3, can be directed to the target site side tocapsule 3 grades at short notice.
And, compare with example in the past, can make fast moving in tube chamber such ascapsule 3 grades, so can be directed to the target site side tocapsule 3 grades at short notice.
(the 2nd embodiment)
Below, with reference to Figure 19 the 2nd embodiment of the present invention is described.Figure 19 represents thecapsule 3B of the 2nd embodiment of the present invention.The internal structure of Figure 19 (A)expression capsule 3B, Figure 19 (B) represents from the observed pager motor of rear end side (pager motor) 57 parts.
In the 1st embodiment,interior magnet 16 incapsule 3, by apply the oscillating magnetic field with the vertical direction of rotating excitation field with rotating excitation field from the outside, the effect couple is so thatcapsule 3 makes the central shaft C ofcapsule 3 tilt passively, but in the present embodiment, tocapsule 3B effect tilting force or vibration force so that it makes the central shaft C ofcapsule 3B tilt on one's own initiative.
Capsule 3B shown in Figure 19 is identical with thecapsule 3 of Fig. 3 (A), andhelical form projection 12 is set on the outer peripheral face ofpackaging container 11 outside capsule shape.And the front ofouter packaging container 11 is provided with theobservation window 17 that is formed by transparent component.
Having disposed the cylindricobject lens frame 51 that objectlens 13 are installed with theseobservation window 17 opposed inside, on the image space ofobject lens 13, dispose theimaging apparatus substrate 52 thatimaging apparatus 14 has been installed, aroundobject lens frame 51, disposedillumination component 15.
Thesubstrate 54 of communicating by letter that is adjacent to dispose thecontrol substrate 53 that carries out signal processing and control withimaging apparatus substrate 52 and has the function of radio-circuit 22 etc. is connectingantenna 55 on communication substrate 54.Andillumination component 15,imaging apparatus substrate 52 etc. is electrically connected byflexible substrate 56.
And, on the central shaft C of the length direction of thiscapsule 3B,configuration magnet 16 on the heart position therein, make with the vertical direction of this central shaft C be its length direction, and utilize not shown bonding agent etc. to fix.
And, be adjacent to taking inbattery 24 with thismagnet 16, and be connected withflexible substrate 56 by not shown switch.In addition, near the incorporating section the rearward end of thecapsule 3B adjacent, taking in and be used to make thiscapsule 3B from the direction off-centre of central shaft C or thepager motor 57 of rocking vibration with thisbattery 24, and byflexible substrate 56 withcontrol substrate 53 etc. and be connected.
Thispager motor 57 for example is made of with thehammer portion 59 that is arranged on thissupersonic motor 58supersonic motor 58.
Shown in Figure 19 (B), thehammer portion 59 that is roughly circular cone or fan shape is installed on the rotating shaft 58a ofsupersonic motor 58,hammer portion 59 rotates along with the rotation of the rotor-side ofsupersonic motor 58, form the position of centre of gravity change mechanism that position of centre of gravity changes according to the position of thishammer portion 59,capsule 3B carries out oscillating motion (vibration) along with the rotation ofhammer portion 59 thus.
And,capsule 3B with in the 1st embodiment, illustrate identical, have the communication unit that communicates withexternal blood processor 6.
In the 1st embodiment, when the operation of the vibroswitch 8f that has carried out makingoperation input equipment 8, control circuit 27 controllingmagnetic field generators 4 in theblood processor 6 and produce oscillating magnetic field, but in the present embodiment, control circuit 27 sends tocapsule 3B side to its index signal by radio-circuit 25.
And whencapsule 3B had received this index signal and understood this order, capsule control circuit 23 (with reference to Fig. 2, beingcontrol substrate 53 in Figure 19) madepager motor 57 actions.And when disconnecting the operation of vibroswitch 8f,capsule 3B stops the action of pager motor 57.In addition, about rotating excitation field, carry out the effect identical with the 1st embodiment.
The action of the present embodiment that constitutes like this is described.
Operation when in the present embodiment, makingcapsule 3B rotation is identical with the 1st embodiment.And, in the time of for example need in the tube chamber internal organs of bending, advancing more swimmingly, press thevibroswitch 8f that is arranged on as shown in Figure 2 on the input device 8.Like this, the information of vibration unlatching passes to radio-circuit 25 by control circuit 27.
The information that vibration is opened is delivered tocapsule 3B by radio communication.Thecapsule control circuit 23 ofcapsule 3B receives this signal, starts the rotation ofpager motor 57.
Thus,capsule 3B produces central shaft C inclination that makescapsule 3B or the power (simulation couple) of shaking, the action that can makecapsule 3B vibrate or wave on one's own initiative by mimic couple (that is, with a side's who forms couple the suitable power of power).Apply rotating excitation field and obtain the method for propulsive force identical with the 1st embodiment.
In addition, if set the signal of rotating speed ofindication pager motor 57, then can change the frequency of vibration by radio communication.
According to present embodiment, even do not apply oscillating magnetic field from the outside, the also action that can makecapsule 3B vibrate or wave by shirtsleeve operation.
And, evencapsule 3B is not being applied under the state of rotating excitation field, also can utilize the helical form projection 43B that is arranged on thecapsule 3B, by the vermicular movement of intravital tube chamber internal organs andcapsule 3B is being rotated advance, even therefore under the situation of the minisystem structure of not using the magneticfield generation device 4 that produces rotating excitation field, also can makecapsule 3B vibration according to present embodiment, can makecapsule 3B pass through crooked position etc. swimmingly.
(the 3rd embodiment)
Below, with reference to Figure 20~Figure 21 (B) the 3rd embodiment of the present invention is described.Figure 20 represents the capsule 3C of the 3rd embodiment of the present invention, Figure 21 (A) expression o device part, and Figure 21 (B) is illustrated in the capsule type endoscope that one-sided end is provided with flexible pipe.
Capsule 3C shown in Figure 20 is built-in with the o device 64 that hammer portion 66 electromagnetic grounds are moved, and replacespager motor 57 among thecapsule 3B of Figure 19 (A) with this.
As shown in figure 20, taken in o device 64 near the rearward end of the capsule 3C adjacent incorporating section withbattery 24, its agitator 63 by magnetic shield framework 62 and driving o 61 constitutes, magnetic shield framework 62 be built-in with can make this capsule 3C with the vertical direction of the direction of central shaft C on magnetized o 61 etc., and cover this o 61 and make and be not subjected to influences from the magnetic field of outside.
And, with illustrated in fig. 19 identical, when the vibration On/Off signal that produces when the operation of the vibroswitch 8f of theinput device 8 by the outside is sent to capsule 3C, thecapsule control circuit 23 ofcontrol substrate 53 receives this signal, to send to agitator 63 after the demodulation of On/Off signal, make agitator 63 vibrations.This agitator 63 produces the electric current that is used to drive o 61 of the frequency range from direct current to tens of approximately Hz.
In addition, the drive condition of the frequency of oscillation of agitator 63 can set in advance, and also can constitute all right input frequency signal except the On/Off signal, can control from the outside.
When the output signal of above-mentioned agitator 63 as driving signal during to o 61 energisings, o 61 magnetization (generation magnetic field).
And, the direction of magnetization according to o 61, can make the hammer portion 66 that for example constitutes that parts 65 keep movably that is directed to by magnet, the elastic force of the spring 67 that opposing applies to the end (in Figure 20 and Figure 21 (A) for top) of guiding parts 65, guiding parts 65 axially on move back and forth.Follow moving back and forth of this hammer portion 66, capsule 3C guiding parts 65 axially on vibration.
Figure 21 (A) amplifies the structure more specifically of expressing o device 64 parts.O 61 and be connected fixing respectively by biasing member 68a, 68b with the guiding parts 65 of these o 61 configured in parallel.
Hammer portion 66 is installed on guiding parts 65, make its can this guiding parts 65 axially on move freely, this hammer portion 66 is provided with the hole by guiding parts 65, and the coiled type spring 67 that utilizes the lower side that is configured in hammer portion 66 is upward to hammer portion 66 application of forces.
In addition, be provided with block 69, utilize these block 69 restriction hammer portions 66 to move again downwards from assigned position in biasing member 68b side.
And in the present embodiment, biasing member 68a is formed by nonmagnetic material, and biasing member 68b is formed by magnetic.In addition, o 61 is controlled by the capsule control circuit in the capsule 3C.
And the action control of o 61 can be undertaken by the input device 9 ofexternal blood processor 6.
Identical with the situation of Figure 19, pass to capsule 3C from the signal based on operation input ofinput device 8 by radio-circuit 25, and pass to capsule control circuit 23.According to this signal,capsule control circuit 23 control os 61.
When utilizing interchange to drive signal to o 61 energisings, its direction of magnetization changes, thereby the hammer portion 66 that is formed by magnet is moved back and forth on above-below direction.
Therefore, the centre-of gravity shift of capsule 3C, effect makes the power of capsule 3C around the axle rotation (or banking motion) of length direction.
Thus, under the situations such as propelling difficulty of capsule 3C, can improve trafficability characteristic.
In addition, also can replace utilizing the output of agitator 63 to drive o 61 with exchanging, and the on/off of switching on repeatedly.Under this situation, can form by magnet, also can form by magnetic as hammer portion 66.That is, carry out when connecting, moving, being moved upward by the elastic force of spring 67 when disconnecting the action of (resetting) repeatedly downwards.
That is, drive identically, can produce the power thatcapsule 3 is periodically waved with the output that utilizes agitator 63.The effect of this moment and the situation ofpager motor 57 are roughly the same.
And, form the structure of utilizing o 61 that hammer portion 66 is moved in the present embodiment, for example, also can form and ultrasonic linear motor is configured to vertical, the drive division of ultrasonic linear motor is applied attached heavy structure with the insertion direction of principal axis of capsule medical apparatus.
And, in embodiment, narrate whole are capsule endoscopes, but in arbitrary embodiment, all be not limited to capsule endoscope, for example shown in Figure 21 (B), the one-sided end that is formed on capsule endoscope is provided with rotational slide portion, and the structure of the guider of catheter-like is set, also can obtain same effect.In addition, the inside that also can be formed on endoscope is provided with the structure that the arbitrary vibration unit shown in above-mentioned makes the endoscope distal end vibration.
(the 4th embodiment)
Figure 22~Figure 30 relates to the 4th embodiment of the present invention, Figure 22 is the overall structure figure of summary structure that expression has the capsule medical instrument guidance system of the 4th embodiment of the present invention, Figure 23 is a block diagram of representing the structure of Figure 22 in further detail, Figure 24 is the summary construction diagram of the summary structure of expression magnetic field generation device, Figure 25 is the side view of the outward appearance of expression capsule medical apparatus, Figure 26 is the cutaway view of the internal structure of expression Figure 25 shown device, Figure 27 is the side view of expression tank, wherein the capsule with sample is inserted in the silicone tube, measure fltting speed to apply rotating excitation field, Figure 28 is that the expression end is provided with the figure of the measurement of helical form projection with sample, Figure 29 is the figure of the measurement result of expression fltting speed, and Figure 30 is the key diagram that is illustrated in the effect when advancing in the crooked pipeline.
As Figure 22, Figure 23 and shown in Figure 24, encapsulated medical device guiding system (the following capsule guiding system that slightly is called) 101 has: the capsule medical apparatus of capsule shape (being designated hereinafter simply as capsule) 103, be inserted in (shown in Figure 1) patient 102 the body cavity, be used to check body cavity inside; Capsule control device (being designated hereinafter simply as control device) 104 is made of personal computer etc., is configured in this patient's 102 outside, carries out the electric wave transmitting-receiving withcapsule 103, controls the action of thiscapsule 103, or receives the information that sends fromcapsule 103; Magnetic field generation device (schematically illustrated in Figure 22) 105 is controlled the direction of the rotating excitation field that imposes oncapsule 103 etc., is wantingguide capsule 103 on the propulsive direction; Acpower supply apparatus 106, supply are used to make this magneticfield generation device 105 to produce the alternating current power supply in the magnetic field (being electromagnetic field more in a broad aspect) of rotation.
As shown in figure 23, magneticfield generation device 105 is for example formed by 3electric magnet 105a, 105b, 105c, and the alternating current power supply by control is supplied with from acpower supply apparatus 106 can produce rotating excitation field on three direction of principal axis.In addition, in Figure 24, utilize (the hollow cube shape) three Helmholtz coils that on three direction of principal axis, form that magneticfield generation device 105 schematically is shown.
As shown in figure 23, configuration produces the magneticfield generation device 105 of rotating excitation field around patient 102, fromcontrol device 104 sides acpower supply apparatus 106 is controlled, for being configured incapsule 103 inside in the body cavity pipeline that is inserted into patient 102, magnetic field being produced response and (as magnetic responsiveness portion)magnet 108 of active force, apply rotating excitation field making on thecapsule 103 propulsive directions, thus can be swimmingly and advance (guiding)capsule 103 effectively.
Control the direction of the rotating excitation field that this magneticfield generation device 105 produces by being operationally connected to input device 9 on thecontrol device 4.
As shown in figure 22,control device 104 has: personal computermain body 111 has the function ofcontrol capsule 103 and magnetic field generation device 105 (alternating current power supply 107);Keyboard 112 is connected on this personal computermain body 111, carries out the input of order, data etc.;Monitor 113 is connected on the personal computermain body 111, as the display unit of display image etc.;External antenna 114 is connected on the personal computermain body 111, sends the control signal and the signal that receives fromcapsule 103 that are used to controlcapsule 103;Input device 109 is connected on the personal computermain body 111, and direction of rotating excitation field etc. is carried out input operation.
Describedcontrol device 104 as shown in figure 23, be built-in withCPU 115,CPU 115 is according to from the input ofkeyboard 112 andinput device 109 or be stored in hard disk 116 (with reference to Figure 23) in the personal computermain body 111 control sequence in waiting, and generation is used to control the control signal ofcapsule 103 and magneticfield generation device 105.
The control signal that is used for controllingmagnetic field generator 105 passes to acpower supply apparatus 106 from personal computermain body 111 by connection cord.Then, produce rotating excitation field according to this control signal.Capsule 103 constitutes, and by this rotating excitation field, by the rotating excitation field that produced by magneticfield generation device 105magnet 108 of inside is carried out magnetic action, makescapsule 103 rotations, utilizes thrust described later to produce structural portion thus and obtains to be used for propulsive power.
On the other hand, the control signal ofcontrol capsule 103 utilizes the carrier wave of preset frequency to modulate through the oscillating circuit in the personal computermain body 111, launches fromexternal antenna 114 as electric wave.
Andcapsule 103 utilizesantenna 127 described later to receive electric wave, demodulates control signal and exports to each forming circuit etc.
And, information (data) signal of the video signal that controldevice 104 utilizesexternal antenna 114 to receive to send from thewireless antenna 127 ofcapsule 103 etc., and be presented on themonitor 113.
As shown in figure 23, incapsule 103, except that the objective lensoptical system 121 that forms optical image, be configured inimaging apparatus 122 on its image space, be configured inillumination component 123 around the objective lensoptical system 121, themagnet 108, also taking in:signal processing circuit 124, the signal of being taken byimaging apparatus 122 is carried out signal processing; Memorizer 125, the digital video signal that interim storage is generated bysignal processing circuit 124; Radio-circuit 126 utilizes high-frequency signal to modulate the video signal of reading from memorizer 125, thereby is converted to the signal of wireless transmission, perhaps the control signal that sends fromcontrol device 104 is carried out demodulation;Antenna 127 carries out the transmitting-receiving of electric wave withexternal antenna 114;Capsule control circuit 128,control capsule 103 is assignal processing circuit 124 etc.;Battery 129, the power supply of using to the electrical system supply work of 103 inside such assignal processing circuit 124 capsules such as grade.
And, constitute the personal computermain body 111 of carrying out thecontrol device 104 of radio communication and have with this capsule 103: radio-circuit 131, be connected on theexternal antenna 114, carry out radio communication with (capsule 103 sides) radio-circuit 126;Data processing circuit 132 is connected on the radio-circuit 131, the view data that sends fromcapsule 103 is carried out the date processing of pictorial display etc. etc.; As theCPU 115 of control unit, controldata treatment circuit 132 and acpower supply apparatus 106 etc.; Thehard disk 116 of storage program and data etc., onCPU 115, connecting the direction of setting rotating excitation fieldoperation input device 109 and carry out order and thekeyboard 112 of data inputs.
Ondata processing circuit 132, connectingmonitor 113, showing byimaging apparatus 122 and take, carried out the image of processing etc. through radio-circuit 126,131, by data processing circuit 132.And, because photographic images incapsule 103 rotations, so thisdata processing circuit 132 carries out the processing that the correction for direction of the image when showing is certain direction onmonitor 113, and carries out Flame Image Process, so that can show the image that operative doctor is observed easily.
Figure 25 represents the profile ofcapsule 103, and Figure 26 represents its internal structure.
As these Figure 25, shown in Figure 26,capsule 103 for example is covered with airtightly by the mainbody exterior member 140 of hemispherical transparent driveend bearing bracket 139 with the drum that hermetic is connected with this driveend bearing bracket 139, forms innerairtight capsule body 141 roughly cylindraceous.In addition, the rear end of this mainbody exterior member 140 forms roughly hemispherical.As shown in figure 26, thiscapsule body 141 forms the symmetric profile of the rotating revolution of central shaft C that makes to the length direction of direct of travel.
And, turn round on the outer surface ofsymmetric capsule body 141 at this, the thrust generation helicoidal structure body that is converted to propulsive force rotatablely moving is set.This helicoidal structure body is provided withhelical form jut 143, and its cylindric outer peripheral face (basal plane) 141a helically fromcapsule body 141 is outstanding, and the contact cavity wall, is converted to propulsive force rotatablely moving.And, between adjacenthelical form jut 143, form and can be communicated with fluidic helicla flutes such as endoceliac gas and body fluid in front and back.
Take in built-in things such as disposing above-mentionedobject lens 121,illumination component 123 in thesecapsule body 141 inside.
Specifically, objectlens 121 are under the state of being installed on the cylindriccamera lens frame 144, be configured in the central part of driveend bearing bracket 139 inboards in thecapsule body 141, on the image space of theseobject lens 121, dispose theimaging apparatus substrate 145 thatimaging apparatus 122 has been installed, aroundcamera lens frame 144, dispose a plurality ofillumination components 123.
Be adjacent to thesubstrate 147 of communicating by letter that laminated configuration is carried out thecontrol substrate 146 of signal processing and control and had the function of radio-circuit 126 etc. withimaging apparatus substrate 145, oncommunication substrate 147, connecting antenna 127.Andillumination component 123,imaging apparatus substrate 145 etc. are electrically connected byflexible substrate 148.
And on the central shaft C of the length direction of thiscapsule 103,configuration magnet 108 makes its length direction become the vertical direction with this central shaft C on the approximate centre position of its length, and utilizes not shown bonding agent etc. to fix.
And, be adjacent to taking inbattery 129 with thismagnet 108, and be connected withflexible substrate 148 by on-off circuit 149.
Describedmagnet 108 is configured on the center on the central shaft C ofcapsule body 141, have the direction of magnetization on the direction that with respect to central shaft C is the right angle, thereby for thiscapsule 103, the rotating excitation field that is produced by magneticfield generation device 5 acts onmagnet 108, by the revolving force that thismagnet 108 is subjected to, makecapsule 103 rotations.
In addition, the magnet of Shi Yonging (Magnet) the 108th herein, the permanent magnet of neodium magnet, SmCo Magnet, ferrite magnet, siderochrome cobalt magnet, platinum Magnet, aluminum nickel cobalt (AlNiCo) Magnet etc.
Rare earth element magnet magnetic force such as neodium magnet, SmCo Magnet are strong, have to make to be built in the advantage that the Magnet in the capsule diminishes.On the other hand, ferrite magnet has advantages of cheap price.In addition, platinum Magnet corrosion resistance is good.
And, in the present embodiment, as shown in figure 25, be formed at thehelical form jut 143 on the outer surface ofcapsule body 141, its front extends to the side that undergauge is a semi-spherical shape through the cylinder outer peripheral face, itsend 143a is formed on the part midway that undergauge is a semi-spherical shape, specifically is formed on the position in the angle of visibility that does not enter object lens 121.And it is hemispheric boundary vicinity that therear end 143b of thishelical form jut 143 extends to undergauge.In addition, in the example of Figure 25,helical form jut 143 also is provided withhelical form jut 143 on the centre position of ahelical form jut 143, and forms dual (two) jut.
Like this, in the present embodiment,helical form jut 143 is set on the outer surface ofcapsule 103, and oneend thereof 143a is formed up near the position, end that arrives reducing diameter part.Promptly, be characterised in that on the cylinder outer peripheral face part ofcapsule body 141 and also form thishelical form jut 143, and end 143a forms and extends to the radius for example dome shape part of undergauge of comparing cylinder, arrives the boundary position in the angle that do not come into view.
Like this, byhelical form jut 143 being arranged to arrive near the end ofcapsule body 141, as described below, can improve propulsion functions.
Figure 27 represents to adopt near the structure this end ofhelical form jut 143 being arranged to reachcapsule body 141 to measure the tank that fltting speed is used.Under the state of (contour structures) sample (being made as the 1st sample) in the silicone tube that is inserted into simulation tube chamber internal organs withcapsule 103 of present embodiment, be inserted in this tank, from above add under entry applies hydraulic pressure to pipe the state (for example water level is 20cm), apply rotating excitation field from the outside, for example make sample move 2cm, measure its fltting speed.
And, for only being formed at, helical form projection in the 1st sample relatively uses sample (being made as the 2nd sample) on the barrel surface part, also measured fltting speed with the same terms.Figure 28 represents the profile of the 1st sample.In addition, the 2nd sample is in the 1st sample shown in Figure 28, only is provided with the helical form projection on cylindrical portions may.
The measurement result that Figure 29 (A), Figure 29 (B) expression uses these samples to obtain.Marking and drawing its meansigma methods after measurement result shown in Figure 29 (A), Figure 29 (B) is carried out 10 times obtains.And, be to carry out under the condition of 0.5Hz, 1Hz, 5Hz in the frequency of rotating excitation field.
And, suppose that fltting speed and frequency are proportional, utilize method of least square to depict and be similar to collinear line.
Figure 29 (A) represents identical experimental result with the scale that Figure 29 (B) changes frequency, speed.The data of representing with circle are data that the sample (in Figure 29 abbreviate do not have front end for simplification) that utilizes front end that the helical form projection is not set obtains in addition, and the data of representing with triangle are data that the sample that utilizes front end also to be provided with the helical form projection obtains.And, the frequency till in Figure 29 (A), representing 5Hz, the situation of speed, Figure 29 (B) amplifies the measurement result of representing till the 1Hz.
According to these measurement data, we can say that near the situation that the helical form projection is not set situation that the helical form projection is set to the end always and the end compares, fltting speed is big, is approximately 1.4 times of the latter.This helical form projection that can be described as the end helps to produce propulsive force.
Other characteristic effects of thecapsule 103 of present embodiment are described with reference to Figure 30 (A), Figure 30 (B) in addition.
Shown in Figure 30 (A), Figure 30 (B), for example suppose in the tube chamberinternal organs 155 of bending, in the time of need on its crooked direction, advancing, shown in Figure 30 (B), if only on cylindrical portions may, be provided with thecapsule 103 of helical form jut ', even then rotation, helical form jut also are difficult for the jog engagement with the gauffer of the internal face of tube chamber internal organs etc., be difficult to advance swimmingly.
In this state, in the present embodiment, shown in Figure 30 (A), becausehelical form jut 143 is formed near the end behind the undergauge always, so when rotated, by be formed into always near its endhelical form jut 143 and with the jog engagement of the internal face of tube chamber internal organs, can advancecapsule 103 more swimmingly.
Like this, in the present embodiment, it is characterized in that, the helicoidal structure body also is set near the end of undergauge,helical form projection 143 specifically is set, by thiscapsule 3 is rotated driving, propulsive force can be improved, the target site side can be arrived at short notice, and under the situation of the pipeline of bending, also can be by near thehelical form projection 143 that is formed at the end, advance more swimmingly along the pipeline of bending.
The action of thecapsule guiding system 101 that is provided withhelical form jut 143 then, is described below.
As shown in figure 22, observe the body cavity pipeline of patient 102 forexample duodenum 151 sides or small intestinal side etc. when inner at needs, the operator allows patient 102 152swallow capsule 103 from the oral cavity.
In addition, at this moment, the operator is being about to allow before patient 102 swallows, and connects the on-off circuit 149 ofcapsule 103 in advance, and the electric power ofbattery 129 is delivered toillumination component 123 etc.Meanwhile, the operator starts (connection) magneticfield generation device 105, utilizes the rotating excitation field that is produced by this magneticfield generation device 105, carries out magnetic control and makescapsule 103 arrive the target site side easily in the body cavity pipeline.
As mentioned above,, do the time spent in 108 pairs of rotating excitation fields generations that produce by magneticfield generation device 105 of magnet forcapsule 103, by the effect that thismagnet 108 is subjected to,capsule body 141 rotations.And whencapsule body 141 contact cavity walls, the frictional force between the mucosa of this body cavity walls and thehelical form jut 143 is converted into big propulsive force, therebycapsule 103 advance and retreat move.Andcapsule 103 is along with the rotation of rotating excitation field, change direct of travel incapsule body 141 rotations (towards), make that the Plane of rotation ofmagnet 108 is consistent with the Plane of rotation of rotating excitation field.
At this moment, forcapsule 103, can in tube chamber, pipeline, head for target position sideadvance capsule body 141 swimmingly.
Capsule 103 is swallowed by patient 102,152 arrivesstomaches 154 inside byesophagus 153 from the oral cavity thus.
And when needs were observedstomach 154 inside, the operator carried out the key input corresponding with observing initiation command from forexample keyboard 112 of control device 104.Thereby, the control signal that forms by the input of this key through theexternal antenna 114 ofcontrol device 104, utilize electric wave to launch, send tocapsule 103 sides.
Capsule 103 detects the work commencing signal according to the signal that is received byantenna 127, andillumination component 123,imaging apparatus 122,signal processing circuit 124 etc. become driving condition.
Illumination component 123 penetrates illumination light to the visual field ofobject lens 121 direction, the optical image of the field range of illuminated part images on theimaging apparatus 122 on the image space that is configured inobject lens 121, and carry out opto-electronic conversion, carry out the A/D conversion bysignal processing circuit 124, after carrying out Digital Signal Processing, compress processing, be stored in the memorizer 125, modulate by radio-circuit 126 then, utilize electric wave to launch fromantenna 127.
This electric wave is received by theexternal antenna 114 ofcontrol device 104, and demodulation in the radio-circuit in personal computermain body 111 131, carry out the A/D conversion again, be converted to the video signal of numeral bydata processing circuit 132, store in the memorizer orhard disk 116 ofdata processing circuit 132, and read with predetermined speed, the optical imagery of onmonitor 113imaging apparatus 122 being taken carries out colour and shows.
The operator can observe patient 102stomach 154 inside etc. by observing this image.Observing the operating units such as stick that useinput device 109 when this observes image, can easily control the mode that applies of outside magnetic force, so that can observe the Zone Full in thestomach 154.
In addition, after the observation ofstomach 154 inside finishes, can control the direction of the rotating excitation field that produces by magneticfield generation device 105, thus tocapsule 103 carry out magnetic guiding make its fromstomach 154 toduodenum 151 side shiftings.And, induodenum 151, also cancapsule 103 be advanced along the direction of its tube chamber, therebyadvance capsule 103 swimmingly by the direction of control rotating excitation field.
And, when in pipeline crooked as small intestinal, advancing, as explanation among Figure 30 (A), becausehelical form projection 143 is formed near the dome shape end ofcapsule body 141 always, so can makecapsule 103 smooth and easy advancing in the pipeline of bending.
Like this,, can advancecapsule 103 swimmingly, check the required time, and can alleviate operative doctor and patient's burden and fatigue etc. so can shorten according to present embodiment.
And thecapsule 103 of present embodiment does not carry out useless moving, and introduction by magnetic field efficient correspondingly improves, and has the effect of themagnet 108 that can make in thecapsule body 141 and external electric magnet 105a~105c miniaturization.
(the 5th embodiment)
Below, with reference to Figure 31 the 5th embodiment of the present invention is described.Figure 31 represents the capsule 103B of the 5th embodiment of the present invention.In thecapsule 103 in the 4th embodiment, make therear end 143b ofhelical form jut 143 be in the anterior position of the rear end that arrivescapsule body 103, but therear end 143b that this capsule 103B then makeshelical form jut 143 extend and is formed near the end ofcapsule body 141 to rear side more.
Other structures are identical withcapsule 103 in the 4th embodiment.
As the effect and the effect of present embodiment, under situation about moving rearward, also can move efficiently, and under the situation that the rear side to bending moves, also can move swimmingly.
Figure 32 represents the capsule 103C of the 1st variation.Profile with respect to capsule 103B shown in Figure 31 is roughly semi-spherical shape, thereby the external diameter of this capsule 103C forms the leaf roll shape from front end to the rear end smooth change.
Because the external diameter of this capsule 103C from front end to the rear end smooth change, so have the property inserted good effect and effect.
Figure 33 represents the capsule 103D of the 2nd variation.In capsule 103D shown in Figure 33, the profile of itscapsule body 141 is: the two ends undergauge that forms the cylindrical portion of central part is the tapering 161 of taper (cone shape).And front and rear end side form picture plane as cutting off.
Because drive end bearing bracket side and rearward end side undergauge are taper, so the property inserted is good.And, owing to the shape that forms as looking like to cut off, so can realize miniaturization.
Figure 34 represents the capsule 103E of the 3rd variation.Capsule 103E shown in Figure 34 is among the capsule 103D in Figure 33, be not that leading section and rearward end are formed is plane, but slyness becomes roughly dome shape.
That is, in this capsule 103E, the profile ofcapsule body 141 is: the cylindrical portion two ends undergauge that forms central part is the tapering 161 of taper (cone shape).And the end of front and rear end side is roughly dome shape.
It is taper that this variation makes drive end bearing bracket side and rearward end side undergauge, so the property inserted is good.
Figure 35 represents thecapsule 103F of the4th variation.In capsule 103F shown in Figure 35, for thehelical form projection 143 on the outer surface that is formed atcapsule body 141, for example form the spacing b ofprojection 143 and be formed at the external diameter front little and the spacing a and the c of theprojection 143 of rear end side on partly are equidistant from distance, promptly set a=b=c for than it at the helically on the external diameter the best part of central part.
Like this, fix by the spacing that makes thehelical form projection 143 on the outer surface that is formed atcapsule 103F, thereby under the situation about being pushed incapsule 103F rotation and with the concavo-convex engagement of the internal face of tube chamber internal organs, because can think the concavo-convex almost fixed of internal face of tube chamber internal organs, so can advancecapsule 103 effectively.
And, because spacing fixes, thus make man-hour feed fixing adding with respect to rotating to be of lathe, thus can make handling ease, and can be with the low cost manufacturing.And the feed in one week of partial rotation that the feed in one week of partial rotation that diameter is less and diameter are bigger is identical, socapsule 103F integral body can produce thrust effectively.
In addition, can also form the 5th variation of the following stated.
Aforesaid each capsule 103B etc. is the cordless type that does not have line or pipe at the rear portion, but also can form what the rearward end (opposition side of drive end bearing bracket 139) of this capsule 103B etc. was installed the pliability pipe that can rotate freely rope type capsule medical apparatus is arranged.
Under this situation, the propelling by making the helicoidal structure body and the push-and-pull of pipe combine, and have the effect that can make capsule medical apparatus more effectively advance or retreat.
(the 6th embodiment)
Below, with reference to Figure 36 (A), Figure 36 (B) the 6th embodiment of the present invention is described.Thecapsule 103G of Figure 36 (A) expression present embodiment, Figure 36 (B) expression is obtained example images by what thiscapsule 103G obtained.
Capsule 103G shown in Figure 36 (A) forms for example in the capsule 103B of Figure 31, inhelical form projection 143, be provided with the hollow structure ofhollow bulb 162 along its length direction, form theopening 162a of opening at the end of its front 143a, and make thisend 143a extend to the position that becomes the angle of visibility inboard always, can be shown in Figure 36 (B) like that (according to obtaining image) observe thisend 143a.
And, in thiscapsule 103G, inside atcapsule body 141 is provided with hollow bulb, and form the incorporatingsection 164 to storemedicament 163, between the pipe 165 of thehollow bulb 162 that connects this incorporatingsection 164 andhelical form projection 143, setting is sent driving (emitting driving) or is sucked themicropump 166 that drives, themedicament 163 that is stored in the incorporatingsection 164 is emitted through thehollow bulb 162 of thehelical form projections 143opening 162a from front end, thereby can handle the treatment that affected part etc. carries out delivering medicament.
And above-mentionedmicropump 166 can counter-rotating, sucks substance in vivo such as body fluid thus from opening 162a and is accommodated in the incorporating section 164.For example, at first emit themedicament 163 that is stored at the incorporatingsection 164 to affected part etc. from opening 162a, makemicropump 166 counter-rotatings then, thereby substance in vivos such as body fluid are accommodated in the incorporatingsection 164, aftercapsule 103G discharged in the body, can take out the substance in vivo of incorporatingsection 164 fromcapsule 103G, carry out detailed inspection.
According to present embodiment, can be used to emitmedicament 163 tohelical form projection 143 as the helicoidal structure body, so can be used to the helicoidal structure body to advance and the emitting ofmedicament 163, can realize small-sized, have the function of carrying out endoceliac shooting and the medicament that is used for the treatment of emitted thecapsule 103G of function.
And, also can realize also having thecapsule 103G that collects the function of material in endoceliac body fluid and other body cavitys.
And, extend to the position that becomes the angle of visibility inboard by theend 143a that makeshelical form projection 143 always, can further improve propulsive force, and emittingmedicament 163 from theopening 162a that is located atend 143a, perhaps suck under the situation of substance in vivo, can confirm this action according to obtaining image.
In addition, also can only be used for emitting ofmedicament 163 to thecapsule 103G of Figure 36, or only be used for the suction collection of substance in vivo.
Also can various pick offs such as pressure transducer, pH pick off, temperature sensor, blood sensor be set at thehollow bulb opening 162a of describedhelical form projection 143, and along the wiring ofhollow bulb 162 sensors configured.About pick off, can different types of pick off be set to each of a plurality ofhelical form projections 143, the pick off of identical type also can be set.Under this situation, can when emittingmedicament 163 or collecting body fluid, utilize image to confirm position, the position of measuring, so convenient more by pick off.
Figure 37 represents the capsule 103H of variation.This capsule 103H is the incorporatingsection 164 thatcapsule 103 inside are not set in thecapsule 103G of Figure 36 (A), makes themicropump 166 of being located at capsule 103H inside by managing 165hollow bulbs 162 that are connected to twohelical form projections 143 of dual setting.
And when makingmicropump 166 to the rotation of clockwise direction for example, micropump 166 carries out the action that sucks from the downward side of upside in Figure 37, can suck body fluid etc. in thehollow bulb 162 of thehelical form projection 143 shown in Figure 37 midship section and storage.
And, by makingmicropump 166 counter-rotatings, can be also storing in thehollow bulb 162 of anotherhelical form projections 143 of suction such as body fluid.
That is, in this variation, can be in thehollow bulb 162 of thehelical form projection 143 of dual setting, for example suck the substance in vivo of collecting body fluid etc. respectively, need the material checked at different parts.This variation has the effect roughly the same with the capsule 103H of Figure 36.
In addition, replace themagnet 108 that is built incapsule 103 grades, also can utilize ferromagnetism body or magnetic formation such as ferrum as electromagnetic field response portion.And, also can not apply magnetic field, and apply electric field, built-in electrical body or electrolyte incapsule 103 grades.
In addition, above-mentioned each embodiment etc. is carried out the part combination and the embodiment that constitutes etc. also belong to the present invention.
In the present invention, certainly under the situation that does not break away from the spirit and scope of the present invention, in wide region, constitute different embodiments according to the present invention.The present invention is not subjected to the restriction of its specific implementations except the qualification that is subjected to incidental claim.
Utilizability on the industry
As mentioned above, according to medical treatment device of the present invention, medical device induction system, capsule medical apparatus and encapsulated medical device guiding system, when guiding is inserted into endoceliac medical treatment device main body in body cavity, can improve in the endoceliac performance of passing through, and by making the medical treatment device rotation, can be directed to the target site side along tube chamber internal organs inside at short notice, very useful when being used for endoceliac observation and various metacheirisises etc.
The cross reference of association request
The application is to be the application on the basis of claim of priority with patent application 2003-288273 number of submitting in Japan in patent application 2003-291771 number of submitting in Japan on August 11st, 2003 and on August 6th, 2003.Above-mentioned content is cited in the application's description, claims, accompanying drawing.

Claims (16)

Translated fromChinese
1.一种具有插入到体腔内的胶囊的医疗装置,其特征在于,包括力偶产生单元,该力偶产生单元产生具有与插入轴平行的作用线的力偶,1. A medical device having a capsule inserted into a body cavity, comprising a force couple generating unit that generates a force couple having a line of action parallel to the insertion axis,其中,由所述力偶产生单元产生的力偶是用于使所述医疗装置的所述插入轴的方向摇动的、周期性变化的磁场。Wherein, the force couple generated by the force couple generating unit is a periodically changing magnetic field for oscillating the direction of the insertion shaft of the medical device.2.根据权利要求1所述的医疗装置,其特征在于,所述作用线以所述插入轴为中心轴而旋转。2. The medical device according to claim 1, wherein the line of action rotates around the insertion shaft.3.根据权利要求1所述的医疗装置,其特征在于,具有推力产生部,其在所述插入轴方向上产生推进力。3. The medical device according to claim 1, further comprising a thrust generator that generates thrust in the direction of the insertion axis.4.一种具有插入到体腔内的胶囊的医疗装置,其特征在于,包括:4. A medical device having a capsule inserted into a body cavity, comprising:医疗装置主体,其具有插入到体腔内的、并具有大致圆筒状外形的胶囊;a medical device body having a capsule inserted into a body cavity and having a substantially cylindrical shape;设置在所述医疗装置主体的侧面上的螺旋状结构部;a helical structure part provided on the side of the medical device body;推力产生机构,其具有使所述螺旋状结构部绕医疗装置主体的圆筒轴旋转的旋转驱动单元,并在圆筒轴方向上产生推力;以及a thrust generating mechanism having a rotation drive unit that rotates the helical structure portion around a cylindrical axis of the medical device body, and generates thrust in the direction of the cylindrical axis; and力偶产生单元,其产生具有与所述圆筒轴平行的作用线的力偶,a force couple generating unit that generates a force couple having a line of action parallel to the cylinder axis,其中,由所述力偶产生单元产生的力偶是用于使所述医疗装置的所述插入轴的方向摇动的、周期性变化的磁场。Wherein, the force couple generated by the force couple generating unit is a periodically changing magnetic field for oscillating the direction of the insertion shaft of the medical device.5.根据权利要求4所述的医疗装置,其特征在于,在所述医疗装置的内部配置有磁铁,该磁铁的磁极方向被配置成与所述推力产生机构的推力产生方向垂直。5 . The medical device according to claim 4 , wherein a magnet is arranged inside the medical device, and a magnetic pole direction of the magnet is arranged perpendicular to a thrust generating direction of the thrust generating mechanism.6.一种在体腔内引导医疗装置的医疗装置引导系统,其特征在于,包括:6. A medical device guidance system for guiding a medical device in a body cavity, comprising:旋转磁场;rotating magnetic field;磁场产生装置,其产生与旋转磁场的旋转平面垂直的方向的磁场;A magnetic field generating device that generates a magnetic field in a direction perpendicular to the plane of rotation of the rotating magnetic field;医疗装置主体,其具有插入到体腔内的胶囊;a medical device body having a capsule inserted into a body cavity;设置在所述医疗装置主体上的推力产生结构部;以及a thrust generating structure provided on the main body of the medical device; and磁铁,其设置在所述医疗装置主体中,并被配置成磁极方向朝向与所述推力产生结构部的推力产生方向大致垂直的方向,a magnet disposed in the main body of the medical device and arranged such that the magnetic pole direction faces a direction substantially perpendicular to the thrust generating direction of the thrust generating structure,其中,与所述旋转磁场的旋转平面垂直的方向的磁场具有与所述胶囊的插入轴平行的作用线,并且是用于使所述医疗装置的插入轴的方向摇动的交流磁场。Wherein, the magnetic field in the direction perpendicular to the rotation plane of the rotating magnetic field has a line of action parallel to the insertion axis of the capsule, and is an AC magnetic field for shaking the direction of the insertion axis of the medical device.7.根据权利要求6所述的医疗装置引导系统,其特征在于,所述推力产生结构部是设置在所述医疗装置主体的外周上的螺旋结构部。7. The medical device guiding system according to claim 6, wherein the thrust generating structure is a helical structure provided on the outer periphery of the medical device main body.8.根据权利要求6所述的医疗装置引导系统,其特征在于,具有控制所述磁场产生装置的磁场控制单元。8. The medical device guidance system according to claim 6, further comprising a magnetic field control unit that controls the magnetic field generating device.9.根据权利要求8所述的医疗装置引导系统,其特征在于,所述磁场控制单元具有切换与所述旋转磁场的旋转平面垂直的方向的磁场的有无的功能。9. The medical device guidance system according to claim 8, wherein the magnetic field control unit has a function of switching presence or absence of a magnetic field in a direction perpendicular to a rotation plane of the rotating magnetic field.10.根据权利要求8所述的医疗装置引导系统,其特征在于,所述磁场控制单元具有改变与所述旋转磁场的旋转平面垂直的方向的磁场的强度的功能。10. The medical device guidance system according to claim 8, wherein the magnetic field control unit has a function of changing the strength of the magnetic field in a direction perpendicular to a rotation plane of the rotating magnetic field.11.根据权利要求8所述的医疗装置引导系统,其特征在于,所述磁场控制单元具有改变与所述旋转磁场的旋转平面垂直的方向的磁场的频率的功能。11. The medical device guidance system according to claim 8, wherein the magnetic field control unit has a function of changing the frequency of the magnetic field in a direction perpendicular to a rotation plane of the rotating magnetic field.12.根据权利要求6所述的医疗装置引导系统,其特征在于,与所述旋转磁场的旋转平面垂直的方向的磁场是交流磁场,所述交流磁场的频率大于等于2Hz小于等于10Hz。12 . The medical device guidance system according to claim 6 , wherein the magnetic field perpendicular to the rotation plane of the rotating magnetic field is an alternating magnetic field, and the frequency of the alternating magnetic field is greater than or equal to 2 Hz and less than or equal to 10 Hz.13.根据权利要求6所述的医疗装置引导系统,其特征在于,相对于所述旋转磁场的旋转频率,与旋转磁场的旋转平面垂直的方向的交流磁场的频率高。13. The medical device guidance system according to claim 6, wherein the frequency of the alternating magnetic field in the direction perpendicular to the rotation plane of the rotating magnetic field is higher than the rotating frequency of the rotating magnetic field.14.根据权利要求6所述的医疗装置引导系统,其特征在于,相对于所述旋转磁场的旋转频率,与旋转磁场的旋转平面垂直的方向的交流磁场的频率是其2倍~10倍的频率。14. The medical device guidance system according to claim 6, wherein the frequency of the alternating magnetic field in the direction perpendicular to the rotation plane of the rotating magnetic field is 2 to 10 times the frequency of the rotating magnetic field. frequency.15.根据权利要求6所述的医疗装置引导系统,其特征在于,相对于所述旋转磁场的磁场强度,与旋转磁场的旋转平面垂直的方向的磁场的磁场强度小。15. The medical device guidance system according to claim 6, wherein the magnetic field strength of the magnetic field in the direction perpendicular to the rotation plane of the rotating magnetic field is smaller than the magnetic field strength of the rotating magnetic field.16.根据权利要求1所述的医疗装置,其特征在于,所述力偶产生单元是使所述医疗装置的重心位置相对于所述医疗装置的插入轴移动的重心位置变更机构。16 . The medical device according to claim 1 , wherein the force couple generating unit is a center-of-gravity position changing mechanism that moves the position of the center of gravity of the medical device relative to an insertion axis of the medical device.
CN2004800218881A2003-08-062004-08-06Medical device, medical device guidance system, capsule medical device, and capsule medical device guidance systemExpired - Fee RelatedCN1829466B (en)

Applications Claiming Priority (5)

Application NumberPriority DateFiling DateTitle
JP28827320032003-08-06
JP2003288273AJP4137740B2 (en)2003-08-062003-08-06 Capsule type medical device and capsule type medical device guidance system
JP291771/20032003-08-11
JP2003291771AJP4153845B2 (en)2003-08-112003-08-11 Medical device guidance system
PCT/JP2004/011628WO2005013811A1 (en)2003-08-062004-08-06Medical device, medical device guide system, capsule-type medical device, and capsule-type medical device guide device

Related Child Applications (1)

Application NumberTitlePriority DateFiling Date
CN2008100965381ADivisionCN101292857B (en)2003-08-062004-08-06Medical apparatus, medical apparatus guide system, capsule type medical apparatus, and guide apparatus thereof

Publications (2)

Publication NumberPublication Date
CN1829466A CN1829466A (en)2006-09-06
CN1829466Btrue CN1829466B (en)2011-01-05

Family

ID=34366984

Family Applications (2)

Application NumberTitlePriority DateFiling Date
CN2004800218881AExpired - Fee RelatedCN1829466B (en)2003-08-062004-08-06Medical device, medical device guidance system, capsule medical device, and capsule medical device guidance system
CN2008100965381AExpired - Fee RelatedCN101292857B (en)2003-08-062004-08-06Medical apparatus, medical apparatus guide system, capsule type medical apparatus, and guide apparatus thereof

Family Applications After (1)

Application NumberTitlePriority DateFiling Date
CN2008100965381AExpired - Fee RelatedCN101292857B (en)2003-08-062004-08-06Medical apparatus, medical apparatus guide system, capsule type medical apparatus, and guide apparatus thereof

Country Status (2)

CountryLink
JP (1)JP4137740B2 (en)
CN (2)CN1829466B (en)

Cited By (2)

* Cited by examiner, † Cited by third party
Publication numberPriority datePublication dateAssigneeTitle
US9113843B2 (en)2008-09-112015-08-25Acist Medical Systems, Inc.Physiological sensor delivery device and method
US10244951B2 (en)2014-06-102019-04-02Acist Medical Systems, Inc.Physiological sensor delivery device and method

Families Citing this family (50)

* Cited by examiner, † Cited by third party
Publication numberPriority datePublication dateAssigneeTitle
US20090281387A1 (en)*2005-10-052009-11-12Olympus Medical Systems Corp.Capsule-type medical apparatus, guidance system and guidance method therefor, and intrasubject insertion apparatus
JP4823665B2 (en)*2005-12-022011-11-24オリンパスメディカルシステムズ株式会社 Capsule type medical device and its guidance system
JP2008040353A (en)2006-08-092008-02-21Seiko Epson Corp Optical device, optical scanner, and image forming apparatus
JP5484651B2 (en)*2006-11-132014-05-07オリンパスメディカルシステムズ株式会社 Medical device position detection system and medical device guidance system
CN101573070B (en)*2006-12-282012-04-04奥林巴斯医疗株式会社 Capsule medical device and body cavity observation method
JP4908356B2 (en)*2007-09-112012-04-04オリンパスメディカルシステムズ株式会社 Capsule guidance system
JP2008178743A (en)*2008-04-212008-08-07Olympus CorpCapsule type medical device and capsule type medical device guiding system
DE102009009616A1 (en)*2009-02-192010-08-26Siemens Aktiengesellschaft Endoscopic capsule with device for promoting movement in the case of movement-inhibiting edge friction
JP4932971B2 (en)*2010-03-262012-05-16オリンパスメディカルシステムズ株式会社 Capsule type medical device guidance system
CN101849814B (en)*2010-05-262012-12-12上海理工大学Active infrared wireless capsule endoscopy system
DE102011004825B4 (en)*2011-02-282019-05-02Siemens Healthcare Gmbh A method of controlling the transport of a magnetic moment endoscope capsule
JP6059207B2 (en)2011-05-112017-01-11アシスト・メディカル・システムズ,インコーポレイテッド Intravascular detection method and detection system
GB201202706D0 (en)*2012-02-162012-04-04Vibrant Ltdgastrointestinal capsule
CN102743174B (en)*2012-06-302016-06-29安翰光电技术(武汉)有限公司A kind of method controlling capsule or probe motion
CN103054542B (en)*2012-12-202015-02-18深圳市资福技术有限公司System for controlling capsule endoscope motion
CN103040426A (en)*2012-12-202013-04-17深圳市资福技术有限公司System and method for controlling running orbit of capsule endoscope
CN105411505B (en)*2014-09-152019-08-23上海安翰医疗技术有限公司 Device and method for controlling movement of capsule endoscope in human digestive tract
CN103637803B (en)*2013-11-142015-08-19上海交通大学Based on capsule endoscope space positioning system and the localization method of permanent magnetism and induction coil
KR101548646B1 (en)*2014-01-212015-09-01가톨릭관동대학교산학협력단Trans-Platform Apparatus and Their Uses
CN104013378B (en)*2014-06-252016-04-27天津理工大学The control system of portable remote operating is wireless microchannel robot and method of work
CN106389061A (en)*2015-08-102017-02-15孙彪Vibration capsule system for recovering and treating digestive tract function degradation and disorder
CN106594454A (en)*2015-10-192017-04-26沈阳新松机器人自动化股份有限公司Fluid pipeline dredging robot
CN105662318B (en)*2016-01-082018-01-26大连理工大学 A human-computer interaction control method for a space universal rotating magnetic field
US10500127B2 (en)*2016-04-182019-12-10Ankon Medical Technologies (Shanghai) Co., Ltd.Vivo device and method of using the same
US11826522B2 (en)*2016-06-012023-11-28Becton, Dickinson And CompanyMedical devices, systems and methods utilizing permanent magnet and magnetizable feature
CN106073689A (en)*2016-06-022016-11-09李红艳Can the swallowing type medical treatment detector of temperature sensing
US11504024B2 (en)2018-03-302022-11-22Vibrant Ltd.Gastrointestinal treatment system including a vibrating capsule, and method of use thereof
GB2554354B (en)2016-09-212021-06-02Vibrant LtdSystems for adaptive treatment of disorders in the gastrointestinal tract
CN106618645A (en)*2016-09-222017-05-10孟红琳Capsule type cell sampler
CN106725258A (en)*2016-12-132017-05-31天津盼易科技有限公司One kind is based on electromechanical integration encapsulated medical device guiding system
US10905378B1 (en)2017-01-302021-02-02Vibrant LtdMethod for treating gastroparesis using a vibrating ingestible capsule
US10888277B1 (en)2017-01-302021-01-12Vibrant LtdMethod for treating diarrhea and reducing Bristol stool scores using a vibrating ingestible capsule
CN106880333A (en)*2017-03-282017-06-23重庆金山医疗器械有限公司A kind of capsule endoscope control device
US11369410B2 (en)*2017-04-272022-06-28Bard Access Systems, Inc.Magnetizing system for needle assemblies including orientation key system for positioning needle tray in magnetizer
CN106990536B (en)*2017-05-102023-05-26重庆中域财众旅游文化产业投资有限公司Device for virtual reality experience
US12083303B2 (en)2019-01-212024-09-10Vibrant Ltd.Device and method for delivering a flowable ingestible medicament into the gastrointestinal tract of a user
US10537720B2 (en)2018-04-092020-01-21Vibrant Ltd.Method of enhancing absorption of ingested medicaments for treatment of parkinsonism
US11638678B1 (en)2018-04-092023-05-02Vibrant Ltd.Vibrating capsule system and treatment method
ES2915828T3 (en)2018-04-202022-06-27Acist Medical Sys Inc Evaluation of a glass
US11510590B1 (en)2018-05-072022-11-29Vibrant Ltd.Methods and systems for treating gastrointestinal disorders
CN108724148B (en)*2018-09-172019-01-01湖南早晨纳米机器人有限公司Nanometer robot control system
EP3906086A4 (en)2019-01-032022-10-19Vibrant Ltd. DEVICE AND METHOD FOR DELIVERING AN INgestible MEDICATION INTO A USER'S GASTROINTESTINAL TRACT
CN109620107B (en)*2019-01-092021-09-07重庆金山医疗技术研究院有限公司Capsule endoscope
GB201900780D0 (en)2019-01-212019-03-06Vibrant LtdDevice and method for delivering a flowable ingestible medicament into the gastrointestinal tract of a user
CN109805883A (en)*2019-02-022019-05-28佛山职业技术学院A kind of capsule endoscope drive system
GB201901470D0 (en)2019-02-042019-03-27Vibrant LtdVibrating capsule for gastrointestinal treatment, and method of use thereof
CN110693445A (en)*2019-10-152020-01-17联博智能科技有限公司 Wireless Capsule Endoscope Control System
LU501826B1 (en)*2022-04-112023-10-11Max Planck GesellschaftFoldable structure
EP4260830A1 (en)*2022-04-112023-10-18Max-Planck-Gesellschaft zur Förderung der Wissenschaften e.V.Tube-shaped robotic device with anisotropic surface structure
CN115517771A (en)*2022-09-232022-12-27赵勇 a linear robot

Citations (1)

* Cited by examiner, † Cited by third party
Publication numberPriority datePublication dateAssigneeTitle
US5681260A (en)*1989-09-221997-10-28Olympus Optical Co., Ltd.Guiding apparatus for guiding an insertable body within an inspected object

Family Cites Families (6)

* Cited by examiner, † Cited by third party
Publication numberPriority datePublication dateAssigneeTitle
JP3017770B2 (en)*1990-04-252000-03-13オリンパス光学工業株式会社 Intra-subject insertion device
JPH0663045A (en)*1992-08-201994-03-08Olympus Optical Co LtdUltrasonic endoscope
JP4499861B2 (en)*1999-12-282010-07-07オリンパスメディカルシステムズ株式会社 Movement control system for movable micromachine and medical micromachine guidance system
JP2002000556A (en)*2000-06-262002-01-08Nonomura TomosukeEndoscope
JP4744026B2 (en)*2001-07-302011-08-10オリンパス株式会社 Capsule endoscope and capsule endoscope system
JP4503930B2 (en)*2003-01-302010-07-14オリンパス株式会社 Medical equipment

Patent Citations (1)

* Cited by examiner, † Cited by third party
Publication numberPriority datePublication dateAssigneeTitle
US5681260A (en)*1989-09-221997-10-28Olympus Optical Co., Ltd.Guiding apparatus for guiding an insertable body within an inspected object

Non-Patent Citations (4)

* Cited by examiner, † Cited by third party
Title
JP特開2001-179700A 2001.07.03
JP特開2002-556A 2002.01.08
JP特開2003-38424A 2003.02.12
JP特開平6-63045A 1994.03.08

Cited By (3)

* Cited by examiner, † Cited by third party
Publication numberPriority datePublication dateAssigneeTitle
US9113843B2 (en)2008-09-112015-08-25Acist Medical Systems, Inc.Physiological sensor delivery device and method
US10010251B2 (en)2008-09-112018-07-03Acist Medical Systems, Inc.Physiological sensor delivery device and method
US10244951B2 (en)2014-06-102019-04-02Acist Medical Systems, Inc.Physiological sensor delivery device and method

Also Published As

Publication numberPublication date
CN101292857B (en)2013-03-06
JP4137740B2 (en)2008-08-20
CN1829466A (en)2006-09-06
CN101292857A (en)2008-10-29
JP2005052502A (en)2005-03-03

Similar Documents

PublicationPublication DateTitle
CN1829466B (en)Medical device, medical device guidance system, capsule medical device, and capsule medical device guidance system
KR100796077B1 (en) Medical Device, Medical Device Induction System, Capsule Type Medical Device and Capsule Type Medical Device Induction Device
CN101022758B (en)Capsule type medical device guiding system
KR100725572B1 (en)Medical device
JP4542326B2 (en) Capsule type medical device guidance system
CN101505648B (en)Medical device control system
JP3662072B2 (en) Medical capsule device
US20040236180A1 (en)Medical apparatus guiding system
JP4542560B2 (en) Capsule type medical device guidance system
JP4914847B2 (en) Medical device guidance system and method for controlling medical device guidance system
JP4153845B2 (en) Medical device guidance system
JP4472410B2 (en) Capsule type medical device position / posture detection system
JP4331781B2 (en) Medical capsule device
JP4109313B2 (en) Medical capsule device
JP2007216040A (en)Medical device guide system
JP2007260423A (en)Medical device and medical device guiding system
JP4020935B2 (en) Medical capsule device
JP2008178743A (en)Capsule type medical device and capsule type medical device guiding system
JP2008080149A (en)Medical device guide system

Legal Events

DateCodeTitleDescription
C06Publication
PB01Publication
C10Entry into substantive examination
SE01Entry into force of request for substantive examination
CI02Correction of invention patent application

Correction item:Priority

Correct:2003.08.11 JP 291771/2003

False:Lack of priority second

Number:36

Page:The title page

Volume:22

CORChange of bibliographic data

Free format text:CORRECT: PRIORITY; FROM: MISSING THE SECOND ARTICLE OF PRIORITY TO: 2003.8.11 JP 291771/2003

C14Grant of patent or utility model
GR01Patent grant
CF01Termination of patent right due to non-payment of annual fee

Granted publication date:20110105

Termination date:20190806

CF01Termination of patent right due to non-payment of annual fee

[8]ページ先頭

©2009-2025 Movatter.jp