


技术领域technical field
本发明涉及一种扬声器导磁座及其加工法,特别是一种由此加工法可使扬声器导磁座形成一体结构的制作手段,即一体结构扬声器导磁座及其加工法。The invention relates to a loudspeaker magnetic base and a processing method thereof, in particular to a manufacturing method which enables the loudspeaker magnetic base to form an integrated structure through the processing method, that is, a loudspeaker magnetic base with an integrated structure and a processing method thereof.
背景技术Background technique
扬声器导磁座为决定扬声器性能的关键组件之一,而该扬声器导磁座内必需要开设一深沟窄槽的环形槽,以供振动膜位移作动,而因为在扬声器导磁座上开设深5mm~10mm,宽1.6mm~3.0mm的深沟窄槽,是传统加工方法的瓶颈,故传统扬声器导磁座(请参阅图1及图2所示)多以二件式方式制成,其分为内、外座体二部分来分别制作完成后,再将二者利用适当的结合手段结合成一体,并利用内、外座体直径大小的差异,来形成环形槽。The magnetic base of the speaker is one of the key components that determine the performance of the speaker, and an annular groove with a deep groove and narrow groove must be opened in the magnetic base of the speaker for the displacement of the diaphragm, and because the magnetic base of the speaker is set Deep and narrow grooves with a depth of 5mm to 10mm and a width of 1.6mm to 3.0mm are the bottleneck of traditional processing methods. Therefore, traditional speaker magnetic seats (see Figure 1 and Figure 2) are mostly made in two pieces. It is divided into two parts, the inner and the outer base body, and after being manufactured respectively, the two parts are combined into one body by appropriate means of combination, and the difference in diameter between the inner and outer base bodies is used to form an annular groove.
然而使用此种方式制作的扬声器导磁座,因结合手段多利用铆合的方式,其不但制作速度慢、成本高,且其二铆合件的间必定存有间隙,而该间隙会导致导磁率降低,进而影响扬声器性能。因此,若能消除间隙,便可提高导磁率,更而提高扬声器的性能。However, the magnetic permeable seat of the loudspeaker made in this way is usually riveted, which not only has slow production speed and high cost, but also has a gap between the two riveted parts, and this gap will lead to The magnetic rate is reduced, which in turn affects speaker performance. Therefore, if the gap can be eliminated, the magnetic permeability can be improved, and the performance of the speaker can be improved.
发明内容Contents of the invention
本发明的主要目的,在于克服现有技术的不足与缺陷,利用适当的加工方法,借助切削的手段,用以制作一体结构的扬声器导磁座。The main purpose of the present invention is to overcome the deficiencies and defects of the prior art, and use appropriate processing methods and means of cutting to manufacture a magnetically permeable loudspeaker base with an integrated structure.
为达上述目的,本发明提供一种一体结构扬声器导磁座加工法,包括下列步骤:成型步骤:以适当手段制作预定座体态样;切削步骤:以适当的工具于座体内进行环状切削,使该座体内具有一窄沟深槽的环形槽,而让该座体中央形成有一柱状体,并与周缘壁面保有适当间距的一体结构。In order to achieve the above purpose, the present invention provides a processing method for a magnetically permeable speaker with an integrated structure, which includes the following steps: forming step: making a predetermined shape of the seat body by appropriate means; cutting step: performing circular cutting in the seat body with appropriate tools, An annular groove with a narrow groove and a deep groove is formed in the base body, and a columnar body is formed in the center of the base body, and an integral structure is kept at a proper distance from the peripheral wall surface.
所述该成型步骤中的适当手段,可为锻造或冲压成型或其它等效的成型方法。The appropriate means in the forming step can be forging or stamping or other equivalent forming methods.
所述该切削步骤中的工具为一于密闭外方无逃屑空间内仍可以排出切削废屑的切割刀。The tool in the cutting step is a cutting knife that can still discharge cutting waste in the airtight outer space without chip escape.
附图说明Description of drawings
图1为现有扬声器导磁座的剖面分解示意图;Fig. 1 is the cross-sectional exploded schematic view of the existing loudspeaker magnetic permeable seat;
图2为现有扬声器导磁座的组合剖面示意图;Fig. 2 is a combined cross-sectional schematic diagram of an existing loudspeaker magnetic base;
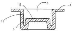
图3为本发明的立体示意图;Fig. 3 is the three-dimensional schematic diagram of the present invention;
图4为本发明的剖面示意图;Fig. 4 is a schematic cross-sectional view of the present invention;
图5为本发明的制造加工方法流程图。Fig. 5 is a flowchart of the manufacturing and processing method of the present invention.
图中符号说明Explanation of symbols in the figure
a 成型步骤a Forming steps
b 切削步骤b cutting step
1 座体1 seat body
11 内壁面11 Inner wall surface
13 柱状体13 columnar body
3 凹入空间3 recessed space
5 环形槽5 ring groove
具体实施方式Detailed ways
下面结合附图和实施例详细说明本发明的具体实施方式。The specific implementation manner of the present invention will be described in detail below in conjunction with the accompanying drawings and examples.
请参阅图3及图4所示,为本发明外观立体及剖面示意图,如图所示,本发明的一体结构扬声器导磁座,其包括有一座体1,该座体1由适当制作方法所制成的预设形态,其内并具有一凹入空间3,而于该座体1上的凹入空间3与座体1内的内壁面11交界处,开设一窄沟深槽的环形槽5,并使其凹入空间3内形成一柱状体13,如此便形成一体结构的扬声器导磁座。Please refer to Fig. 3 and Fig. 4, which are three-dimensional and cross-sectional schematic diagrams of the appearance of the present invention. As shown in the figure, the integrated structure speaker magnetic seat of the present invention includes a
请参阅图5所示,为本发明的制造加工方法流程示意图,如图所示,上述的一体结构的扬声器导磁座使用以下的制造加工方法来制成,其主要由二步骤来完成,首先为成型步骤a,其后经切削步骤b后形成一体结构的扬声器导磁座;其中,Please refer to Fig. 5, which is a schematic flow chart of the manufacturing and processing method of the present invention. As shown in the figure, the above-mentioned monolithic loudspeaker magnetic permeable seat is made using the following manufacturing and processing method, which is mainly completed by two steps. First Forming step a, followed by cutting step b to form an integrated speaker magnetic seat; wherein,
成型步骤a:以适当手段制作预定座体1态样;该适当手段,可以锻造或冲压成型或其它等效的成型方法。Forming step a: making a predetermined shape of the
切削步骤b:以适当的工具于座体1内进行环状切削,使该座体1内具有一窄沟深槽的环形槽5,并让该座体1中央形成有一柱状体13,该柱状体13便与座体内壁面11保有环形槽5宽度间距,以使套设于扬声器导磁座1柱状体13上的振动膜(图中未示),借助该环形槽5及柱状体13可轴向作动。Cutting step b: Carry out annular cutting in the
另外,该切削步骤a中所述的工具为一于密闭外方空间内,仍可以排出切削废屑的切割刀,该切割刀设计有一具适当斜角的刀刃,用以引导切削过程中的废屑,向切割刀内集中,并经由其上所设计的贯穿孔道而将废屑排出,因此,依本加工法再配合可于密闭外方空间中排屑的切割刀,即可制作一体结构的扬声器导磁座,而借助此种方法制成的扬声器导磁座,于座体1的密闭凹入空间3内,一次切削完成窄沟深槽的环形槽5,如此可使整个座体为一体完成的单件形式,无传统制法扬声器导磁座有接合间隙的缺点,且更可使导磁效率达到100%,以有效提高效能。In addition, the tool described in the cutting step a is a cutting knife that can still discharge cutting waste in a closed external space. The cutting knife is designed with a blade with an appropriate bevel angle to guide the waste during cutting. Chips are concentrated in the cutting knife, and the waste chips are discharged through the through hole designed on it. Therefore, according to this processing method and a cutting knife that can discharge chips in a closed external space, a one-piece structure can be produced. The speaker magnetic base, and the loudspeaker magnetic base made by this method, in the airtight recessed space 3 of the
由以上较佳具体实施例的详述,希望能更加清楚描述本发明的特征与精神,而上述所揭露的较佳具体实施例并非对本发明的范畴的限制。相反地,上述的说明以及各种改变及均等性的安排皆为本发明所欲受到保护的范畴。因此,本发明所申请的权利要求的范畴应该根据上述的说明作最宽广的解释,并涵盖所有可能均等的改变以及具均等性的安排。From the above detailed description of the preferred embodiments, it is hoped that the characteristics and spirit of the present invention can be described more clearly, and the preferred embodiments disclosed above do not limit the scope of the present invention. On the contrary, the above description and various changes and equivalent arrangements are all within the scope of protection of the present invention. Therefore, the scope of the claims applied for in the present invention should be interpreted in the broadest way based on the above description, and cover all possible equivalent changes and equivalent arrangements.
| Application Number | Priority Date | Filing Date | Title |
|---|---|---|---|
| CNA021305765ACN1476276A (en) | 2002-08-16 | 2002-08-16 | Integrated structure loudspeaker magnetic conduction seat and processing method thereof |
| Application Number | Priority Date | Filing Date | Title |
|---|---|---|---|
| CNA021305765ACN1476276A (en) | 2002-08-16 | 2002-08-16 | Integrated structure loudspeaker magnetic conduction seat and processing method thereof |
| Publication Number | Publication Date |
|---|---|
| CN1476276Atrue CN1476276A (en) | 2004-02-18 |
| Application Number | Title | Priority Date | Filing Date |
|---|---|---|---|
| CNA021305765APendingCN1476276A (en) | 2002-08-16 | 2002-08-16 | Integrated structure loudspeaker magnetic conduction seat and processing method thereof |
| Country | Link |
|---|---|
| CN (1) | CN1476276A (en) |
| Publication number | Priority date | Publication date | Assignee | Title |
|---|---|---|---|---|
| CN102710379B (en)* | 2004-05-07 | 2016-01-27 | 美商内数位科技公司 | MAC entity and in MAC entity the method for deal with data |
| Publication number | Priority date | Publication date | Assignee | Title |
|---|---|---|---|---|
| CN102710379B (en)* | 2004-05-07 | 2016-01-27 | 美商内数位科技公司 | MAC entity and in MAC entity the method for deal with data |
| Publication | Publication Date | Title |
|---|---|---|
| US11305277B2 (en) | Micro-structured mold-core of microfluidic chip and its manufacturing method | |
| CN112738668B (en) | A speaker housing and 3D printing manufacturing process thereof | |
| JPH10108424A (en) | Housing for spindle motor and its manufacturing method | |
| CN1476276A (en) | Integrated structure loudspeaker magnetic conduction seat and processing method thereof | |
| CN106311868B (en) | A method of reducing diamond penetrator nanoimprint unilateral side pore-forming deviation from circular from | |
| CN112296615B (en) | O-shaped sealing ring die and machining process thereof | |
| CN105312857A (en) | Mobile phone shell processing process, mobile phone shell and mobile phone | |
| TW569635B (en) | Speaker magnetic stand with integral structure and the working method thereof | |
| CN202894451U (en) | Vertical-type disc milling cutter | |
| CN211415792U (en) | Processing die | |
| CN105290740A (en) | A processing procedure of an automobile sealing cover | |
| CN216576742U (en) | Small-opening turning tool for cone | |
| HK1063265A (en) | Chassis for magnet assembly in loudspeaker | |
| JP2009039850A (en) | Manufacturing method of carrier plate | |
| CN204545291U (en) | A kind of used in composite insulator cap nest metal-ware forging molding mould | |
| CN109702256B (en) | A kind of processing method of mobile terminal receiver groove body | |
| CN202668168U (en) | Aluminum honey comb machining clamping fixture | |
| CN202804212U (en) | Finish machining molding cutter | |
| CN209256407U (en) | A kind of vacuum chuck fixture for preformed soldering | |
| CN105880446B (en) | A kind of forming method of woodworking drill blank | |
| CN207145176U (en) | A kind of multiaspect labyrinth seal piston ring | |
| CN204545465U (en) | The different in nature cutter of processing aero-engine guide ring inwall back-off | |
| CN211413739U (en) | Boring device for producing air compressor air pump valve plate | |
| CN205869358U (en) | Forming Punch Structure and Workpiece of Punching Forging Die | |
| CN205184293U (en) | CNC horn hole processing system |
| Date | Code | Title | Description |
|---|---|---|---|
| C06 | Publication | ||
| PB01 | Publication | ||
| C10 | Entry into substantive examination | ||
| SE01 | Entry into force of request for substantive examination | ||
| REG | Reference to a national code | Ref country code:HK Ref legal event code:DE Ref document number:1063265 Country of ref document:HK | |
| C02 | Deemed withdrawal of patent application after publication (patent law 2001) | ||
| WD01 | Invention patent application deemed withdrawn after publication | ||
| REG | Reference to a national code | Ref country code:HK Ref legal event code:WD Ref document number:1063265 Country of ref document:HK |