Movatterモバイル変換


[0]ホーム

URL:


CN1447058A - Device for illuminating indoors by using sunlight - Google Patents

Device for illuminating indoors by using sunlight
Download PDF

Info

Publication number
CN1447058A
CN1447058ACN 02116216CN02116216ACN1447058ACN 1447058 ACN1447058 ACN 1447058ACN 02116216CN02116216CN 02116216CN 02116216 ACN02116216 ACN 02116216ACN 1447058 ACN1447058 ACN 1447058A
Authority
CN
China
Prior art keywords
bidimensional
light
concentrator
sunlight
lighting equipment
Prior art date
Legal status (The legal status is an assumption and is not a legal conclusion. Google has not performed a legal analysis and makes no representation as to the accuracy of the status listed.)
Pending
Application number
CN 02116216
Other languages
Chinese (zh)
Inventor
谭洪源
Current Assignee (The listed assignees may be inaccurate. Google has not performed a legal analysis and makes no representation or warranty as to the accuracy of the list.)
Individual
Original Assignee
Individual
Priority date (The priority date is an assumption and is not a legal conclusion. Google has not performed a legal analysis and makes no representation as to the accuracy of the date listed.)
Filing date
Publication date
Application filed by IndividualfiledCriticalIndividual
Priority to CN 02116216priorityCriticalpatent/CN1447058A/en
Publication of CN1447058ApublicationCriticalpatent/CN1447058A/en
Pendinglegal-statusCriticalCurrent

Links

Images

Landscapes

Abstract

This invention discloses a sunlight collecting device composed of a two-dimensional tracer, optical collector, an indirect reflector, two-dimensional adjust reflector, reflecting mirror mounted outside of a window of a place necessary for collecting light, solar energy photo-voltaic battery, photosensitive sensor, coder and central controller. After the optical collector collects direct sunlight, the indirect reflector corrects it to be parallel light to be reflected to a definite place and reflected indoor by the reflection mirror. The device motion is controlled by the central controller and a coder is mounted on the operating motor to record the motor operation angle.

Description

Utilize sunlight to carry out the device of room lighting
Technical field
The present invention relates to a kind of sunlight be conducted to indoor sunlight lighting equipment, especially a kind of can be from the motion tracking sun, direct sunlight converged and filtering part ultraviolet ray and infrared ray after be transferred to the indoor device that is used as illumination, the genus technical field of solar utilization technique.
Background technology
Not only a large amount of energy can be saved at the indoor sunlight that uses as much as possible, and indoor environmental quality can be improved.Be accompanied by human history of building the house, daylighting just is the building field key factor that institute must consideration in design and when building always.The irradiation of sunlight angle is along with the variation of time is changing, and all can change in different seasons, different weather irradiation of sunlight situations, so for a building, the lighting quantity of different time and lighting angle are different.This variation characteristic of sunshine can not satisfy people and carry out the demand of work in the daytime, so in the urban architecture of modern building-especially, often when the external world is sunny, also utilizing artificial light sources to throw light on.In addition, scientific research confirms that natural daylight is highly profitable to health, and people's operating efficiency can be greatly improved in the environment of available light illumination.Therefore, sunshine is used for illumination, not only can saves a large amount of energy, and be of value to health.
Existing active sunlight lighting equipment generally is made of several sections such as concentrator, drive transmission, sensor, controller and light transmitting devices, these install, and often cost is higher, and can not satisfy the demand of high floor, large tracts of land building intraoral illumination, cause being not suitable for the marketization and promote.Find by retrieval, the patent application that electrical machinery of Japanese sanyo Co., Ltd. disclosed in China on March 27th, 1996, application number is 95107312.5, name is called " sunlight collecting apparatus and control the sunlight collecting control device of this sunlight collecting apparatus ", having introduced this lighting equipment in the literary composition is the polylith prism plate to be installed in the lighting device in accordance with regulations at interval rotate, prism angle according to prism plate is controlled in the height and the orientation of the sun makes sunshine be refracted according to a fixing direction all the time.Whole device is made of prism plate, the drive unit, supportive device and the daylighting control device that are complementary with prism plate.The major defect of this device is: only be applicable to the room that directly is in building undersurface of roof floor; In the morning with the moment at dusk, the intensity of illumination of sunlight is less relatively, because this device light receiving surface is bigger with angle between the sunlight direct light, so these constantly can import indoor light seldom, and these are that daylighting is the most not enough in the building constantly, mainly be because the daylighting face of this device has only the rotation of one dimension direction, can not utilize the effective area of daylighting face to greatest extent.In addition, this device is installed in the top of building, in order to obtain bigger light collecting amount and to transport light to indoor, need chisel with light at building top and accept the hole that the face area equates, this will destroy the building structure of building top, and, the hole of opening is big more, its cost is also just high more, and hole is excessive simultaneously also brings security hidden trouble, because the robber is easy in the hole inlet chamber of device.So the market-oriented feasibility of this product is less.
Japan gloomy respects that to disclose application number in China be 89102552, name is called the patent of " solar ray collecting device ", this device utilizes Automatic Control Theory to make as the lens of ray-collecting unit and aims at the sun all the time, lens converge to less area with the direct light of the sun, are needed the place of daylighting in the building by fiber optic transmission.Though fibre-optic light transmissioning efficiency is higher, and softly be beneficial to installation, it is with high costs.Some research institutions adopt plastic optical fiber or liquid core optical fiber to replace traditional many components glass optical fiber and silica fibre to carry out the transmission of light to reduce the optical fiber cost at present, but plastic optical fiber is easily aging under the irradiation of sunlight middle-ultraviolet lamp, and the life-span is shorter; The liquid-core optical fibre temperature tolerance is relatively poor, and use length can not be long, and effect is also undesirable.
More than two kinds of devices all can not satisfy the demand of high floor, large tracts of land building, and this high floor, large-area building are common architecture forms the most in the modern city, also be to the most urgent construction style of daylighting demand, so above two kinds of devices can not adapt to the existing market demand well.In addition, the sunlight lighting equipment generally all needs to be installed in top of building, for high floor building, the building in unit place mean allocation to the building top area be limited, so the sunlight resource that traditional reflection-type lighting equipment that is installed in the positive side of the building back of the body is gathered is just more limited, can not satisfy the demand of large tracts of land daylighting.
Aspect automatic control, existing active sunshine lighting equipment is generally by the tracking of following two kinds of principles realization to the sun:
A kind of is to utilize clock calculation control.Control system drives driving arrangements such as actuating motor according to predefined timing routine, realize that daylighting equipment is to sun altitude and the tracking of azimuthal bidimensional.This control method is mainly used in tracking accuracy is required lower place, mainly be because the clock in the control system is generally with existing error between the solar time, and this error has build-up effect.
Another kind of using at present more widely that method is to utilize sensitization to survey the position that FEEDBACK CONTROL is come the The real time measure sun, realize tracking to the sun by feedback control principle, exactly, is realization to the tracking of high light signal.With respect to clock calculation control, this control method is more accurate, but also has following shortcoming: if sky is lived by obnubilation, control system can not get the input signal of sensor, realizes the continuous tracking to position of sun with having no idea.When cloudy weather conditions, it is far away that the marginal portion brightness of cloud may become high light light, what at this moment system was followed the trail of will not be position of sun, if the number of sensors of being installed in the device is less, the azimuth coverage that is covered is little, after waiting until that so the sun comes out, control system has no idea to continue the position of sun-tracing probably, and this tracking makes the flickering situation of indoor appearance easily.
These two kinds of bidimensional tracking controls all can not satisfy the demand that apparatus of the present invention realize large tracts of land daylighting control well.
The noticeable fact of another one is: existing sunshine lighting device is not effectively controlled for introducing indoor sunlight spectrum.In the sunlight except visible light, also contain a large amount of infrared rays and ultraviolet ray, wherein ultrared heat energy is higher, if guide to infrared ray indoor season in the weather sweltering heat indiscriminately, indoor temperature is raise, increase energy consumption for cooling, not only can not save the energy in this case, can increase energy resource consumption on the contrary; Contain a large amount of ultraviolet rays in the sunlight,, will damage human body if ultraviolet ray is introduced indoorly indiscriminately.
Summary of the invention
Primary and foremost purpose of the present invention is in order to overcome the above problem and shortage of mentioning equipment, a kind of economical and practical sunlight daylighting lighting device is provided, this device not only can adapt to multiple construction style, satisfy the daylighting demand of large tracts of land building, sunlight is transferred to the place of any needs, and can maximally utilise the light receiving area of equipment, maximally utilise the limited resources of top of building or day side wall simultaneously.The device stable and reliable operation can not make the flickering phenomenon of indoor appearance.
Another object of the present invention is: the spectrum of introducing indoor sunlight is selected, avoided introducing too much infrared ray and causing the rising of indoor temperature and introduce too much ultraviolet ray human body is damaged in season of weather sweltering heat.
Further again purpose of the present invention is: providing a kind of will need the infrared ray of filtering to be converted into electric energy in the sunlight, the method in auxiliary energy source is provided for the driving of equipment.
The technical solution adopted for the present invention to solve the technical problems is:
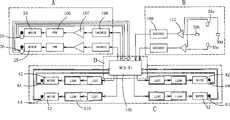
Back of the present invention channel-type optically focused lighting equipment by the bidimensional tracker, be installed in concentrator on the bidimensional tracker, be installed in secondary reflector on the concentrator, be installed in bidimensional on the concentrator and regulate the triple reflection device, be installed in bidimensional on the building and regulate four secondary reflectors, be installed in and need daylighting place five secondary mirror, photosensitive sensor, encoder, central control system outside window to form.The major function of device is that the light after the large tracts of land concentrator is converged is proofreaied and correct to utilizing principle of reflection to grow Distance Transmission behind the directional light.
The light reflection surface of concentrator is parabolic, secondary reflector is installed near the focus of concentrator, the direct sunlight line that is parallel to the parabolic geometrical axis of concentrator converges through concentrator reflection back, light after converging is that light after the reflex of paraboloidal secondary reflector will converge becomes directional light by reflecting surface, this bundle directional light is transferred to bidimensional with the direction vector identical with direct sunlight and regulates triplex reflector, bidimensional is regulated the triple reflection device optical angle of mirror surface is regulated, reflect light to bidimensional and regulate four secondary reflectors, the mirror reflects of regulating four secondary reflectors by bidimensional is to five secondary mirror, by five secondary mirror light reflexed on the indoor ceiling dispersedly and realizes indoor illumination.Directional light after the building edge less mirror reflects of an erection space converges not only can effectively reduce cost, and has made full use of the limited use resource of top of building.
The mirror mirror that secondary reflection mirror and bidimensional are regulated the triple reflection device carries out Cold Mirrors plated film (cold mirror coating) processing, make 90% visible light be reflected by this film plating process, 80% infrared light penetration minute surface and the photovoltaic cell that is installed in the mirror surface rear are converted into electric energy.The outside of regulating the triple reflection mirror device at bidimensional is equipped with protective cover, and protective cover is made by absorbing ultraviolet transparency material, as glass, lucite etc., can adopt commercial product, utilizes protective cover to absorb 90% ultraviolet ray.
The concentrator of back channel-type optically focused lighting equipment is installed on the bidimensional tracker, comprises two actuating motors in the tracker, and one of them is responsible for controlling the motion of concentrator horizontal direction, is horizontal motor; Another actuating motor is responsible for controlling the motion of concentrator pitch orientation, is pitching motor.Control system is controlled two motors and is made concentrator all the time over against the direct sunlight direction by mechanical transmission mechanism.Actuating motor is dc motor or stepping motor.Actuating motor is by the mechanical mechanism of reducing gear driving tracker, and reducing gear has locking function, can select worm and gear structure and feed screw nut's structure to realize.
The basic structure of the bidimensional accommodation reflex mirror that uses in the back channel-type optically focused lighting device is identical, according to the difference of installation site profile and size is done corresponding adjustment.Speculum is determined the position by three strong points, and wherein two strong points are connected on two torque type actuating motor axles that are installed on the support by universal joint, and the another one strong point is connected on the fixed support of support by universal joint.Motor can be complied with external force and change the position at two-dimensional direction, transmission mechanism is a leading screw and nut mechanism, wherein nut is fixed on the actuating motor rotor, screw mandrel advances perpendicular to direction of motor rotation or retreats when actuating motor rotates, by universal joint pulling speculum, mirror reflection surface is adjusted to predetermined angular.Actuating motor can be dc motor or stepping motor.
Each actuating motor that uses in the device is all installed encoder, encoder adopts rotary transformer or photoelectric encoder, the effect of encoder is whenever fixing angle of motor shaft rotation, pulse of encoder output is to processor, processor is stored number of pulses corresponding to each encoder, and determines the position of mechanical mechanism that corresponding actuating motor drives according to the umber of pulse of these accumulations.
The work of device is to finish under the control by control system, and concrete control mode is as follows:
System feeds back to combine by clock calculation control and photosensitive sensor to the tracking of position of sun and realizes that dual control, main purpose are to improve the tracking accuracy of device, prevent the situation that indoor appearance is flickering.In order to reduce equipment cost, can adopt single sensitization sensory feedback control or clock calculation control to reach result of use.Dual control procedure is: photosensitive sensor is evenly distributed and is installed near the concentrator focus, and equates with the distance of the light after converging.At bright day gas, a plurality of photosensitive sensors can not receive light after concentrator converges during perpendicular to direct sunlight at concentrator, the light intensity signal that is produced is identical, after position of sun changes, the light that concentrator converges departs from the optic axis of concentrator, be radiated on wherein a part of photosensitive sensor, the signal of telecommunication that these sensors produce changes, central processing unit judges that by the size that compares each photosensitive sensor transmission signal concentrator departs from the direction of direct sunlight, send for then the corresponding actuating motor of bidimensional tracker and drive signal, actuating motor drives the bidimensional tracker, makes concentrator again perpendicular to direct sunlight.Simultaneously, central processing unit receives the pulse of beaming back from the encoder on the bidimensional tracker actuating motor, by the accumulation acquisition concentrator positional information of umber of pulse in the memory.Central controller utilize local time that system clock provides and and the following formula of local latitude information utilization calculate elevation angle and azimuth of each moment sun:
sin(h)=sina()×sin(δ)+cos()×cos(δ)×cos(ωt) (1)
Sun altitude h calculates:
Wherein shows local latitude, and δ represents the declination angle, and ω represents solar hour angle, and t represents the time.
Solar azimuth A calculates:sin(A)=cos(δ)sin(ωt)cos(h)----(2)
When the result who adopts this formula to calculate greater than 1 the time, or the absolute value of sin (A) is hour, uses following formula instead and calculates:
Figure A0211621600062
(30 seconds to 30 minutes) at regular intervals, central controller calculates the azimuth and the elevation angle of sun this moment by program, ask poor with the azimuth and the elevation angle of the previous time period sun, if during this period of time photosensitive sensor does not have error signal to return, then explanation does not have direct sunlight at this moment, the sun may be blocked by cloud layer, central processing unit calculates the angle that actuating motor should move in the bidimensional tracker according to the variation difference of during this period of time azimuth and elevation angle, actuating motor to the bidimensional tracker sends the driving signal then, and according to the run location situation that is installed in the encoder judgement motor on the motor shaft.We can realize round-the-clock tracking to position of sun in this way, especially in cloudy weather, after the sun was blocked by cloud layer in a period of time, device still can continue position of sun is followed the trail of according to the clock calculation control principle, by the time after the sun comes out again, can proceed the collection of sunlight at once, not have the situation generation that to follow the tracks of, thereby improve the reliability of equipment.
Central controller is when control bidimensional tracking means is followed the tracks of the sun, need regulate triple reflection device and bidimensional to bidimensional and regulate the speculum of four secondary reflectors and carry out the adjusting of optical angle, this adjusting action is to drive screw mandrels and realize by being installed in two actuating motors on the bidimensional accommodation reflex mirror.Central controller is judged the situation of current concentrator according to being recorded in the memory numerical value of pitching motor and the accumulation of horizontal motor encoder in the bidimensional tracker, each motor that calculates each bidimensional adjuster by fixing algorithm should the present position, and pass through each motor of driver drives, and obtain each bidimensional tunable reflector reflector position by encoder feedback.
All control systems of device are all passed through central controller controls.The optically focused lighting device value volume and range of product of using in a building can adopt an Industry Control terminal that all devices is carried out unified management more for a long time, so promptly can reduce whole possessing cost, and can realize the unified control to whole architectural lighting; If the equipment that adopts is more after a little while, can adopt each equipment that independent control module--the mode of single-chip microcomputer of one cover is installed, also reduce cost when reducing the equipment control demand.These control required hardware product all industrial control field marketization product, can be built into control system easily in many ways according to above control principle.
On the basis of back channel-type optically focused lighting equipment, the present invention also be the floor negligible amounts, and aspect is long-pending big, the architectural design of the use sunlight daylighting pipeline daylighting of having ready conditions prepass formula optically focused lighting equipment.The opticator of prepass formula optically focused lighting device is installed in the optical table awl on the concentrator by concentrator, is installed in the plus lens on the optical table awl, and the bidimensional that is installed on the optical table awl is regulated secondary reflector, and the path channels that runs through top of building is formed.Parabolic condenser converges after direct sunlight is reflected, the optical table awl is placed near the concentrator focus, anaclasis after being installed in plus lens on the optical table awl concentrator being converged is a directional light, the mirror reflects that directional light process bidimensional behind this Shu Huiju is regulated secondary reflector directly is used as illumination to path channels after dispersing in the path channels inlet chamber.The bidimensional of prepass formula optically focused lighting equipment is regulated the secondary reflector mirror surface through the Cold Mirrors coating film treatment, and can absorb ultraviolet transparency material in the part use of path channels reception light, reaches filtering infrared ray and ultraviolet purpose.
Further improvement on such scheme of the present invention basis is: fibre-optic bundle is installed at the light-path entrance place at prepass formula optically focused lighting device, regulate the direct coupled into optical fibres of light that the secondary reflector reflection comes by bidimensional, transport light to the place that needs by optical fiber; In the channel-type optically focused lighting device of back, replace five secondary mirror with fiber coupler, after regulating light that the speculum of four secondary reflectors transmits and converge by bidimensional by the condenser of fiber coupler, be coupling in fibre-optic incident end, transport light to the place that needs by optical fiber.The characteristics of fibre-optic bundle are soft, the light transmissioning efficiency height, and unit plane stow luminous flux is big, has mounting means flexibly, can satisfy different lighting demands, and is especially suitable as the building of light route of transmission for there not being door and window.According to this improvement design, use fibre-optic bundle to carry out the light transmission manner more fully and can save a large amount of optical fiber, reduced cost.Light filtering by fibre-optic bundle transmission simultaneously most of infrared ray and ultraviolet ray, the light of these two kinds of wavelength is bigger to the influence in service life of fibre-optic bundle, can prolong fibre-optic bundle service life.Also just because of this reason, device can the highest polymer optical fibers of serviceability price ratio.Fibre-optic bundle can be many components glass optical waveguide fibre, silicon fiber, polymer optical fibers, liquid core optical fiber etc.
What deserves to be mentioned is that the concentrator in the technique scheme can adopt parabolic condenser, also can adopt Fresnel Lenses or other light collecting devices as concentrator.
The invention has the beneficial effects as follows: the large tracts of land concentrator of apparatus of the present invention needn't be installed in the top of building edge, maximally utilises the effective resource of top of building; The condenser of device can maximally utilise aggregator and gather sunlight all the time over against sunlight, has improved equipment efficiency of usage; Use metallic-membrane plating reflector that infrared ray is separated with visible light in equipment, the ultraviolet ray in the sunlight that utilized the protective cover filtering makes light in the inlet chamber more meet people's demand; Utilize solar-energy photo-voltaic cell to be converted into electric energy infrared ray, improved energy utilization efficiency; Adopt photosensitive sensor FEEDBACK CONTROL and clock calculation to control dual control, the combining adaptive control principle makes the operation of equipment more stable, can adapt to various Changes in weather; The position that equipment is installed is more flexible, can adapt to the demand of various construction styles, especially can be applied to numerous high building at present, and solve existing sunlight lighting equipment and can only be applied to low-rise building, and need be to the situation of building top structural deterioration; Device of the present invention transmits after sunlight is converged, and has reduced the secondary reflection device size, avoids or use as few as possible optical fiber, has lowered cost significantly.In sum, design of the present invention is scientific and reasonable, is fit to the large tracts of land daylighting demand of various construction styles, is the complete daylighting solution of a cover, will produce high social and economic benefit after the popularization.
Description of drawings
Below in conjunction with drawings and Examples the utility model is further specified.
Fig. 1 is the embodiment of the invention one a back channel-type optically focused lighting equipment construction and installation exemplary plot.
Fig. 2 is a back channel-type optically focused lighting equipment concentrator side view.
Fig. 3 is a bidimensional tracker outside drawing.
Fig. 4 is a bidimensional tracker vertical section organigram.
Fig. 5 is a back channel-type optically focused lighting equipment secondary reflector structural map.
Fig. 6 is that back channel-type optically focused lighting equipment bidimensional is regulated triple reflection device structure principle chart.
Fig. 7 is bidimensional accommodation reflex device actuating motor and photoelectric encoder mounting means schematic diagram.
Fig. 8 is that back channel-type optically focused lighting equipment bidimensional is regulated four secondary reflectors structure principle charts.
Fig. 9 is back channel-type optically focused lighting equipment five secondary mirror structural representations.
Figure 10 is embodiment one back channel-type optically focused lighting equipment control device circuit theory diagrams.
Figure 11 is that embodiment two prepass formula optically focused lighting equipments are with embodiment one back channel-type optically focused lighting equipment construction and installation schematic diagram.
Figure 12 is embodiment two prepass formula optically focused lighting equipment structural representations.
Figure 13 is embodiment two a prepass formula optically focused lighting equipment optical tablees awl vertical section organigram.
Figure 14 is Figure 12 A-A cutaway view.
Figure 15 is the back channel-type optically focused lighting equipment structural representation of the employing Fresnel Lenses concentrator of embodiment three.
Figure 16 is that the prepass formula optically focused lighting equipment of embodiment four utilizes fiber optic transmission light construction and installation schematic diagram with back channel-type optically focused lighting equipment.
The specific embodiment
Embodiment one:
In Fig. 1, Fig. 2, thebidimensional tracker 3 of back channel-type optically focused lighting equipment is fixedly mounted on the top ofbuilding 9,parabolic condenser 4 is installed on thebidimensional tracker 3,secondary reflector 5 is fixed on the focus ofparabolic condenser 4 by threesupport bars 6, bidimensional is regulatedtriple reflection device 8 all is inparabolic condenser 4 withsecondary reflector 5 optic axis X-X, bidimensional is regulated four secondary reflectors and is fixed on the edge at building 9 tops bysupport bar 15, and fivesecondary mirror 12,96 are fixed on bysupport bar 16,94 respectively needs indoor 14,97 the window of daylighting 13,95 outsides.Bidimensional tracker 3 drivesparabolic condenser 4 all the time over against the sun 1, make thedirect projection light 2 of the sun 1 be parallel to the optic axis X-X ofparabolic condenser 4,direct sunlight 2 converges insecondary reflector 5 surfaces after reflecting throughparabolic condenser 4,secondary reflector 5 light reflection surfaces are parabolic, the surface is through the Cold Mirrors coating film treatment, 90% visible light shines speculum 17 (Fig. 2) surface that bidimensional is regulatedtriple reflection device 8 through becoming directional light 7 after reflecting, bidimensional is regulated the triple reflection device is adjusted speculum 17 under the control of control system optical angle, directional light 7 is reflexed to thespeculum 11 that bidimensional is regulated foursecondary reflectors 10, bidimensional is regulated the optical angle that foursecondary reflectors 10 are adjustedspeculum 11 under the control of control system, reflect light to fivesecondary mirror 12, by fivesecondary mirror 12,96 with light respectively divergently bywindow 13,95 reflect into indoor 14,97.In Fig. 1, in order clearly to represent the course of light, with dashed lines has been represented the path of light continuously and has been indicated direction with arrow.
In Fig. 3,bidimensional tracker 3 is connected withparabolic condenser 4 by connectingplate 18, thesupport arm 20 that horizontally rotatesdish 19 is connected with connectingplate 18 hinges, and limitingplate 22 is fixed on theelevating movement axle 21, and the both sides of connectingrod 23 are connected with connectingplate 18 hinges withlimiting plate 22 respectively.Adopt limitingplate 22 and connectingrod 23 this connected modes the elevating movement of concentrator can be limited in 0~90 ° of scope.
In Fig. 4,pitching motor 24 is fixed on the dividingplate 35, andgear 28 is fixedly mounted on 24 of the pitching motors, the transmission of pitch axis is feed screw nut's transmission mechanism, in order to improve transmission efficiency, can adopt ball wire rod mechanism, and supporting use freewheel clutch is realized fromtrivial function.Gear 30 fixedly connectedscrew mandrels 31,nut 33 are fixed on elevatingmovement axle 21inner chambers 37 middle parts,nested screw mandrel 31 mountingspring 32 betweenelevating movement axle 21 and dividing plate 35.Whenpitching motor 24 rotates,screw mandrel 31 is rotated, and then make with the fixedly connectedelevating movement axle 21 ofnut 33 in movement in vertical direction bygear 28 meshing gears 30.The effect ofspring 32 is to offset the pressure of parabolic concentrator weight to nut in the big angle of pitch.Photoelectric encoder component 29 is installed, for control system provides feedback signal on the motor shaft of pitching motor 35.Horizontal motor 25 is fixed on thesupport 36, and the transmission of trunnion axis adopts Worm and worm-wheel gearing,worm screw 27 to be connected on 25 in the horizontal motor, andworm gear 34 is fixed on and horizontally rotates on the dish 19.Photoelectric encoder component 26 is installed, for control system provides feedback signal on the motor shaft ofhorizontal motor 25.
Secondary reflector speculum 38 is a parabolic mirror in Fig. 5, be installed on thesecondary reflector support 41 according to hookup wire position among the figure, even four theoptical sensor 39a~39d that distribute install solar-energy photo-voltaic cell 40 at the minute surface rear ofsecondary reflector speculum 38 around support.Secondary reflector speculum 38 matrixes are transparent material, as glass, lucite etc., the Cold Mirrors coating film treatment is carried out on the surface, can reflect 90% visible light, allow 80% infraredray penetration mirror 38, the infrared light that sees through is converted into electric energy by solar-energy photo-voltaic cell 40.
Protective cover 55 is made by the transparent base material in Fig. 6, can be glass, lucite etc., adopts filter ultraviolet lucite to make in the present embodiment, and this material can absorb 90%ultraviolet ray.Support 57 1 ends are supported and are fixed on theprotective cover 55 bypole 56, and the other end is fixed on theprotective cover 55 byfixed bar 51, and actuatingmotor 42,54 is installed in (mounting means is seen Fig. 7) on thesupport 57 in the rotatable mode of bidimensional scope.The kind of drive is feed screw nut's transmission, nut 58 (Fig. 7) is fixed on actuatingmotor 42,54 rotors,screw mandrel 44,43 is installed in theposition 47,48 that bidimensional is regulated triplereflection device speculum 49 byuniversal joint 46,45 positions according to hookup wire among the figure, andfixed bar 51 is installed in theposition 53 that bidimensional is regulated triplereflection device speculum 49 byuniversal joint 52 according to hookup wire position among the figure.It is transparency material that bidimensional is regulated triplereflection device speculum 49 matrix materials, and the Cold Mirrors coating film treatment is carried out on the surface, and the infrared light ofpenetration mirror 49 is by solar-energy photo-voltaic cell 50 absorptions and be converted into electric energy.After the decomposition throughsecondary reflector speculum 38 and 49 pairs of sunlight spectrum of bidimensional adjusting triple reflection device speculum, the infrared ray in the sunlight can drop to 16% of former intensity.
In Fig. 7, nut 58 is fixedlyed connected with the rotor of actuatingmotor 42, and actuating motor is connected with connecting ring 67 by Y direction rotating shaft 60, and connecting ring is connected withsupport 57 by directions X rotating shaft 59, and actuatingmotor 42 machines are carried can be at X, two free degree rotations of Y.Photoelectric coded disk 65 is fixedly connected and be installed on support 63 by axle 68 with gear 62, gear 61 is installed on support 63 by axle 69 and meshes with gear 62, twophotoelectric sensor assemblies 64 are installed on the support 63, and support 63 is installed in position 66 according to assembly line and makes gear 61 andscrew mandrel 44 engagements.When actuatingmotor 42 rotates, nut 58 makesscrew mandrel 44 produce change in displacement and driven gear 61, gear 61 driven gears 62 rotate photoelectric coded disk 65, equally distributed notch is arranged on the photoelectric coded disk 65, when a groove passes through two photoelectric sensor assemblies 64, sensor just produces a pulse, and using two photoelectric sensor assemblies is to detect for travel direction in the detection position.
In Fig. 8, principle and structure that bidimensional is regulated four secondary reflectors are identical with bidimensional adjusting triple reflection device, regulate the speculum 70 of triple reflection device at the not hot regional bidimensional of weather and can solar-energy photo-voltaic cell be installed without the Cold Mirrors coating film treatment.
In Fig. 9, fivesecondary mirror 12 are installed on thesupport bar 16, and five secondary mirror, 12 reflector shapes can determine that use spherical mirror in the present embodiment, the material of speculum can be selected multiple materials such as metal, glass silvering according to the demand that light is dispersed.
In Figure 10, device circuit is made up of bidimensional tracker control circuit district A, sensitization sensing circuit district B, bidimensional accommodation reflex device control circuit district C, central processing unit circuit region D.In the present embodiment,horizontal motor 25 of bidimensional tracker and pitchingmotor 24 are DC servo motor, and bidimensional is regulatedtriple reflection device 8 and bidimensional and regulated theactuating motor 42 that foursecondary reflectors 10 use and be stepper motor, single-chip microcomputer employing MCS8051.During control system work, whenparabolic condenser 4 reflectings surface during over against the sun 1, the light that converges insecondary reflector 5 surfaces can not shinephotosensitive sensor 39a~39d, what this moment, photosensitive sensor received is diffusion light of the sun, and the signal strength signal intensity that produces equates do not have differential wave to be sent tocentral processing unit 105; When position of sun changes, converge the back direct sunlight byparabolic condenser 4 and will depart from optic axis X-X,photosensitive sensor 39a, 39b, 39c, one or two sensor among the 39d will receive the irradiation of converging back light.
For example, 39a and 39c represent concentrator 4 optic axis X-X and sun altitude bias direction, when photosensitive sensor 39a is subjected to converging back light irradiation, the irradiation that remains diffusion light of the sun that photosensitive sensor 39c receives, the luffing angle that parabolic condenser 4 optic axis X-X are described is greater than sun altitude, 39a is different with the magnitude of voltage of 39c output, differential amplifier 112 transfers to central processing unit 105 through A/D converter 109 after difference signal is amplified, central processing unit 105 sends control data, and control data delivered to D/A converter 108, convert digital quantity to aanalogvoltage, and process transport and placing device IC107 is transported to PWN power amplifier (PWM) 106, drive the luffing angle that pitching motor 24 is adjusted parabolic condenser 4 by PWM106, equate with 39c output voltage signal value up to photosensitive sensor 39a, photoelectric encoder component 29 is to central controller 105 outupt coded signals in the motor rotation process, by the central controller record, and pass through the pitch position that coding calculates parabolic condenser 4.Simultaneously, central controller 105 is regulated triple reflection device and bidimensional according to predefined algorithm to bidimensional and is regulated the stepping actuating motor 42 of four secondary reflectors and send the driving signal, the integrated module type stepper motor driver of being made up of L297 and L298 110 is adopted in the driving of stepper motor in the present embodiment, the photoelectric encoder component 64 of bidimensional accommodation reflex device sends code signal to central controller 105 during 42 motions of stepping actuating motor, with the position of record bidimensional accommodation reflex device speculum.
If central controller does not receive the differential wave of photosensitive sensor in the time of a setting, illustrate that the sun is blocked by cloud layer, the parabolic concentrator lighting device does not receive the irradiation of direct sunlight line, central controller will calculate the elevation angle and the azimuth of sun this moment according to internal processes this moment, calculate elevation angle and azimuth the same a difference constantly of this moment then, and utilize this difference to calculate the horizontal motor of bidimensional tracker and pitching motor should traffic direction and the traffic direction and the operation angle of each motor of angle and two bidimensional accommodation reflex devices, utilize these result of calculations to drive each actuating motor then.
Central processing unit will calculate day angle of departure on the same day and the day angle of departure of solar depression angle and next day simultaneously, and set the bidimensional tracker according to result of calculation and follow the tracks of azimuthal limiting value, when position feedback information suggestion device during the value of reaching capacity, if photosensitive sensor does not have differential wave to transmit in setting-up time, device is adjusted toparabolic condenser 4 and is stopped after next everyday goes out angle, waits for the follow-up continuous realization tracking of next day sunrise.
What deserves to be explained is,, a plurality of photosensitive sensors can be installed in polarizers of big angle scope, and photosensitive sensor can utilize the sensitization to direct sunlight to produce differential wave in order to improve the equipment reliability of operation.
Embodiment two:
The prepass formula optically focused lighting equipment of present embodiment is to design for the near floor of distance top of building.
In Figure 11, prepass formula optically focused lighting equipment and back channel-type opticallyfocused lighting equipment 77 are installed in building 9 tops jointly.
Present embodiment is shown in Figure 12,13 and 14, the substantial structure and the embodiment one of prepass formula optically focused lighting equipment are basic identical, and its part is made up of parabolic condenser 71, bidimensional tracker 3, optical table awl 72, path channels 73 and photosensitive sensor 39a~39d, encoder and central control system.Parabolic condenser 71 is installed on the bidimensional tracker 3, and optical table awl 72 is fixed on the optic axis X-X of parabolic condenser 71 by three support bars 6, and path channels 73 runs through building 9 tops.Path channels is by transparent overhead guard 74, and reflecting plate 75 reflects pipeline 76, and emanator 78 constitutes, and the reflection inner-walls of duct adopts the polishing of aluminizing with the raising reflection efficiency, also can adopt silver-plated reflection pipeline.Direct sunlight line 2 converges after reflecting through parabolic condenser 71, by collector lens 79 corrections that are installed on the optical table awl 72 is directional light, infrared ray in the directional light sees through the speculum 81 of regulating secondary reflector 80 through the bidimensional of Cold Mirrors coating film treatment and is absorbed by solar photovoltaic cell panel 82 and be converted into electric energy, visible light in the directional light mirror 81 that is reflected reflexes to the reflector of path channels 73, by dispersing in path channels 73 inlet chambers and by emanator 78.Photosensitive sensor 39a~39d evenly distributes and is installed in around collector lens 79 is.
Control system, performer and transmission mechanism are identical with the basic structure in the back channel-type optically focused lighting equipment of embodiment one in the present embodiment.
Embodiment three:
In Figure 15, present embodiment replaces the parabolic condenser of back channel-type optically focused lighting equipment as the light focal element with FresnelLenses.Bidimensional tracker 3 is installed on the base plate 92, Fresnel Lenses group 83 is fixedly mounted on the base plate 92 by support 93, collector lens 84 is installed in the focus of Fresnel Lenses 83, speculum 86 is installed in the transparent shield 85, solar photovoltaic cell panel 87 is installed in transparent shield 85 bottoms, secondary reflector 88 is fixed on the base plate 92, and bidimensional is regulated triple reflection device 90 and connected with base plate 92 by three support bars 91.Direct sunlight line 98 mirror Fresnel Lenses 83 converge to collector lens 84, being proofreaied and correct by collector lens 84 is directional light, reflex to secondary reflection mirror 88 through speculum 86, reflex to the speculum 89 that bidimensional is regulated the triple reflection device by speculum 88 again, regulate in four secondary reflectors, the five secondary mirror inlet chambers through bidimensional then.It is basic identical with the back channel-type optically focused lighting equipment substantial structure of embodiment one that the bidimensional of present embodiment is regulated four secondary reflectors, five secondary mirror, central control system, performer and transmission mechanism.
What deserves to be explained is that oil-filled lens replaced Fresnel Lenses in the middle of the concentrator in the present embodiment can also adopt cheaply.
Embodiment four:
In Figure 16, the main distinction of present embodiment and the foregoing description is, after adopting the light collecting device identical that light is converged with embodiment one, two and three, used photo-coupler 99,102 to couple light into optical fiber 100,103 before in inlet chamber, transmit light to indoor back by optical fiber 100,103 and disperse by emanator 101,104.In the present embodiment, back channel-type optically focused lighting equipment is by five secondary mirror among photo-coupler and the optical fibre device replacement embodiment one, and prepass formula optically focused lighting equipment is by the path channels among photo-coupler and the optical fibre device replacement embodiment two.Present embodiment so significantly reduced fibre-optic usage quantity and length with using fibre-optic lighting equipment to compare fully, can reduce the cost that uses optical fibre illumination because the long Distance Transmission of light is mainly undertaken by reflection unit significantly.And, because the fiber lengths shortening, so can use liquid-core optical fibre as optical transmission medium.
Except the foregoing description, the present invention also has many other embodiments, for example adopts stepper motor to replace direct current generator in the bidimensional tracker, replaces the worm and gear transmission with harmonic wave, planetary reduction gear; In bidimensional accommodation reflex device, replace feed screw nut's structure with cam, hawser, lever construction; Use the control element of PLC or other kind central controllers and the actuating motor driver replacement embodiment of the invention etc.The technical scheme that this class is equal to replacement or equivalent transformation formation is protection scope of the present invention.

Claims (10)

1. one kind from the motion tracking sun, direct sunlight is converged and filtering ultraviolet ray and infrared ray after be transferred to the indoor sunlight lighting equipment that is used as illumination.Device by the bidimensional tracker, be installed in concentrator on the bidimensional tracker, be installed in secondary reflector on the concentrator, be installed in bidimensional on the concentrator and regulate triple reflection device, bidimensional and regulate four secondary reflectors, speculum, solar-energy photo-voltaic cell, photosensitive sensor, encoder, central controller and form.It is characterized in that: after concentrator converges direct sunlight, being proofreaied and correct by secondary reflector is directional light, bidimensional accommodation reflex device reflects light to the fixed location, and divergently is reflected into indoorly by speculum, and speculum separates infrared ray and infrared ray is converted into electric energy with visible light with ultraviolet ray.The motion of device is installed encoder with record motor operation angle by central controller controls on the actuating motor axle.Light after device converges the large tracts of land concentrator is proofreaied and correct to utilizing principle of reflection to grow Distance Transmission behind the directional light.
2. sunlight lighting equipment according to claim 1 is characterized in that: described bidimensional tracker mechanical transmission mechanism adopts worm and gear and feed screw nut's structure, and bidimensional accommodation reflex device mechanical transmission mechanism adopts feed screw nut or rope sheave.
3. sunlight lighting equipment according to claim 1 is characterized in that: described central controller utilizes photosensitive sensor feedback and the dual principle control device of clock calculation tracking position of sun.
4. sunlight lighting equipment according to claim 1 is characterized in that: photoelectric encoder or rotary transformer record actuating motor operation angle are installed on the described actuating motor.
5. sunlight lighting equipment according to claim 1 is characterized in that: described central controller moves according to concentrator Position Control bidimensional accommodation reflex device.
6. sunlight lighting equipment according to claim 1 is characterized in that: the speculum of described secondary reflector and bidimensional accommodation reflex device adopts the Cold Mirrors coating film treatment, and infrared ray is separated with visible light, utilizes filter ultraviolet shield filtering ultraviolet ray.
7. sunlight lighting equipment according to claim 1 is characterized in that: described solar-energy photo-voltaic cell is converted into electric energy with infrared ray.
8. sunlight lighting equipment according to claim 1 is characterized in that: described concentrator adopts parabolic reflector concentrator or Fresnel Lenses concentrator.
9. sunlight lighting equipment according to claim 1 is characterized in that: after described bidimensional accommodation reflex device reflects light to the fixed location, transmitted light into indoor and dispersed by optical fiber.
10. sunlight lighting equipment according to claim 1 is characterized in that: described bidimensional accommodation reflex device reflects light to path channels, and light is by in the path channels inlet chamber.
CN 021162162002-03-212002-03-21Device for illuminating indoors by using sunlightPendingCN1447058A (en)

Priority Applications (1)

Application NumberPriority DateFiling DateTitle
CN 02116216CN1447058A (en)2002-03-212002-03-21Device for illuminating indoors by using sunlight

Applications Claiming Priority (1)

Application NumberPriority DateFiling DateTitle
CN 02116216CN1447058A (en)2002-03-212002-03-21Device for illuminating indoors by using sunlight

Publications (1)

Publication NumberPublication Date
CN1447058Atrue CN1447058A (en)2003-10-08

Family

ID=28048626

Family Applications (1)

Application NumberTitlePriority DateFiling Date
CN 02116216PendingCN1447058A (en)2002-03-212002-03-21Device for illuminating indoors by using sunlight

Country Status (1)

CountryLink
CN (1)CN1447058A (en)

Cited By (26)

* Cited by examiner, † Cited by third party
Publication numberPriority datePublication dateAssigneeTitle
CN100386577C (en)*2006-03-232008-05-07宁波新亚机电有限公司 Sunlight Harvesting Device
CN101001058B (en)*2006-09-182010-08-11刘忠波Solar arc plate photovoltaic generator for active lighting
CN101922672A (en)*2010-08-092010-12-22常州工学院 Sunshine full light into daylighting system
CN102004032A (en)*2010-10-262011-04-06宁波中大力德传动设备有限公司Coding return difference measuring table for speed reducer
CN101469822B (en)*2007-12-262011-04-13珠海市智汽电子科技有限公司Self-servo type solar illuminating system
CN101697081B (en)*2009-10-092011-07-13常州佳讯光电系统工程有限公司Solar slit tracking device
CN102278699A (en)*2010-06-092011-12-14中电光哲科技(北京)有限公司Sunlight reflective lamp capable of rotating in a manner to track the sun
CN102374478A (en)*2011-09-062012-03-14电子科技大学Multifunctional full-spectrum sunlight utilizing device
CN102384426A (en)*2011-09-062012-03-21电子科技大学Multifunctional full spectrum sunlight utilizing device
CN102439731A (en)*2008-12-032012-05-02詹姆斯·霍夫曼Solar energy collection system
CN102486281A (en)*2010-12-032012-06-06西安博昱新能源有限公司Efficient solar lighting system
CN103185283A (en)*2013-03-132013-07-03珠海中电数码科技有限公司High-efficiency energy-saving light refraction illuminating system
CN104963483A (en)*2015-06-272015-10-07陈伟强Light transmitting and air ventilating structure inside building
US9261630B2 (en)2008-06-072016-02-16Sun Synchrony, Inc.Solar energy collection system
WO2016131419A1 (en)*2015-02-172016-08-25张晓东Daylight transmission system for building
CN106482077A (en)*2016-12-192017-03-08华北电力大学Sunlight entering device
CN106989530A (en)*2017-05-182017-07-28北京大学深圳研究生院A kind of one side concave mirror follows the trail of condenser system
CN107062152A (en)*2017-03-272017-08-18北京大学深圳研究生院A kind of one side concave mirror follows the trail of optically focused lighting system
CN108730907A (en)*2018-06-212018-11-02招商局重庆交通科研设计院有限公司A kind of comprehensive compact solar light collection projection illumination system
CN108844047A (en)*2018-07-132018-11-20重庆和其光光电科技有限公司A kind of operating circuit for solar energy light guide energy efficient lighting system
CN108916794A (en)*2018-09-052018-11-30上海应用技术大学A kind of lighting equipment of building
CN109315941A (en)*2018-10-242019-02-12深圳龙图腾创新设计有限公司A kind of room brilliancy intelligent regulating system
TWI655390B (en)*2018-03-202019-04-01微控科技股份有限公司 Light guiding system for natural light illumination system
CN110630970A (en)*2019-10-312019-12-31天津金久新能源科技有限公司 Daylighting device
CN112868419A (en)*2019-12-012021-06-01广州清凉农业科技有限公司Agricultural sunlight transmission illumination system, greenhouse matched with same and illumination method
CN114216095A (en)*2021-12-282022-03-22安徽亮亮电子科技有限公司Natural light collection and illumination system

Cited By (36)

* Cited by examiner, † Cited by third party
Publication numberPriority datePublication dateAssigneeTitle
CN100386577C (en)*2006-03-232008-05-07宁波新亚机电有限公司 Sunlight Harvesting Device
CN101001058B (en)*2006-09-182010-08-11刘忠波Solar arc plate photovoltaic generator for active lighting
CN101469822B (en)*2007-12-262011-04-13珠海市智汽电子科技有限公司Self-servo type solar illuminating system
US9261630B2 (en)2008-06-072016-02-16Sun Synchrony, Inc.Solar energy collection system
CN102439731A (en)*2008-12-032012-05-02詹姆斯·霍夫曼Solar energy collection system
US9065371B2 (en)2008-12-032015-06-23Sun Synchrony, Inc.Solar energy collection system
CN101697081B (en)*2009-10-092011-07-13常州佳讯光电系统工程有限公司Solar slit tracking device
CN102278699A (en)*2010-06-092011-12-14中电光哲科技(北京)有限公司Sunlight reflective lamp capable of rotating in a manner to track the sun
CN101922672A (en)*2010-08-092010-12-22常州工学院 Sunshine full light into daylighting system
CN102004032A (en)*2010-10-262011-04-06宁波中大力德传动设备有限公司Coding return difference measuring table for speed reducer
CN102486281A (en)*2010-12-032012-06-06西安博昱新能源有限公司Efficient solar lighting system
CN102384426A (en)*2011-09-062012-03-21电子科技大学Multifunctional full spectrum sunlight utilizing device
CN102374478A (en)*2011-09-062012-03-14电子科技大学Multifunctional full-spectrum sunlight utilizing device
CN102384426B (en)*2011-09-062013-05-08电子科技大学Multifunctional full spectrum sunlight utilizing device
CN103185283A (en)*2013-03-132013-07-03珠海中电数码科技有限公司High-efficiency energy-saving light refraction illuminating system
CN105988482B (en)*2015-02-172019-08-13张晓东A kind of day optical transmission system for building
CN105988482A (en)*2015-02-172016-10-05张晓东Sunlight transmission system for building
WO2016131419A1 (en)*2015-02-172016-08-25张晓东Daylight transmission system for building
US10309600B2 (en)2015-02-172019-06-04Xiaodong ZhangDaylight transmission system for building
CN104963483A (en)*2015-06-272015-10-07陈伟强Light transmitting and air ventilating structure inside building
CN106482077A (en)*2016-12-192017-03-08华北电力大学Sunlight entering device
CN107062152A (en)*2017-03-272017-08-18北京大学深圳研究生院A kind of one side concave mirror follows the trail of optically focused lighting system
CN106989530A (en)*2017-05-182017-07-28北京大学深圳研究生院A kind of one side concave mirror follows the trail of condenser system
TWI655390B (en)*2018-03-202019-04-01微控科技股份有限公司 Light guiding system for natural light illumination system
CN108730907A (en)*2018-06-212018-11-02招商局重庆交通科研设计院有限公司A kind of comprehensive compact solar light collection projection illumination system
CN108844047A (en)*2018-07-132018-11-20重庆和其光光电科技有限公司A kind of operating circuit for solar energy light guide energy efficient lighting system
CN108844047B (en)*2018-07-132023-10-13重庆和其光光电科技有限公司Working circuit for solar light guide energy-saving lighting system
CN108916794A (en)*2018-09-052018-11-30上海应用技术大学A kind of lighting equipment of building
CN109315941A (en)*2018-10-242019-02-12深圳龙图腾创新设计有限公司A kind of room brilliancy intelligent regulating system
CN110630970A (en)*2019-10-312019-12-31天津金久新能源科技有限公司 Daylighting device
CN112868419A (en)*2019-12-012021-06-01广州清凉农业科技有限公司Agricultural sunlight transmission illumination system, greenhouse matched with same and illumination method
KR20220100640A (en)*2019-12-012022-07-15팅샨 유안 Agricultural solar transmission lighting system and greenhouse and lighting method applying the same
JP2023505143A (en)*2019-12-012023-02-08ティンシャン ユアン Agricultural daylight transmission lighting system and combination greenhouse and lighting method
EP4052565A4 (en)*2019-12-012023-12-13Yuan, Tingshan AGRICULTURAL SOLAR LIGHT TRANSMISSION LIGHTING SYSTEM, SUPPORT GREENHOUSE AND SUPPORT LIGHTING METHOD
KR102816593B1 (en)2019-12-012025-06-02팅샨 유안 Agricultural solar power transmission lighting system and greenhouse and lighting method using the same
CN114216095A (en)*2021-12-282022-03-22安徽亮亮电子科技有限公司Natural light collection and illumination system

Similar Documents

PublicationPublication DateTitle
CN1447058A (en)Device for illuminating indoors by using sunlight
CN104595841B (en)Sunlight direct illumination system and control method thereof
CN102374477A (en)Sunshine intelligent household-entry system
CN1387004A (en)Apparatus for introducing sunlight to room
CN101806495A (en) Two-part solar collection system with replaceable solar collector components
CN103165699B (en)Tower-type solar energy heliostat bevel gear passive automatic sun-chasing support
CN101261045A (en)Large-sized solar energy sun-following heat-collecting system
Song et al.Development of a fiber daylighting system based on the parallel mechanism and direct focus detection
CN2572217Y (en)Device for indoor illumination by sun light
CN102588870A (en)Sunlight guiding and lighting device
CN202188424U (en)Reflecting mirror type sunlight guider
CN106051612B (en)A kind of light collection system
CN106016790A (en)Sunshine introducing device with automatic sunshine tracking
US9897271B2 (en)Wall-mounted sun tracking and light guiding apparatus
CN200968548Y (en)Illuminating apparatus with solar light
CN107166774A (en)A kind of solar water heater groove type heat collector intelligent-tracking instrument
KR20090105899A (en) Blind Solar Driving Device
CN2392984Y (en)Solar lighting apparatus
CN202048493U (en)Prism type sunlight guider
CN216868380U (en)Natural light illuminating system
TWI510733B (en)Indoor illuminating device using directed sunlight
CN1006326B (en)Solar thermal-arrest device with sub-mirror
CN101487926A (en)Full-automatic light compensating system for night side or light-deficient side
CN116951349A (en) A solar lighting system
CN205535583U (en)It shines smooth catoptric system of effect to improve building room light

Legal Events

DateCodeTitleDescription
C06Publication
PB01Publication
C02Deemed withdrawal of patent application after publication (patent law 2001)
WD01Invention patent application deemed withdrawn after publication

[8]ページ先頭

©2009-2025 Movatter.jp