Movatterモバイル変換


[0]ホーム

URL:


CN1269896A - Internet caching system - Google Patents

Internet caching system
Download PDF

Info

Publication number
CN1269896A
CN1269896ACN98808740ACN98808740ACN1269896ACN 1269896 ACN1269896 ACN 1269896ACN 98808740 ACN98808740 ACN 98808740ACN 98808740 ACN98808740 ACN 98808740ACN 1269896 ACN1269896 ACN 1269896A
Authority
CN
China
Prior art keywords
information
cache server
internet
cache
geography
Prior art date
Legal status (The legal status is an assumption and is not a legal conclusion. Google has not performed a legal analysis and makes no representation as to the accuracy of the status listed.)
Pending
Application number
CN98808740A
Other languages
Chinese (zh)
Inventor
斯维克·林德伯
Current Assignee (The listed assignees may be inaccurate. Google has not performed a legal analysis and makes no representation or warranty as to the accuracy of the list.)
MIRROR IMAGE INTERNET AB
Original Assignee
MIRROR IMAGE INTERNET AB
Priority date (The priority date is an assumption and is not a legal conclusion. Google has not performed a legal analysis and makes no representation as to the accuracy of the date listed.)
Filing date
Publication date
Application filed by MIRROR IMAGE INTERNET ABfiledCriticalMIRROR IMAGE INTERNET AB
Publication of CN1269896ApublicationCriticalpatent/CN1269896A/en
Pendinglegal-statusCriticalCurrent

Links

Images

Classifications

Landscapes

Abstract

The present invention relates to a method, a system and a server for caching Internet information content. According to the invention, there is provided a set of geographically distributed cache servers generally serving different geographical regions, wherein Internet information derived in relation to the operation of one of said cache servers is distributed to essentially all of said servers.

Description

Internet caching system
The present invention relates to be used for a kind of method, system and the server of high-speed cache internet information content.
In the past few years, the Internet has developed into the means of communication of quick growth, and is expected to be the main system of following distributing information.The Internet is universal day by day, and its number of users increases with high speed.Anyone can provide on the net can be by any information-text, picture, audio frequency and the video of the user search at arbitrary place on the earth.This be since the fabulous success in the Internet with and the characteristic of current maximum uses be that world wide web (www) causes.
But popularizing and the especially use of the Internet application WWW of the Internet applied huge capacity pressure to this net.Portfolio every three months on the Internet doubles, and the sign that does not slow down.The increase of this exponential type is finally for slowing down, but Several Factors shows that its growth is not fully for slowing down.
Now, the pc access the Internet that has only fraction among all PC.It is believed that and will finally can wish access the Internet the businessman of PC investment.In addition, the communication speed between user and the internet basic arrangement increases sharply.Just occurring such as ISDN, CATV (cable television) modulator-demodular unit and xDSL.In addition, the televisor that passes through that just proposing at a low price of manufacturer of household electric appli obtains parts to the visit of the WWW of the Internet.
These and other factor also causes the information that more and more is difficult on the access the Internet, because system transships basically.In many places of the earth, lacking enough bandwidth is main problem.And transmission information is subjected to the restriction across Atlantic transmittability between US and European.The too small the Internet that increases rapidly of can not dealing with of this transmittability uses.
Basically, this problem has the solution of two kinds of routines.First solution is to increase bigger bandwidth and exchange capacity, and this does, but it brings expensive and faces the important techniques problem.
Second kind of solution is to adopt so-called cache technology.The basic meaning of high-speed cache is to follow the tracks of internet service and comparing the copy that keeps the most frequent accessed file of WWW from the nearer position of user with source document.Thereby this relates to the local copy of the interested WWW of storage site.For example, can store the homepage of CNN in the locational Cache in certain Europe " agency " based on the U.S. temporarily, thereby the Internet user in Europe needn't use under the communication link of trans-Atlantic with regard to addressable CNN homepage, thereby has not only been visited faster simultaneously but also reduce online load.The total content of WWW information itself is becoming and can't measure, but wherein has only a quite little subclass in this total information to constitute in actual the checking most.The size and the consistance that depend on the user group, approximately the cache (spring in 1997) of 10-20 gigabyte can reduce the portfolio of the 30-50% in this colony.
Yet and current cache technology is irrelevant, in many zones of the earth, and for example southern Europe and Eastern Europe, South America, India and East Asia, the bandwidth ability of spendable communication system is too low, and required the Internet usability can not be provided.
The objective of the invention is to reduce capacity limit on the Internet by the high-speed cache solution, this solution reduces the access time on the Internet and allows on the Internet, especially under the low situation of bandwidth ability, the user of the showed increased of accelerating and information communication amount.
According to the present invention, method, system and server by a kind of high-speed cache internet information content according to the appended claims book reach described purpose.
The present invention is based on and recognize, on the language and cultural same geographic area is usually in size and the most appropriate economy and the technical area that are different from shape by single cache server service.Thereby, with the such zone of server service of scattering on one group of geography.And, the present invention is also based on further recognizing, the user who goes up in the same geographic area with culture on this language of supposition can have under the same preference for the information network address that will visit, because of being cached at the information in such server, user request also should be cached in other server in the described zone, its fundamentum is if a user is interested in certain bar information, on the then identical language and culture go up in the same geographic area other people may be also interested.Final user colony is big more, and others possibility of the given file of request in this colony is big more.
Thereby, according to the present invention, the geographic area that the service of scattering on one group of geography is different but have common relation, the relation in defined customer group or zone on the service culture and/or on the language for example, cache server in case be with identical in fact information updating during by a described cache server retrieving information because of final user's etc. information request.
This cultural and linguistic homogeneity can be with border, the border of certain economic zone and their definition such as combination of border, certain technology or the development level of the border of certain national border, certain language-specific, certain specific religion.
Like this, according to a kind of embodiment of the present invention, the cache server that distributes on the described geography that distributes in the defined whole geographic area or in the community of definition geographically on language or in the culture.In addition, preferably each described cache server is arranged to serve certain relevant some areas in described geographic region or the community.
For example, Germany, Austria, Switzerland and gondola German district can regard as and be defined as an overall region that culture and language is same.Thereby one group of cache server according to the present invention's operation distributes in this district.In this group server in pressing the overall region of afore mentioned rules, for example one (or a plurality of) can be arranged to serve the 4th area and last the 5th (or the 5th group) topped Austrian the 5th area of service of being served the 3rd topped area of Germany middle part, the 4th (or the 4th group) topped Switzerland of service and North of Italy by the first northern topped area of Germany, second area that second (or second group) can serve the east of topped Germany, the 3rd (or the 3rd group).
Please note that the geographic region according to the present invention's definition needn't mean the similar continuum that is surrounded by the closed boundary, but also can mean separation on one group of geography but the subregion in the zone of the present invention of definition foundation together.
Estimation according to the inventor, in the part of the earth, for example India and South America, the bandwidth ability of telecommunication network is too little, thereby in fact more effective than making another user search for this identical information block from network for the second time all cache servers that certain concrete information block is distributed in the defined overall region according to the request of just net having been sent certain information by certain user.Yet, such as discussed later, can set judgement differently according to actual application environment and when will carry out according to distributed cache of the present invention.
Can carry out distribution of information in foundation cache server group of the present invention in many different modes.According to an aspect, can use the Internet itself.But this transmittability to net applies bigger pressure.Thereby,, utilize broadcast communication and preferably utilize the dedicated data channel of separating to described cache server component photos and sending messages with Internet traffic itself according to a preferred embodiment of the present invention.
According to a kind of preferred embodiment, utilize satellite link to send out information described to described cache server component.Thereby each server is preferably and sends described message reference up-link, and Servers-all receives certain bar downlink from the information of any transmission in the group of server is provided.Handle this distribution hardware and software can with providing that cache server combines, for example can provide by the Internet service providers or by satellite communication link supplier.Similarly, as insider institute clearly, be used for can providing by cache server, the Internet service providers or any convenient place at the system's inner control information flow and the software of making a strategic decision.If adopt satellite, satellite link also can be used for transmitting or relaying to tellurian other parts, as from Europe to the U.S. and from the U.S. to Europe, request.
According to a kind of alternate embodiment, intrasystem cache server is connected to central control unit by data channel.This central control unit is for example controlled such as whether wanting cache information or the how decision-making of distributing information or the like.
Depend on the size of this community, the ability of cache server group, the message capacity used of net, Cache supplier's purpose etc., can be arranged to according to distribution of different rule or distributing information not according to distributed cache technology of the present invention.According to a preferred embodiment of the present invention, the specific communications form of the information service type correspondence that is provided on a high-speed cache and the local memory storage or use relevant request or frame.For example, the so-called TCP inquiry of a high-speed cache to the WWW port.According to another example, the cache server supplier only can determine particular address (for example only to .com or .org address) or high speed buffer memorys such as (for example three individual requests after) only make the request of some in system after.
Can be in each cache server place, above-mentioned central control unit place, the Internet service providers place or work relevant with cache server similar position place etc. is provided for carrying out the treating apparatus of such decision-making.
Such as discussed later, also can handle in a different manner and the regional relevant request of certain information content provider that is arranged in by a cache server service of described cache server group according to different embodiments of the invention.
According to the first two embodiment, only be presumed to relevant with this locality the local information request that from the initial user to the Internet, provides and this two side is positioned at areal.Thereby this information will: a) high-speed cache not because each local user always can visit local Internet Content Provider easily; Perhaps b) because this request may be local relevant,, and is not distributed to geographical going up in the whole cache server group that distributes only at local cache server high speed buffer memory.Therefore, under this linguistic context, term " this locality " refers to the various characteristics in the area that resides in the described each department.
According to second embodiment, suppose that the information request from certain final user to the Internet Content Provider that is positioned at a described area can be for the cache server high speed buffer memory of this area service but can alternatively only be distributed on these intrasystem all other cache servers, this is that the user outside this area can not equally easily visit this local Internet Content Provider (thereby needing high-speed cache outside this area) because the local user always can easily visit local Internet Content Provider (thereby needn't local cache).
According to another embodiment, the ability of supposing cache server is even as big as handling all requests, thereby needn't differently handle the information relevant with out of Memory with local Internet Content Provider, and, correspondingly, the high speed information buffer memory in an intrasystem cache server can cause the high-speed cache of same information in these intrasystem all cache servers.
According to another embodiment of the present invention, depend on the selection of intrasystem decision rule, provide one to exclude the not Internet Content Provider address table of high-speed cache.Like this, each Cache is arranged to check the information request of input to determine whether this request causes high-speed cache by described table.
Depend on required effect, cache server is arranged to by given time span canned data.For example, Cache can be by the principle operation of first in first out.According to another example, can provide certain category information under the more new demand having, this is the new demand meeting definition Copy Info the longest spendable time interval more, and is correct to guarantee that this information is still.Certainly, as insiders will understand, for these one side and others, the present invention's dissimilar conventional cache technology capable of being combined.
In addition, each described cache server can by several preferably the child servers that is connected of the Cache manager by their operation of high speed switch and one control constitute.In addition, there is not restriction in the quantity of spendable cache server.And each server can be by using more than an Internet service provider.
Under the out of order incident in described cache server group, when repairing or changing this cache server, can bypass it to recover some service by system.A benefit of the present invention is that auxiliary cache server then provides and the identical memory contents of service that is bypassed, thereby guarantees to be still with relevant by the final user in the area of the server of bypass by the information of high-speed cache.
Although explanation of the present invention is carried out with respect to internet communication system, the insider understands the global information communication communication system that the present invention also can be used for other of this type, and these other systems can obtain and have the communication issue of similar type in future.Thereby the present invention is not limited to the Internet certainly and uses.
In addition, although this explanation is mainly carried out with respect to web app, should understand the network application that the present invention is not subjected to the restriction of this point and can be applied to other type yet.
To the explanation of each exemplary preferred embodiment, others of the present invention, characteristic and advantage can be more clear from reference to the accompanying drawings, and accompanying drawing is:
Fig. 1 schematically illustrates a kind of embodiment according to internet of the present invention cache systems;
Fig. 2 schematically illustrates the cache server layout of the part of system shown in thepie graph 1;
Fig. 3 illustrates a kind of alternative cache server layout;
Fig. 4 schematically illustrates the another kind of cache server layout that substitutes;
Fig. 5 schematically illustrates the process flow diagram of the operation of being carried out by the cache server among Fig. 4;
Fig. 6 schematically illustrates the process flow diagram of the operation of being undertaken by the interceptor(-ter) among Fig. 3;
Fig. 7 schematically illustrates the another kind of embodiment according to internet of the present invention cache systems; And
Fig. 8 schematically illustrates another embodiment according to internet of the present invention cache systems.
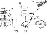
First embodiment of foundation internet of the present invention cache systems is described referring now to Fig. 1.In Fig. 1, preferably from language and/or thegeographic area 200 that defines of culture illustrate and comprise four geographic zone A, B, C and D.For example, thezone 200 can be the archipelago, Great Britain, thereby and regional A, B, C and D be respectively Ireland, Wales, Scotland and northern England and southern England.
In each regional A, B, C and D, there areISP 110a, 110b, 110c and a 110d respectively at least, relevant area is provided visit to the Internet 100.Here, eachservice provider 110a, 110b, 110c, 110d are respectively to somefinal user 120a, 120b, 120c, 120d with provide the Internet to be connected to someInternet Content Provider 130a, 130b, 130c, 130d respectively.Please understand, be separated components although in Fig. 1final user 120 and content provider are shown as, and certain final user can also be the content provider.
Each ISP links to each other withinternet caching server 140a, 140b, 140c, a 140d respectively at least.Thereby eachcache server 140 to separately the area infinal user 120 caching function is provided.And eachcache server 140a, 140b, 140c, 140d, be connected withsatellite disk antenna 150a, 150b, 150c, a 150d respectively, and can utilizesatellite 160 all other cache server broadcast messages inzone 200.
An example of operation of the system shown in the existing key diagram 1.For example when the final user is provided theservice provider 110a among the regional A about the information request of the information that provided by thecontent provider 130e among the regional E, and (for example be positioned at outside thezone 200 at this situation area E, area E is similar to the North America),service provider 110a checks whether itsrelevant cache server 140a wherein stores the renewal version that this is requested information to judge.If obtain institute's information requested and then send to this final user from this cache server 140a.But if store when not being requested the copy of information incache server 140a,service provider 110a is forwarded to original contents to this request by the Internet 100device 130e is provided.When through the Internet 100content provider 130e loopback institute information requested,service provider 110a sends to the final user to this information and with receiving information updating cache server 140a.As a part of upgrading operation, plate-like antenna 150e andsatellite 160cache server 140b, 140c, the 140d in other regional B, C and D sends this lastest imformation via satellite, thereby with all servers of same information updating.After finishing such renewal, all users in thezone 200 do not need to providedevice 130e by the access to the Internet original contents, and can alternatively use the copy of storing in the relevant cache server.If cache server is full when upgrading, then from described server, deleted the information of storage time the longest (since final user's visit recently).And each server can use a kind of guaranteeing in each cache server that canned data is accurately with up-to-date in the several methods, thereby the reliable copy of the originating website is provided.
Among the figure afterwards, will indicate with same numbers for convenience of explanation and with reference to the parts that the parts of figure 1 explanation have a similar functions.The cache server layout of the part of the system type shown in thepie graph 1 is described referring now to Fig. 2.In Fig. 2, three final user's terminals orstand 120 are connected withMultiplexing Unit 170, and the type latter of depending on custom system can be modulator-demodular unit group or LANrouter.Multiplexing Unit 170 with the interceptor(-ter) 110 that provides the ISP place of the visit of the Internet 100 be provided be connected.Multiplexing Unit 170 is multiplexed to and communicating by letter fromuser terminal 120.
According to this layout, wish that visit for example is positioned at somewhere on the Internet original deliver a little certain WWW homepage or theuser 120 of the information that provided of Internet Content Provider (not shown) usually to ISP's 110 transmission information request (particularly byMultiplexing Units 170, send the HTTP request to the WWW port), wherein should ask route and final this content provider of arrival on the Internet 100.Then this content provider answers this request, givesuser 120 institute's information requested loopback by the Internet 100 throughservice provider 110.
Yet,, checkuser 120 information request by the interceptor(-ter) 110 at service provider place according to the layout shown in Fig. 2.Then interceptor(-ter) is judged institute's information requested, and for example whether the information that is provided by described content provider exist copy or similar forms having on certainlocal cache server 140 of direct communication with this interceptor(-ter) 110.If onhome server 140, storing this copy that is requested information or analog, then the request from this user is re-routedserver 140, the latter then gives the user institute's information requested loopback.In this case, this information is Already on all cache servers in the zone shown in Fig. 1 200, thereby needn't distribute this information to other Cache.
But, if interceptor(-ter) 110 determines not exist the copy or the analog of information of interest on home server, then sending on the Internet 100 from this user's 120 information request conventionally form by Internet traffic.Interceptor(-ter) can monitor replying of the 100 couples ofusers 120 in the Internet then, and when receiving institute's information requested with this information updatingcache server 140.
According to the present invention,cache server 140 high speed buffer memorys new or updated information be accompanied by other cache server in the zone shown in Fig. 1 200 and distribute this new or updated information.One of interceptor(-ter) 110 bycache server 140 or service provider place and utilize satellite uplink tosatellite 160 to arrive other cache server in the defined zone can be realized this distribution.Similarly, receive and during information new or that updated information is relevant,cache server 140 will be by the such information of downlink reception from satellite when other cache server in this zone.
Note that the communications packets of some particular type of 110 interceptings of interceptor(-ter) in this example.For example, an intercepting is fromuser 120 WWW information request.Be not subjected to the interference of interceptor(-ter) 110 such as the communication service of other type of electronic letter etc.
A kind of alternative cache server layout of similar Fig. 2 layout is described referring now to Fig. 3.The layout of Fig. 3 and the layout of Fig. 2 different be in, service provides the interceptor(-ter) 110 at place not only to be connected withcache server 140, but also is connected with fast access cache 112.Compare with thefoundation cache server 140 of hundreds of gigabytes storages that for example provides of the present invention, the fast access cache provides much smaller memory capacity in this case, the storage of a for example about gigabyte.Therebycache 112 is used to store basically all information by interceptor(-ter) 110, but correspondingly, each packets of information only is stored the relatively shorter time.
In Fig. 3, bymemory block 112 be illustrated in the working storage that fast access cache that the current look-up table 111 of storing those information in described memory block forms serves as interceptor(-ter) 110.Thereby when certain information request of receiving fromuser 120, interceptor(-ter) at first is institute's its fast access cache 111,112 of information requested inspection.Accesscache server 140 just in the time can not incache 112, finding institute's information requested only.The illustrated operation according to Fig. 2 is followed in its operation.But, in Fig. 3, can infast access cache 112, temporarily store all information relevant with each information request of eachuser 120, i.e. 100 information that receive or the information that receives fromcache server 140 from the Internet, wherein cache server is only when just being updated during 100 reception fresh informations from the Internet.In addition, cache also can be used for the positive different information of canned data type in high-speed cache and the cache server 140.For example, except withcache server 140 the same storages the WWW information, hypervelocity is deposited and can also be stored the information relevant with the inquiry of other type.In addition, canned data automatically is not distributed in other Cache in thezone 200 among Fig. 1 in thecache 112.
Illustrate that referring now to Fig. 4 another also similarly substitutes the cache server layout with the layout shown in Fig. 2.In Fig. 4, all WWW requests all can be forwarded to cacheserver 140 from service provider 110.If institute's information requested is stored in wherein, then cache server is answered request, perhaps handles information retrieval to the Internet 100 by its, promptly utilize satellite link or to the Internet certain other connect 141.When receiving during information requested,cache server 140 will upgrade own according to its oneself decision and 160 upgrade other Caches via satellite, and byservice provider 110 information be sent tofinal user 120.
Please note that but service provider among Fig. 4 still self handles the service such as other type of electronic letter etc., needn't transmit this type of information grouping by cache server.
Referring now to the example of the flowchart text among Fig. 5 by the operation of 140 execution of the cache server among Fig. 4.After the excitation operation, cache server is in the information request of step S2 reception from certain final user relevant with certain concrete content supplier in step S1.At step S3, this cache server judges then whether it stores the copy of the information of being requested.If send this requested information and step S10 end operation (certainly, end step S10 can cause and turn back to beginning step S1) to this final user at step S4.
Yet, if in step S3, judge and in cache server, do not store the copy of requested information, handle entering step S5, wherein this cache server sends request to described information by the Internet to the content provider of appointment.Receive institute's information requested and it is sent to the final user at this cache server of step S6 then at step S7.At step S8, the information stores that receives in this cache server, and then at step S9, this information distribution to the zone shown in Fig. 1 all other cache servers in 200.Like this, new former not this information of storage that receives then stores in fact all cache servers in this zone, thereby can make things convenient for accessing by all users in this zone.
Referring now to the example of the flowchart text among Fig. 6 by the operation of the interceptor(-ter) among Fig. 3 or service provider's 110 execution.After step S11 encouraged this operation, interceptor(-ter) 110 read to point to from certain user certain concrete content provider's information request at step S12.At step S13, interceptor(-ter) 110 checks that the contents table offast access cache 112 is to judge the copy that wherein whether has the information of being requested.If exist, operation enters the step S15 that illustrates later.In the presence of not, operation enters step S14, and wherein interceptor(-ter) sends inquiry to understand the copy that whether has the information of being requested on it to cache server 140.If answer to being, then handle entering step S15, wherein intercept request, and enter the step S16 that wherein utilizescache 112 or cacheserver 140 to send the information that is requested from the final user.Yet, if from the answer of cache server for not, handle entering step S17, wherein interceptor(-ter) determines not intercept this request from the user, and replaces the content provider who is sent to appointment by the Internet.Then handle and enter step S18, wherein interceptor(-ter) monitors the answer that sends to the final user from the content provider.When this information is being led on final user's the road by interceptor(-ter), interceptor(-ter) in information stores that step S19 had not before comprised this to cacheserver 140 and this distribution of information all other cache servers in thezone 200 in Fig. 1.Like this, the former not canned data of this new reception then stores in fact all cache servers in this zone, thereby can make things convenient for accessing by all users in this zone.Note that at every turn and to be preferably in a copy ofquick access cache 112 temporary transient storages when cache server receives the information of automatic network.
Be similar to another example embodiment of system shown in Figure 1 according to internet of the present invention cache systems referring now to Fig. 7 explanation.This system and Fig. 1 system different are will not send it back this user by the Internet from the answer to the information request initially sent by certainfinal user 120a of thecontent provider 130e that is arranged in the area outside the system realm 200.Alternatively, this answer directly sends toserver 140a, 140b, 140c, 140d via satellite, thereby automatically upgrades all cache servers 140.Cache server 140a and ISP handle the transmission of described information to thisfinal user 120a then.
Be similar to another example embodiment of system shown in Figure 1 according to internet of the present invention cache systems referring now to Fig. 8 explanation.In Fig. 8, each cache server that is respectively regional separately A, B, C, D service in thezone 200 is connected withcentral control unit 190 by each data channel.Whether the such decision-making ofcentral control unit 190 controls is as being cached to high speed information in the corresponding cache server and as how it being distributed to regional 200 other interior Caches.In this case, can utilize satellite link maybe can utilize, between different Caches, distribute to the also data channel connection of process CPU (central processing unit) 190.
In addition, main with reference to above Fig. 1,7,8 times, should understand, that had discussed in the general introduction of front of the present invention about how handling with " this locality " asks, promptly for example from certain final user's relevant information request with thecontent provider 130a that is positioned at areal A, the decision-making of the high-speed cache of relevant information can be for example locates to implement comprising the different operating method of required decision process one of in acache server 140a place,service provider 110 place or CPU (central processing unit) 190 places.
Can understand, for the insider, be clearly with reference to the 26S Proteasome Structure and Function of each component of each description of drawings.
Although with reference to the concrete enforcement case of respectively demonstrating the present invention has been described, for the industry, many different changes, modification etc. are obvious.Thereby each illustrated embodiment is not used to limit the scope of the invention, and scope of the present invention is to define in the appended claims book.

Claims (34)

CN98808740A1997-07-241998-07-03Internet caching systemPendingCN1269896A (en)

Applications Claiming Priority (2)

Application NumberPriority DateFiling DateTitle
SE970279571997-07-24
SE9702795ASE510048C3 (en)1997-07-241997-07-24 Internet caching system

Publications (1)

Publication NumberPublication Date
CN1269896Atrue CN1269896A (en)2000-10-11

Family

ID=20407824

Family Applications (1)

Application NumberTitlePriority DateFiling Date
CN98808740APendingCN1269896A (en)1997-07-241998-07-03Internet caching system

Country Status (23)

CountryLink
EP (1)EP0996879A1 (en)
JP (1)JP2001511551A (en)
KR (1)KR20010052054A (en)
CN (1)CN1269896A (en)
AU (1)AU734154B2 (en)
BR (1)BR9815556A (en)
CA (1)CA2297658A1 (en)
EE (1)EE200000045A (en)
HU (1)HUP0002834A2 (en)
ID (1)ID24952A (en)
IL (1)IL134195A0 (en)
IS (1)IS5357A (en)
LT (1)LT4729B (en)
LV (1)LV12519B (en)
MX (1)MXPA00000765A (en)
NO (1)NO20000317L (en)
PL (1)PL338416A1 (en)
SE (1)SE510048C3 (en)
SI (1)SI20229A (en)
SK (1)SK992000A3 (en)
TR (1)TR200000198T2 (en)
WO (1)WO1999005584A2 (en)
YU (1)YU3100A (en)

Cited By (2)

* Cited by examiner, † Cited by third party
Publication numberPriority datePublication dateAssigneeTitle
CN1925462B (en)*2005-09-012010-05-26株式会社日立制作所 cache system
CN101500143B (en)*2008-01-302011-12-07冲电气工业株式会社Data providing system applied to VOD

Families Citing this family (46)

* Cited by examiner, † Cited by third party
Publication numberPriority datePublication dateAssigneeTitle
SE522316C2 (en)*1998-01-192004-02-03Telia Ab Procedure and system for intermediate storage of information in a communication system
US6760760B1 (en)1999-06-092004-07-06Amx CorporationControl system communication server for transmitting files via multiple communication paths
US6941338B1 (en)1999-09-012005-09-06Nextwave Telecom Inc.Distributed cache for a wireless communication system
KR100647419B1 (en)*1999-12-132006-11-17주식회사 케이티 Predictive Data Cache Method for Data Communication
US6820133B1 (en)*2000-02-072004-11-16Netli, Inc.System and method for high-performance delivery of web content using high-performance communications protocol between the first and second specialized intermediate nodes to optimize a measure of communications performance between the source and the destination
US6947440B2 (en)2000-02-152005-09-20Gilat Satellite Networks, Ltd.System and method for internet page acceleration including multicast transmissions
US6904460B1 (en)2000-06-012005-06-07Aerocast.Com, Inc.Reverse content harvester
US6879998B1 (en)2000-06-012005-04-12Aerocast.Com, Inc.Viewer object proxy
US7213062B1 (en)2000-06-012007-05-01General Instrument CorporationSelf-publishing network directory
US20010049732A1 (en)*2000-06-012001-12-06Raciborski Nathan F.Content exchange apparatus
US6836806B1 (en)2000-06-012004-12-28Aerocast, Inc.System for network addressing
US7114008B2 (en)2000-06-232006-09-26Cloudshield Technologies, Inc.Edge adapter architecture apparatus and method
US8204082B2 (en)2000-06-232012-06-19Cloudshield Technologies, Inc.Transparent provisioning of services over a network
US7003555B1 (en)2000-06-232006-02-21Cloudshield Technologies, Inc.Apparatus and method for domain name resolution
US6829654B1 (en)2000-06-232004-12-07Cloudshield Technologies, Inc.Apparatus and method for virtual edge placement of web sites
US7032031B2 (en)2000-06-232006-04-18Cloudshield Technologies, Inc.Edge adapter apparatus and method
US6728785B1 (en)2000-06-232004-04-27Cloudshield Technologies, Inc.System and method for dynamic compression of data
US9444785B2 (en)2000-06-232016-09-13Cloudshield Technologies, Inc.Transparent provisioning of network access to an application
US6704781B1 (en)*2000-06-272004-03-09Intel CorporationSystem and method for content caching implementing compensation for providing caching services
US7379963B1 (en)2000-07-142008-05-27Knownow-DelawareDelivery of any type of information to anyone anytime anywhere
US20020138437A1 (en)*2001-01-082002-09-26Lewin Daniel M.Extending an internet content delivery network into an enterprise environment by locating ICDN content servers topologically near an enterprise firewall
US7210022B2 (en)2001-05-152007-04-24Cloudshield Technologies, Inc.Apparatus and method for interconnecting a processor to co-processors using a shared memory as the communication interface
US7082502B2 (en)2001-05-152006-07-25Cloudshield Technologies, Inc.Apparatus and method for interfacing with a high speed bi-directional network using a shared memory to store packet data
KR100440663B1 (en)*2002-03-292004-07-19드림인텍 주식회사Network system and operating method for the same including web acceleration technology
KR100440661B1 (en)*2002-03-292004-07-19드림인텍 주식회사Network system and operating method for the same including caching technology
KR101140634B1 (en)*2003-07-212012-05-03주식회사 비즈모델라인Method for Providing Contents
AU2006287639C1 (en)2005-09-072012-06-28Open Invention Network, LlcMethod and computer program for device configuration
US9049268B2 (en)2006-05-052015-06-02Microsoft Technology Licensing, LlcGlobal provisioning of millions of users with deployment units
GB2440759A (en)2006-08-112008-02-13Cachelogic LtdSelecting a download cache for digital data
GB2440760A (en)2006-08-112008-02-13Cachelogic LtdNetwork and method of transferring data over the network by nodes sending messages containing a subset of list of data available at the node
GB2440761A (en)2006-08-112008-02-13Cachelogic LtdUsing a proxy server as a cache in a peer to peer network to speed up the multicast distribution of large files.
GB2440774B (en)2006-08-112011-07-27Cachelogic LtdContent Delivery System For Digital Object
US8615778B1 (en)2006-09-282013-12-24Qurio Holdings, Inc.Personalized broadcast system
US7991269B1 (en)2006-12-152011-08-02Qurio Holdings, Inc.Locality-based video playback to enable locally relevant product placement advertising
US9098868B1 (en)2007-03-202015-08-04Qurio Holdings, Inc.Coordinating advertisements at multiple playback devices
US8055536B1 (en)2007-03-212011-11-08Qurio Holdings, Inc.Automated real-time secure user data sourcing
US7805373B1 (en)2007-07-312010-09-28Qurio Holdings, Inc.Synchronizing multiple playback device timing utilizing DRM encoding
US7996482B1 (en)2007-07-312011-08-09Qurio Holdings, Inc.RDMA based real-time video client playback architecture
US8762476B1 (en)2007-12-202014-06-24Qurio Holdings, Inc.RDMA to streaming protocol driver
US8060904B1 (en)2008-02-252011-11-15Qurio Holdings, Inc.Dynamic load based ad insertion
US8312487B1 (en)2008-12-312012-11-13Qurio Holdings, Inc.Method and system for arranging an advertising schedule
JP5399276B2 (en)*2010-01-192014-01-29日本電信電話株式会社 Content distribution system and method and program
WO2013041922A1 (en)2011-09-232013-03-28Gilat Satellite Networks, Ltd.Decentralized caching system
JP6406288B2 (en)*2016-03-092018-10-17日本電気株式会社 Information providing apparatus, information providing method, computer program, and information providing system
FR3062536B1 (en)*2017-02-012019-06-07Centre National D'etudes Spatiales METHOD FOR EXCHANGING COMPUTER FILES BETWEEN A USER AND A SATELLITE AND ASSOCIATED EXCHANGE ARCHITECTURE
US11588891B2 (en)*2019-11-042023-02-21Google LlcAccess pattern driven data placement in cloud storage

Cited By (2)

* Cited by examiner, † Cited by third party
Publication numberPriority datePublication dateAssigneeTitle
CN1925462B (en)*2005-09-012010-05-26株式会社日立制作所 cache system
CN101500143B (en)*2008-01-302011-12-07冲电气工业株式会社Data providing system applied to VOD

Also Published As

Publication numberPublication date
SE9702795L (en)1999-01-25
SI20229A (en)2000-10-31
MXPA00000765A (en)2002-04-24
NO20000317L (en)2000-03-21
WO1999005584A3 (en)1999-04-08
LV12519B (en)2000-11-20
SE510048C2 (en)1999-04-12
SK992000A3 (en)2000-09-12
AU8363998A (en)1999-02-16
JP2001511551A (en)2001-08-14
AU734154B2 (en)2001-06-07
LT4729B (en)2000-11-27
LT2000006A (en)2000-08-25
WO1999005584A2 (en)1999-02-04
TR200000198T2 (en)2000-05-22
SE9702795D0 (en)1997-07-24
HUP0002834A2 (en)2001-01-29
PL338416A1 (en)2000-11-06
IS5357A (en)2000-01-21
SE510048C3 (en)1999-05-03
LV12519A (en)2000-07-20
BR9815556A (en)2000-11-07
ID24952A (en)2000-08-31
EE200000045A (en)2000-10-16
YU3100A (en)2001-07-10
KR20010052054A (en)2001-06-25
CA2297658A1 (en)1999-02-04
EP0996879A1 (en)2000-05-03
IL134195A0 (en)2001-04-30
NO20000317D0 (en)2000-01-21

Similar Documents

PublicationPublication DateTitle
CN1269896A (en)Internet caching system
US7117242B2 (en)System and method for workload-aware request distribution in cluster-based network servers
KR100318779B1 (en)Dynamic routing in the internet
CN1222877C (en)Distributed cache for wireless communication system
JP3498887B2 (en) Transmitting device and transmitting method, and receiving device and receiving method
US6463508B1 (en)Method and apparatus for caching a media stream
CN101123565A (en) P2P system and resource query method used in the system
US7739364B2 (en)Method and apparatus for dynamically reconfiguring a server system
JP3497370B2 (en) Transmitting device and transmitting method, and receiving device and receiving method
Wu et al.Latency-sensitive hashing for collaborative Web caching
Chen et al.Wormhole caching with HTTP PUSH method for a satellite-based web content multicast and replication system
Chen et al.Using service brokers for accessing backend servers for web applications
Grimm et al.Load and traffic balancing in large scale cache meshes
CN1524366A (en)Email distribution on edge
GB2295035A (en)Computer network distributed data storage.
US8533756B2 (en)Distribution device, distribution method, and computer program
HK1028830A (en)Internet caching system
CN118055164A (en)Traffic scheduling method, device and computer readable medium
EP1049028A2 (en)Efficient distribution of information to the end-user
Loukopoulos et al.Replicating the contents of a WWW multimedia repository to minimize download time
Bhattarakosol et al.Customer-oriented policy for proxy management system
KR101497325B1 (en)System and method for processing virtual interview by division contents
MalhisDistributed HTTP Database System DisHDaS
Suzuki et al.Study on caching, mirroring, and pre-fetch methods for educational internet
TouchGuest ViewPoint

Legal Events

DateCodeTitleDescription
C06Publication
PB01Publication
C10Entry into substantive examination
SE01Entry into force of request for substantive examination
C02Deemed withdrawal of patent application after publication (patent law 2001)
WD01Invention patent application deemed withdrawn after publication
REGReference to a national code

Ref country code:HK

Ref legal event code:WD

Ref document number:1028830

Country of ref document:HK


[8]ページ先頭

©2009-2025 Movatter.jp