






本申请是1996年8月30日提交的题为“带有偏轴供墨器和高效墨管的喷墨打印系统”的美国专利申请08/706061的部分继续申请,该申请通过引用结合到本文中,本申请涉及与其在1997年1月30日一起提交的题为“其构形适合于打印机使用的油墨容器”的共同转让的申请(美国申请号,美国代理人案号为10961157),和1997年1月30日提交的题为“用于供墨器的电气和流体接口”的专利申请(美国申请号,美国代理人案号为10961158),以及1997年1月30日提交的题为“用于可更换的油墨容器的电气转接器”的专利申请(美国申请号,美国代理人案号为10961160),这三个专利申请的全部内容都通过引用结合到本文中。This application is a continuation-in-part of U.S. Patent Application Serial No. 08/706,061, filed August 30, 1996, and is incorporated herein by reference , this application is related to its commonly-assigned application entitled "Ink Containers Constructed for Use in Printers," filed Jan. 30, 1997 (U.S. Application No. U.S. Attorney Docket No. 10961157), and Patent Application No. 10961158, filed January 30, 1997, entitled "Electrical and Fluid Interface for an Ink Supply," and filed January 30, 1997, entitled Patent Application for "Electrical Adapter for Replaceable Ink Container" (US Application No., US Attorney Docket No. 10961160), all three of which are incorporated herein by reference in their entirety.
本发明涉及用于给喷墨打印头供墨的可更换的油墨容器。更具体地说,本发明涉及这样一种油墨容器,该油墨容器的构形使得其适用于打印机以便打印机的结构布局能够有效地利用空间,可接近油墨容器并且具有较小的打印机着地点。The present invention relates to replaceable ink containers for supplying ink to ink jet printheads. More particularly, the present invention relates to an ink container configured such that it is suitable for use in a printer such that the printer layout is space efficient, accessible to the ink container and has a small printer footprint.
喷墨打印机常常使用安装在可横贯打印介体例如纸张来回移动的托架上的喷墨打印头。当打印头横贯打印介体移动时,一个控制系统会驱动打印头将油墨液滴喷射或喷洒在该打印介体上形成图象和文本。Inkjet printers often use an inkjet printhead mounted on a carriage that traverses a print medium, such as paper. As the printhead moves across the print medium, a control system drives the printhead to eject or spray ink droplets onto the print medium to form images and text.
以前使用的打印机一直是使用与打印头可分开地更换的油墨容器。当油墨容器用尽时,可以将油墨容器取下用一个新的油墨容器更换。使用与打印头分开的可更换的油墨容器使得使用者可更换油墨容器而无需更换打印头。打印头于是可在其使用寿命终结或接近终结时加以更换而不是在油墨容器用尽时更换。Previously used printers have used ink containers that are replaceable separately from the printhead. When the ink container is exhausted, the ink container can be removed and replaced with a new ink container. Using a replaceable ink container separate from the printhead allows the user to replace the ink container without having to replace the printhead. The printhead can then be replaced at or near the end of its useful life rather than when the ink container is depleted.
一直需要一种小巧、可靠、并且构形适合使用者心理期望的打印系统。象更换油墨容器这类经常性的工作应该可以由大部分的打印机的使用者很容易就能完成。在彩色打印的情况下,经常使用四种或更多的油墨。例如,CYMK彩色打印使用了蓝绿色。黄色,深红色和黑色油墨。每一种颜色使用一个可更换的油墨容器的打印机都必须将这些容器定位在可以很容易由使用者够到并且易于由使用者抓住进行更换的部位处。而且,这些打印机应该在打印机高度和打印机面积两方面都相对较小以便有助于尽量减小占用柜台或工作台的空间以及使使用者在布置打印机时具有尽量大的灵活性。There is a continuing need for a printing system that is compact, reliable, and conforms to the psychological expectations of the user. Routine tasks like changing ink containers should be easily accomplished by most printer users. In the case of color printing, four or more inks are often used. For example, CYMK color printing uses cyan. Yellow, crimson and black inks. Printers that use one replaceable ink container for each color must locate the containers where they can be easily reached by the user and easily grasped by the user for replacement. Furthermore, these printers should be relatively small in both printer height and printer area to help minimize counter or bench space and allow the user as much flexibility as possible in arranging the printers.
本发明是一种用于打印系统中的可更换的油墨容器。该打印系统是具有一个安装在扫描托架上的打印头和一个用于接纳该可更换的油墨容器的供墨台那样类型的打印系统。该供墨台是与打印头流体连通的。该可更换的油墨容器包括一个流体输出口,其构形适合于啮合供墨台上的对应的流体输入口部分。还包括有设置在可更换的油墨容器的外表面上的第一和第二导引件。第一和第二导引件设定安置成能啮合设置在供墨台的相对两端上的对应的第一和第二导引件,以便将可更换的油墨容器导引到供墨台内,将流体输出口和对应的流体输入口可流通地连接起来。The present invention is a replaceable ink container for use in a printing system. The printing system is of the type having a printhead mounted on the scan carriage and an ink supply station for receiving the replaceable ink container. The ink supply station is in fluid communication with the printhead. The replaceable ink container includes a fluid outlet configured to engage a corresponding fluid inlet portion on the ink supply station. Also included are first and second guides disposed on the outer surface of the replaceable ink container. The first and second guides are configured to engage corresponding first and second guides disposed on opposite ends of the ink supply station to guide the replaceable ink container into the ink supply station , to fluidly connect the fluid output port with the corresponding fluid input port.
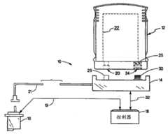
图1是该打印系统的示意简图,示出了本发明的油墨容器,该油墨容器形成与打印系统相连的流体互联和电气互联。Figure 1 is a schematic diagram of the printing system showing the ink container of the present invention forming the fluid and electrical interconnections to the printing system.
图2是盖子已经被取下的打印机的透视图,该打印机结合了本发明的油墨容器。Figure 2 is a perspective view of a printer incorporating the ink container of the present invention with the cover removed.
图3是用在图2所示的打印机上的供墨接纳台(作了部分截断),该供墨器设置成能插入供墨器接纳台内。Figure 3 is an ink supply receiving station (partially broken away) for use with the printer shown in Figure 2, the ink supply being arranged to be inserted into the ink supply receiving station.
图4示出了沿图3中截面A-A′截取的作了局部截断的简化横截面图,其中油墨容器装在图3所示的油墨容器接纳台内。FIG. 4 shows a simplified, partially broken cross-sectional view taken along section A-A' of FIG. 3, wherein the ink container is installed in the ink container receiving station shown in FIG.
图5是图2所示的打印机的俯视简化视图。FIG. 5 is a top simplified view of the printer shown in FIG. 2 .
图6a,6b和6c是本发明的油墨容器的最佳实施例的等角视图。Figures 6a, 6b and 6c are isometric views of a preferred embodiment of the ink container of the present invention.
图7a,7b和7c是本发明的油墨容器的另一实施例的等角视图。Figures 7a, 7b and 7c are isometric views of another embodiment of an ink container of the present invention.
图1是喷墨打印机10的简化示意图,该喷墨打印机包括一个本发明的油墨容器12。该喷墨打印机10还包括一个油墨容器接纳台或供墨台14,一个喷墨打印头16和一个打印控制器18。打印是由打印机10通过在打印控制器18的控制下将油墨从打印头16中喷射出来的方式完成的。打印头16由一条连线19连接到控制器18上以便控制油墨的喷射。油墨是通过一条流体导管20提供给打印头16的,该导管20将该打印头16可流过流体地连接到油墨容器接纳台14上。油墨容器12包括一个与一个流体储存器22流体连通的油墨出口20。在一个较佳实施例中,油墨容器12包括多个电气触片24,这些触片24电气地连接到一个信息储存装置26上。Figure 1 is a simplified schematic diagram of an
油墨出口20和电气触片24使得油墨容器12可分别与一个流体入口28和电气触片30可靠地相互连接起来,此流体入口28和电气触片30是与油墨容器接纳台14相关连的。油墨容器接纳台14使油墨能够从与油墨容器12相连的流体储存器22经流体管道21传输到打印头16。此外,油墨容器接纳台14使得信息可以经一条连线32在与油墨容器12相连的信息储存装置26与打印控制器18之间传递。
图2示出了盖子已经被取下的喷墨打印机10的一个实施例的透视图,该打印机装有一个或多个油墨容器12。本发明涉及的是一种用于将油墨容器12导引到喷墨打印机10内以便确保在油墨容器和打印机10之间可以获得流体的、电气的和机械的可靠啮合的方法和设备。更具体地说,本发明涉及设置在油墨容器12和打印机10两者上的导引件,这些导引件允许将油墨容器12以紧凑的方式加以设定,从而能保持较小的打印机尺寸和着地点或打印机面积。FIG. 2 shows a perspective view of one embodiment of an
打印机10包括一个用于保持供纸的托盘40。当起动打印操作时,使用一个送纸器(未示出)将一张纸从托盘40送入打印机10内。在打印过程中,该张纸通过打印区42,在该打印区内,一个装有一个或多个打印头16的扫描托架44横贯纸张滑动以便在纸张上打印一行油墨。在扫描托架44打印出一行行的油墨以便在纸张上形成图象的过程中,纸张是步进地通过打印区42的。
在打印完成后,该张纸就被送入一个输出托盘46内,供纸器40和输出托盘46的设置可以根据所用的特殊纸张供给或所用的连续供给机构而变化。After printing is complete, the sheet of paper is fed into an
扫描托架44移动通过一个扫描机构上的打印区42,该扫描机构包括一个由扫描托架44在其上滑动的滑杆48。所示的坐标系50具有3个相互正交的轴(x,y,z)。轴x的取向平行于扫描托架44的移动方向。轴y的取向沿着打印介体步进通过打印区42的方向。使用一个象编码带(未示出)那样的定位装置与扫描托架44上的一个光探测器一起精确地设定扫描托架44的位置。使用一个步进电机(未示出)驱动扫描托架44横贯打印区42移动,该步进电机使用一个常规的驱动皮带和皮带轮装置连接到扫描托架44上。The
一条带状电缆(未示出)将电信号传递到扫描托架44上以便有选择地激励打印头16。当被选择的打印头16被激励时,随着扫描托架44横贯打印区42的移动,选定颜色的油墨就被喷射在打印介体上。A ribbon cable (not shown) carries electrical signals to scan
图2中示出扫描托架44设定在一个毗邻打印区部分42设置的非打印部分或服务台45处。服务台45固持住打印头16以便确保在整个打印过程中有最佳的打印质量。服务台45一般完成下面所述功能中的一个或多个功能:a)给打印头16注墨;b)当打印头16不在使用时盖住孔板和打印头16上的其他孔;c)从孔板中擦去污垢;d)防止孔板上的孔内的油墨干枯;e)提供一个位置以便将孔板上的孔内干枯后的柔软的粘性油墨柱塞喷出。用于喷墨打印机10的服务台在授予Burke等人的题为“用于自动地清洁热敏式喷墨墨盒的打印头的方法和装置”的美国专利5300958中有详细的讨论,该专利转让给了本发明的受让人并且通过引用结合到本文中。Scanning
本发明涉及将油墨提供给打印头16以便将其喷射在打印介体上的油墨容器12。油墨容器12是指偏轴油墨供应器,因为油墨供应器是与由扫描托架44限定的扫描轴线隔开的。扫描轴线的取向是沿着坐标系50中的x轴。此偏轴油墨输送系统包括一个用于接纳油墨容器12的油墨接纳台14。这些油墨容器12在彩色打印的情况下经常是每种彩色油墨对应一个独立的油墨容器12以及一个用于黑色油墨的油墨容器12。例如,用于图2所示的一个最佳实施例的油墨容器12是多种油墨容器54,56,58和60。容器54是于盛装黑色油墨,油墨容器56用于盛装黄色油墨,油墨容器58用于盛装深红油墨,油墨容器60用于盛装蓝绿油墨。接纳台14装有一个机械接口,一个流体接口和一个电气接口。油墨容器12沿坐标系50的z轴插入到接纳台14内,该轴的方向与扫描轴线(x轴)和介体在推进过程中步进通过打印区的方向(y轴)两者大致正交。一旦油墨容器12适当地插入并且锁定就位,就完成了与打印机10的电气、机械和流体对接。油墨通过象可将油墨容器54,56,58和60与打印扫描托架44上的对应的打印头16流体地连接起来的配管那样的流体管道21流过接纳台14中的这些流体接口。The present invention relates to an
在一个较佳实施例中,将油墨容器12定位在与z轴沿与扫描轴线偏离的y轴方向测得的大约10°的角度的方位上。该方位提供了朝使用者的向前的倾斜或偏压以便易于将油墨容器12插入到油墨容器接纳台14内。In a preferred embodiment, the
图3示出了本发明的一个油墨容器12,该容器设定在插入到打印机10的接纳台14内的位置上。油墨容器12装有象油墨那样的介体标记流体供应。在油墨容器12内还包括有是本发明主题的油墨出口20,多个电气接触片24,对准或导引件62和锁定件64。油墨容器12上的对准件62有助于使油墨容器12对准以便插入到接纳台14内。对准件62与接纳台14上的对应的对准或导引件66一起工作。FIG. 3 shows an
对准件62最好设定在油墨容器12的对置的两侧。对应的对准件66设置在油墨容器接纳台14的对置的两端处。正是对准件62和66的设定使得可以将油墨容器12紧密地插入到油墨容器接纳台14内,从而提供了一个紧凑的油墨容器接纳台14。在油墨容器接纳台14的相对的两端处使用对准件66可以省去在油墨容器12插入过程中所需要的隔壁。省去隔壁从而只使用对准件62和66进行导引和对准可以设计出一个紧凑的油墨容器接纳台14。
这些对准件62和66除了提供对准功能外,还提供键锁功能以确保油墨容器12装有具有象合适的颜色那样的适当的参数的油墨并且可与特定的打印机10兼容。键锁和对准件62和66在已经转让给本发明的受让人的于1995年12月4日提交的题为“用于供墨容器的键锁装置”的共同待批的美国专利申请08/566521中有详细的描述,该申请通过引用结合到本文中。These
一旦将合适的油墨容器12适当地对准和插入到接纳台14内,锁定件68就会与在油墨容器12上的对应的锁定件64啮合以便将油墨容器12锁定到接纳台14内。在油墨容器12适当地锁定到接纳台14内的情况下,与接纳台14相连的流体入口28就与油墨容器12上的对应的油墨出口20啮合,以便让流体从油墨容器12流到打印机10并最终流到打印头16以便在打印介体上打印。Once the
将油墨容器12插入到接纳台14内就在油墨容器12和接纳台14之间形成电气连接。与油墨容器12相连的电气触片24啮合与接纳台14相连的对应的电气触片30以便让信息在接纳台14和油墨容器12之间传递。Inserting the
图4示出了油墨容器12沿其导引件62截取的剖视图,其中该油墨容器至少部分地插入到接纳台14内。此图示出了油墨容器12上的导引件62与油墨容器接纳台14上的导引件66之间的相互作用。导引件66是沿着插入方向延伸的通道。导引件66设置在油墨容器接纳台14的第一侧面70和第二侧面72上。该第一和第二侧面70和72设定在油墨容器接纳台14的对置的两端处。导引件62设置在主轴线的相对的两端处并且其构形使得其可以以互锁的方式啮合在油墨容器接纳台14上的对应的导引件66。一旦油墨容器12适当地设定,使得导引件62和66互锁,则油墨容器12就可以被压入到油墨容器接纳台14内,使得油墨容器12滑动就位,从而完成合适的流体、电气、和机械对接。FIG. 4 shows a cross-sectional view of the
导引件66是不对称的,因而在第一侧面70上的导引件66与在第二侧面72上的导引件66不同。在两个侧面70和72之间使用不对称的导引件66可以防止油墨容器12不适当地在与沿y轴的正确的取向相差180度的取向上插入。此外,使用不对称的导引件62和66给使用者提供了一种目视导引作用以便有助于使用者确保油墨容器12正确地插入。通过防止会导致与第一侧面70相连的对准件66不适当地插入到第二侧面72内的油墨容器12的插入的方式,可以避免打印机10受到损坏并且可提高打印机10的可靠性。The
图5示出了图2所示的打印机10的俯视图的示意图。该示意图是想仅仅示出一般打印机10的结构布置特征,而不是要精确地或成比例地表示打印机10的结构布置。打印机10包括一个介体传递部分47,打印区部分42,服务区部分45,油墨容器12和超行程部分49。介体传递部分47包括纸张托盘40和设置在打印区42前面的输出托盘46。毗邻于打印区42,沿着以坐标系50中的x轴表示的扫描轴线51的是服务区45。服务区45在一个最佳实施例中是设置在从面朝打印机10的正面看去的打印区42的右侧。毗邻于打印区42,与服务区45对置的并且沿着扫描轴线51的是超行程部分49。FIG. 5 shows a schematic diagram of a top view of the
超行程部分49是由扫描托架44在打印区42的任一侧的超行程导致的。此超行程由打印头16在打印介体的任一侧边缘处定位所导致。多个打印头16中的每个打印头都在托架44内沿扫描轴线51布置。因此,为了将与在打印介体两侧边缘处的多个打印头16中的各个打印头相连的各个喷嘴定位,打印托架44必须超行程到或延伸到在打印区42两侧的打印介体之外。此超行程部分49在打印机10左侧处的宽度与最右侧的打印头喷嘴距托架44的左侧边缘的距离相等。类似地,在打印机10的右侧处的超行程与最左侧的打印头喷嘴距托架44的右侧边缘的距离相等。
在图5所示的实施例中,油墨容器12被安置在服务区45的前面。在此最佳实施例中,油墨容器54,56,58,和60都沿平行于扫描轴线51的线并排地安置。在油墨容器12和供墨台14上分别使用对准件62和66可使得油墨容器12靠近隔开地并排设置。只在油墨容器12的主轴线上放置对准件62使得油墨容器12可沿一条辅助轴线以靠近隔开的方式放置。在该辅助轴线(x轴)上使用对准件62可增加供墨台14沿x轴的宽度。因此,对准件62和66的此种布置使得油墨容器12可以嵌装在一个设置在服务台45前部区域中的紧凑的供墨台14内。此紧凑的供墨台14包括对准件62和66以便有助于导引油墨容器12插入到供墨台14内。In the embodiment shown in FIG. 5 , the
每个单独油墨容器54,56,58和60都构形成在扫描轴线51(X轴)的方向上具有一定的宽度,在垂直于该宽度的方向上具有一定的长度,在垂直于该长度和宽度方向上具有一定的高度。油墨容器54,56,58和60都可以具有如图2所示的相同的宽度或者这些油墨容器54,56,58和60中的一个或多个根据所需的油墨容器的容量可以具有或大或小的宽度。例如,在图2所示的四色打印机10的情况中,如果由油墨容器54提供给打印头16的黑色油墨比由油墨容器56,58和60分别提供的黄色,深红色,和蓝绿色油墨用得更快,则可以用较大的油墨容器(未示出)替换油墨容器54。此用于黑色油墨的较大的油墨容器给使用者提供了使用上的方便以便减少更换油墨容器的频率。Each of the
油墨容器54,56,58和60是以隔开的方式布置的,一般平行于扫描轴线51,以便让使用者能够看到每个油墨容器12并且能够容易地接近每个容器12以便更换容器12。此外,服务台45设定在打印区42的右侧,因为服务台45沿扫描轴线51具有一定的宽度,该宽度一般大于沿扫描轴线51与超行程部分49相关的宽度。托架44一般具有在打印区42右侧的超行程,同样的原因,托架在打印区42的左侧也具有超行程部分49。然而,服务台45往往在扫描轴线51上具有较超行程部分49大的宽度,因为托架44一般会完全移动到对打印头服务的打印区42之外。The
将油墨容器设定在打印区42的右侧可以使得占使用者中的大部分的右撇子使用者更加易于接近油墨容器12。而且,将油墨容器设定在服务台45的右前方上可以有更多的空间设定油墨容器12而不会增加打印机10在平行于扫描轴线51的方向上的总的宽度。Locating the ink container on the right side of the
图6a,6b和6c示出了本发明的一个最佳的油墨容器12的等角视图。该油墨容器12包括一个外表面或外壳72,该外表面72具有相对于将油墨容器12插入到接纳台14内的方向的一个前边缘74和一个后边缘76。Figures 6a, 6b and 6c show isometric views of a
外表面72在图6c所示的油墨容器12的前边缘74处限定了一个进入空腔内的开口82。具有多个与其相连的电气触片24(图1所示)的储存装置26安装在该空腔内。电气触片24构形成能够在油墨容器12适当地插入到打印机10内时啮合住与接纳台14相连的对应的电气触片30。The
还在前边缘74上设置有流体出口20。该流体出口20的构形使得其可以啮合在供墨台14上的流体入口28以便形成油墨容器12和打印机10之间的流体互联。将油墨容器12沿z轴在竖直方向的插入而其流体出口20在前缘74上可以使得空气朝后边缘76上升到油墨容器12的顶部。在使用过程中油墨容器12的这个取向可防止油墨容器12内的空气传送到供墨台14并且最终到达打印头16。由打印头16送入的空气会导致差的打印质量并且减小打印头16的可靠性。A
对准件62和锁定件64设置在油墨容器12上。对准件62有助于将油墨容器12插入到接纳台14。对准件62最好设置在毗邻油墨容器12的前边缘74处。在毗邻前边缘74处设置对准件62可确保油墨容器12在插入过程的早期可以正确地对准。换句话说,如果使用者试图将油墨容器12插入错误的位置和/或方位,他或她会立即得到一个反馈信号(在部分插入前)。此外,使用者可以目视将油墨容器12上的前边缘件与在接纳台14上的前边缘件对准。如果这些件是从前边缘74上偏凹下的,则合适的定位将比较困难。通过将对准件62毗邻前边缘74的定位可以使得油墨容器12在插入过程中的早期就对准。一旦将油墨容器12插入到接纳台14内,锁定件64就会与弹簧68啮合以便将油墨容器12固定在接纳台14内(见图3所示)。An
如前面所述的那样,电气和流体接口是设置在油墨容器12的前边缘上。将对准件62靠近前边缘74设置可以将它们放置在靠近需要严格对准的零件处。为了使供墨台和油墨容器的部件的成本降低,这些部件往往要在没有非常严格的公差的情况下模注成形。因此,在油墨容器12上的啮合件66要稍小于在接纳台14上的啮合件66(见图4所示),尺寸差大致与所预料的模塑的变异成比例。因此,在相应的相互啮合的对准件之间存在某些布置差异。这些对准件从流体和电气接口上伸出的越多,墨容器12上的电气和流体接口与在接纳台14上的相应的接口之间的布置的角度差异的效果也越大。使此距离减至最小可使得此种关键的布置差异减至最小。Electrical and fluid connections are provided on the front edge of the
在油墨容器12的相对的两端处设置有朝后边缘76的抓握部86。抓握部86是一种波纹形的抓握表面,其形状和纹理使得使用者易于用拇指和食指捏住油墨容器12。抓握部86在后边缘76处较大从而提供了一个悬垂部分,该悬垂部分便于在将油墨容器12从供墨台14上抽出过程中捏住油墨容器12。该悬垂部分是在长度方向上沿y轴延伸的,使得油墨容器12可以在沿x轴的宽度方向上较短地隔开。At opposite ends of the
扩大的后边缘76除了便于捏住油墨容器12外还可防止将油墨容器12无意中颠倒插入到供墨台14内。扩大的后边缘76还给使用者提供了一个关于油墨容器12在插入到打印机10内的过程中方位是否合适的目视导引作用。此外,扩大的后边缘76可防止打印机10在油墨容器12插入到供墨台14内,因先将后边缘76插入而导致的故障。The enlarged
油墨容器12具有在图6b中分别由字母H和L表示的相关的高度和长度。长度L是在大致垂直于扫描轴线51的方向上,而高度H是在大致垂直于扫描轴线51和长度L的方向上。油墨容器12具有由图6c中字母W所示的宽度。宽度W是在大致平行于扫描轴线51的方向上。The
油墨容器12的宽度W要选择得小于与服务台45相关的宽度减其余的油墨容器12的宽度W。例如,如果所有的油墨容器12具有相同的宽度W,则每个油墨容器12的宽度小于与服务台45相关的宽度除以油墨容器12的数目。因此,油墨容器12具有与每个容器相关的宽度W以便允许所有的油墨容器12能够在宽度方向上并排地安置,使得每个油墨容器12的组合宽度小于与服务台45相关的宽度。油墨容器12的宽度的设定要根据服务台45的宽度来定以便使打印机10沿扫描轴线51保持较小的总的宽度。在图6a,6b和6c所示的最佳实施例中,油墨容器12的宽度W大致为15毫米(mm)。The width W of the
油墨容器12的长度L要根据人机工程学或使用者抓住油墨容器12的能力来确定。在最佳实施例中,油墨容器12的长度L要选择得使大部分使用者能够沿油墨容器12的长度以拇指和食指捏住油墨容器12。在此最佳实施例中,长度要选择得能够适应捏住宽度或人体测量限制,以便占5%的女性使用者使用拇指和食指进行夹捏。因此,95%的女性使用者能够使用拇指和食指捏住油墨容器12以便在长度方向上捏住油墨容器12。在此最佳实施例中,油墨容器12具有大致70毫米的长度。The length L of the
油墨容器12的高度要根据使用者的方便和确保最大的打印质量之间的妥协方案来选择。油墨容器12是应该大些以便减少更换油墨容器的次数,但是油墨容器又要小到足以使得油墨容器在象会降低打印质量的VTR损失那样的老化效应之前被用尽。在一个最佳实施例中,油墨容器12选定成具有85毫米的高度,以便使得至少一个油墨容器12具有80立方厘米的油墨容量,3个油墨容器12具有30立方厘米的油墨容量。较高的容量使用者一般会在2至6个月内用完80立方厘米的黑色油墨和30立方厘米的彩色油墨。将油墨容器12设计成使得油墨能够在6个月前被用尽有助于确保最大的打印质量。最后,高度H应该选择得使打印机10的总的高度保持较小以便使打印机10的总的尺寸尽量地小。The height of the
图7a,7b和7c示出了本发明的油墨容器12的另一个最佳实施例的等角视图。油墨容器12相似于图6a,6b和6c中所示的油墨容器,除了图7a,7b和7c所示的油墨容器具有较大的宽度W以便使油墨容器12能够装较多的油墨。在图7a,7b和7c中的相同的数字和字母用来表示与图6a,6b和6c所示结构类似的结构。Figures 7a, 7b and 7c show isometric views of another preferred embodiment of the
油墨容器12在图7b中具有相关的用字母H′和L′表示的高度和长度。长度L′是沿大致垂直于扫描轴线51的方向,而高度H′是沿大致垂直于扫描轴线51和长度L′的方向上。油墨容器12具有用图7c中的字母W′表示的与其相关的宽度。宽度W′是沿大致平行于扫描轴线51的方向。The
在一个最佳实施例中,油墨容器12要选择得具有85毫米的高度H′,大致为32毫米的宽度W′以及大致为73毫米的长度。此最佳的油墨容器12具有80立方毫米的容量。在外服务器72′上形成的空腔82′类似于在图6a,6b和6c中所示的油墨容器12上的空腔。具有电气触片26′和流体出口20′的空腔82′设定在相对于对准件62′的同一位置上,从而使得较小的30立方毫米或较大的80立方毫米的油墨容器12能够插入到同一槽缝内。通过使得服务台45上的至少一个槽缝能够接纳宽度变化的油墨容器12可以给使用者提供很大的方便性。例如,如果打印机的应用使用一种色彩的速率较其他色彩快,则使用者可以使用容积较大的油墨容器12,从而减少更换的频率。一般地说,黑色油墨使用的速率较快,因此,黑色油墨容器12的槽缝隔得较开以便容纳宽度变化的油墨容器12。In a preferred embodiment,
本发明提供这样一种油墨容器12,该容器包括与导引件66一起导引油墨容器12进入到供墨台14内的导引件62,以便在油墨容器12和油墨容器接纳台14之间提供一种可靠的电气、机械、和流体连接。导引件62和66设置并安置成允许油墨容器12在接纳台14内并排地紧密地隔开安装。在由接纳台45至少部分地限定的空间范围内设定油墨容器12和服务台的尺寸应该尽量保持打印机10的总的宽度较小。 .此外,将油墨容器12平行于扫描轴线51设置并且安置在服务台45的前面和纸张托盘40和46的右侧可以确保能够方便地接近油墨容器12对其进行更换。最后,油墨容器12的与在前边缘74上的流体和电气接口大致垂直的取向可以提供一种方便的并且使得油墨容器12的插入和取出都很方便的结构布置。The present invention provides an
| Application Number | Priority Date | Filing Date | Title |
|---|---|---|---|
| US789,957 | 1997-01-30 | ||
| US08/789,957US6142617A (en) | 1995-04-27 | 1997-01-30 | Ink container configured for use with compact supply station |
| Publication Number | Publication Date |
|---|---|
| CN1186021Atrue CN1186021A (en) | 1998-07-01 |
| CN1088012C CN1088012C (en) | 2002-07-24 |
| Application Number | Title | Priority Date | Filing Date |
|---|---|---|---|
| CN97117917AExpired - LifetimeCN1088012C (en) | 1997-01-30 | 1997-08-29 | Ink container configured for use with compact supply station |
| Country | Link |
|---|---|
| CN (1) | CN1088012C (en) |
| Publication number | Priority date | Publication date | Assignee | Title |
|---|---|---|---|---|
| CN100460212C (en)* | 2002-03-29 | 2009-02-11 | 精工爱普生株式会社 | Ink cartridges and recording devices |
| CN103153628A (en)* | 2010-10-22 | 2013-06-12 | 惠普发展公司,有限责任合伙企业 | Fluid cartridge |
| CN104118216A (en)* | 2010-10-22 | 2014-10-29 | 惠普发展公司,有限责任合伙企业 | Fluid cartridge |
| US8979251B2 (en) | 2010-10-22 | 2015-03-17 | Hewlett-Packard Development Company, L.P. | Fluid cartridge |
| US9028054B2 (en) | 2010-10-22 | 2015-05-12 | Hewlett-Packard Development Company, L.P. | Fluid cartridge |
| CN106535701A (en)* | 2014-07-25 | 2017-03-22 | 宝洁公司 | Cartridge assembly for a dispensing device |
| CN111942027A (en)* | 2018-07-13 | 2020-11-17 | 惠普发展公司,有限责任合伙企业 | Printing liquid supply device, printing liquid supply device assembly and interface structure |
| CN112571961A (en)* | 2019-09-30 | 2021-03-30 | 精工爱普生株式会社 | Inkjet recording apparatus, inkjet recording method, and aqueous ink composition |
| US11173719B2 (en) | 2018-07-13 | 2021-11-16 | Hewlett-Packard Development Company, L.P. | Print liquid supply |
| US11364720B2 (en) | 2018-07-13 | 2022-06-21 | Hewlett-Packard Development Company, L.P. | Print liquid supply |
| US11420444B2 (en) | 2018-07-13 | 2022-08-23 | Hewlett-Packard Development Company, L.P. | Print liquid supply |
| US12145373B2 (en) | 2018-07-13 | 2024-11-19 | Hewlett-Packard Development Company, L.P. | Print liquid supply |
| Publication number | Priority date | Publication date | Assignee | Title |
|---|---|---|---|---|
| JP2005104000A (en) | 2003-09-30 | 2005-04-21 | Brother Ind Ltd | Ink cartridge assembly, ink cartridge, inkjet printer |
| Publication number | Priority date | Publication date | Assignee | Title |
|---|---|---|---|---|
| ATE227649T1 (en)* | 1989-08-05 | 2002-11-15 | Canon Kk | INK CARTRIDGE |
| JPH06336070A (en)* | 1993-05-27 | 1994-12-06 | Tokyo Electric Co Ltd | Printer unit and printer device |
| US5742310A (en)* | 1995-02-28 | 1998-04-21 | Canon Kabushiki Kaisha | Ink jet printer and an ink storing member mounted on the printer |
| US5784087A (en)* | 1995-04-27 | 1998-07-21 | Owens-Illinois Closure Inc. | Liquid containment and dispensing device |
| Publication number | Priority date | Publication date | Assignee | Title |
|---|---|---|---|---|
| CN100460212C (en)* | 2002-03-29 | 2009-02-11 | 精工爱普生株式会社 | Ink cartridges and recording devices |
| US9028054B2 (en) | 2010-10-22 | 2015-05-12 | Hewlett-Packard Development Company, L.P. | Fluid cartridge |
| CN103153626A (en)* | 2010-10-22 | 2013-06-12 | 惠普发展公司,有限责任合伙企业 | Fluid cartridge |
| CN104118216A (en)* | 2010-10-22 | 2014-10-29 | 惠普发展公司,有限责任合伙企业 | Fluid cartridge |
| US8979251B2 (en) | 2010-10-22 | 2015-03-17 | Hewlett-Packard Development Company, L.P. | Fluid cartridge |
| CN103153628B (en)* | 2010-10-22 | 2015-04-08 | 惠普发展公司,有限责任合伙企业 | Fluid cartridge, replaceable ink cartridge and cartridge set |
| CN103153628A (en)* | 2010-10-22 | 2013-06-12 | 惠普发展公司,有限责任合伙企业 | Fluid cartridge |
| CN104118216B (en)* | 2010-10-22 | 2016-08-24 | 惠普发展公司,有限责任合伙企业 | Fluid box |
| US9616670B2 (en) | 2010-10-22 | 2017-04-11 | Hewlett-Packard Development Company, L.P. | Fluid cartridge |
| US9738080B1 (en) | 2010-10-22 | 2017-08-22 | Hewlett-Packard Development Company, L.P. | Fluid cartridge |
| US9770914B2 (en) | 2010-10-22 | 2017-09-26 | Hewlett-Packard Development Company, L.P. | Fluid cartridge |
| US10112400B2 (en) | 2010-10-22 | 2018-10-30 | Hewlett-Packard Development Company, L.P. | Fluid cartridge |
| US10391775B2 (en) | 2010-10-22 | 2019-08-27 | Hewlett-Packard Development Company, L.P. | Fluid cartridge |
| CN106535701A (en)* | 2014-07-25 | 2017-03-22 | 宝洁公司 | Cartridge assembly for a dispensing device |
| CN111942027A (en)* | 2018-07-13 | 2020-11-17 | 惠普发展公司,有限责任合伙企业 | Printing liquid supply device, printing liquid supply device assembly and interface structure |
| US11590761B2 (en) | 2018-07-13 | 2023-02-28 | Hewlett-Packard Development Company, L.P. | Print liquid supply |
| CN111942027B (en)* | 2018-07-13 | 2021-10-15 | 惠普发展公司,有限责任合伙企业 | Printing liquid supply device, printing liquid supply device assembly and interface structure |
| US11173719B2 (en) | 2018-07-13 | 2021-11-16 | Hewlett-Packard Development Company, L.P. | Print liquid supply |
| US11179941B2 (en) | 2018-07-13 | 2021-11-23 | Hewlett-Packard Development Company, L.P. | Print liquid supply |
| US11364720B2 (en) | 2018-07-13 | 2022-06-21 | Hewlett-Packard Development Company, L.P. | Print liquid supply |
| US11420444B2 (en) | 2018-07-13 | 2022-08-23 | Hewlett-Packard Development Company, L.P. | Print liquid supply |
| US12145373B2 (en) | 2018-07-13 | 2024-11-19 | Hewlett-Packard Development Company, L.P. | Print liquid supply |
| US12097710B2 (en) | 2018-07-13 | 2024-09-24 | Hewlett-Packard Development Company, L.P. | Print liquid supply |
| US11667125B2 (en) | 2018-07-13 | 2023-06-06 | Hewlett-Packard Development Company, L.P. | Print liquid supply |
| US11667124B2 (en) | 2018-07-13 | 2023-06-06 | Hewlett-Packard Development Company, L.P. | Print liquid supply |
| US11840091B2 (en) | 2018-07-13 | 2023-12-12 | Hewlett-Packard Development Company, L.P. | Print liquid supply |
| US11951748B2 (en) | 2018-07-13 | 2024-04-09 | Hewlett-Packard Development Company, L.P. | Print liquid supply |
| US11981143B2 (en) | 2018-07-13 | 2024-05-14 | Hewlett-Packard Development Company, L.P. | Print liquid supply |
| CN112571961B (en)* | 2019-09-30 | 2023-03-07 | 精工爱普生株式会社 | Ink jet recording apparatus, ink jet recording method, and aqueous ink composition |
| CN112571961A (en)* | 2019-09-30 | 2021-03-30 | 精工爱普生株式会社 | Inkjet recording apparatus, inkjet recording method, and aqueous ink composition |
| Publication number | Publication date |
|---|---|
| CN1088012C (en) | 2002-07-24 |
| Publication | Publication Date | Title |
|---|---|---|
| US6142617A (en) | Ink container configured for use with compact supply station | |
| CN1147399C (en) | Replaceable ink container for supplying ink to an off-axis printing system | |
| EP0968090B1 (en) | Ink container having electronic and mechanical features enabling plug compatibility between multiple supply sizes | |
| KR100730865B1 (en) | Replaceable ink container and how to form an electrical and fluid connection | |
| CN1196591C (en) | Latch and handle arrangement for replaceable ink container | |
| CN1088012C (en) | Ink container configured for use with compact supply station | |
| CN1103690C (en) | Electrical interconnect for an ink container | |
| CN1252758A (en) | Method and apparatus for securing an ink cartridge | |
| TW200817188A (en) | Attachment, and liquid supply apparatus | |
| JP2008254455A (en) | Liquid ejector | |
| KR20020097170A (en) | Ink container for reliable electrical connection with a receiving station | |
| KR100473960B1 (en) | Ink container configured for use with printer | |
| KR100402568B1 (en) | Double Pen Carriage System | |
| US11179943B2 (en) | Liquid container, mounting body, and liquid ejecting apparatus | |
| JP6930165B2 (en) | Cartridge and liquid supply unit | |
| JP3988257B2 (en) | Image forming apparatus and cartridge member | |
| JP4758571B2 (en) | Image recording device | |
| HK1056145B (en) | Ink container for reliable electrical connection with a receiving station | |
| JP2001353877A (en) | Ink tank, inkjet cartridge and inkjet recording device |
| Date | Code | Title | Description |
|---|---|---|---|
| C06 | Publication | ||
| PB01 | Publication | ||
| C10 | Entry into substantive examination | ||
| SE01 | Entry into force of request for substantive examination | ||
| C14 | Grant of patent or utility model | ||
| GR01 | Patent grant | ||
| ASS | Succession or assignment of patent right | Owner name:HEWLETT-PACKARD DEVELOPMENT COMPANY, L.P. Free format text:FORMER OWNER: HEWLETT-PACKARD CO. (US) P.O. BOX 10301, PALO ALTO CALIFORNIA U.S.A. Effective date:20120420 | |
| C41 | Transfer of patent application or patent right or utility model | ||
| TR01 | Transfer of patent right | Effective date of registration:20120420 Address after:Texas, USA Patentee after:HEWLETT-PACKARD DEVELOPMENT Co.,L.P. Address before:California, USA Patentee before:Hewlett-Packard Co. | |
| CX01 | Expiry of patent term | ||
| CX01 | Expiry of patent term | Granted publication date:20020724 |