Movatterモバイル変換


[0]ホーム

URL:


CN1164303A - Channel hopping in radio communications system - Google Patents

Channel hopping in radio communications system
Download PDF

Info

Publication number
CN1164303A
CN1164303ACN95194162ACN95194162ACN1164303ACN 1164303 ACN1164303 ACN 1164303ACN 95194162 ACN95194162 ACN 95194162ACN 95194162 ACN95194162 ACN 95194162ACN 1164303 ACN1164303 ACN 1164303A
Authority
CN
China
Prior art keywords
channel
interference
channels
wireless
ber
Prior art date
Legal status (The legal status is an assumption and is not a legal conclusion. Google has not performed a legal analysis and makes no representation as to the accuracy of the status listed.)
Pending
Application number
CN95194162A
Other languages
Chinese (zh)
Inventor
C·H·安德森
K·M·阿尔姆格雷
Current Assignee (The listed assignees may be inaccurate. Google has not performed a legal analysis and makes no representation or warranty as to the accuracy of the list.)
Telefonaktiebolaget LM Ericsson AB
Original Assignee
Telefonaktiebolaget LM Ericsson AB
Priority date (The priority date is an assumption and is not a legal conclusion. Google has not performed a legal analysis and makes no representation as to the accuracy of the date listed.)
Filing date
Publication date
Application filed by Telefonaktiebolaget LM Ericsson ABfiledCriticalTelefonaktiebolaget LM Ericsson AB
Priority to CN95194162ApriorityCriticalpatent/CN1164303A/en
Publication of CN1164303ApublicationCriticalpatent/CN1164303A/en
Pendinglegal-statusCriticalCurrent

Links

Images

Landscapes

Abstract

Translated fromChinese

在移动电信系统中实现跳频及在时分复用信道(K1,K2,...)间跳跃。为在信道间跳跃,对每条连接建立跳跃序列,因此提高了系统中信道的利用率。对于一个基站(BS1)与多个移动台间的每条连接在信道(K1,K2,...)上测量干扰(I)。这些连接是双向的,具有一条上行链路与一条下行链路。对每条连接,测量的上行链路和下行链路的干扰值分别被存储在一个干扰表(IL)中。该图表示出了上行链路的3个干扰表(IL1up-IL3up,包括信道号(K1,K2,...)和测量的干扰值(I1,I2,...)。干扰值在一个转换电路(I/Wup)中被转换成权重值(0.1,0.3,...),然后这些权重值被存储在权重表(WL1up-WL3up)中。在一个分配电路(W/Hup)中分析这些权重值,分配电路把一些信道分配给每个跳跃序列表(HL1up-HL3up)。分别给每条连接分配相应的跳跃序列表。跳跃序列表被发送到各个移动台,因而给移动台提供了关于应该使用哪个跳跃序列表的信息。

Figure 95194162

Frequency hopping and hopping between time-division multiplexed channels (K1, K2, . . . ) are realized in mobile telecommunication systems. To hop between channels, a hopping sequence is established for each connection, thus improving the utilization of channels in the system. Interference (I) is measured on channels (K1, K2, . . . ) for each connection between a base station (BS1) and a plurality of mobile stations. These connections are bidirectional, with an uplink and a downlink. For each connection, the measured uplink and downlink interference values are stored in an interference table (IL), respectively. The diagram shows 3 interference tables (IL1up - IL3up ) for the uplink, including channel numbers (K1, K2, ...) and measured interference values (I1, I2, ...). The interference values are in is converted into weight values (0.1, 0.3, ...) in a conversion circuit (I/Wup ), and then these weight values are stored in weight tables (WL1up -WL3up ). In a distribution circuit (W/ Analyze these weight values in Hup ), and the distribution circuit assigns some channels to each hopping sequence table (HL1up -HL3up ). Distribute the corresponding hopping sequence table to each connection respectively. The hopping sequence table is sent to each mobile station , thus giving the mobile station information on which hopping sequence list should be used.

Figure 95194162

Description

A kind of method and apparatus that is used for the frequency hopping of wireless communication system
Technical field
The present invention relates to the field of radio communication, concrete relate in mobile communication system frequency hopping and between time division multiplex channel, jump.The present invention includes a kind of method, the jump sequence that is used for the interchannel jump is set up in different connections, thereby improved the utilance of channel.Channel disturbance is used to construct jump sequence.The invention still further relates to a concrete scheme of this method of realization.
Frequency hopping in the wireless communication system is widely known by the people at technos, and for example has been used in to hide in the transmission in the military field and is eavesdropped.In this respect, the time interval jump with rule realizes communication between different frequencies.Jump sequence is formed by the puppet decline sequence of having only transmitter and receiver to know.
Except jumping between different frequencies, frequency hopping also refers to jump between frequencies different in tdma system/time slot combination.In fact the back is a kind of should be called frequency/time slot combination jump, but in fact below will use unified term channel to jump for convenient.
In order to reduce interference, channel hopping has been used in wireless communication system and has suffered.The benefit that this respect brings is that the energy in the system is dispersed in the different channels.In this respect, give same to connect a plurality of channels of distribution.Along with the carrying out of communication, system allows each connect according to given jump rule as does media by predetermined pseudo-decline sequence and jump at some interchannels.When using pure frequency hopping program, disturb to be diffused in the system, because the centre frequency per second that transmission is used will change repeatedly.Yet when not using pure frequency schedule when using such frequency hopping, the interference level in the radio communication becomes higher.This is because frequency hopping the time, is not to select frequency in relevant mode, but selects randomly.
United States Patent (USP) 4716573 has been lectured a frequency-hopping system, and wherein frequency hopping is assisted decision by randomizer.Different frequencies has different measurement state values, whether should comprise the frequency that a pseudorandom is selected in its decision jump sequence.
The specification DE3415032A1 of german publication has lectured a frequency-hopping system, and wherein frequency hopping is that pseudorandom realizes.Monitor employed frequency, and when they no longer have acceptable interference level, will no longer allow its use.
United States Patent (USP) 4998290 has been described a wireless communication system that uses frequency hopping.This system comprises a central control station, is used for allocation of communications frequency into this station and several local wireless platforms.Control station has an interference matrix, and it represents the capacity requirement at various wireless stations and the interference that all connect.
British patent is used GB2261141A and has been lectured a kind of method that adopts frequency hopping in wireless communication system.This method relates to and monitors the channel that comprises in the jump sequence and replace those not satisfy the channel of quality standard with new channel.
About a general issue of mobile communication system be the base station with travelling carriage between need not to select enough channels just can realize the two-way distribution that is connected.Only note some parameters, as when whether this connection of decision is satisfied, only noting the C/I value.This causes the good channel of mass property of system assignment to give a connection.In whole communication period, the channel that this connect to continue use distributes, and need not consider the consequence of distributing, for example it is to the influence of the uneven distribution of the Radio Resource between other connection or different base station.This has ended the optimization to mobile communication system, for example to Radio Resource and the interference effect that other is connected.The example that produces the wireless communication system of the problems referred to above is to use the mobile communication system of frequency division multiplexing (FDMA), time division multiplexing (TDMA), code division multiplexing (CDMA) and so-called DECT system.
Summary of the present invention
The present invention relates to improve the performance of wireless communication system, this system uses channel hopping and solves the problem of selecting wireless channel, is connected between these wireless channels and jumps in relevant mode.
A target of the present invention provides a wireless communication system, and it uses channel hopping, and like this to a given connection, those channel ratios with high channel quality are used more morely to the channel that identical connection has low channel quality.Interference is a measure index of channel quality.According to the present invention, also can use other channel quality measure index such as bit error rate BER, or the merchant of useful signal intensity and interference signal intensity, so-called C/I value.
Another target of the present invention is to optimize the channel utilization of the wireless communication system that uses frequency hopping.
It is the wireless channel with very high channel quality to be connected by several use that the present invention also has a target.Another target is that the wireless channel with very low channel quality is only used in connection once in a while.
Another target of the present invention is that the base station to wireless communication system provides orthogonality.This means that in the same base station two or many different connections will not use same wireless channel simultaneously.
Another target of the present invention is to allow that a connection can use new wireless channel in the process of communication, thereby improves above-mentioned quality of connection, and other the too low wireless channel of quality is not used.
According to the channel quality of all channels measurement separately, give the different different weighted values of radio channel allocation, reach these targets with this method.According to the weighted value that distributes different connections is generated different jump sequence.Weighted value with which channel of making decision should be included in the jump sequence, and the frequency that their occur how.According to the jump sequence of each self-generating, be connected interchannel and jump.The present invention also relates to carry out a kind of scheme of this method.
According to method of the present invention, in wireless communication system such as mobile communication system,, measure and disturb or some other quality metrics of channel different being connected between at least one first base station and a plurality of travelling carriages.It generally is two-way connecting, and has the down link that travelling carriage arrives travelling carriage to the up link and the base station of base station.Up link is connected measure channel quality as disturbing with down link.To every in wireless communication system connection, the interference value of measurement is stored in the interference table then.Dl interference is measured in travelling carriage separately, and the interference of up link is measured in the base station.The dl interference value is sent to the base station by a control channel.
Each bar to up link and down link in the base station is connected, and interference table is converted into the corresponding weights table.Weight table is normalization preferably, like this to all weights in the connection weight table and equal 1.Analytical weight table in a distributor circuit then, according to the content of weight table, distributor circuit is connected allocated channel in the jump sequence table for every up link and down link.To a given connection, the channel with high weighted value will occur more frequently than the channel with low weighted value in corresponding jump sequence table.Be copied to separately travelling carriage by means of above-mentioned tabular from the base station by a control channel, base station and travelling carriage are all visited the jump sequence table.The jump sequence table interchannel in the jump sequence table that the connection of giving separately generates at last is used as channel hopping.
An advantage provided by the invention is that it is that high-quality channel can be than disturbing high channel to use more morely that the low channel that disturbs is only arranged.This minimizes the interference diffusion in the system, thereby improves the service efficiency of this channel.Another advantage is that channel hopping method of the present invention is helpful to having the high and low channel expansion of disturbing respectively with symmetrical manner in the system.Another advantage is, and is high to making it not adopt the channel of channel hopping with regard to being used for a level of interference, and it just can be used in a jump sequence and has suffered now, and can keep acceptable quality in the connection of its association.Another advantage is can comprise or get rid of connecting channel in duration of a connection.
Referring now to a preferable exemplary implementation and with reference to corresponding figure, the present invention is described in more detail.
The Short Description of figure
Fig. 1 is the perspective view of a cellular mobile telecommunication system, and this system comprises some base stations and travelling carriage.
Fig. 2 is the graphic extension of TDMA principle.
Fig. 3 is base station and the travelling carriage perspective view under the service condition.
Fig. 4 a is the perspective view that up link connects.
Fig. 4 b is the calcspar of the different tabular of the up link connection in the expression mobile communication system.
Fig. 4 c is the perspective explanation that down link connects.
Fig. 4 d is the calcspar of the different tabulars that down link connects in the expression mobile communication system.
Fig. 5 a and 5b are respectively the calcspars of expression up link and downlink scenario.
Fig. 6 a is the calcspar that comprises tabular and measuring receiver.
Fig. 6 b has comprised the transformation curve that interference is converted to weighted value, the simplified block diagram of normalization circuit is described and interference is converted to the simplified block diagram of the tabulation of weighted value.
Fig. 6 c represents to illustrate three figure of three different transformation curves.
Fig. 6 d is the simplified block diagram of the measuring receiver among the key diagram 6a.
Fig. 7 is the simplified block diagram of explanation compensating circuit.
Fig. 8 is the simplified block diagram of mean value maker.
Fig. 9 a represents different interference table with the form of square.
Fig. 9 b represents to be divided into an interference table of two groups with the form of square.
Fig. 9 c and 9d are the calcspars separately of a hopping time table.
Figure 10 is the calcspar of change-over circuit.
Figure 11 is the flow chart of a kind of channel hopping method of explanation.
Figure 12 is that explanation is a kind of the flow chart of channel allocation to the method for jump sequence table.
Realize optimization model of the present invention
Fig. 1 illustrates a mobile communication system PLMN, and it comprises a plurality of base stations, and the general note of reference symbol is made BS, and travelling carriage, and general reference symbol is MS.Fixed-line subscriber A in the public switched telephone network is as setting up two-way a connection by local switch LE, the GMSC of central gateway mobile switching centre, moving exchanging center MSC 2, basestation controller BSC 2 and the last base station BS of controlling by base station controller BSC 21 with mobile station MS 1.Therefore this two-way connection also comprises the wireless connections of 1 ofbase station BS 1 and mobile station MS, and this connects by distributing suitable wireless channel to set up for it.Fig. 1 has also represented another fixed-line subscriber A2.
Double-direction radio connects and comprises two links, the up link from the travelling carriage to the base station and the down link from the base station to the travelling carriage.
Use channel transmission information in link therein, this channel comprises as the frequency in the tdma system/time slot combination.The channel of other type also is conceivable, as frequency in the FDMA system and the numeral in the cdma system.
Fig. 2 represents to have the channel in the tdma system of 3 different time-gap TS1, TS2 and TS3.3different frequency f 1, f2 and f3 also represent in vertical direction, and time T is represented on trunnion axis.Each channel uses a specific frequency/time slot combination.As, channel K1 frequency of utilization/time slot combination f1/TS2, channel K5 frequency of utilization/time slot combination f1/S2.The quantity that the quantity of available channel equals frequency multiply by the quantity of time slot.Does each time slot have fixing length, is T1=in European mobile telecom network GSM? is ms T1=in U.S. mobile telecom network D-AMPS? ms.Fig. 2 has also represented frequency/time slot combination f2/TS2 in more detail.Wherein, the transmission in the time slot comprises synchronizing signal SYNC, information signal INF, and it is the actual language that is sent out or data-signal and control channel SACCH.
Fig. 3 illustrates typical traffic case in the down link.Traffic case shown in Figure 3 is compared some change slightly with traffic case shown in Figure 1.Among Fig. 3, mobile station MS 2 has moved to sub-district CELL1 and two mobile station MSs 4 and MS5 and has arrived sub-district CELL4.Mobile station MS 1 among the CELL1 of sub-district and MS2 receive wireless signal at channel K1 and K2 from transmitting base station BS1 respectively.These channels will be used in mobile communication system PLMN again, and the mobile station MS 4 among the CELL4 of sub-district and MS5 receive wireless signal in the given time by being connected separately respectively frombase station BS 4 on channel K1 and K2 like this.Also arriving mobile station MS 1 and MS2 among the CELL1 of sub-district from these wireless signals of base station BS 4, is to disturb I in being connected of mobile station MS 1 and MS2.This interference that mobile station MS 2 is subjected to will be a little more than mobile station MS 1, because mobile station MS 1 is far away from base station BS 4 than mobile station MS 2.
According to the present invention, in order to reduce interference, adopt the channel hopping program, wherein different connections is for example generated different jump sequence table HL for being connected betweenbase station BS 1 and mobile station MS 1 and MS2.General introduction tout court, the realization of this channel hopping program are to disturb I by at first measuring on all channels in wireless communication system.Then, to each weighted value W of channel allocation with interference value of measurement, it depends on the interference value I of measurement.Weighted value W is the different basis that is connected generation jump sequence table to up link and down link.When communication was carried out, the jump sequence table was used for jumping at each interchannel.By all base station BSs in the system, every is connected up link and down link distributes a jump sequence table respectively.In this way, obtain a channel hopping program, wherein to have access times of channel of higher interference level many for the channel ratio that given connection is had a lowest interference.Should be noted that interference only is an example of parameter, it will reflect quality of channel.Clearly, and within the scope of the invention, also to use other parameter such as the ratio C/I of bit error rate BER, useful signal intensity and unwanted signal intensity or both combinations of reflection channel quality.
Fig. 4 a is the perspective view of 3mobile station MSs 1, MS2 and MS3, and each is at thebase station BS 1 of uplink transmission information to sub-district CELL1.In communication process, use channel hopping, promptly information is alternately sent by different channels according to separately jump sequence table from separately travelling carriage.In tdma system, this realizes by using different frequencies and time slot to make up.
The method that different connections is produced the jump sequence table is described below with reference to Fig. 4 b.
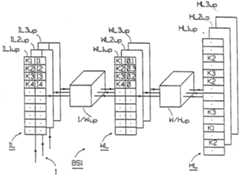
Calcspar among Fig. 4 b has illustrated 3 the different interference table IL1 on the up link of being connected of mobile station MS 1, MS2 and MS3 and 1 of base station BS among the sub-district CELL1 shown in Fig. 4 aUpIL2UpAnd IL3UpEach interference table IL comprises two row, and first row are channel numbers, and secondary series is the interference value of colleague's channel.The channel of every row and interference value are that the interference in correspondence with each other certain channel generally comprises from the interference of other sub-district at other travelling carriage of identical or adjacent frequency emission.Interference I on the different channels is measured inbase station BS 1 in the mode of determining, the channel number of the association shown in the value of Ce Lianging and Fig. 4 b is sent to interference table separately then.The interference value of a channel is high more, and this channel is disturbed must be severe more.Interference is measured at the receiver ofbase station BS 1, and the interference value of each channel is stored in their interference table separately then.
The interference value I of different channels is at first change-over circuit I/WUpIn be converted into corresponding weighted value W.This conversion realizes that according to a kind of algorithm this algorithm will be described in more detail with reference to figure 6a-c.Then weighted value is inserted among the weighted value table WL, just can will obtains a weight table every connection.The weight table WL1 of said three connections in frontUp, WL2UpAnd WL3UpShown in Fig. 4 b.Each weight table comprises two row, and first row are channel numbers, and secondary series is weighted value W.In this case, the channel number of every row and weighted value also are in correspondence with each other.In this implementation, for the high interference value representation of a given channel, relatively low weighted value WO distributes to this channel.Weights are also by normalization, like this all weighted values in each weight table and will equal 1, as described below with reference to Fig. 6 a-c.In this scheme, the line number of interference table IL and weight table WL and the number of channel that wireless communication system has are as 100 identical, although can use the tabular of the line number that comprises any needs.
The weighted value W of Lian Jieing is at distributor circuit W/H separatelyUpAnalyzed, distributor circuit is distributed to separately jump sequence table to channel to every connection.After distributing like this, at jump sequence table HL1UpHL1Up, HL1UpIn have a high weighted value channel will occur morely than channel with low weighted value.
The jump sequence table is configured to the same delegation that a channel will not appear at two or more different jump sequence tables.This guarantees that two or more connections are with the identical channel that will not use simultaneously in the same base station.The jump sequence table is sent to corresponding mobile station, and corresponding mobile station obtains the information about the jump sequence table that is used by that base station like this.The jump sequence table is sent to corresponding mobile station from the base station by control channel.Channel may appear at the several position in the same jump sequence table.The jump sequence table is more much longer than interference sequence and weight sequence.For example, the jump sequence table may comprise 1000 row.
Fig. 4 b represents channel K1-K4, to the interference value I1-I4 that is connected measurement related on the up link of 1 of mobile station MS 1 and base station BS at interference table IL1UpIn.Channel remaining in the tabular is not expressed in Fig. 4 b.At weight table WL1UpIn, interference value has converted corresponding weighted value 0.1,0.3,0.2 and 0 to.At jump sequence table HL1UpIn, channel K1-K4 is included in the numeral of a weighted value that depends on them.Because in this embodiment, channel K2 has the highest weighted value, and it occurs manyly than other channel.In this embodiment, channel K4 has weighted value 0, does not appear at jump sequence table HL1UpIn.
Should be noted that be identical by the interference I of base station measurement to the connection of up link, although be not like this to the corresponding downstream link.
Fig. 4 c has illustrated the travelling carriage of Fig. 4 a, when when base station BS 1 sends to corresponding mobile station MS1-MS3, i.e. and the transmission of down link.Base station BS 1 send information to corresponding mobile station MS1, MS2 and MS3.Every connects its jump sequence table separately of use.
Fig. 4 d is a simple and clear calcspar, comprises the interference table IL1 of 3 different down links that are connected betweenbase station BS 1 and corresponding mobile station MS1, MS2 and MS3Down, IL2DownAnd IL3DownIn this case, in corresponding mobile station MS1-MS3, measure and disturb, and the value of measuring is stored in the corresponding interference table.The interference of down link comprises the interference that corresponding mobile station is known on corresponding channel.Interference comes from the frequency identical withbase station BS 1 or the base station in other sub-district of launching on the adjacent frequency.Tabular IL1DownIn have the low channel that disturbs may be at for example tabular IL2DownIn have higher interference value.Interference table is sent tobase station BS 1 then, and the interference table of every connection of down link just can be visited in the base station like this.This tabular sends by control channel SACCH, and is represented as the dotted line between the interference table in interference table in the travelling carriage and the base station BS 1.
A general requirement to the travelling carriage in the mobile communication system is to have little size and low energy consumption.When these calculating with measure when can some central location in for example base station or system carrying out, make great efforts to avoid requiring calculating and the measurement that travelling carriage is carried out needs high power capacity.Owing to this reason, interference table IL1Down-IL1DownBe sent tobase station BS 1, because this base station is more suitable for tabular is converted to weight table and is fit to distribute jump sequence.Yet, should be understood that to convert weight table to and distribute jump sequence in corresponding mobile station MS1-MS3, to carry out.
Similar to the situation of the reference up link of having described, second the change-over circuit I/W of interference value inbase station BS 1DownIn be converted into weighted value W.Then, power is planted be inserted among the weight table WL.So just obtain every corresponding weight table WL1 that connectsDown, WL2Down, WL3DownThe corresponding weighted value that connects is W/H in second distributor circuit thenDownAnalyze, this circuit is given the corresponding jump sequence table HL1 of corresponding connection channel allocationDown, HL2Down, HL3DownThe jump sequence table is last also to be sent to corresponding mobile station in the situation of down link, and corresponding mobile station will obtain the information of the jump sequence table that should use about them like this.From the base station jump sequence table being sent to corresponding mobile station is by a control channel, realizes as the slow associated control channel SACCH in the gsm system.
Fig. 4 d represents base station and the interference sequence IL1 that be connected of mobile station MS 1 in down linkDownIn channel K1-K4 and relevant measurement interference value I1-I4.The figure shows out the interference sequence IL1 in themobile station MS 1DownIn channel and the interference sequence IL1 in thebase station BS 1DownIn channel.As previously mentioned, the interference sequence IL1 in the mobile station MS 1DownBe passed tobase station BS 1 by control channel.Channel remaining in the tabular does not show in Fig. 4 b.Weight table WL1DownIn interference value I1-I4 be converted into corresponding weighted value 0.2,0,0.3 and 0.1.Jump sequence table HL1DownShown in the quantity of channel K1-K4 depend on weighted value.Because in this embodiment, channel K3 has the highest weighted value, so this channel will occur manyly.Channel K2 has weight 0 in this embodiment, so it is at jump sequence table HL1DownIn not occur.Channel K1 occurs more morely than channel K4, occurs manyly but be not so good as channel K3.
Change-over circuit I/W and distributor circuit W/H can be public to up link and down link.
Another kind method disturbs the measured value of I can be by their rank order of intensity in the interference sequence, the channel that has the lowest interference value like this will be on the top of interference table.Under the situation of this implementation, interference table is divided into two parts.
Channel is stored among the jump sequence table HL with the repetition rate that depends on the weighted value of distributing to channel, and promptly the number of times that appears in the tabular of channel will depend on the weighted value of distributing to this channel.
Can sum up like this, be connected measured channel with down link to every in up link and disturb.Up link with can find interference table IL, weight table WL and jump sequence table HL during down link is connected every.Base station BS 1 and corresponding mobile station MS1, MS2 and MS3 can visit the jump sequence table of a up link that is connected and down link, as to be described in detail below.
At up link and down link, communicating by letter betweenbase station BS 1 and corresponding mobile station MS1-MS3 jumped by the interchannel in corresponding jump sequence table and to be realized.
Fig. 5 a is a simple and clear functional block diagram, and it has illustrated a kind of situation of up link, and whereinmobile station MS 1, MS2 and MS3 send information to base station BS 1.Simplified block diagram comprises interference table ILUp, weight tabular WLUp, jump sequence table HLUpAnd the change-over circuit I/W that comes from Fig. 4 aUpWith distributor circuit W/HUpFig. 5 a has also represented the transmitting set S11-S3 of mobile station MS 1-MS3M, the receiver unit ME in thebase station BS 1BWith sequencer TG1-TG3, TGBBase station BS 1 can be visited all channels in the wireless communication system.In order clearly to represent what to comprise respectively in mobile station MS 1-MS3 and thebase station BS 1, Fig. 5 a is divided into two parts by chain-dotted line.
Information signal C1M-C3M, for example, be passed to corresponding channel multiplexer F1 respectively from language or the data-signal of mobile station MS 1-MS3M-F3M, they belong to corresponding transmitting set S1M-S3MChannel multiplexer is corresponding jump sequence table HL from travelling carriage continuouslyUpIn the channel of the connection pointed out, and information is delivered to transmitter S1M-S3MInformation signal C1M-C3MBe placed in the corresponding channel.The wireless signal R1 of modulationM-R3MBe passed to corresponding transmitter S1M-S3MOutput and be sent to the receiver unit ME of base stationBShould notice that the jump sequence table comprises time discrete information, i.e. channel, and information signal C1M-C3MCan be continuous.
The receiver unit ME ofbase station BS 1BIn receiver MBReceive wireless signal.Signal is from receiver M thenBPassed on and at corresponding connecting channel selector D1B-D3BIn modulated.Channel selector in the base station jump sequence table HL in point out corresponding channel, as should frequency/time combination, and comprise about which channel should be modulated and this channel belong to the information of any bar connection.Information signal C11-C3MRegenerate in the output from channel selector, these signals are passed to the user that should receive in the system then.Connection between system user is kept by this way, receives the information signal C11 that comes frommobile station MS 1 as the fixed-line subscriber A1 among Fig. 1 like this.
Along with information signal C11-C3MBy wireless signal R1Up-R3UpTransmitted, according to jump sequence table HL1Down, HL2Down, HL3DownJump in different interchannel connections.Channel selector D1 in the base station BS 1B-D3BWith the channel multiplexer F1 in the travelling carriage1-F3MScan corresponding jump sequence table HL1 from the beginning to the endUp-HL3Up, and then repeat this process.This all provides about the corresponding information that belong to which channel that is connected for the base station with travelling carriage.
Corresponding mobile station has the copy backup of the jump sequence table in the base station, and travelling carriage is with a same corresponding jump sequence table of spot scan.Should be noted that because the propagation time between travelling carriage and base station has time delay between the starting point of scanning.
By the control channel SACCH in a control channel such as the gsm system, travelling carriage receives the information about the jump sequence table.For frombase station BS 1 the jump sequence table being sent to corresponding mobile station, jump sequence table in Fig. 5 a among the usefulness base station BS I and the dotted line schematic representation between the jump sequence table among the mobile station MS 1-MS3.
Sequencer TGB in the base station guarantees that sending to sequencer TG1-TG3 about the information when jump sequence begins the jump sequence table can synchronously be scanned.This transmission realizes by control channel SACCH, as what represent briefly with sequencer TGB in thebase station BS 1 and the dotted line between the sequencer TG1-TG3 among the corresponding mobile station MS1-MS3 among Fig. 5 a.
Receiver unit ME in thebase station BS 1BAlso comprise a measuring receiver MIB, it measures the interference value on each channel, and the interference value of measuring is delivered to corresponding interference sequence.Interference sequence regularly is updated with very brief interval.The renewal of weight table is to reach by change-over circuit I/W by the interference sequence that scanning regularly is updatedUpThis intermediate medium is converted to weight table to sequence and realizes.By reading or scan the weight sequence, the jump sequence table is successively by regular update, distributor circuit W/HUpUpgrade the jump sequence table again.After the jump sequence table had been updated, the content that sends tabular by control channel SACCH sent to corresponding mobile station to duplicating of tabular.
Fig. 5 b is a functional block diagram, and it has illustrated the situation of down link.In principle, Fig. 5 b is consistent with Fig. 5 a, is at down link but difference is traffic carrying capacity, and promptly information is sent to corresponding mobile station MS1-MS3 from base station BS 1.Similar to the explanation of Fig. 5 a, Fig. 5 b is divided into two parts by chain-dotted line, so just base station BS 1 has been separated with mobile station MS 1-MS3.Shown in Fig. 5 b, information signal C1B-C3BBe sent to the corresponding channel multiplexer F1 that is included in the transmitter unit SEB from base station BS 1B-F3BChannel multiplexer is in order from corresponding jump sequence table HL1Down-HL3DownPoint out channel, wherein information signal is added on the channel of pointing out in the corresponding jump sequence table continuously.Modulated then information signal is transferred to transmitter SB, it launches modulated wireless signal R1 thenDown-R3Down, these wireless signals are sent to respective receiver M1 among the corresponding mobile station MS1-MS3M-M3MThe wireless signal that receives is from being transferred to corresponding channel selector D1 hereM-D3MEach channel selector is simultaneously from corresponding jump sequence table HL1Down-HL3DownIn point out a channel, the copy backup of these tabulars also can find in corresponding mobile station.According to the channel that indicates, corresponding wireless signal is by demodulation then.Information signal C1B-C3BIn the output regeneration of channel selector, arrive the user of corresponding mobile station MS1-MS3 afterwards.Should be understood that all wireless signal R1Down-R3DownCan arrive all receiver M1M-M3M, but only those channels of jump sequence table that belong to given travelling carriage by this travelling carriage demodulation.This will be described in greater detail below.
Each receiver M1M-M3MAlso comprise a measuring receiver, it measures interference on each channel to corresponding connection.These measuring receivers do not show in Fig. 5 b, but in principle with the measuring receiver MI shown in Fig. 5 aBBe consistent.By in measuring receiver, measuring interference value periodically and new interference value being sent to corresponding interference sequence IL1Down-IL3Down, the interference table IL in the travelling carriage is updated.The backup of the interference sequence in the travelling carriage is sent to the base station by control channel such as control channel SACCH.This represents with the dotted line between the interference table in interference table in corresponding mobile station MS1-MS3 and thebase station BS 1 in Fig. 5 b.
Communication in the connection in the down link between one inbase station BS 1 and mobile station MS 1-MS3 is to realize by the jump sequence table that use belongs to this connection.Travelling carriage is synchronously read the jump sequence table that this is connected from start to end mutually with the base station, and this process circulation repeats.The sequencer TG1-TG3 of travelling carriage and the sequencer TG ofbase station BS 1BGuarantee that the jump sequence table is by synchronous scanning.In the time should beginning to scan corresponding jump sequence table, the sequencer TG of base stationBOn control channel SACCH, information is sent to the sequencer TG1-TG3 of travelling carriage.
Fig. 6 a represents change-over circuit I/WNUpWith up link IL1 from Fig. 4 bUp-IL3UpIn interference table and weight table WL1Up-WL3UpTo in 13 different connection of mobile station MS 1-MS3 and base station BS each, from measuring receiver MIBThe interference value I1 that receivesUp-I3UpBe stored in the different interference table.On the up link, to every interference value that connects all channels of measuring wireless communication system.Just the number of channel with wireless communication system is identical for the line number of interference table like this.According to the algorithm of describing below in conjunction with Fig. 6 b, change-over circuit I/WUpScanning interference table IL1 separatelyUp-IL3UpAnd interference value converted to corresponding weighted value W.Weighted value is stored in corresponding weights table WL1Up-WL3Up, the line number of these tabulars also number of channel with wireless communication system is identical.The line number that should be noted that interference table and weight table does not need identical with the number of channel of wireless communication system PLMN.
Fig. 6 b represents interference value is changed or is transformed to an algorithm of weighted value.Weighted value is also by normalization, and these values will be between 0 and 1 like this.According to the transformation curve 61 that illustrates among the figure, selected interference value IjBe converted into corresponding non-normalized weighted value UjIn this routine situation, curve 61 is dull declines, though it may be other shape, and 3 curves 64,65,66 shown in Fig. 6 c.According to curve 61, interference value IjIntensity big more, interference value IjJust be divided into low more non-normalized weighted value UjAccording to Fig. 6 b, curve 61 can be stored in the memory register 62 by the centrifugal pump with a plurality of row.Each row in the register is put an interference value IjWith a corresponding non-normalized weighted value UjBe included in change-over circuit I/W thenUpNormalization circuit in, non-normalized weighted value UjBe normalized into normalized weighted value WjConnect each non-normalized weighted value U to onejIn normalization circuit 63 by all non-normalized weighted values and be divided by.For example, on up link, to being connected of 1 of mobile station MS 1 and base station BS, the interference value I1 on the different channelsUpBy using curve 61 and register 62 to be converted into corresponding non-normalized weighted value.Non-normalized weighted value is converted or is transformed to normalized weighted value W successivelyjThe weight normalization algorithm has form:Wj=UjΣj=1NUj----(1)
Wherein N is the quantity of channel different in the system.
Interference table IL1Down-IL3DownIn down link, be transformed to weighted value table WL1 in the corresponding wayDown-WL3DownIt is receiver M1 in being included in corresponding mobile station MS1-MS3 that difference is to disturbM-M3MIn interference receiver in measure.The dl interference table is based upon among each mobile station MS 1-MS3 and is established, and by send interference value on control channel SACCH, the backup of these tabulars is sent to base station BS 1.Be transformed into weighted value according to realizing interference value is converted to weighted value with top identical mode with reference to figure 6a and 6b description.
Fig. 6 c represents 3 different transformation curve 64-66.Curve 64 is a straight line with negative slope, wherein interference value IjWith non-normalized weighted value UjBe inversely proportional.Curve 65 is a kind of step curves, and wherein interference value is divided into different intervals.Different intervals is related with different weighted values.In given interval, distribute identical weighted value to give interference value.Curve 66 is a quadrant curve in principle.
Interference table is updated periodically, for example per 20 milliseconds.The temporary transient change of the interference value that is caused by the temporary transient disturbance on the channel can cause the bigger change in the interference table.After temporary transient disturbance x disappeared, interference value was got back to more normal level, wherein again bigger change can take place in the interference table.As shown in Figure 8, averaging circuit can produce the too much temporary transient disturbance of influence to interference table as avoiding.Interference value I be multiply by feedback constant α in first multiplier 81.Signal I * α is transferred to the output of multiplier 81, and is received by adder 82, and it produces the mean value I that disturb againmThis mean value is fed back to adder 82 by time delay circuit 84 and second multiplier 83.Second multiplier 83 multiply by a factor 1-α to the mean value of the interference that postpones.The mean value that disturbs becomes the sliding average of the interference value of all preceding planar survey.When feedback constant α is smaller,, will only influences the mean value part at the temporary transient interference value of measuring and obtain a sliding average with the factor 1/1000 as 1/1000.In principle, averaging circuit 80 can be considered to special filter, and it filters interference.New interference value I is with frequency fmInput, fmα is inversely proportional with feedback constant.
By interference value being input to change-over circuit I/W, change-over circuit passes on corresponding weighted value then, and weighted value WL is updated periodically like this.Renewal is a frequency f with the frequency that is transfused to interferencemRealize with identical frequency.
By weighted value is input to distributor circuit W/H from weight table WL, according to the weighted value that upgrades, distributor circuit is transferred to the jump sequence table to channel number, and the jump sequence table just is updated in the corresponding way like this, will describe in more detail below.
The line number of interference table IL and weight table WL and the number of channel in the wireless communication system are identical as 100.
The jump sequence table has much more position, as 1000 positions.Distributor circuit W/H puts into channel certain position of jump sequence table.Channel can appear at the several position of same jump sequence table.A channel appears at the record weighted value that a number of times in the jump sequence table will depend on this channel after all.High weighted value represents that this channel will occur morely in the jump sequence table.For example, if to a given connection, a channel has been assigned with a normalizedweighted value 1/2, and on average, this channel will repeat every a position in corresponding jump sequence table.When the jump sequence table comprises 1000 positions, this will mean that 500 positions of this channel in this 1000 position occur.0 weighted value will mean that this channel will can not find in the jump sequence table.
Figure 11 is a flow chart, and it has illustrated among the present invention that to a method of the channel hopping in the up link, it is consistent with the method that description references Fig. 5 a describes in principle.Flow chart shown in Figure 11 is in stages 100 beginning, and continues in the stages 102, the stage 102 at measuring receiver MIBThe middle interference value I that measures.In the different connections of mobile station MS 1-MS3 and 1 of base station BS, all channel measurements are disturbed.In the stage.104, the interference value I of measurement is stored in interference table IL1Up-IL3UpIn.Different connections has different interference table.In the stage 106, interference value is at change-over circuit I/WUpIn be converted into corresponding weighted value W, these weighted values W is stored in weight table WL1 in the stage 108 belowUp-WL3UpIn.In the stage 110, weighted value is read into distributor circuit W/HUp, it gives mobile station MS 1-MS3 corresponding connection the with 1 of base station BS channel allocation, and the stage 112 in the channel of these distribution flow chart below is stored in jump sequence table HL1Up-HL3UpIn.Then, this method continued in the stage 114, wherein realized channel hopping according to the jump sequence table that generates.This method stopped in the stage 116, periodically repeated then.Figure 11 has described a kind of method in the up link.This method of down link realizes in a similar manner, therefore will be not described in detail.
Distributor circuit W/H arranges channel, so that same channel can not appear at the same position in one or more jump sequence tables.This has been avoided channel collision, i.e. same channel is used in two in same sub-district or many connections simultaneously.
Figure 10 understands the distributor circuit W/H among Fig. 4 b in more detailUpNormalized weighted value in the jump sequence table is input in the multiplier 91 successively, and it multiply by one to weighted value corresponding to jump sequence table HL1UpThe factor M of line number.Under the situation of this implementation, jump sequence table HL1UpComprise 1000 row.Product is rounded to an even number, and is transferred to a randomizer 92, and it produces mutual different random number between 1-M, and the number of random number is identical with the product of M with the weighted value that inserts.The random number of Chan Shenging is stored in the memory circuit 93 then, and it puts into jump sequence table those row by random number institute mark to the channel of the weighted value that belongs to insertion again.Then to weight table WL1UpIn all weighted values of correlated channels repeat this process.For example, the weighted value 0.1 of channel K1 is read into multiplier M, and multiplier is delivered to randomizer 92 to the factor 0.1 * 1000=100 then, and randomizer produces the random number between 100 1-1000 then.The random number of Chan Shenging is inserted into memory circuit 93 then, and it puts into channel K1 100 of 1000 positions of jump sequence table.This process repeats channel K2, and K2 is produced 300 different random numbers.These random numbers also are different with the random number that produces previously, so just can not be assigned to jump sequence table HL1 by two channelsUpIn identical position.
To weight table WL2UpAnd WL3UpGenerate the jump sequence table in the corresponding way respectively.Identical channel number repeats some position at each jump sequence table sometimes.For example, channel K1 may be placed on jump sequence table HL1UpWith jump sequence table HL2UpPosition 15.Yet the risk that this thing happens is very little, and if take place, almost discover less than this interference in the communication.
Another kind method is, to the channel ordering, channel K1 is placed in 100 first places and puts like this, and channel K2 is placed in 300 following positions or the like.The collision of the interchannel in the different jump sequence tables, each channel group of different jump sequence tables will stagger on the position, same like this channel group will be not with another jump sequence table in identical channel group overlapping.
Figure 12 is the flow chart that has illustrated among the present invention the method for the channel allocation in the up link in the jump sequence table.This method is corresponding to the description of Figure 10, and Figure 10 has described distributor circuit W/HUpAnd function.This method is in stages 200 beginning, up to the stage 202, and weight table WL1 hereUp-WL3UpIn weighted value W be inserted into multiplexer 91.In the stage 204, the weighted value that is inserted into multiply by factor M one by one, and M is an integer and equals line number in the jump sequence table.In the stage 206 below, factor M is inserted into randomizer 32 one by one with product M * W between different weighted value.This method proceeds to the stage 208, produces the random number between 1 to M here.Random number is that the number of random number of integer and generation is consistent with factor M * W.The random number that different channels is produced was stored in the memory circuit 93 in the stage 210 then.The random number that is stored in memory circuit 93 is used in the stage 212 then jump sequence table HL1Up-HL3UpIn channel be stored in the position that provides by the random number that generates.This method stopped in the stage 214, but periodically repeated.The method of down link is much the same, will no longer describe in detail.
Fig. 6 d has illustrated that how interference value I is at measuring receiver MI in the up linkBMiddle measurement.Measuring receiver MIBBe included in the receiver unit ME ofbase station BS 1BIn.Measuring receiver from each travelling carriage receive interference value and circuit 67 to interference IL1 from each travelling carriageUp-IL3UpSort.Measured value is sent to each interference table then, and is stored in there.
Be connected up link and down link all will distribute unique jump sequence table when all, then need the calculating and the signal processing of more complicated.By introducing below, can simplify these calculating with public in greater detail tabular.The implementation of a simplification will be described below.
Inbase station BS 1, to all channel measurements of wireless communication system PLMN visit and deposit the interference of up link, describe as earlier in respect of figures 5a.Because the interference of up link is identical to connections all among the CELL1 of sub-district, just can connects these in up link and use public interference table IL4 according to Fig. 9 aUpFor example, 1 ofbase station BS 1 and mobile station MS have identical interference in being connected with 2 ofbase station BS 1 and mobile station MSs of up link in being connected of up link.All channels in thebase station BS 1 energy access system are at public interference table IL4UpIn deposit and place the interference of up link.
Deposit the interference of down link according to following simplification implementation.Disturb for measuring in being connected of down link betweenbase station BS 1 and mobile station MS 1-MS3, and by be stored in interference table IL1 with reference to the described identical mode of figure 5bDown-IL3DownIn.Produce an interference table IL4 thenDownMean value as all interference values in the down link.Each channel is produced a mean value, like this as interference sequence IL4DownIn the interference value of channel K1 just become interference table IL1Down-IL3DownIn this channeldisturbance value sum 1/3rd.Therefore, for up link IL4UpAn interference table is arranged, to down link IL4DownAn interference table is arranged.According to Fig. 9 a, form a public interference table IL4 from these tabularsMax, to from up link IL4UpWith down link IL4DownIn each channel of an interference table, interference table IL4MaxComprise the highest interference value.Therefore, just produced single interference table ILMax, it comprises among the CELL1 of sub-district, for the interference value of all each channels that are connected of up link and down link.
From tabular ILMaxWhat middle selection was best is those channels with lowest interference value.The quantity of selected channel equals the quantity that connects among the CELL1 of sub-district.This example comprises three connections, thereby selects 3 channels.Distribute same big weighted value to give selecteed channel, and weighted value and equal 1.Therefore, in this example, each has been assigned with aweighted value 1/3 these channels.Now, channel hopping is carried out in 3 different connections, every connection will be jumped at all selecteed interchannels with identical big probability like this, for example according to the hopping time table shown in Fig. 9 d.The repetition that will circulate of hopping time table, article one connects and will usejump sequence 1,2,3,1,2,3 like this ... second connects will usejump sequence 3,1,2,3,1,2 ..., and the 3rd connection will be usedjump sequence 2,3,1,2,3,1 ..., from Fig. 9 d, can see too clearly.
Hopping time table HS1 shown in Fig. 9 d comprises that interference is at up link or the measured channel of downlink channel.For example when the interference of a channel after uplink measurement, the channel of the connection of down link obtains by using so-called Duplex Spacing.When the channel of having known up link, the channel of corresponding downstream link just can be known by system, the interval because the channel of up link and down link has been spaced known to the system.In the FDMA system, this equals a wireless channel at interval at interval, and the interval in the tdma system may comprise a wireless channel interval, a slot time or their combination.
Another kind of implementation, after interference was deposited,base station BS 1 determined whether a channel is used in the CELL1 of sub-district.To make an explanation to this below.
According to description, deposit the interference that connects in the down link below with reference to Fig. 9 d.BTS channel is divided into two groups, A and B.First group A comprises the channel that uses in the sub-district and another group B comprises obsolete channel in the sub-district.In first group, to every connection, the interference on the different channels is deposited with travelling carriage with the periodic time interval, and these interference values of depositing are sent to the base station by a control channel.In the base station, measure interference/signal strength signal intensity SS on untapped second group of channel.Interference on the channel among second group of B do not have on the channel among first group A interferometry often.
In being distributed in the sub-district and be connected to the base station measuring equipment auxiliary down, can note the interference of line link with another kind of method.This can draw the disturbance regime of down link in given zone, even there is not the travelling carriage of activity in this zone.
Only when travelling carriage itself uses channel of first group A, travelling carriage is just measured the interference on this channel of down link.Remaining time slot is measured the signal strength signal intensity in another channel of organizing B.By this way, the disturbance regime in a measurement or the definite sub-district needs less capacity.
Each travelling carriage set up an interference sequence and by control channel the signal strength signal intensity SS on those channels of the employed down link of C/I value and base station, be that first channel and base station of organizing among the A is the signal strength signal intensity of second group of B less than those channels that use, report tobase station BS 1.
Fig. 7 is illustrated in the measuring receiver MI of up linkBHow middle interference value I measures.Measuring receiver MIBBe included in the receiver unit ME in the base station BS 1BIn.After interference when channel on occupied and this channel is recorded simultaneously, wish that the voice signal of the reality that is sent out by this channel also is considered to interference signal.Useless interference has so only been write down in the measuring receiver compensation interference that voice signal caused then.Suppose that channel K1 is used in the up link of 1 of mobile station MS 1 and base station BS.And the interference that is connected on the channel K1 of 1 of hypothesis uplink direction mobile station MS 2 and base station BS should be write down.Measuring receiver will be from the interference value of total record subtraction signal strength S S, its comes to send to since mobile station MS 2 voice signal of base station BS 1.This compensation can realize according to Fig. 7.Measuring receiver MIBComprise one first writing circuit 71, its writes down the bit error rate BER as channel K1, and this value is converted to a corresponding C/I value.The C/I value that second writing circuit, 72 records obtain from first writing circuit 71, and tracer signal strength S S.The interference value I of channel is passed in the output of second writing circuit 72 thenjWhen writing down,, then signal strength signal intensity SS is compensated, and when this channel was unoccupied, signal strength signal intensity was 0 if this channel is occupied.
When upgrading interference value, belong on the channel that interference on the channel of second group of B do not belong to first group of A interferometry often, consider the above-mentioned fact, correct feedback constant α according to Fig. 8.
From public interference table ILMaxSelect best channel, and produce a hopping time table in the above described manner.
Top example comprises 3 connections among the CELL1 of sub-district.Very natural, in fact, the quantity of connection may be more.The hopping time table can be expanded to be used to more connections, for example 7 connections.The number of channel of selecting will equal to belong to the linking number in the sub-district of the base station BS of being considered 1, i.e. 7 connections.
According to the implementation of simplifying, each distributes the weighted value of identical size to selected channel, and is arranged in the weight table.Weighted value is by normalization, like this weighted value and will be 1, and to thechannel allocation weight 1/7 of each selection.
Now, channel hopping is used in 7 different connections, every interchannel that is connected all selections jumps with identical probability like this, for example according to a hopping time table HS2 shown in Fig. 9 c.According to the mode of corresponding hopping time table HS1 description with reference to figure 9d, the hopping time table HS2 repetition that circulates.
In another implementation of the present invention, only use the interference value of measuring to be lower than those channels of a given threshold value.This may cause some channel to get clogged and be excluded from the jump sequence table.
The base station of traditional mobile radio system is permanent or fixing.Yet the present invention also can be applied in the transportable mobile radio system in base station.When need temporarily improving message capacity in different places, this is suitable for.
Should be understood that the present invention is not limited only to the exemplary implementation of describing in front and illustrating, change in the scope of claim that can also be below.

Claims (20)

Translated fromChinese
1.无线通信系统(PLMN)中信道跳跃的一种方法,其中该系统(PLMN)至少包括一个主站(BS1)和一个从站(MS1),通过无线信道(K1-K4)媒介在它们之间可以建立无线连接,其特征在于采用的步骤为:1. A method of channel hopping in a wireless communication system (PLMN), wherein the system (PLMN) comprises at least a master station (BS1) and a slave station (MS1), between them through the medium of a wireless channel (K1-K4) A wireless connection can be established between them, characterized in that the steps adopted are:-对不同的无线信道测量信道质量参数(I,C/I,BER);- Measure channel quality parameters (I, C/I, BER) for different wireless channels;-生成跳跃序列表,这样这些信道将在相应的跳跃序列表中重复出现一些次数,这些次数依赖于相应信道的测量的质量参数(I,BER,C/I);- generating a hopping sequence table such that these channels will repeat in the corresponding hopping sequence table some number of times depending on the measured quality parameters (I, BER, C/I) of the corresponding channel;-按照对在主无线站(BS1)和上述的至少一个从站(MS1)间通信的每条连接生成的跳跃序列表,在这些信道间跳跃。- Hopping between these channels according to a hopping sequence list generated for each connection communicated between the master radio station (BS1) and said at least one slave station (MS1).2.优化无线通信系统(PLMN)中信道的利用率的一种方法,其中该系统(PLMN)至少包括一个主无线站(BS1)和一个从无线站(MS1),通过无线信道(K1-K4)媒介在它们之间可以建立无线连接,其特征在于采用的步骤为:2. A method for optimizing channel utilization in a wireless communication system (PLMN), wherein the system (PLMN) at least includes a master wireless station (BS1) and a slave wireless station (MS1), through wireless channels (K1-K4 ) medium can establish wireless connection between them, it is characterized in that the steps that adopt are:-对单个无线信道测量信道质量参数(I,C/I,BER);- Measurement of channel quality parameters (I, C/I, BER) for a single radio channel;-生成跳跃序列表,这样这些信道将在相应的跳跃序列表中重复出现一些次数,这些次数依赖于相应信道的测量的质量参数(I,BER,C/I);- generating a hopping sequence table such that these channels will repeat in the corresponding hopping sequence table some number of times depending on the measured quality parameters (I, BER, C/I) of the corresponding channel;-按照对在主无线站(BS1)和上述的至少一个从无线站(MS1)间通信的每条连接生成的跳跃序列表,在这些信道间跳跃,这样使信道利用率得到优化。- hopping between these channels according to a hopping sequence list generated for each connection communicating between the master radio station (BS1) and the at least one slave radio station (MS1) mentioned above, such that channel utilization is optimized.3.降低无线通信系统(PLMN)中无线连接上的干扰的一种方法,其中该无线系统(PLMN)至少包括一个主无线站(BS1)和一个从无线站(MS1),通过无线信道(K1-K4)媒介在它们之间可以建立无线连接,其特征在于采用的步骤为:3. A method for reducing interference on a wireless connection in a wireless communication system (PLMN), wherein the wireless system (PLMN) at least includes a master wireless station (BS1) and a slave wireless station (MS1), through a wireless channel (K1 -K4) media can establish wireless connection between them, it is characterized in that the steps that adopt are:-对单个无线信道测量信道质量参数(I,C/I,BER);- Measurement of channel quality parameters (I, C/I, BER) for a single radio channel;-生成跳跃序列,这样这些信道将在相应的跳跃序列中重复出现一些次数,这些次数依赖于相应信道的测量的质量参数(I,BER,C/I);- generating hopping sequences such that these channels will be repeated in the corresponding hopping sequence a number of times depending on the measured quality parameters (I, BER, C/I) of the corresponding channel;-按照对在主无线站(BS1)和上述的至少一个从无线站(MS1)间通信的每条连接生成的跳跃序列,在这些信道间跳跃,这样可以减小无线连接上的干扰。- Hopping between these channels according to a hopping sequence generated for each connection communicated between the master radio station (BS1) and said at least one slave radio station (MS1), which reduces interference on the radio connections.4.在无线通信系统(PLMN)中切换信道的一种方法,其中该无线系统(PLMN)至少包括一个主无线站(BS1)和一个从无线站(MS1),通过无线信道(K1-K4)媒介在它们之间可以建立无线连接,其特征在于采用的步骤为:4. A method for switching channels in a wireless communication system (PLMN), wherein the wireless system (PLMN) at least includes a master wireless station (BS1) and a slave wireless station (MS1), through wireless channels (K1-K4) The media can establish a wireless connection between them, which is characterized in that the steps adopted are:-对单个无线信道测量信道质量参数(I,C/I,BER);- Measurement of channel quality parameters (I, C/I, BER) for a single radio channel;-以一种方法生成跳跃序列表,这样这些信道将在相应的跳跃序列中重复出现一些次数,这些次数依赖于相应信道的测量的质量参数(I,C/I,BER);- generating the hopping sequence list in such a way that these channels will repeat in the corresponding hopping sequence some number of times depending on the measured quality parameters (I, C/I, BER) of the corresponding channel;-按照对在主无线站(BS1)和上述的至少一个从无线站(MS1)间通信的每条连接生成的跳跃序列表,在这些信道间跳跃,使信道得到切换。- Hopping between these channels according to a hopping sequence list generated for each connection communicated between the master radio station (BS1) and said at least one slave radio station (MS1), so that the channels are switched.5.按照权利要求1,2,3或4的一种方法,其特征在于,产生跳跃序列表是通过5. According to a method according to claim 1, 2, 3 or 4, it is characterized in that generating the hopping sequence list is by-按照测量的信道质量参数(I,BER,C/I)分配单个信道的权重值(W);而且- assigning individual channel weight values (W) according to the measured channel quality parameters (I, BER, C/I); and-按照分配的权重值(W),产生上述的跳跃序列表(HL)。- According to the assigned weight values (W), generate the above-mentioned Hop Sequence List (HL).6.按照权利要求5的一种方法,其特征在于,在权重值表列(WL)中按强度的下降次序安排分配的权重值(W)。6. A method according to claim 5, characterized in that the assigned weight values (W) are arranged in descending order of intensity in the weight value list (WL).7.按照权利要求5或6的一种方法,其特征在于,权重值(W)决定一个信道在跳跃序列表(HL)中出现的次数。7. A method according to claim 5 or 6, characterized in that the weight value (W) determines the number of times a channel appears in the hop sequence list (HL).8.按照权利要求5、6或7的一种方法,其特征在于,把权重值(W)归一化,这样权重表(WL)中的权重值(W)之和将是1。8. A method according to claim 5, 6 or 7, characterized in that the weight values (W) are normalized such that the sum of the weight values (W) in the weight table (WL) will be one.9.按照权利要求1-8中任一个的一种方法,其特征在于,用测量接收机(MIB)测量信道质量参数(I,BER,C/I)。9. A method according to any one of claims 1-8, characterized in that the channel quality parameters (I, BER, C/I) are measured with a measuring receiver (MIB).10.按照权利要求1-9中任一个的一种方法,其特征在于,信道质量参数(I,BER,C/I)是有用信号强度和干扰信号强度(C/I)的比率。10. A method according to any one of claims 1-9, characterized in that the channel quality parameter (I, BER, C/I) is the ratio of the wanted signal strength to the interfering signal strength (C/I).11.按照权利要求1-9中任一个的一种方法,其特征在于,信道质量参数(I,BER,C/I)的要素是干扰(I)。11. A method according to any one of claims 1-9, characterized in that a component of the channel quality parameter (I, BER, C/I) is interference (I).12.按照权利要求1-9中任一个的一种方法,其特征在于,信道质量参数(I,BER,C/I)的要素是误比特率(BER)。12. A method according to any one of claims 1-9, characterized in that the element of the channel quality parameter (I, BER, C/I) is the bit error rate (BER).13.在无线通信系统(PLMN)中信道跳跃的一种装置,其中该无线系统(PLMN)至少包括一个主无线站(BS1)和一个从无线站(MS1),通过无线信道(K1-K4)媒介在它们之间可以建立无线连接,其特征在于:13. A device for channel hopping in a wireless communication system (PLMN), wherein the wireless system (PLMN) at least includes a master wireless station (BS1) and a slave wireless station (MS1), through wireless channels (K1-K4) The medium can establish a wireless connection between them, which is characterized by:-该系统包括用以测量单个无线信道(K1-K4)的信道质量参数(I,BER,C/I)的测量接收机(MIB);- the system includes a measurement receiver (MIB) for measuring channel quality parameters (I, BER, C/I) of individual radio channels (K1-K4);-系统包括转换电路(I/W)和分配电路(W/H),用于生成跳跃序列表,这样这些信道(K1-K4)将在相应的跳跃序列中重复出现一些次数,这些次数依赖于相应信道的测量的质量参数(I,BER,C/I);- The system includes a switching circuit (I/W) and a distribution circuit (W/H) for generating a hopping sequence list such that these channels (K1-K4) will be repeated in the corresponding hopping sequence some number of times depending on Measured quality parameters (I, BER, C/I) of the corresponding channel;-调整系统,使其按照对在主无线站(BS1)和上述的至少一个从无线站(MS1)间通信的每条连接生成的跳跃序列表,在这些信道(K1-K4)间跳跃。- Adapting the system to hop between these channels (K1-K4) according to a hopping sequence list generated for each connection communicated between the master radio station (BS1) and said at least one slave radio station (MS1).14.按照权利要求13的一种装置,其特征在于使转换电路(I/W)和分配电路(W/H)按照测量的信道质量参数(I,BER,C/I)给单个信道分配权重值(W)并且按照分配的权重值(W)产生上述跳跃序列表(HL)。14. According to a kind of device of claim 13, it is characterized in that make conversion circuit (I/W) and distribution circuit (W/H) according to the channel quality parameter (I, BER, C/I) of measurement to single channel distribution weight value (W) and generate the above-mentioned Hop Sequence List (HL) according to the assigned weight value (W).15.按照权利要求14的一种装置,其特征在于,按强度的降序将分配的权重值(W)安排到权重表(WL)中。15. An arrangement according to claim 14, characterized in that the assigned weight values (W) are arranged in the weight list (WL) in descending order of strength.16.按照权利要求14或15的一种装置,其特征在于,权重值(W)决定一个信道在跳跃序列表(HL)中将出现多少次。16. An arrangement according to claim 14 or 15, characterized in that the weight value (W) determines how many times a channel will appear in the hop sequence list (HL).17.按照权利要求14、15或16中任一个的一种装置,其特征在于,通过归一化电路(63)使权重值(W)归一化,这样权重表(WL)中的权重值的和等于1。17. According to a kind of device according to any one of claim 14,15 or 16, it is characterized in that, by normalization circuit (63), the weight value (W) is normalized, so that the weight value in the weight table (WL) The sum of is equal to 1.18.按照权利要求13-17中任一个的一种装置,其特征在于,信道质量参数(I,C/I,BER)的要素是有用信号强度和干扰信号强度(C/I)的比率。18. An arrangement according to any one of claims 13-17, characterized in that an element of the channel quality parameter (I, C/I, BER) is the ratio of the desired signal strength to the interfering signal strength (C/I).19.按照权利要求13-17中任一个的一种装置,其特征在于,信道质量参数(I,C/I,BER)的要素是干扰(I)。19. An arrangement according to any one of claims 13-17, characterized in that a component of the channel quality parameter (I, C/I, BER) is interference (I).20.按照权利要求13-17中任一个的一种装置,其特征在于,信道质量参数(I,C/I,BER)的要素是误比特率(BER)。20. An arrangement according to any one of claims 13-17, characterized in that a component of the channel quality parameter (I, C/I, BER) is the bit error rate (BER).
CN95194162A1994-07-151995-07-13Channel hopping in radio communications systemPendingCN1164303A (en)

Priority Applications (1)

Application NumberPriority DateFiling DateTitle
CN95194162ACN1164303A (en)1994-07-151995-07-13Channel hopping in radio communications system

Applications Claiming Priority (2)

Application NumberPriority DateFiling DateTitle
SE9402492-41994-07-15
CN95194162ACN1164303A (en)1994-07-151995-07-13Channel hopping in radio communications system

Publications (1)

Publication NumberPublication Date
CN1164303Atrue CN1164303A (en)1997-11-05

Family

ID=5082610

Family Applications (1)

Application NumberTitlePriority DateFiling Date
CN95194162APendingCN1164303A (en)1994-07-151995-07-13Channel hopping in radio communications system

Country Status (1)

CountryLink
CN (1)CN1164303A (en)

Cited By (3)

* Cited by examiner, † Cited by third party
Publication numberPriority datePublication dateAssigneeTitle
CN100373980C (en)*2006-04-262008-03-05电子科技大学 A Parallel Spectrum Allocation Method for Avoiding Interference in Cognitive Radio System
CN100466003C (en)*2002-12-232009-03-04瑞尼斯豪公司Signal transmission system for measuring device
CN1947387B (en)*2004-04-052010-04-14皇家飞利浦电子股份有限公司 Integrated circuit and method for time slot allocation

Cited By (3)

* Cited by examiner, † Cited by third party
Publication numberPriority datePublication dateAssigneeTitle
CN100466003C (en)*2002-12-232009-03-04瑞尼斯豪公司Signal transmission system for measuring device
CN1947387B (en)*2004-04-052010-04-14皇家飞利浦电子股份有限公司 Integrated circuit and method for time slot allocation
CN100373980C (en)*2006-04-262008-03-05电子科技大学 A Parallel Spectrum Allocation Method for Avoiding Interference in Cognitive Radio System

Similar Documents

PublicationPublication DateTitle
CN101305574B (en)Tone hopping in the uplink of a sectorized OFDM system
CN1092869C (en)Channel hopping in a radio communications system
US7668253B2 (en)Method for allocating a subchannel in an orthogonal frequency division multiple access cellular communication system
CN1123265C (en)Method and appartus for frequency planning in a multi-system cellular communications network
CN1408149A (en)Method and aparatus for measuring co-channel interference
CN101873712A (en)Method, device and system for adjusting PRACH configuration information
US6879573B1 (en)Channel sharing by diverse multiframes in a wireless communications network
EP1940188A1 (en)Method and network apparatus for adjusting communication resources in a community
CN1151238A (en) A grouping connection method in a cellular digital radio communication system
CN101911810A (en)Dynamic interference control in a wireless communication network
CN1535058A (en)Radio mobile communication station operated in non exclusive frequency specturm
CN1943141A (en)Method, device and system for duplex communications
CN1476687A (en) Power Control Method During Soft Handover in Mobile Communication System
CN101103605A (en)Initial pilot frequency selection
US8711783B2 (en)Method and apparatus for coordinating hopping of resources in wireless communication systems
JP2009536798A (en) Method and apparatus for multi-carrier allocation
CN1653843A (en) Method and wireless communication system for transmitting useful information as traffic to a plurality of subscriber stations
JP2002315049A (en)Dynamic resource allocation method
CN101873636B (en)Multi-carrier selection preprocessing method based on multi-carrier system
CN109922441B (en)Multi-hop network communication method, device and system
CN101491050A (en)Establishing frames when ARQ-based traffic is present
JP2019536378A (en) Frequency hopping communication method and device
CN1864348A (en)System and method for efficiently allocating wireless resources
CN1164303A (en)Channel hopping in radio communications system
CN1269089A (en)Packet switching in a cellular radio communication system

Legal Events

DateCodeTitleDescription
C06Publication
PB01Publication
C10Entry into substantive examination
SE01Entry into force of request for substantive examination
C02Deemed withdrawal of patent application after publication (patent law 2001)
WD01Invention patent application deemed withdrawn after publication

[8]ページ先頭

©2009-2025 Movatter.jp