





技术领域technical field
本发明公开一种微小转静间隙的压力测量装置与方法,涉及利用实验直接测量微小间隙内压力的技术,属于测量、测试的技术领域。The invention discloses a pressure measuring device and method for a small rotational-static gap, relates to the technique of directly measuring the pressure in the small gap through experiments, and belongs to the technical field of measurement and testing.
背景技术Background technique
随着航空航天、精密机械加工等技术的快速发展,旋转机械里的轴承结构逐渐成为制约其发展的关键技术之一。为了突破传统轴承的缺陷,气体润滑轴承应运而生,该轴承以气体作为工作介质,利用了气体的扩散性、粘性、可压缩性和吸附性等特点,在轴承旋转工作时,产生静压、动压等效应,使间隙内形成一层可支承载荷并可减少摩擦阻力的气膜,因此与传统接触式轴承相比,气体润滑轴承具有转速高、低功耗、无污染、寿命长等特点。作为气体润滑轴承的重要分支,动压气体轴承使用环境中广泛存在的空气作为介质,减化了其它轴承所需的润滑系统,同时根据其自身的楔形间隙产生动压效应提供了承载力,因此动压气体轴承又具备结构简单、使用灵活、适用范围广等诸多优势。With the rapid development of technologies such as aerospace and precision machining, the bearing structure in rotating machinery has gradually become one of the key technologies restricting its development. In order to break through the defects of traditional bearings, gas lubricated bearings came into being. The bearing uses gas as the working medium, and utilizes the characteristics of gas diffusion, viscosity, compressibility and adsorption. When the bearing rotates, it generates static pressure, Dynamic pressure and other effects form a layer of gas film in the gap that can support loads and reduce frictional resistance. Therefore, compared with traditional contact bearings, gas lubricated bearings have the characteristics of high speed, low power consumption, no pollution, and long life. . As an important branch of gas-lubricated bearings, dynamic pressure gas bearings use air widely present in the environment as the medium, which reduces the lubrication system required by other bearings, and at the same time provides bearing capacity according to the dynamic pressure effect generated by its own wedge-shaped gap, so The dynamic pressure gas bearing has many advantages such as simple structure, flexible use and wide application range.
空气动压轴承将空气作为润滑剂,其工作原理是轴承在高速运行时相对运动的表面间形成楔形间隙,由于气体的粘性作用,当气体进入楔形间隙时动压效应使得间隙内产生气膜压力,进一步形成承载力支撑起转轴,空气动压轴承间隙流动,可看成偏心下微小转静间隙流动,其间隙尺寸属于mm至μm的微观尺度。与宏观尺度的旋转流动相比,在微观尺度下间隙内部流动机理与宏观尺度相比存在明显差异,宏观尺度下许多规律不再适用于微间隙。因此,势必要对微间隙旋转剪切流动进行系统且深入的探究。偏心下的微小转静间隙所形成的压力分布,既存在压差值较高的区域又存在压差值较低的区域,压差值较高的高压区和压差值较低的低压区共同构成了微小转静间隙内连续的压力分布。Aerodynamic pressure bearings use air as a lubricant. Its working principle is that a wedge-shaped gap is formed between the surfaces of the bearing in relative motion during high-speed operation. Due to the viscosity of the gas, when the gas enters the wedge-shaped gap, the dynamic pressure effect causes the gas film pressure in the gap. , to further form the bearing capacity to support the rotating shaft, and the gap flow of the aerodynamic bearing can be regarded as the flow of the small rotational static gap under eccentricity, and the gap size belongs to the microscopic scale from mm to μm. Compared with the rotating flow at the macro scale, there are obvious differences in the internal flow mechanism of the gap at the micro scale compared with the macro scale, and many laws at the macro scale are no longer applicable to the micro gap. Therefore, it is necessary to conduct a systematic and in-depth exploration of the micro-gap rotational shear flow. The pressure distribution formed by the small static clearance under eccentricity has both areas with high differential pressure and areas with low differential pressure. The high pressure area with high differential pressure and the low pressure area with low differential pressure are common Constitutes a continuous pressure distribution in the small rotational static gap.
通常通过静压孔检测宏观尺寸转静间隙的压力,在壁面加工测压孔气道,并使孔间隙直接连接电子压力传感器或压力扫描阀等设备来输出压力值。例如,一种动静压气体轴承动态气膜压力测试装置与测试方法设计了一种可旋转轴承座,可旋转轴承座对应两个测试轴承的引气孔处分别设置有测试孔,测试孔处设置有与压力传感器相连的引气管,在测量时压力传感器读出相应位置的气膜压力,同时通过手动调节旋转轴承座的角度实现不同周向位置的测量;一种气膜压力测量装置在转子上开设有多个一端连通气膜间隙的气道,气道的另一端连接压力传感器,并通过无线遥测装置将压力传感器测量的数据发至接收器,避免该测试装置的动力学特性受到影响。上述宏观尺寸转静间隙压力的检测方法均采用电子压力传感器,在对压力进行采样时需要调整电子压力传感器的采样频率与转子转速相匹配,同时还需考虑延迟响应等问题;在测量周向压力分布时,需要手动调节测点位置,在使用上较为复杂。Usually, the static pressure hole is used to detect the pressure of the static gap in the macroscopic size, and the air passage of the pressure measuring hole is processed on the wall surface, and the hole gap is directly connected to the electronic pressure sensor or pressure scanning valve and other equipment to output the pressure value. For example, a kind of rotatable bearing seat is designed in a kind of test device and test method for dynamic gas film pressure of dynamic and static pressure gas bearing. The rotatable bearing seat is respectively provided with test holes corresponding to the air-introduction holes of the two test bearings, and the test holes are provided with The bleed air pipe connected with the pressure sensor, the pressure sensor reads the gas film pressure at the corresponding position during measurement, and at the same time, the measurement of different circumferential positions is realized by manually adjusting the angle of the rotating bearing seat; a gas film pressure measuring device is installed on the rotor There are multiple air channels with one end connected to the air film gap, and the other end of the air channel is connected with a pressure sensor, and the data measured by the pressure sensor is sent to the receiver through a wireless telemetry device, so as to avoid affecting the dynamic characteristics of the test device. The detection methods of the above-mentioned macro-size rotary-static gap pressure all use electronic pressure sensors. When sampling the pressure, it is necessary to adjust the sampling frequency of the electronic pressure sensor to match the rotor speed. At the same time, problems such as delayed response need to be considered; When distributing, it is necessary to manually adjust the position of the measuring point, which is more complicated in use.
高转速微小转静间隙压力测量存在的诸多困难给气体轴承设计和使用带来挑战。旋转间隙的边界壁面均为曲面,在高转速、小间隙的转静子间隙内使用电子压力传感器或压力扫描阀等设备,既容易破坏壁面平滑性,又在一定程度上破坏流场边界并对流场造成扰动,产生测量误差。因此,受限于小尺度及弯曲壁面的条件,压力传感器、压电片等测量装置均难以安装于微小间隙内,传统的压力传感器等测量装置难以对微小转静间隙压力进行有效测量。同时,针对偏心下的微小转静间隙所形成的压力分布,采用传统测量装置测量低压区时难以反映真实压力测量值,一方面是由于传统设备测量量程大、分辨率低,测量精度差;另一方面是由于微小间隙内的流体介质为气体,气体的可压缩性以及环境噪音、系统振动等因素使得低压区测量数值波动大,测量精度下降。There are many difficulties in the measurement of high-speed small rotational-static gap pressure, which brings challenges to the design and use of gas bearings. The boundary walls of the rotating gap are all curved surfaces. Using electronic pressure sensors or pressure scanning valves and other equipment in the high-speed, small-gap rotor-stator gap is not only easy to damage the smoothness of the wall, but also to a certain extent destroys the flow field boundary and convection The field causes disturbances, resulting in measurement errors. Therefore, limited by the small scale and curved wall conditions, it is difficult to install pressure sensors, piezoelectric sheets and other measuring devices in small gaps, and it is difficult for traditional pressure sensors and other measuring devices to effectively measure the pressure in small rotational static gaps. At the same time, for the pressure distribution formed by the small static clearance under eccentricity, it is difficult to reflect the real pressure measurement value when using traditional measuring devices to measure the low-pressure area. On the one hand, the traditional equipment has a large measurement range, low resolution, and poor measurement accuracy; On the one hand, because the fluid medium in the small gap is gas, the compressibility of gas, environmental noise, system vibration and other factors make the measurement value in the low pressure area fluctuate greatly, and the measurement accuracy decreases.
综上,本发明旨在提出一种微小转静间隙的压力测量装置与方法,以解决微小转静间隙压力测量的问题。To sum up, the present invention aims to provide a pressure measurement device and method for a small rotational-static gap, so as to solve the problem of pressure measurement of a small rotational-static gap.
发明内容Contents of the invention
本发明的发明目的是针对上述背景技术的不足,针对mm至μm尺度的空气动压轴承的微小偏心转静间隙的剪切流压力测量问题,提供一种微小转静间隙的压力测量装置与方法,解决宏观尺寸转静间隙压力测量技术不适用于微小转静间隙压力测量的技术问题,实现在减少对流场扰动的前提下准确测量出微小转静间隙内的常规压力值,以及在不受系统振动、环境噪声的影响下精确测量出微小转静间隙内低于100Pa的较小压力值的发明目的。The purpose of the present invention is to address the shortcomings of the above-mentioned background technology and to provide a pressure measurement device and method for a small eccentric static gap of an aerodynamic pressure bearing with a scale of mm to μm for the measurement of shear flow pressure in a small eccentric static gap , to solve the technical problem that the macro-size rotary-static gap pressure measurement technology is not suitable for the small rotary-static gap pressure measurement, and realize the accurate measurement of the conventional pressure value in the small rotary-static gap under the premise of reducing the disturbance of the flow field, and without being affected Under the influence of system vibration and environmental noise, the purpose of the invention is to accurately measure a small pressure value lower than 100Pa in a small rotational-static gap.
本发明为实现上述发明目的采用如下技术方案:The present invention adopts following technical scheme for realizing above-mentioned purpose of the invention:
一种微小转静间隙的压力测量装置,包括旋转圆柱外壁面与静止圆筒内壁面形成的微小转静间隙以及至少两个静压测量通道,静止圆筒固定在可调移动台上,通过横向调节可调移动平台设置固定偏心。每个静压测量通道都包括:静压阶梯通孔、毛细针管、硅胶软管、U形管、夹钳式超声波流量传感器。静压阶梯通孔加工在静止圆筒上,毛细针管从静止圆筒外侧插入静压阶梯通孔中,通过硅胶软管连通静压阶梯通孔与U形管,U形管固定于立板上,U形管的一侧管壁垂直于地面,U形管的另一侧管壁上安装有夹钳式超声流量传感器,且U形管另一侧管壁与大气连通。A pressure measurement device with a small rotational-static gap, including a small rotational-static gap formed by the outer wall of a rotating cylinder and the inner wall of a stationary cylinder, and at least two static pressure measurement channels. Adjust the adjustable mobile platform to set the fixed eccentricity. Each static pressure measurement channel includes: static pressure stepped through hole, capillary tube, silicone hose, U-shaped tube, clamp-type ultrasonic flow sensor. The static pressure step through hole is processed on the static cylinder, the capillary needle tube is inserted into the static pressure step through hole from the outside of the static cylinder, and the static pressure step through hole is connected with the U-shaped tube through the silicone hose, and the U-shaped tube is fixed on the vertical plate One side of the U-shaped tube is perpendicular to the ground, the other side of the U-shaped tube is equipped with a clamp-type ultrasonic flow sensor, and the other side of the U-shaped tube is connected to the atmosphere.
进一步地,形成微小转静间隙的旋转圆柱由高速电机驱动,静止圆筒与旋转圆柱形成环状间隙,并确保在微小间隙下不发生碰磨,静止圆筒整体安装在可调移动台上,通过横向位移调节,静止圆筒与旋转圆柱形成固定偏心。Furthermore, the rotating cylinder forming a small rotational static gap is driven by a high-speed motor, and the stationary cylinder and the rotating cylinder form an annular gap to ensure that no collision occurs under the small gap. The stationary cylinder is installed on an adjustable mobile platform as a whole. Through lateral displacement adjustment, the stationary cylinder and the rotating cylinder form a fixed eccentricity.
进一步地,为了便于连接外部气路,同时更为了减少静止圆筒内壁面开孔对流体流动的影响,因此在静止圆筒筒壁上加工三级阶梯孔构造以形成静压阶梯通孔,三级阶梯孔构造的孔径从静止圆筒外壁面至内壁面逐级缩小,从外壁面向内壁面的孔径分别为1.5-2mm、1-1.2mm、0.4-0.8mm。Furthermore, in order to facilitate the connection of the external air circuit and to reduce the impact of the openings on the inner wall of the stationary cylinder on the fluid flow, a three-stage stepped hole structure is processed on the wall of the stationary cylinder to form a static pressure stepped through hole. The apertures of the stepped hole structure gradually decrease from the outer wall to the inner wall of the stationary cylinder, and the apertures from the outer wall to the inner wall are 1.5-2mm, 1-1.2mm, and 0.4-0.8mm respectively.
进一步地,各静压测量通道中的静压阶梯通孔分布于静止圆筒轴向中心截面上并并环绕静止圆筒筒壁一周,用于从微小转静间隙引气。最小间隙高度一侧的相邻静压阶梯通孔的周向夹角为10-20°,最大间隙高度一侧的相邻静压阶梯通孔的周向夹角为20-40°。Further, the static pressure step through holes in each static pressure measurement channel are distributed on the axial center section of the static cylinder and surround the wall of the static cylinder for a circle, for introducing air from the small static gap. The circumferential included angle of the adjacent static pressure step through holes on the minimum gap height side is 10-20°, and the circumferential included angle of the adjacent static pressure step through holes on the maximum gap height side is 20-40°.
进一步地,各静压测量通道中的静压阶梯通孔在静止圆筒筒壁周向上交错式排布,即相邻静压阶梯通孔在轴向上存在一定偏置,目的是为减少流体沿周向流动时连续经过多个开孔对流动产生的干扰,并考虑到轴向上存在压力较大变化的问题。为满足条件,开孔轴向偏置距离不小于静压阶梯通孔最小孔径,也不宜过大,即为0.5-1mm。Furthermore, the static pressure step through holes in each static pressure measurement channel are arranged in a staggered manner in the circumferential direction of the stationary cylinder wall, that is, there is a certain offset in the axial direction of the adjacent static pressure step through holes, the purpose is to reduce the flow of fluid When flowing in the circumferential direction, the continuous flow through multiple openings interferes with the flow, and the problem of large pressure changes in the axial direction is considered. In order to meet the conditions, the axial offset distance of the opening is not less than the minimum aperture of the static pressure step through hole, and it should not be too large, that is, 0.5-1mm.
进一步地,在三级阶梯孔直径最大的孔上插入毛细针管,并用密封胶涂抹插接处的缝隙以便固定毛细针管,防止气道内气体泄露。硅胶软管的一端插入毛细针管,硅胶软管的另一端与U形管垂直于地面的一侧管壁连接,从而形成测压气道。U形管两侧管壁之间的倾角为30°-60°,管内径为5-8mm,U形管安装在立板上。Further, a capillary tube is inserted into the hole with the largest diameter in the three-level stepped hole, and the gap at the joint is coated with sealant to fix the capillary tube and prevent gas leakage in the airway. One end of the silicone hose is inserted into the capillary tube, and the other end of the silicone hose is connected to the side wall of the U-shaped tube perpendicular to the ground, thereby forming a pressure measuring airway. The inclination angle between the tube walls on both sides of the U-shaped tube is 30°-60°, the inner diameter of the tube is 5-8mm, and the U-shaped tube is installed on the vertical plate.
进一步地,U型管内的溶液应选用密度较小的溶液,在相同的压力下液柱可上升更高的高度,减小每一刻度的分度值,提高读数精度。同时为了保证安全性,尽量选择无毒溶液。本发明中选择75%-99%酒精溶液,作为U型管内溶液,无压力时静止液面平齐,压力产生时U型管内形成液面高度差。Furthermore, the solution in the U-shaped tube should be a solution with a lower density. Under the same pressure, the liquid column can rise to a higher height, reduce the division value of each scale, and improve the reading accuracy. At the same time, in order to ensure safety, try to choose non-toxic solutions. Select 75%-99% alcohol solution among the present invention, as the solution in the U-shaped tube, the static liquid level is even when there is no pressure, and the liquid level height difference is formed in the U-shaped tube when the pressure is generated.
进一步地,在U型管与大气连通的一侧管壁中心高度以下的位置安装夹钳式超声流量传感器,夹钳式超声流量传感器连接控制器,该传感器向液体流动方向发送相反方向和相同方向的超声波,通过测量控制器接收相反方向、相同方向超声波的时间差,从而测算出溶液流量,再在时间上对溶液流量进行积分获得流经传感器的溶液总体积。夹钳式超声波流量传感器测得的流量对时间积分得出溶液的体积V,并使用公式:Further, a clamp-type ultrasonic flow sensor is installed at a position below the center height of the tube wall on the side of the U-shaped tube that communicates with the atmosphere. The clamp-type ultrasonic flow sensor is connected to the controller, and the sensor sends the opposite direction and the same direction to the liquid flow direction. The ultrasonic wave is measured by measuring the time difference between the opposite direction and the same direction ultrasonic waves received by the controller, so as to measure the solution flow rate, and then integrate the solution flow rate in time to obtain the total volume of the solution flowing through the sensor. The flow rate measured by the clamp-on ultrasonic flow sensor is integrated with time to obtain the volume V of the solution, and the formula is used:
计算出液面上升垂直高度Δh,其中,V为流经传感器的溶液总体积,a为U形管管截面面积,θ为U形管倾角。夹钳式超声波流量传感器的测量精度为0.003mL。Calculate the vertical height Δh of the rise of the liquid level, where V is the total volume of the solution flowing through the sensor, a is the cross-sectional area of the U-shaped tube, and θ is the inclination angle of the U-shaped tube. The measurement accuracy of the clamp-type ultrasonic flow sensor is 0.003mL.
本发明采用上述技术方案,具有以下有益效果:The present invention adopts the above-mentioned technical scheme, and has the following beneficial effects:
(1)本发明的静压阶梯孔采用孔径逐渐缩小的三级阶梯通孔,使得静止圆筒外壁面向内壁面的通孔从较大直径过渡为较小直径,保证流场边界不因开孔过大破坏,提高测量的准确性;各静压阶梯通孔在静止圆筒筒壁周向上交错排布,可减少流体沿周向流动时连续经过多个静压开孔对流动的干扰,进一步提高流动测量准确性。(1) The static pressure stepped hole of the present invention adopts a three-stage stepped through hole whose aperture gradually decreases, so that the through hole on the outer wall of the static cylinder facing the inner wall surface transitions from a larger diameter to a smaller diameter, ensuring that the flow field boundary will not be affected by the opening. Excessive damage can improve the accuracy of measurement; each static pressure step through hole is arranged staggered in the circumferential direction of the stationary cylinder wall, which can reduce the interference to the flow of the fluid passing through multiple static pressure openings when it flows in the circumferential direction, and further Improve flow measurement accuracy.
(2)本发明采用倾斜固定的U形管以及固定在U形管上的夹钳式超声波流量传感器作为每个静压测量通道的流量检测装置,通过静压阶梯通孔、毛细针管、硅胶软管将微小偏心转静间隙内的压力引入装有低密度溶液的U形管,倾斜固定的U形管可适当放大相同压力下液体在管内的移动距离,提高传感器响应精度,U形管倾斜角度设置为30°-60°,理论上可将液面位移距离放大1.4-2倍,同时保证管内液体不因过度倾斜而受到较大的粘性阻力。(2) The present invention adopts the obliquely fixed U-shaped tube and the clamp-type ultrasonic flow sensor fixed on the U-shaped tube as the flow detection device of each static pressure measurement channel. The tube introduces the pressure in the small eccentric static gap into the U-shaped tube filled with low-density solution. The tilted and fixed U-shaped tube can appropriately amplify the moving distance of the liquid in the tube under the same pressure and improve the sensor response accuracy. The U-shaped tube’s inclination angle Set it to 30°-60°, in theory, the displacement distance of the liquid surface can be enlarged by 1.4-2 times, and at the same time, it can ensure that the liquid in the tube does not suffer from large viscous resistance due to excessive tilt.
(3)本发明采用的夹钳式超声波流量传感器可精确测量流经溶液的流量积,并换算成准确高度、响应时间短、分辨率高、抗干扰能力强的压力检测值,不需要直接接触液体便可完成测量,从而可提高整体压力分布测量精度。(3) The clamp-type ultrasonic flow sensor adopted in the present invention can accurately measure the flow volume of the solution flowing through it, and convert it into a pressure detection value with accurate height, short response time, high resolution and strong anti-interference ability, without direct contact The liquid can be measured, which can improve the overall pressure distribution measurement accuracy.
(4)本发明提出的微小转静间隙压力测量装置结构简单,操作方便,成本较低,不需要额外的复杂测压设备,同时克服了压力传感器、压力扫描阀等设备无法准确测量较低范围内压力值的缺点,特别是能够在不受系统振动、环境噪声的影响下,快速、准确测量10-100Pa范围内低压力值,可节约时间和成本,具有高效、经济的优点。(4) The small rotary-static gap pressure measuring device proposed by the present invention has simple structure, convenient operation, low cost, does not need additional complex pressure measuring equipment, and overcomes the inability of pressure sensors, pressure scanning valves and other equipment to accurately measure the lower range The disadvantage of the internal pressure value, especially the ability to quickly and accurately measure the low pressure value in the range of 10-100Pa without being affected by system vibration and environmental noise, can save time and cost, and has the advantages of high efficiency and economy.
附图说明Description of drawings
图1是本发明一种微小转静间隙的压力测量装置的示意图。Fig. 1 is a schematic diagram of a pressure measurement device for a small rotational-static gap according to the present invention.
图2微小转静间隙轴向截面图。Figure 2 Axial cross-sectional view of the small rotational and static clearance.
图3(a)是静压阶梯通孔分布的示意图,图3(b)是静压阶梯通孔的结构图。Fig. 3(a) is a schematic diagram of the distribution of the static pressure step through holes, and Fig. 3(b) is a structural diagram of the static pressure step through holes.
图4是倾斜型U形管的结构图。Fig. 4 is a structural diagram of an inclined U-shaped tube.
图5是压力分布的测试结果图。Figure 5 is a graph of the test results of the pressure distribution.
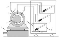
图中标号说明:1、微小转静间隙,2、可调移动台,3、静压阶梯通孔,4、毛细针管,5、硅胶软管,6、U形管,7、立板,8、夹钳式超声波流量传感器。Explanation of symbols in the figure: 1. Tiny static clearance, 2. Adjustable mobile platform, 3. Static pressure step through hole, 4. Capillary tube, 5. Silicone hose, 6. U-shaped tube, 7. Vertical plate, 8 , Clamp type ultrasonic flow sensor.
具体实施方式Detailed ways
下面结合附图对发明的技术方案如何实现对微小转静间隙的压力测量进行详细说明。How the technical scheme of the invention realizes the pressure measurement of the small rotational static gap will be described in detail below in conjunction with the accompanying drawings.
如图1所示,一种微小转静间隙的压力测量装置,包括:旋转圆柱、静止圆筒、毛细针管4、硅胶软管5、U形管6、夹钳式超声波流量传感器8,静止圆筒固定在可调移动台2上,旋转圆柱置于静止圆筒的内部空间,静止圆筒套设于旋转圆筒外部,且旋转圆柱外壁面与静止圆筒内壁面形成旋转剪切流动的微小转静间隙1,微小转静间隙1保证旋转圆柱和静止圆筒不发生摩碰,通过可调移动台2横向调节静止圆筒的位移使静止圆筒与旋转圆柱产生固定偏心。旋转圆柱表面光滑,旋转圆柱的一端与高速电机主轴通过联轴器连接,旋转圆柱的另一端悬空,工作时转速为10000-30000rpm。静止圆筒上加工有静压阶梯通孔3,毛细针管4的前端从静止圆筒外侧插入静压阶梯通孔3中,硅胶软管5的一端连接毛细针管4,硅胶软管5的另一端与U形管6垂直于地面的一侧管壁相连,U形管6固定于立板7上,夹钳式超声流量传感器8固定于U形管6的另一侧管壁上,U形管的另一侧管壁与大气连通。As shown in Figure 1, a pressure measuring device with a small rotational static gap includes: a rotating cylinder, a stationary cylinder, a capillary tube 4, a
如图1所示,在静止圆筒的筒壁上加工数个静压阶梯通孔3,数个静压阶梯通孔3散布于静止圆筒轴向中截面上,数个静压阶梯通孔3沿周向环绕一圈,用于测量微小转静间隙内由于偏心产生的动压效应所形成的压力分布。三级阶梯通孔的孔径沿静止圆筒外壁向内壁的方向逐级缩小。As shown in Figure 1, several static pressure stepped through
为了减小微小间隙内流体沿周向流动时经过的开孔数量,降低对流动干扰,相邻静压阶梯通孔3在轴向上存在一定偏置形成交错排布。微小转静间隙轴向截面图如图2所示,h表示间隙高度,间隙高度h的数值随着微小间隙周向角变化,最大间隙处位于周向角θ=0的位置,最小间隙处位于周向角θ=π的位置。在最小间隙高度一侧(即间隙周向角范围为[π/2,3π/2])相邻静压阶梯通孔的周向夹角θ为8-10°,最大间隙高度一侧(即间隙周向角范围为[3π/2,5π/2])相邻静压阶梯通孔3的周向夹角θ为18-20°,相邻的静压阶梯通孔存在0.5-1mm的轴向偏置距。静压阶梯通孔的分布如图3(a)所示,竖轴表示为周向角度,相邻静压阶梯通孔的周向角分别为10°、20°、30°和40°;横轴表示为轴向位置,相邻静压阶梯通孔的轴向间隔为1.5mm。In order to reduce the number of openings through which the fluid in the tiny gap flows along the circumferential direction and reduce the interference to the flow, the adjacent static pressure step through
为了减少静止圆筒壁面开孔对流体流动的影响,静止圆筒内壁面需要极小的孔径,因此采用如图3(b)所示的三级阶梯通孔作为本发明的静压阶梯通孔,三级阶梯通孔的孔径从外壁面向内壁面逐级缩小,孔径分别为1.5-2mm、1-1.2mm、0.4-0.8mm。在静压阶梯通孔3最大直径端插入外径为1.4mm-2mm的毛细针管4,毛细针管4外径略小于静压阶梯通孔的最大直径以便于配合插入,同时用胶固定毛细针管的插接口以防止漏气。硅胶软管5的内径约为1.4-1.8mm,一端插在毛细针管上,另一端与U形管6垂直于地面的一侧管壁连接,并做好防漏气措施。In order to reduce the impact of the openings on the wall of the stationary cylinder on the fluid flow, the inner wall of the stationary cylinder requires a very small aperture, so a three-stage stepped through hole as shown in Figure 3 (b) is used as the static pressure stepped through hole of the present invention , the apertures of the three-stage stepped through holes are gradually reduced from the outer wall to the inner wall, and the apertures are 1.5-2mm, 1-1.2mm, and 0.4-0.8mm respectively. Insert a capillary tube 4 with an outer diameter of 1.4 mm to 2 mm at the largest diameter end of the static pressure step through
在毛细针管4上插硅胶软管5,硅胶软管5另一端与U形管6垂直于地面的一侧管壁连接,从而形成测压气道。如图4所示,U形管6为透明树脂材质,U形管6一侧垂直于地,另一侧倾斜且与大气相通,倾斜侧与垂直侧的夹角为45°-60°,管内径为5-8mm,倾斜管长300mm,U形管6内注入75%-99%浓度的乙醇溶液。在本发明的测试实验中,为了测量多个测点的压力,在微小转静间隙1不同方位角处的静止圆筒上加工有多个静压阶梯通孔3,这些静压阶梯通孔均采用上述相同方式连接其对应的U形管,这些U形管与立板7共同安装在一起便于同时显示出不同间隙位置的瞬时压力值。在U型管6倾斜侧中间高度以下的位置安装夹钳式超声波流量传感器8,并连接夹钳式超声波流量传感器8与控制器,夹钳式超声波流量传感器8通过测量吐出量即流经溶液的体积,计算出U形管倾斜侧液面的上升高度。夹钳式超声流量传感器8加持直径为6-10mm。A
每一个静压阶梯通通孔3、毛细针管4、硅胶软管5、倾斜型U形管6及夹钳式超声波流量传感器8组成一套压力测量气路。为了测量出转静间隙周向上的多点压力值,需同时搭建出多个静压测量通道。Each static pressure ladder through
静压孔测压是利用伯努利原理,伯努利方程遵循能量守恒定律,主要描述了流速和高度与压强之间的关系:Static pressure hole pressure measurement is based on Bernoulli's principle. Bernoulli's equation follows the law of energy conservation and mainly describes the relationship between flow velocity and height and pressure:
式(2)中,p表示压力,ρ表示密度,gz表示重力势能,表示动能。伯努利原理中,不同流速下对应的流场压力也不同,通过在流速垂直方向布置静压测量通道,便可得到此处流场压力值。In formula (2), p represents pressure, ρ represents density, gz represents gravitational potential energy, Indicates kinetic energy. In Bernoulli's principle, the corresponding flow field pressure is different at different flow rates. By arranging the static pressure measurement channel in the vertical direction of the flow rate, the flow field pressure value here can be obtained.
在旋转圆柱处于静止状态时,U形管两侧液面高度平齐,旋转圆柱开始旋转后,由于流体粘性效应,微小转静间隙内产生剪切流动,动压效应作用使微小转静间隙内产生压力。而在流速垂直方向上设置静压测量通道使得U形管内液体产生不同的高度差Δh,记录高度差后,通过公式p=ρgΔh计算压力值。When the rotating cylinder is in a static state, the height of the liquid on both sides of the U-shaped tube is even. After the rotating cylinder starts to rotate, due to the fluid viscosity effect, shear flow occurs in the small rotating-static gap, and the dynamic pressure effect makes the small rotating-static gap Create stress. However, setting the static pressure measurement channel in the vertical direction of the flow rate makes the liquid in the U-shaped tube produce different height differences Δh. After recording the height difference, the pressure value is calculated by the formula p=ρgΔh.
实验装置搭建完成后,具体实施过程如下:After the experimental device is built, the specific implementation process is as follows:
利用可调移动台2调整静止圆筒与旋转圆柱相对位置,可调移动台2通过千分尺实现横向位移,其精度为0.01mm。根据所需测量的偏心率工况计算相应的位移,通过可调移动台使静止圆筒运动到对应位置。The relative position of the stationary cylinder and the rotating cylinder is adjusted by using the adjustable
从U形管6倾斜侧内注入液体使液面高度位于基准线处,基准线为倾斜侧高度中心线或位于U形管垂直半高位置,本发明的测试实验中注入溶液为99%浓度的乙醇溶液,由于此时管道内处于无流动状态无压力产生,U形管6倾斜侧无液面高度变化。夹钳式超声波流量传感器8传感器通电并进行初始化校正。Inject liquid from the U-shaped tube 6 inclined sides so that the liquid level is positioned at the reference line, and the reference line is the height center line of the inclined side or is positioned at the vertical half-height position of the U-shaped tube. In the test experiment of the present invention, the injection solution is 99% concentration For the ethanol solution, since the pipeline is in a no-flow state and no pressure is produced at this moment, there is no liquid level change on the inclined side of the U-shaped pipe 6 . Clamp-On
启动电机,使微小转静间隙内产生剪切流动,同时由于偏心存在产生的动压效应使得微小转静间隙内产生压力,由此根据静压原理可知,U形管6倾斜侧在压力作用下会形成液面高度差。在形成液位差的过程时,夹钳式超声波流量传感器8记录流过液体体积量,根据液体体积计算出液面高度,并计算压力值。本发明的测试实验中U形管6的倾斜侧与垂直于地的一侧的夹角为60°,因此在液位上升相同垂直高度下,液体位移距离放大2倍,可以提高感应精度,同时也延长液面变化时间,进一步提高传感器感应精度。实验中夹钳式超声波流量传感器的测量精度为0.003mL,压力管内管径为5mm,使用溶液为99%浓度的乙醇溶液,通过换算后计算得出溶液精度为1.74Pa。因此压力值为100pa时,测量精度误差小于2%,压力值为50pa时测量精度误差小于4%。Start the motor to generate shear flow in the small rotational static gap, and at the same time, due to the dynamic pressure effect generated by the eccentricity, pressure is generated in the small rotational static gap. According to the principle of static pressure, it can be known that the inclined side of the U-shaped tube 6 is under pressure There will be a difference in liquid level. During the process of forming the liquid level difference, the clamp-type
在本发明中对所有静压孔位置的压力进行测量,获得多点处压力值,从而拟合出微小转静间隙内压力的周向分布曲线。平均间隙高度0.5mm偏心率0.5时的周向压力测量结果如图5所示,横轴表示周向角度,纵轴表示静压值,该周向压力测量结果即包含压力数值较高的高压区部分,也包含压力数值低于100pa的低压区部分,该测量中约70%的数据可将测量误差控制在4%以内。In the present invention, the pressure at all positions of the static pressure holes is measured to obtain the pressure values at multiple points, thereby fitting the circumferential distribution curve of the pressure in the small rotational static gap. The circumferential pressure measurement results when the average gap height is 0.5 mm and the eccentricity is 0.5 are shown in Figure 5. The horizontal axis represents the circumferential angle, and the vertical axis represents the static pressure value. The circumferential pressure measurement results include the high-pressure area with high pressure values. It also includes the part of the low-pressure area where the pressure value is lower than 100pa. About 70% of the data in this measurement can control the measurement error within 4%.
综上,本发明可对0.5mm以下的微小转静间隙内压力实现快速、准确测量,既能准确测量出高压区的常规压力值,同时能够在不受系统振动、环境噪声的影响下精确测量出低于100Pa的低压区压力值,从而获得偏心状态下高转速微小转静间隙的整体压力分布规律。To sum up, the present invention can realize fast and accurate measurement of the internal pressure of the small rotational static gap below 0.5mm, and can not only accurately measure the conventional pressure value in the high pressure area, but also can accurately measure it without being affected by system vibration and environmental noise The pressure value of the low-pressure area lower than 100Pa is obtained, so as to obtain the overall pressure distribution law of the small rotation-static gap at high speed in the eccentric state.
| Application Number | Priority Date | Filing Date | Title |
|---|---|---|---|
| CN202211088774.5ACN116296039B (en) | 2022-09-07 | 2022-09-07 | Pressure measuring device and method for micro-rotating static gap |
| Application Number | Priority Date | Filing Date | Title |
|---|---|---|---|
| CN202211088774.5ACN116296039B (en) | 2022-09-07 | 2022-09-07 | Pressure measuring device and method for micro-rotating static gap |
| Publication Number | Publication Date |
|---|---|
| CN116296039Atrue CN116296039A (en) | 2023-06-23 |
| CN116296039B CN116296039B (en) | 2025-09-16 |
| Application Number | Title | Priority Date | Filing Date |
|---|---|---|---|
| CN202211088774.5AActiveCN116296039B (en) | 2022-09-07 | 2022-09-07 | Pressure measuring device and method for micro-rotating static gap |
| Country | Link |
|---|---|
| CN (1) | CN116296039B (en) |
| Publication number | Priority date | Publication date | Assignee | Title |
|---|---|---|---|---|
| CN116642438A (en)* | 2023-07-26 | 2023-08-25 | 天璟科技(深圳)有限公司 | Angle measuring device of high-precision turntable |
| Publication number | Priority date | Publication date | Assignee | Title |
|---|---|---|---|---|
| WO2003089883A1 (en)* | 2002-01-10 | 2003-10-30 | Seojin Instech Co., Ltd. | Multi-point averaging flow meter |
| WO2010083813A1 (en)* | 2009-01-20 | 2010-07-29 | Zimmermann & Schilp Handhabungstechnik Gmbh | Air bearing based on ultrasonic oscillation |
| CN104359679A (en)* | 2014-12-04 | 2015-02-18 | 南京航空航天大学 | Method for measuring micropore flow coefficient under rotating condition |
| CN111579143A (en)* | 2020-04-02 | 2020-08-25 | 浙江工业大学 | Experimental device for continuously measuring gas film pressure field of near-wall layer of gas static pressure main shaft |
| CN112556916A (en)* | 2020-10-22 | 2021-03-26 | 浙江工业大学 | Gas static pressure thrust bearing gas film pressure multi-degree-of-freedom measuring device |
| Publication number | Priority date | Publication date | Assignee | Title |
|---|---|---|---|---|
| WO2003089883A1 (en)* | 2002-01-10 | 2003-10-30 | Seojin Instech Co., Ltd. | Multi-point averaging flow meter |
| WO2010083813A1 (en)* | 2009-01-20 | 2010-07-29 | Zimmermann & Schilp Handhabungstechnik Gmbh | Air bearing based on ultrasonic oscillation |
| CN104359679A (en)* | 2014-12-04 | 2015-02-18 | 南京航空航天大学 | Method for measuring micropore flow coefficient under rotating condition |
| CN111579143A (en)* | 2020-04-02 | 2020-08-25 | 浙江工业大学 | Experimental device for continuously measuring gas film pressure field of near-wall layer of gas static pressure main shaft |
| CN112556916A (en)* | 2020-10-22 | 2021-03-26 | 浙江工业大学 | Gas static pressure thrust bearing gas film pressure multi-degree-of-freedom measuring device |
| Title |
|---|
| LONG WEI AND BAO GANG: "Theoretical study of effects on static characteristics of orifice compensation aerostatic bearings with different structures of pockets", 《ISSCAA 2008. 2ND INTERNATIONAL SYMPOSIUM ON SYSTEMS AND CONTROL IN AEROSPACE AND ASTRONAUTICS》, 31 December 2008 (2008-12-31)* |
| 刘源 等: "有限长偏心转静微小间隙流动及对流换热实验", 《航空动力学报》, 31 December 2024 (2024-12-31)* |
| 崔海龙;岳晓斌;张连新;夏欢;雷大江: "基于数值模拟的小孔节流空气静压轴承静动态特性研究", 机械工程学报, vol. 52, no. 9, 21 March 2016 (2016-03-21)* |
| 程志勇: "小孔节流静压径向空气轴承承载力数值分析", 《中国优秀硕士学位论文全文数据库》, 15 April 2019 (2019-04-15)* |
| Publication number | Priority date | Publication date | Assignee | Title |
|---|---|---|---|---|
| CN116642438A (en)* | 2023-07-26 | 2023-08-25 | 天璟科技(深圳)有限公司 | Angle measuring device of high-precision turntable |
| CN116642438B (en)* | 2023-07-26 | 2024-02-09 | 东莞市冠隆机械设备有限公司 | Angle measuring device of high-precision turntable |
| Publication number | Publication date |
|---|---|
| CN116296039B (en) | 2025-09-16 |
| Publication | Publication Date | Title |
|---|---|---|
| CN102507103B (en) | Gas sealing experimental device and method | |
| CN116296039A (en) | A pressure measurement device and method for a small rotational-static gap | |
| CN108225655A (en) | A kind of dynamical and static pressure gas bearing dynamic gas film pressure test device and test method | |
| Sitaram et al. | Conventional probes for the relative flow measurement in a turbomachinery rotor blade passage | |
| CN106383069A (en) | Homogeneous gas-liquid mixed dielectric viscosity measuring device and method | |
| CN102538876A (en) | Tester for parameter of flow field of gas static pressure restrictor | |
| CN202372319U (en) | Gas sealing experimental device | |
| CN115307693B (en) | Multi-range adjustable MEMS differential pressure flowmeter | |
| CN109781409B (en) | Device capable of realizing ultrahigh-speed liquid film shearing characteristic and hydrostatic bearing characteristic test | |
| CN202734877U (en) | Verabar flowmeter probe | |
| CN107607453B (en) | Device and method for measuring permeability of annular porous material | |
| CN203643093U (en) | A test device for sealing performance of liquid lubricated mechanical seal | |
| CN103344309B (en) | Electric drive symmetrical posts plug gas micro flow standard device | |
| CN220380557U (en) | Variable-area critical flow flowmeter | |
| CN111579143B (en) | An experimental device for continuous measurement of the gas film pressure field near the wall of the gas static pressure spindle | |
| CN105784341B (en) | A kind of method of the standard set-up and verification of permanent flow valve flow and differential pressure verification | |
| CN112798276A (en) | A two-phase flow test system and method for tilting pad directional lubrication bearing | |
| CN204177429U (en) | Fluid flow rate measurement apparatus | |
| CN219641059U (en) | A flowmeter that can be calibrated and docked for motor vehicle detection | |
| CN207423471U (en) | A kind of equivalent experiment device for being used to test axial dynamic gap leakage | |
| CN103033222A (en) | Super-minor-caliber three-diamond-type flowmeter | |
| CN110487583A (en) | A kind of rotation status Imitating multichannel drying cylinder heat transfer testing system | |
| CN2689181Y (en) | Internal gyroscopic flow measuring shutoff apparatus | |
| CN116429334A (en) | Metal skeleton rotation axis lip seal circle capability test evaluation device | |
| CN104482968A (en) | Self-calibrating double-impeller turbine flowmeter |
| Date | Code | Title | Description |
|---|---|---|---|
| PB01 | Publication | ||
| PB01 | Publication | ||
| SE01 | Entry into force of request for substantive examination | ||
| SE01 | Entry into force of request for substantive examination | ||
| GR01 | Patent grant | ||
| GR01 | Patent grant |