














技术领域technical field
本发明涉及医疗器械技术领域,具体涉及一种泵头捕捉器、血栓吸除系统及其使用方法。The invention relates to the technical field of medical devices, in particular to a pump head catcher, a thrombus suction system and a use method thereof.
背景技术Background technique
血栓形成和栓塞是大多数心脑血管疾病如急性心肌梗塞、缺血性脑卒中、肺动脉栓塞等的病理基础,也是造成死亡和肢体残疾的首要原因。经导管介入治疗是当前临床血栓性疾病的主要治疗方法之一,包括导管取栓术和局部药物溶栓。其中,机械取栓联合全身和局部注射溶栓药可以提高梗阻血管的早期再通率、改善预后。因此,经导管介入治疗逐渐获得了临床越来越多的认可,成为了血栓性疾病治疗的一个良好选择。Thrombosis and embolism are the pathological basis of most cardiovascular and cerebrovascular diseases, such as acute myocardial infarction, ischemic stroke, pulmonary embolism, etc., and are also the primary cause of death and physical disability. Transcatheter interventional therapy is one of the main treatment methods for clinical thrombotic diseases, including catheter thrombectomy and local drug thrombolysis. Among them, mechanical thrombectomy combined with systemic and local injection of thrombolytic drugs can increase the early recanalization rate of obstructed vessels and improve the prognosis. Therefore, transcatheter interventional therapy has gradually gained more and more clinical approval, and has become a good choice for the treatment of thrombotic diseases.
现有的血栓去除系统的泵头捕捉器,如公布号为US9161765B2所示,公开了一种簧片棘爪式泵头捕捉器,通过三爪钣金簧片的弹性力装夹泵头,成本低廉,容易加工。 但是,由于抽吸泵的主要运动是直线快速往返的活塞运动,如果抽吸泵出现故障,如进水口堵塞,或者进出水口均堵塞的情况,泵腔体有可能处于负压,甚至被向上运动的活塞泵头抽成一定程度的真空状态。这个时候对于泵头机械爪的力就有可能超过簧片的强度极限,导致簧片失效。其次,泵头捕捉器和泵头装配很容易导致二者不同轴,也会对单个爪簧片造成局部负载过大,而另外两个负载却很小,这种对中不良造成的负载不均匀,会导致簧片更容易发生失效。而且,这种对中不良也有一定可能导致抽吸泵头捕捉失败,还可能损坏泵头。The existing pump head catcher of the thrombus removal system, as shown in the publication number US9161765B2, discloses a reed pawl type pump head catcher, the pump head is clamped by the elastic force of the three-claw sheet metal reed, and the cost is low. Inexpensive and easy to process. However, since the main movement of the suction pump is a linear and fast reciprocating piston movement, if the suction pump fails, such as the water inlet is blocked, or the water inlet and outlet are both blocked, the pump chamber may be under negative pressure, or even be moved upwards. The piston pump head is pumped into a certain degree of vacuum state. At this time, the force on the mechanical claw of the pump head may exceed the strength limit of the reed, causing the reed to fail. Secondly, the assembly of the pump head catcher and the pump head can easily lead to misalignment between the two, and it will also cause excessive local load on a single claw reed, while the other two loads are small, and the load caused by this misalignment is not large. Uniformity will cause the reed to be more prone to failure. Moreover, this misalignment may also cause the suction pump head to fail to capture, and may also damage the pump head.
因此,现有的簧片棘爪式泵头捕捉器存在较大疲劳失效的风险,如果不注意维护,在手术期间出现故障,将会导致手术中断。Therefore, there is a greater risk of fatigue failure in the existing reed pawl type pump head catcher, and if maintenance is not taken care of, failure occurs during the operation, which will lead to interruption of the operation.
发明内容Contents of the invention
因此,本发明要解决的技术问题在于克服现有技术中现有的簧片棘爪式泵头捕捉器存在较大疲劳失效的风险的缺陷,从而提供一种降低疲劳失效的风险的泵头捕捉器。Therefore, the technical problem to be solved by the present invention is to overcome the defect that the existing reed pawl pump head catcher in the prior art has a relatively high risk of fatigue failure, thereby providing a pump head catcher that reduces the risk of fatigue failure. device.
本发明要解决的另外一个技术问题在于克服现有技术中现有的簧片棘爪式泵头捕捉器存在较大疲劳失效的风险的缺陷,从而提供一种降低疲劳失效的风险的血栓吸除系统。Another technical problem to be solved by the present invention is to overcome the defect that the existing reed pawl pump head catcher in the prior art has a relatively high risk of fatigue failure, so as to provide a thrombus suction device that reduces the risk of fatigue failure. system.
为解决上述技术问题,本发明提供的泵头捕捉器,包括:In order to solve the above technical problems, the pump head catcher provided by the present invention includes:
连接主体,具有位于轴心的平面空腔,所述平面空腔适于容置泵活塞头;The connecting body has a planar cavity located at the center of the axis, and the planar cavity is suitable for accommodating the pump piston head;
固定座,设置于所述连接主体靠近泵活塞头的一端;所述固定座沿轴向开设有捕捉口,所述捕捉口适于引导所述泵活塞头进入所述平面空腔;The fixing seat is arranged at one end of the connecting body close to the pump piston head; the fixing seat is provided with a catch port along the axial direction, and the catch port is suitable for guiding the pump piston head into the plane cavity;
所述固定座包括若干沿径向设置且与所述捕捉口连通的滑轨,所述滑轨内设置有机械爪,所述机械爪的尾端与驱动弹簧相连,所述机械爪的首端适于与泵活塞头的弧形肋相卡接;若干所述机械爪在所述驱动弹簧的弹力作用下朝轴心运动和/或保持朝轴心运动的趋势以共同捕捉泵活塞头。The fixed seat includes several slide rails arranged in the radial direction and communicated with the catch port, the slide rails are provided with mechanical claws, the tail ends of the mechanical claws are connected with the driving spring, and the head ends of the mechanical claws It is suitable for clamping with the arc-shaped rib of the pump piston head; several mechanical claws move toward the axis and/or maintain a tendency to move toward the axis under the elastic force of the driving spring to jointly catch the pump piston head.
可选的,所述平面空腔的顶壁与泵活塞头之间形成轴向浮动间隙,以使泵活塞头沿Z向浮动于所述平面空腔内。Optionally, an axial floating gap is formed between the top wall of the plane cavity and the pump piston head, so that the pump piston head floats in the plane cavity along the Z direction.
可选的,所述平面空腔的顶壁与泵活塞头之间的轴向浮动间隙为H,H满足0.1mm≤H≤0.2mm。Optionally, the axial floating gap between the top wall of the planar cavity and the pump piston head is H, and H satisfies 0.1mm≤H≤0.2mm.
可选的,所述机械爪的首端与所述泵活塞头之间形成径向浮动间隙,所述径向浮动间隙为W,W满足0<W≤0.8mm。Optionally, a radial floating gap is formed between the head end of the mechanical claw and the pump piston head, and the radial floating gap is W, and W satisfies 0<W≤0.8mm.
可选的,所述机械爪与所述弧形肋之间的搭接长度为T,T满足1.5W≤T≤2.5W。Optionally, the overlapping length between the mechanical claw and the arc-shaped rib is T, and T satisfies 1.5W≤T≤2.5W.
可选的,所述机械爪沿轴向靠近所述连接主体的一端设置有卡接面,所述卡接面适于与所述弧形肋的底面相抵接;Optionally, one end of the mechanical claw axially close to the connecting body is provided with a clamping surface, and the clamping surface is suitable for abutting against the bottom surface of the arc-shaped rib;
所述机械爪的首端设置有过渡面,所述过渡面与所述卡接面之间成锐角设置,所述过渡面适于引导泵活塞头沿轴向靠近所述连接主体运动。The first end of the mechanical claw is provided with a transition surface, and the transition surface is set at an acute angle with the clamping surface, and the transition surface is suitable for guiding the pump piston head to move axially close to the connecting body.
可选的,所述固定座包括:Optionally, the fixing seat includes:
底板,所述底板上开设有所述滑轨;a bottom plate, on which the slide rail is opened;
盖板,与所述底板沿轴向间隔设置,所述盖板与所述底板固定连接以将所述机械爪封装于所述滑轨内;A cover plate is axially spaced apart from the bottom plate, and the cover plate is fixedly connected to the bottom plate to encapsulate the mechanical claw in the slide rail;
侧盖,所述侧盖与所述盖板和/或所述底板固定连接,所述侧盖适于对所述驱动弹簧进行限位。A side cover, the side cover is fixedly connected with the cover plate and/or the bottom plate, and the side cover is suitable for limiting the driving spring.
可选的,所述机械爪包括限位部,所述盖板和/或所述底板靠近所述机械爪的一侧开设有限位槽,所述限位部滑动设置于所述限位槽内以对所述机械爪进行限位。Optionally, the mechanical claw includes a limiting part, a limiting groove is opened on a side of the cover plate and/or the bottom plate close to the mechanical claw, and the limiting part is slidably disposed in the limiting groove To limit the position of the mechanical claw.
本发明提供的血栓吸除系统,包括:The thrombus suction system provided by the present invention includes:
主机架;Main Frame;
所述主机架上沿Z向设置有导管泵运动单元,所述导管泵运动单元通过如上述所述的泵头捕捉器与泵活塞头相连接,所述泵活塞头设置于抽吸泵的一端;所述抽吸泵的另一端通过吸栓导管与蠕动泵相连接;The main frame is provided with a catheter pump movement unit along the Z direction, and the catheter pump movement unit is connected to the pump piston head through the pump head catcher as described above, and the pump piston head is arranged at one end of the suction pump ; The other end of the suction pump is connected with the peristaltic pump through the suction plug catheter;
所述主机架上沿Y向设置有导管台运动单元,适于带动所述抽吸泵和蠕动泵相对所述主机架沿Y向移动。The main frame is provided with a catheter table moving unit along the Y direction, which is suitable for driving the suction pump and the peristaltic pump to move relative to the main frame along the Y direction.
本发明还提供一种血栓吸除系统的使用方法,包括如下步骤:The present invention also provides a method for using the thrombus suction system, comprising the following steps:
S1、控制导管台运动单元带动抽吸泵和蠕动泵沿Y向远离导管泵运动单元,使得蠕动泵切换至打开状态;S1. Control the movement unit of the catheter table to drive the suction pump and the peristaltic pump away from the movement unit of the catheter pump along the Y direction, so that the peristaltic pump is switched to the open state;
S2、将抽吸泵安装固定于导管台运动单元上,并将吸栓导管置于夹持间隙内,控制所述导管台运动单元带动所述抽吸泵和所述蠕动泵沿Y向靠近所述导管泵运动单元,并使得蠕动泵切换至闭合状态;S2. Install and fix the suction pump on the moving unit of the catheter table, place the suction plug catheter in the clamping gap, and control the moving unit of the catheter table to drive the suction pump and the peristaltic pump to approach the moving unit along the Y direction. the catheter pump movement unit, and switch the peristaltic pump to a closed state;
S3、控制导管泵运动单元带动泵头捕捉器沿Z向靠近并捕捉泵活塞头;S3. Control the movement unit of the catheter pump to drive the pump head catcher to approach and catch the pump piston head along the Z direction;
S4、控制导管泵运动单元带动抽吸泵沿Z向高速往复直线运动;控制滚柱泵机构对吸栓导管进行节流。S4. Control the movement unit of the catheter pump to drive the suction pump to move in a high-speed reciprocating linear motion along the Z direction; control the roller pump mechanism to throttle the suction plug catheter.
本发明技术方案,具有如下优点:The technical solution of the present invention has the following advantages:
1.本发明提供的泵头捕捉器,所述连接主体通过设置平面空腔,从而使得泵活塞头沿Z向有一定的浮动空间;所述固定座通过设置滑轨,所述滑轨内设置有机械爪,所述机械爪的尾端与驱动弹簧相连,从而形成弹簧滑轨捕捉机构,与改进前的钣金工艺制作的三爪钣金簧片相比,所述弹簧滑轨捕捉机构的抗压能力和抗疲劳能力更可靠,同时所述弹簧滑轨捕捉机构搭配所述平面空腔在X,Y向可以补偿泵活塞头对位不良,且可以补偿泵活塞头相对Z向的小角度倾斜不良,不仅降低了对主机的对位精度要求,而且降低了对导管泵的寿命折损。1. The pump head catcher provided by the present invention, the connecting body is provided with a plane cavity, so that the pump piston head has a certain floating space along the Z direction; the fixed seat is provided with a slide rail, and the slide rail is set There is a mechanical claw, and the tail end of the mechanical claw is connected with the driving spring to form a spring slide rail catch mechanism. Compared with the three-claw sheet metal reed made by the sheet metal process before improvement, the spring slide rail catch mechanism The compression resistance and fatigue resistance are more reliable, and at the same time, the spring slide rail catch mechanism and the plane cavity can compensate for the misalignment of the pump piston head in the X and Y directions, and can compensate the small angle of the pump piston head relative to the Z direction Poor inclination not only reduces the alignment accuracy requirements of the main machine, but also reduces the life loss of the catheter pump.
2.本发明提供的泵头捕捉器,所述平面空腔的顶壁与泵活塞头之间预设有轴向浮动间隙H,以使所述泵活塞头沿Z向浮动于所述平面空腔内,从而使得所述泵头捕捉器能够顺利捕捉所述泵活塞头,保证捕捉动作更可靠;所述平面空腔的顶壁与泵活塞头之间的轴向浮动间隙为H,H满足0.1mm≤H≤0.2mm,从而既能够使得所述机械爪顺利弹出完成对所述泵活塞头的捕捉,又能够限制所述泵活塞头在所述平面空腔内过大的轴向移动,增强所述泵头捕捉器的平稳性。2. In the pump head catcher provided by the present invention, an axial floating gap H is preset between the top wall of the plane cavity and the pump piston head, so that the pump piston head floats in the plane cavity along the Z direction. cavity, so that the pump head catcher can smoothly capture the pump piston head, ensuring a more reliable capture action; the axial floating gap between the top wall of the planar cavity and the pump piston head is H, and H satisfies 0.1mm≤H≤0.2mm, so that the mechanical claw can be ejected smoothly to capture the pump piston head, and the excessive axial movement of the pump piston head in the plane cavity can be restricted. Enhances the stability of the pump head catcher.
3.本发明提供的泵头捕捉器,所述机械爪的首端与所述泵活塞头之间形成径向浮动间隙,所述径向浮动间隙为W,W满足0<W≤0.8mm,从而搭配所述平面空腔补偿所述泵活塞头在X向和/或Y向上的偏位不良,保证所述泵活塞头所属的泵体与泵座之间的垂直度;所述机械爪与所述弧形肋之间的搭接长度为T,T满足1.5W≤T≤2.5W,在补偿所述泵活塞头在X向和/或Y向上的偏位不良的同时,不仅能够避免所述泵活塞头因偏位与所述机械爪产生脱离的风险,提高捕捉的稳定性,而且能够优化所述泵活塞头与所述泵头捕捉器的结构,提高整机结构和性能的协调性。3. In the pump head catcher provided by the present invention, a radial floating gap is formed between the head end of the mechanical claw and the pump piston head, and the radial floating gap is W, and W satisfies 0<W≤0.8mm, In this way, the planar cavity can be used to compensate the misalignment of the pump piston head in the X direction and/or Y direction, so as to ensure the verticality between the pump body and the pump seat to which the pump piston head belongs; the mechanical claw and The overlapping length between the arc-shaped ribs is T, and T satisfies 1.5W≤T≤2.5W. While compensating for the misalignment of the pump piston head in the X direction and/or Y direction, it can not only avoid all The risk of detachment of the pump piston head from the mechanical claw due to deviation can improve the stability of capture, and can optimize the structure of the pump piston head and the pump head catcher to improve the coordination of the structure and performance of the whole machine .
附图说明Description of drawings
为了更清楚地说明本发明具体实施方式或现有技术中的技术方案,下面将对具体实施方式或现有技术描述中所需要使用的附图作简单地介绍,显而易见地,下面描述中的附图是本发明的一些实施方式,对于本领域普通技术人员来讲,在不付出创造性劳动的前提下,还可以根据这些附图获得其他的附图。In order to more clearly illustrate the specific implementation of the present invention or the technical solutions in the prior art, the following will briefly introduce the accompanying drawings that need to be used in the specific implementation or description of the prior art. Obviously, the accompanying drawings in the following description The drawings show some implementations of the present invention, and those skilled in the art can obtain other drawings based on these drawings without any creative effort.
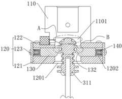
图1为本发明泵头捕捉器捕捉完成泵活塞头的局部剖面结构示意图;Fig. 1 is the local cross-sectional structural schematic diagram of the pump piston head captured by the pump head catcher of the present invention;
图2为图1中A处的放大图;Fig. 2 is the enlarged view of place A in Fig. 1;
图3为图1中B处的放大图;Fig. 3 is the enlarged view of place B in Fig. 1;
图4为本发明泵头捕捉器捕捉泵活塞头的工作原理示意图;Fig. 4 is a schematic diagram of the working principle of the pump head catcher catching the pump piston head of the present invention;
图5为本发明泵头捕捉器的机械爪与固定座的一种限位关系示意图;Fig. 5 is a schematic diagram of a limiting relationship between the mechanical claw and the fixing seat of the pump head catcher of the present invention;
图6为本发明泵头捕捉器的机械爪与固定座的另一种限位关系示意图;Fig. 6 is a schematic diagram of another limit relationship between the mechanical claw and the fixing seat of the pump head catcher of the present invention;
图7为本发明血栓吸除系统的整机结构示意图;Fig. 7 is a schematic diagram of the overall structure of the thrombus suction system of the present invention;
图8为图7中C处的放大图;Figure 8 is an enlarged view at C in Figure 7;
图9为本发明血栓吸除系统的蠕动泵在闭合状态下的结构示意图;9 is a schematic structural view of the peristaltic pump in the closed state of the thrombus suction system of the present invention;
图10为图9中D处的局部剖放大图;Fig. 10 is a partially cut-away enlarged view at D in Fig. 9;
图11为本发明血栓吸除系统的蠕动泵在打开状态下的结构示意图;Fig. 11 is a schematic structural view of the peristaltic pump in the open state of the thrombus suction system of the present invention;
图12为图11中E处的局部剖放大图;Fig. 12 is a partially cut-away enlarged view at E in Fig. 11;
图13为本发明血栓吸除系统的蠕动泵的爆炸结构示意图;13 is a schematic diagram of the exploded structure of the peristaltic pump of the thrombus suction system of the present invention;
图14为本发明血栓吸除系统的蠕动泵的滚柱泵机构的剖面结构示意图;14 is a schematic cross-sectional structure diagram of the roller pump mechanism of the peristaltic pump of the thrombus suction system of the present invention;
图15为图13中F处的放大图。FIG. 15 is an enlarged view at point F in FIG. 13 .
附图标记说明:Explanation of reference signs:
110、连接主体;1101、平面空腔;110. Connection body; 1101. Plane cavity;
120、固定座;1201、捕捉口;1202、滑轨;1203、限位槽;121、底板;122、盖板;123、侧盖;120, fixed seat; 1201, catch port; 1202, slide rail; 1203, limit groove; 121, bottom plate; 122, cover plate; 123, side cover;
130、机械爪;131、卡接面;132、过渡面;133、限位部;130, mechanical claw; 131, clamping surface; 132, transition surface; 133, limit part;
140、驱动弹簧;140, drive spring;
20、安装架;20. Mounting frame;
21、滚柱泵机构;211、电机;212、固定盘;213、节流滚柱;21. Roller pump mechanism; 211. Motor; 212. Fixed plate; 213. Throttle roller;
22、夹持结构;221、滑动部;2211、第一轴孔;2212、第二轴孔;222、夹持部;223、吸栓导管;22. Clamping structure; 221. Sliding part; 2211. First shaft hole; 2212. Second shaft hole; 222. Clamping part; 223. Suction plug catheter;
23、弹性导柱机构;231、第一轴杆;232、第二轴杆;233、弹簧;234、滑动轴承;23. Elastic guide post mechanism; 231. First shaft; 232. Second shaft; 233. Spring; 234. Sliding bearing;
24、定位结构;24. Positioning structure;
30、导管台运动单元;30. Catheter table motion unit;
31、抽吸泵;311、泵活塞头;3111、弧形肋;31. Suction pump; 311. Pump piston head; 3111. Arc rib;
40、导管泵运动单元;40. Catheter pump movement unit;
50、主机架;50. Main frame;
51、斜面结构;511、斜坡驱动导轨;5111、斜坡远止端;5112、斜坡近止端;5113、斜坡过渡段;512、滚轮机构;513、固定轴。51. Slope structure; 511. Slope driving guide rail; 5111. Far end of slope; 5112. Near end of slope; 5113. Slope transition section; 512. Roller mechanism; 513. Fixed shaft.
具体实施方式Detailed ways
下面将结合附图对本发明的技术方案进行清楚、完整地描述,显然,所描述的实施例是本发明一部分实施例,而不是全部的实施例。基于本发明中的实施例,本领域普通技术人员在没有做出创造性劳动前提下所获得的所有其他实施例,都属于本发明保护的范围。The technical solutions of the present invention will be clearly and completely described below in conjunction with the accompanying drawings. Apparently, the described embodiments are part of the embodiments of the present invention, but not all of them. Based on the embodiments of the present invention, all other embodiments obtained by persons of ordinary skill in the art without making creative efforts belong to the protection scope of the present invention.
在本发明的描述中,需要说明的是,术语“中心”、“上”、“下”、“左”、“右”、“垂直”、“水平”、“内”、“外”等指示的方位或位置关系为基于附图所示的方位或位置关系,仅是为了便于描述本发明和简化描述,而不是指示或暗示所指的装置或元件必须具有特定的方位、以特定的方位构造和操作,因此不能理解为对本发明的限制。此外,术语“第一”、“第二”、“第三”仅用于描述目的,而不能理解为指示或暗示相对重要性。In describing the present invention, it should be noted that the terms "center", "upper", "lower", "left", "right", "vertical", "horizontal", "inner", "outer" etc. indicate The orientation or positional relationship is based on the orientation or positional relationship shown in the drawings, and is only for the convenience of describing the present invention and simplifying the description, rather than indicating or implying that the referred device or element must have a specific orientation or be configured in a specific orientation. and operation, and therefore should not be construed as limiting the invention. In addition, the terms "first", "second", and "third" are used for descriptive purposes only, and should not be construed as indicating or implying relative importance.
在本发明的描述中,需要说明的是,除非另有明确的规定和限定,术语“安装”、“相连”、“连接”应做广义理解,例如,可以是固定连接,也可以是可拆卸连接,或一体地连接;可以是机械连接,也可以是电连接;可以是直接相连,也可以通过中间媒介间接相连,可以是两个元件内部的连通。对于本领域的普通技术人员而言,可以根据具体情况理解上述术语在本发明中的具体含义。In the description of the present invention, it should be noted that unless otherwise specified and limited, the terms "installation", "connection" and "connection" should be understood in a broad sense, for example, it can be a fixed connection or a detachable connection. Connected, or integrally connected; it may be mechanically connected or electrically connected; it may be directly connected or indirectly connected through an intermediary, and it may be the internal communication of two components. Those of ordinary skill in the art can understand the specific meanings of the above terms in the present invention according to specific situations.
此外,下面所描述的本发明不同实施方式中所涉及的技术特征只要彼此之间未构成冲突就可以相互结合。In addition, the technical features involved in the different embodiments of the present invention described below may be combined with each other as long as there is no conflict with each other.
实施例一Embodiment one
结合图1-图6所示,本实施例所提供的泵头捕捉器,包括:As shown in Figures 1-6, the pump head catcher provided in this embodiment includes:
连接主体110,具有位于轴心的平面空腔1101,所述平面空腔1101适于容置泵活塞头311;The connecting
固定座120,设置于所述连接主体110靠近泵活塞头311的一端;所述固定座120沿轴向开设有捕捉口1201,所述捕捉口1201适于引导所述泵活塞头311进入所述平面空腔1101;The fixing
所述固定座120包括若干沿径向设置且与所述捕捉口1201连通的滑轨1202,所述滑轨1202内设置有机械爪130,所述机械爪130的尾端与驱动弹簧140相连,所述机械爪130的首端适于与泵活塞头311的弧形肋3111相卡接;若干所述机械爪130在所述驱动弹簧140的弹力作用下朝轴心运动和/或保持朝轴心运动的趋势以共同捕捉泵活塞头311。The fixing
需要说明的是,本发明泵头捕捉器的材料可以是钢,铝等常用金属,也可以是ABS,尼龙等常规塑胶材料。在具体的实施过程中,所述泵头捕捉器的动作可以为直线下降捕捉,也可以为摆动捕捉,还可以为转动下降捕捉等,可以根据实际使用情况调整,不仅限于本实施例中所述的情况。It should be noted that the material of the pump head catcher of the present invention can be common metals such as steel and aluminum, and can also be conventional plastic materials such as ABS and nylon. In the specific implementation process, the action of the pump head catcher can be a straight-line drop catch, a swing catch, or a rotation fall catch, etc., which can be adjusted according to actual usage conditions, and are not limited to those described in this embodiment. Case.
可选的,所述滑轨1202和所述机械爪130均通过机加工制作而成。Optionally, both the
可选的,所述固定座120包括三个沿径向设置的滑轨1202,每个所述滑轨1202内设置有机械爪130,每个所述机械爪130的尾端与驱动弹簧140相连,从而形成三爪弹簧滑轨捕捉机构,在工作过程中,三个所述机械爪130分别在对应的所述驱动弹簧140的弹力作用下朝轴心运动和/或保持朝轴心运动的趋势以共同捕捉泵活塞头311。Optionally, the fixed
需要说明的是,改进前的簧片棘爪式泵头捕捉器通过三爪钣金簧片的弹性力装夹泵头,由于抽吸泵的主要运动是直线快速往返的活塞运动,如果抽吸泵出现故障,如进水口堵塞,或者进出水口均堵塞的情况,泵腔体有可能处于负压,甚至被向上运动的活塞泵头抽成一定程度的真空状态。这个时候对于泵头机械爪的力就有可能超过簧片的强度极限,导致簧片失效。本发明所提供的泵头捕捉器,机加工制作的所述滑轨1202和所述机械爪130的抗压能力和抗疲劳能力比钣金工艺制作的簧片更可靠,多次运行实测结果表明,本发明所提供的泵头捕捉器即使有超过系统压力3倍的过载也依然能够稳定工作;本发明泵头捕捉器通过设置滑轨1202及与其径向滑动连接的机械爪130,并在所述机械爪130的尾端设置驱动弹簧140,在抽吸泵出现故障,如进水口堵塞,或者进出水口均堵塞的情况下,能够使得滑轨1202和机械爪130承载抽吸泵的轴向活塞力,并将所述轴向活塞力转移至固定座120上,避免了所述驱动弹簧140直接承载所述轴向活塞力,有效降低了所述驱动弹簧140失效的风险,抗过载能力更强。It should be noted that the pre-improved reed pawl pump head catcher clamps the pump head through the elastic force of the three-claw sheet metal reed. If the pump fails, such as the water inlet is blocked, or both the water inlet and outlet are blocked, the pump cavity may be under negative pressure, and even be pumped into a certain degree of vacuum by the upward moving piston pump head. At this time, the force on the mechanical claw of the pump head may exceed the strength limit of the reed, causing the reed to fail. The pump head catcher provided by the present invention, the machined
需要说明的是,改进前的簧片棘爪式泵头捕捉器通过三爪钣金簧片的弹性力装夹泵头,泵头捕捉器和泵头装配很容易导致二者不同轴,也会对单个爪簧片造成局部负载过大,而另外两个负载却很小,这种对中不良造成的负载不均匀,会导致簧片更容易发生失效,这种对中不良也有一定可能导致抽吸泵头捕捉失败,还可能损坏泵头;而且,改进前的簧片棘爪式泵头捕捉器的球面腔对主机精度要求太高,更容易造成偏位,会给导管泵寿命带来风险。本发明所提供的泵头捕捉器,通过设置平面空腔1101,使得所述平面空腔1101的内壁与泵活塞头311之间留有一定间隙,从而Z向不会完全卡死泵活塞头311,从而能够让泵活塞头311更容易被捕捉到;通过设置滑轨1202和机械爪130,所述机械爪130的尾端与驱动弹簧140相连,从而形成弹簧滑轨捕捉机构;所述平面空腔1101在一定程度上能够补偿主机对中不良带来的问题,即使泵活塞头311和泵头捕捉器有一定程度的不同轴或者偏斜,所述弹簧滑轨捕捉机构在X,Y,Z三个方向上均留有一定余量,能够补偿这些同轴度或者偏斜带来的对中不良问题,可以保证三个所述机械爪130稳定的夹持住泵活塞头311,提高了捕捉的可靠性。It should be noted that the pre-improved reed pawl pump head catcher clamps the pump head through the elastic force of the three-claw sheet metal reed. It will cause excessive local load on a single claw reed, while the other two loads are small. The uneven load caused by this misalignment will make the reed more prone to failure. This misalignment may also cause Failure to capture the suction pump head may damage the pump head; moreover, the spherical cavity of the pre-improved reed pawl pump head catcher has too high a precision requirement on the host machine, which is more likely to cause deviation, which will shorten the service life of the catheter pump. risk. In the pump head catcher provided by the present invention, by setting the
本实施例中,所述连接主体110通过设置平面空腔1101,从而使得泵活塞头311沿Z向有一定的浮动空间;所述固定座120通过设置滑轨1202,所述滑轨1202内设置有机械爪130,所述机械爪130的尾端与驱动弹簧140相连,从而形成弹簧滑轨捕捉机构,与改进前的钣金工艺制作的三爪钣金簧片相比,所述弹簧滑轨捕捉机构的抗压能力和抗疲劳能力更可靠,同时所述弹簧滑轨捕捉机构搭配所述平面空腔1101在X,Y向可以补偿泵活塞头对位不良,且可以补偿泵活塞头相对Z向的小角度倾斜不良,不仅降低了对主机的对位精度要求,而且降低了对导管泵的寿命折损。In this embodiment, the connecting
具体地,所述平面空腔1101的顶壁与泵活塞头311之间形成轴向浮动间隙,以使泵活塞头311沿Z向浮动于所述平面空腔1101内。Specifically, an axial floating gap is formed between the top wall of the
具体地,所述平面空腔1101的顶壁与泵活塞头311之间的轴向浮动间隙为H,H满足0.1mm≤H≤0.2mm。Specifically, the axial floating gap between the top wall of the
需要说明的是,请参见图4所示,所述泵活塞头311靠近所述泵头捕捉器的一端设置有半球形顶部,所述泵活塞头311由所述半球形顶部向远离所述泵头捕捉器方向设置有弧形肋3111,所述弧形肋3111的直径大于所述半球形顶部的直径。请参见图1和图2所示,所述平面空腔1101的顶壁与泵活塞头311之间预设有轴向浮动间隙H,以使所述泵活塞头311沿Z向浮动于所述平面空腔1101内,从而使得所述泵头捕捉器能够顺利捕捉所述泵活塞头311,保证捕捉动作更可靠。如果所述轴向浮动间隙过小或者不留所述轴向浮动间隙,所述机械爪130在弹出时有可能被所述泵活塞头311的弧形肋3111的外周侧边沿挡住或者卡住,难以弹出,导致捕捉失败,因此,H需满足H≥0.1mm;如果所述轴向浮动间隙过大,所述机械爪130在弹出后虽然能够对所述泵活塞头311完成捕捉,但是容易使得所述泵活塞头311在所述平面空腔1101内存在过大的轴向移动的可能,影响所述泵头捕捉器的平稳性,因此,H需满足H≤0.2mm。请参见图2所示,所述平面空腔1101的顶壁与泵活塞头311之间的轴向浮动间隙为H,H满足0.1mm≤H≤0.2mm,从而既能够使得所述机械爪130顺利弹出完成对所述泵活塞头311的捕捉,又能够限制所述泵活塞头311在所述平面空腔1101内过大的轴向移动,增强所述泵头捕捉器的平稳性。It should be noted that, referring to FIG. 4, the end of the
具体地,所述机械爪130的首端与所述泵活塞头311之间形成径向浮动间隙,所述径向浮动间隙为W,W满足0<W≤0.8mm。Specifically, a radial floating gap is formed between the head end of the
需要说明的是,为了避免所述机械爪130装配精度及其限位位置的设置精度对所述泵活塞头311直接产生偏位影响,当所述机械爪130弹出并静止于限定位置后,所述机械爪130需避免与所述泵活塞头311直接径向抵接,因此,请参见图1和图3所示,所述机械爪130的首端与所述泵活塞头311之间预设有径向浮动间隙W,且W>0,以使所述泵活塞头311能够在径向上有一定的浮动空间;但是,所述径向浮动间隙如果过大,容易导致所述泵活塞头311因偏位与所述机械爪130产生脱离的风险,因此,所述径向浮动间隙为W还应满足W≤0.8mm。请参见图3所示,所述机械爪130的首端与所述泵活塞头311之间形成径向浮动间隙,所述径向浮动间隙为W,W满足0<W≤0.8mm,从而搭配所述平面空腔1101补偿所述泵活塞头311在X向和/或Y向上的偏位不良,保证所述泵活塞头311所属的泵体与泵座之间的垂直度。It should be noted that, in order to avoid the assembly accuracy of the
具体地,所述机械爪130与所述弧形肋3111之间的搭接长度为T,T满足1.5W≤T≤2.5W。Specifically, the overlapping length between the
需要说明的是,请参见图3所示,所述机械爪130与所述弧形肋3111之间的搭接长度如果过短,容易导致所述泵活塞头311因偏位与所述机械爪130产生脱离的风险,影响捕捉的稳定性;所述机械爪130与所述弧形肋3111之间的搭接长度如果过长,由于所述泵活塞头311需要满足沿Z向平滑进入所述泵头捕捉器的需求,因此所述弧形肋3111和所述机械爪130也需相应增大,这容易导致所述泵活塞头311与所述泵头捕捉器的结构总体过大,造成整机结构和性能失调。仍参见图3所示,在所述机械爪130的首端与所述泵活塞头311之间形成所述径向浮动间隙的基础上,所述机械爪130与所述弧形肋3111之间的搭接长度为T,T满足1.5W≤T≤2.5W,在补偿所述泵活塞头311在X向和/或Y向上的偏位不良的同时,不仅能够避免所述泵活塞头311因偏位与所述机械爪130产生脱离的风险,提高捕捉的稳定性,而且能够优化所述泵活塞头311与所述泵头捕捉器的结构,提高整机结构和性能的协调性。It should be noted that, as shown in FIG. 3 , if the overlapping length between the
具体地,所述机械爪130沿轴向靠近所述连接主体110的一端设置有卡接面131,所述卡接面131适于与所述弧形肋3111的底面相抵接;Specifically, one end of the
所述机械爪130的首端设置有过渡面132,所述过渡面132与所述卡接面131之间成锐角设置,所述过渡面132适于引导泵活塞头311沿轴向靠近所述连接主体110运动。The first end of the
需要说明的是,请参见图1所示,所述首端指的是所述机械爪130沿径向靠近泵活塞头311的一端,所述尾端指的是所述机械爪130沿径向远离泵活塞头311的一端;请参见图2所示,所述机械爪130沿轴向靠近所述连接主体110的一端设置有卡接面131,所述机械爪130的首端设置有过渡面132,所述过渡面132与所述卡接面131之间成锐角设置,所述过渡面132适于引导泵活塞头311沿轴向靠近所述连接主体110运动;在所述泵头捕捉器捕捉过程中,所述过渡面132引导泵活塞头311沿轴向靠近所述连接主体110运动,直至所述卡接面131与所述弧形肋3111的底面相抵接,同时所述泵活塞头311的半球形顶部被所述平面空腔1101限位,从而完成对所述泵活塞头311的捕捉。It should be noted that, referring to FIG. 1 , the head end refers to the end of the
具体地,所述固定座120包括:Specifically, the fixing
底板121,所述底板121上开设有所述滑轨1202;a
盖板122,与所述底板121沿轴向间隔设置,所述盖板122与所述底板121固定连接以将所述机械爪130封装于所述滑轨1202内;A
侧盖123,所述侧盖123与所述盖板122和/或所述底板121固定连接,所述侧盖123适于对所述驱动弹簧140进行限位。A
请参见图1所示,本实施例中,所述盖板122连接于所述连接主体110上,所述盖板122与所述底板121沿轴向间隔设置,所述盖板122与所述底板121螺栓固定连接以将所述机械爪130封装于所述滑轨1202内;所述侧盖123与所述盖板122和/或所述底板121螺栓固定连接,所述侧盖123通过与所述驱动弹簧140相抵接以对所述驱动弹簧140进行限位。Please refer to FIG. 1, in this embodiment, the
具体地,所述机械爪130包括限位部133,所述盖板122和/或所述底板121靠近所述机械爪130的一侧开设有限位槽1203,所述限位部133滑动设置于所述限位槽1203内以对所述机械爪130进行限位。Specifically, the
需要说明的是,请参见图5所示,所述限位部133可以设置于所述机械爪130沿其自身宽度方向的两侧;所述底板121沿垂直径向方向开设有与所述限位部133对应的限位槽1203,所述限位部133沿径向滑动设置于所述限位槽1203内,从而对所述机械爪130进行限位以避免所述机械爪130脱离所述滑轨1202。作为变形,请参见图6所示,所述机械爪130包括限位部133,所述限位部133设置于所述机械爪130沿Z向上的至少其中一侧;所述盖板122和/或所述底板121沿Z向靠近所述机械爪130的一侧开设有限位槽1203,所述限位部133沿径向滑动设置于所述限位槽1203内,从而对所述机械爪130进行限位以避免所述机械爪130脱离所述滑轨1202。It should be noted that, as shown in FIG. 5 , the limiting
实施例二Embodiment two
结合图1-图15所示,本实施例所提供的血栓吸除系统,包括:As shown in Fig. 1-Fig. 15, the thrombus suction system provided in this embodiment includes:
主机架50;
所述主机架50上沿Z向设置有导管泵运动单元40,所述导管泵运动单元40通过如上述所述的泵头捕捉器与泵活塞头311相连接,所述泵活塞头311设置于抽吸泵31的一端;所述抽吸泵31的另一端通过吸栓导管223与蠕动泵相连接;The
所述主机架50上沿Y向设置有导管台运动单元30,适于带动所述抽吸泵31和蠕动泵相对所述主机架50沿Y向移动。The
需要说明的是,请参见图8所示,所述主机架50上沿Z向设置有导管泵运动单元40,其中,所述导管泵运动单元40可以配置为搭配伺服电机驱动的电缸,在具体实施过程中,可以外设控制单元通过串口控制所述导管泵运动单元40的运动行程、上升速度、下降速度、停留时间等参数,在此不再赘述;所述导管泵运动单元40通过如上述所述的泵头捕捉器与泵活塞头311相连接,以带动所述抽吸泵31沿Z向上下高速往复直线运动,从而实现吸栓导管223端部喷射高速流体;所述抽吸泵31通过吸栓导管223与蠕动泵相连接;所述主机架50上沿Y向设置有导管台运动单元30,其中,所述导管台运动单元30可以配置为步进电机驱动的直线模组,所述直线模组上方固定有导管台底座,所述直线模组由步进电机驱动以带动导管台底座沿Y向前后直线运动,从而实现导管台(图中未示出)沿Y向的进出,进而带动所述抽吸泵31和蠕动泵相对所述主机架50沿Y向移动,在此不再赘述。It should be noted that, referring to FIG. 8 , the
本实施例中,所述蠕动泵包括:In this embodiment, the peristaltic pump includes:
安装架20,适于相对主机架50沿Y向往复移动;The mounting
滚柱泵机构21,转动设置于所述安装架20上,所述滚柱泵机构21与电机211传动连接;The
夹持结构22,活动设置于所述安装架20上,所述夹持结构22适于沿X向相对所述滚柱泵机构21往复移动;The clamping
斜面结构51,其沿X向一侧固定设置于所述主机架50上,另一侧与所述夹持结构22相连接;在所述安装架20相对所述主机架50沿Y向往复移动的过程中,所述斜面结构51适于驱动所述夹持结构22沿X向靠近或者远离所述滚柱泵机构21以使蠕动泵闭合或者打开。The
需要说明的是,在本实施例中,本发明所述蠕动泵安装在导管台运动单元30上,所述导管台运动单元30在设备默认状态下处于主机内部;所述导管台运动单元30沿Y向直线移动,所述导管台运动单元30可由主机内部的默认原点位置将所载蠕动泵和导管台等移动到主机外部预设位置,或者由主机外部预设位置移动回主机内部默认原点位置。当用户要安装抽吸泵31的时候,可通过主机控制所述导管台运动单元30将所载蠕动泵和导管台等沿Y向移动到主机外部预设位置,在此过程中,所述斜面结构51驱动所述夹持结构22沿X向远离所述滚柱泵机构21,直至导管台移动到预设位置;此时所述夹持结构22与所述滚柱泵机构21之间的距离达到最大,所述蠕动泵70此时处于打开状态,这时可以将抽吸泵31安装到导管台上的泵座(图中未示出)中,并将吸栓导管223放置于所述夹持结构22与所述滚柱泵机构21之间。随后通过主机控制所述导管台运动单元30返回主机内部,在此过程中,所述斜面结构51驱动所述夹持结构22沿X向靠近所述滚柱泵机构21,直至所述导管台运动单元30回到主机内部的默认原点位置;此时所述夹持结构22与所述滚柱泵机构21之间的距离达到最小,所述蠕动泵70此时处于闭合状态,这时所述吸栓导管223已被所述夹持结构22与所述滚柱泵机构21牢牢夹紧,至此,安装抽吸泵31的动作过程全部结束。It should be noted that, in this embodiment, the peristaltic pump of the present invention is installed on the catheter
需要说明的是,改进前的蠕动泵系统不仅需要一个电机控制滚柱泵组件的转动以实现废液回流控制,还需要另一单独的电机以及传动件控制蠕动泵的开合来实现废液管的自动夹持功能,传动结构复杂,损坏风险较高成本也较高。本发明所提供的蠕动泵,通过设置安装架20,从而带动滚柱泵机构21和夹持结构22相对主机架50沿Y向往复移动;通过设置夹持结构22沿X向相对所述滚柱泵机构21往复移动,从而实现蠕动泵的开合;通过设置斜面结构51,使得所述斜面结构51沿X向一侧固定设置于所述主机架50上,另一侧与所述夹持结构22相连接,在所述安装架20相对所述主机架50沿Y向往复移动的过程中,通过所述斜面结构51驱动所述夹持结构22沿X向靠近或者远离所述滚柱泵机构21以使蠕动泵闭合或者打开,无需额外配一台专门的电机以及配套驱动电路来控制蠕动泵的开合,不仅降低了损坏风险,而且节约了较大成本。It should be noted that the pre-improvement peristaltic pump system not only requires a motor to control the rotation of the roller pump assembly to achieve waste liquid backflow control, but also requires another separate motor and transmission to control the opening and closing of the peristaltic pump to realize waste liquid flow control. The automatic clamping function, the transmission structure is complex, the risk of damage is high and the cost is high. The peristaltic pump provided by the present invention drives the
具体地,所述安装架20沿X向固定设置有弹性导柱机构23,所述夹持结构22包括滑动部221,所述滑动部221沿X向滑动设置于所述弹性导柱机构23上;Specifically, the
所述斜面结构51包括斜坡驱动导轨511,所述斜坡驱动导轨511与所述滑动部221在X向始终处于连接状态;在所述安装架20沿Y向移动时,所述斜坡驱动导轨511适于驱动所述滑动部221沿X向靠近或者远离所述滚柱泵机构21。The
需要说明的是,请参见图13和图15所示,所述弹性导柱机构23沿X向固定设置于所述安装架20上;所述夹持结构22包括滑动部221,所述滑动部221适于沿X向相对所述弹性导柱机构23往复滑动,从而实现蠕动泵的运动定向;所述斜坡驱动导轨511与所述滑动部221在X向始终处于连接状态;在所述安装架20沿Y向移动时,所述斜坡驱动导轨511适于驱动所述滑动部221沿所述弹性导柱机构23靠近或者远离所述滚柱泵机构21,从而提高控制蠕动泵开合的稳定性。It should be noted that, please refer to FIG. 13 and FIG. 15 , the elastic
具体地,所述斜坡驱动导轨511包括沿Y向设置的斜坡远止端5111和斜坡近止端5112,所述斜坡远止端5111与所述滚柱泵机构21沿X向之间的距离大于所述斜坡近止端5112与所述滚柱泵机构21沿X向之间的距离;当所述滑动部221运动至所述斜坡远止端5111时,蠕动泵切换至打开状态;当所述滑动部221运动至所述斜坡近止端5112时,蠕动泵切换至闭合状态。Specifically, the slope driving
可选的,所述斜坡驱动导轨511还包括斜坡过渡段5113,所述斜坡过渡段5113设置于所述斜坡远止端5111与所述斜坡近止端5112之间,所述斜坡过渡段5113适于将所述斜坡远止端5111与所述斜坡近止端5112平滑连接过渡,从而使得所述滑动部221能够在所述斜坡远止端5111与所述斜坡近止端5112之间平滑切换,增强蠕动泵在打开状态与闭合状态之间切换的平稳性。Optionally, the slope driving
需要说明的是,请参见图10和图12所示,本实施例中,所述斜坡驱动导轨511包括沿Y向设置的斜坡远止端5111和斜坡近止端5112,所述斜坡远止端5111与所述斜坡近止端5112通过斜坡过渡段5113平滑连接过渡,所述斜坡远止端5111与所述滚柱泵机构21沿X向之间的距离大于所述斜坡近止端5112与所述滚柱泵机构21沿X向之间的距离;在所述安装架20相对所述主机架50沿Y向往复移动的过程中,当所述滑动部221在所述安装架20的带动下运动至所述斜坡远止端5111时,所述夹持结构22与所述滚柱泵机构21之间的距离达到最大,蠕动泵切换至打开状态;当所述滑动部221在所述安装架20的带动下运动至所述斜坡近止端5112时,所述夹持结构22与所述滚柱泵机构21之间的距离达到最小,蠕动泵切换至闭合状态,从而无需额外配一台专门的电机以及配套驱动电路来控制蠕动泵的开合,降低了损坏风险。It should be noted that, please refer to FIG. 10 and FIG. 12 , in this embodiment, the slope driving
具体地,所述滑动部221与所述斜坡驱动导轨511之间设置有滚轮机构512,所述滚轮机构512适于将所述斜坡驱动导轨511与所述滑动部221滚动连接。Specifically, a
请参见图10和图12所示,本实施例中,所述滑动部221与所述斜坡驱动导轨511之间设置有滚轮机构512,所述滚轮机构512的内圈(图中未示出)转动设置于固定轴513上,所述固定轴513固定设置于所述滑动部221上,所述滚轮机构512的外圈滚动设置于所述斜坡驱动导轨511的开槽(图中未示出)内,从而将所述斜坡驱动导轨511与所述滑动部221滚动连接,减小了所述斜坡驱动导轨511与所述滑动部221之间的摩擦,降低了所述斜坡驱动导轨511与所述滑动部221之间的噪音,增强了所述滑动部221与所述斜坡驱动导轨511之间运动的可靠性,有利于延长所述蠕动泵的使用寿命。Please refer to Fig. 10 and Fig. 12, in this embodiment, a
具体地,所述弹性导柱机构23包括沿X向设置的第一轴杆231,所述滑动部221上开设有与所述第一轴杆231相配合的第一轴孔2211,所述第一轴孔2211与所述第一轴杆231之间设置有弹簧233,所述弹簧233适于将所述安装架20与所述夹持结构22弹性连接;Specifically, the elastic
所述弹性导柱机构23还包括沿X向设置的第二轴杆232,所述滑动部221上开设有与所述第二轴杆232相配合的第二轴孔2212,所述第二轴孔2212与所述第二轴杆232之间设置有滑动轴承234,所述滑动轴承234适于支承所述滑动部221沿所述第二轴杆232滑动。The elastic
可选的,所述第二轴杆232的数量为两组,两组所述第二轴杆232对称设置于所述第一轴杆231的Y向两侧,不仅能够对所述滑动部221提供稳定支撑,而且有利于提高所述滑动部221相对所述安装架20的定向运动精度。Optionally, the number of the
需要说明的是,请参见图13和图15所示,所述第一轴杆231沿X向固定设置于所述安装架20上,所述滑动部221上开设有第一轴孔2211,所述第一轴孔2211适于与所述第一轴杆231沿X向滑动配合;所述弹簧233同轴设置于所述第一轴杆231上,所述弹簧233通过将所述安装架20与所述夹持结构22弹性连接,同时所述斜坡驱动导轨511通过所述斜坡过渡段5113平滑过渡,从而缓冲所述滑动部221与所述安装架20之间的运动冲击,增强所述蠕动泵开合的平稳性;所述第二轴杆232沿X向固定设置于所述安装架20上,所述滑动部221上开设有第二轴孔2212,所述第二轴孔2212与所述第二轴杆232之间通过滑动轴承234相配合,所述滑动轴承234通过支承所述滑动部221沿所述第二轴杆232滑动,不仅能够提高所述滑动部221与所述安装架20之间的定向运动精度,而且能够减少蠕动泵的运行噪音,进而提高整个蠕动泵开合控制的平稳性和精确性。It should be noted that, please refer to FIG. 13 and FIG. 15 , the
具体地,所述弹簧233的弹性恢复力为W,当所述滑动部221运动至所述斜坡近止端5112时,W满足10N≤W≤12N;当所述滑动部221运动至所述斜坡远止端5111时,W满足0.5N≤W≤1.5N。Specifically, the elastic restoring force of the
需要说明的是,请参见图13和图15所示,所述弹簧233的弹性恢复力为W,所述弹簧233在所述第一轴孔2211与所述第一轴杆231配合的过程中预压缩于所述第一轴杆231上。当所述滑动部221运动至所述斜坡远止端5111时,蠕动泵处于打开状态,此时W不能过小,否则难以有效缓冲所述滑动部221在所述斜坡远止端5111时对所述安装架20的运动冲击,因此W需满足W≥0.5N;此时W也不能过大,否则容易导致所述弹簧233需要的预压缩力过大,对整机结构的力学性能要求较高,因此W需满足W≤1.5N。当所述滑动部221运动至所述斜坡近止端5112时,蠕动泵处于闭合状态,此时W不能过小,否则难以有效保证所述夹持结构22与所述滚柱泵机构21之间的定位精度,因此W需满足W≥10N;此时W也不能过大,否则容易对所述安装架20和/或斜面结构51造成推离过度,对整机结构的力学性能要求较高,因此W需满足W≤12N。It should be noted that, referring to FIG. 13 and FIG. 15 , the elastic restoring force of the
本实施例中,当所述滑动部221运动至所述斜坡近止端5112时,所述弹簧233的预压缩力W满足10N≤W≤12N;当所述滑动部221运动至所述斜坡远止端5111时,所述弹簧233的预压缩力W满足0.5N≤W≤1.5N,在保证整机结构的力学性能的同时,不仅能够有效缓冲所述滑动部221对所述安装架20的运动冲击,而且能够有效保证所述夹持结构22与所述滚柱泵机构21之间的定位精度。In this embodiment, when the sliding
可选的,当所述滑动部221运动至所述斜坡近止端5112时,W可取值为W=11N;当所述滑动部221运动至所述斜坡远止端5111时,W可取值为W=1N。Optionally, when the sliding
具体地,所述安装架20上设置有定位结构24,所述定位结构24适于将所述滚柱泵机构21固定于所述安装架20上;Specifically, the mounting
所述夹持结构22还包括夹持部222,所述夹持部222与所述滑动部221固定连接;所述夹持部222适于在所述滑动部221的带动下沿X向与所述定位结构24之间形成夹持间隙,所述夹持间隙适于固定吸栓导管223,以使得所述滚柱泵机构21能够间歇性夹压所述吸栓导管223。The clamping
具体地,所述滚柱泵机构21包括固定盘212,所述固定盘212上环周设置有若干节流滚柱213;Specifically, the
所述节流滚柱213转动设置于所述固定盘212上;所述固定盘212在所述电机211的驱动下带动若干所述节流滚柱213转动,以使得任意一个所述节流滚柱213对所述吸栓导管223夹压节流。The
需要说明的是,请参见图13和图14所示,本实施例中,所述滚柱泵机构21包括:固定盘212,所述固定盘212在所述电机211的驱动下转动;所述固定盘212上环周均匀设置有三个节流滚柱213,三个所述节流滚柱213均转动设置于所述固定盘212上;所述固定盘212在所述电机211的驱动下带动三个所述节流滚柱213转动,以使得任意一个所述节流滚柱213对所述吸栓导管223夹压节流,从而控制所述吸栓导管223的体积流量;在具体实施过程中,可以外设控制单元通过脉冲控制所述电机211以控制所述滚柱泵机构21的转动方向和转速。It should be noted that, please refer to Fig. 13 and Fig. 14, in this embodiment, the
实施例三Embodiment three
本实施例所提供的血栓吸除系统的使用方法,包括如下步骤:The method for using the thrombus suction system provided in this embodiment includes the following steps:
S1、控制导管台运动单元30带动抽吸泵31和蠕动泵沿Y向远离导管泵运动单元40,使得蠕动泵切换至打开状态;S1. Control the catheter
S2、将抽吸泵31安装固定于导管台运动单元30上,并将吸栓导管223置于夹持间隙内,控制所述导管台运动单元30带动所述抽吸泵31和所述蠕动泵沿Y向靠近所述导管泵运动单元40,并使得蠕动泵在斜面结构51作用下切换至闭合状态;S2. Install and fix the
S3、控制导管泵运动单元40带动泵头捕捉器沿Z向靠近并捕捉泵活塞头311;S3. Control the catheter
S4、控制导管泵运动单元40带动抽吸泵31沿Z向高速往复直线运动;控制滚柱泵机构21对吸栓导管223进行节流。S4. Control the catheter
显然,上述实施例仅仅是为清楚地说明所作的举例,而并非对实施方式的限定。对于所属领域的普通技术人员来说,在上述说明的基础上还可以做出其它不同形式的变化或变动。这里无需也无法对所有的实施方式予以穷举。而由此所引伸出的显而易见的变化或变动仍处于本发明创造的保护范围之中。Apparently, the above-mentioned embodiments are only examples for clear description, rather than limiting the implementation. For those of ordinary skill in the art, other changes or changes in different forms can be made on the basis of the above description. It is not necessary and impossible to exhaustively list all the implementation manners here. And the obvious changes or changes derived therefrom are still within the scope of protection of the present invention.
| Application Number | Priority Date | Filing Date | Title |
|---|---|---|---|
| CN202310547020.XACN116269647B (en) | 2023-05-16 | 2023-05-16 | Pump head catcher, thrombus suction system and method of use thereof |
| Application Number | Priority Date | Filing Date | Title |
|---|---|---|---|
| CN202310547020.XACN116269647B (en) | 2023-05-16 | 2023-05-16 | Pump head catcher, thrombus suction system and method of use thereof |
| Publication Number | Publication Date |
|---|---|
| CN116269647Atrue CN116269647A (en) | 2023-06-23 |
| CN116269647B CN116269647B (en) | 2023-08-01 |
| Application Number | Title | Priority Date | Filing Date |
|---|---|---|---|
| CN202310547020.XAActiveCN116269647B (en) | 2023-05-16 | 2023-05-16 | Pump head catcher, thrombus suction system and method of use thereof |
| Country | Link |
|---|---|
| CN (1) | CN116269647B (en) |
| Publication number | Priority date | Publication date | Assignee | Title |
|---|---|---|---|---|
| US20070073233A1 (en)* | 2005-09-28 | 2007-03-29 | Possis Medical, Inc. | Thrombectomy catheter deployment system |
| US20100204672A1 (en)* | 2009-02-12 | 2010-08-12 | Penumra, Inc. | System and method for treating ischemic stroke |
| CN109009326A (en)* | 2018-08-27 | 2018-12-18 | 恩脉(上海)医疗科技有限公司 | One kind taking bolt device system |
| CN111759402A (en)* | 2020-08-14 | 2020-10-13 | 刘倩 | Cardiovascular embolism intervention thrombus taking device |
| CN113243969A (en)* | 2021-03-12 | 2021-08-13 | 上海宏创医疗科技有限公司 | Thrombus removing system |
| CN113545822A (en)* | 2021-07-29 | 2021-10-26 | 孙伟 | Clinical novel thrombus of vascular surgery absorbs device |
| CN113796923A (en)* | 2020-06-12 | 2021-12-17 | 苏州天鸿盛捷医疗器械有限公司 | Thrombus treatment platform |
| Publication number | Priority date | Publication date | Assignee | Title |
|---|---|---|---|---|
| US20070073233A1 (en)* | 2005-09-28 | 2007-03-29 | Possis Medical, Inc. | Thrombectomy catheter deployment system |
| US20100204672A1 (en)* | 2009-02-12 | 2010-08-12 | Penumra, Inc. | System and method for treating ischemic stroke |
| CN109009326A (en)* | 2018-08-27 | 2018-12-18 | 恩脉(上海)医疗科技有限公司 | One kind taking bolt device system |
| CN113796923A (en)* | 2020-06-12 | 2021-12-17 | 苏州天鸿盛捷医疗器械有限公司 | Thrombus treatment platform |
| CN111759402A (en)* | 2020-08-14 | 2020-10-13 | 刘倩 | Cardiovascular embolism intervention thrombus taking device |
| CN113243969A (en)* | 2021-03-12 | 2021-08-13 | 上海宏创医疗科技有限公司 | Thrombus removing system |
| CN113545822A (en)* | 2021-07-29 | 2021-10-26 | 孙伟 | Clinical novel thrombus of vascular surgery absorbs device |
| Publication number | Publication date |
|---|---|
| CN116269647B (en) | 2023-08-01 |
| Publication | Publication Date | Title |
|---|---|---|
| CN103153577B (en) | The mold closing mechanism of injection moulding machine | |
| AU2008355707A1 (en) | Metering pump and its drving device | |
| CN116269647B (en) | Pump head catcher, thrombus suction system and method of use thereof | |
| CN116292216B (en) | Peristaltic pump, thrombus aspiration system and use method of peristaltic pump | |
| WO2024198949A1 (en) | Constant-flow pump | |
| JP3898639B2 (en) | Inlet valve assembly for reciprocating compressors | |
| CN120195285A (en) | Integrated circuit acoustic scanning detection device and integrated circuit carrier thereof | |
| KR100620731B1 (en) | Metered discharge device | |
| US20240165831A1 (en) | Joint assembly, swing device, and robot | |
| WO2024230758A1 (en) | Electronic expansion valve | |
| CN106121976B (en) | Lever triangle amplifies piezoelectric stack pump | |
| CN113996471B (en) | Dispensing device for circuit board processing | |
| CN113246041B (en) | PO pipe fixing device for production line that commonality is strong | |
| CN112032367B (en) | Ball-serving check valve of rubber ball system | |
| CN213315625U (en) | High-speed centrifuge facilitating up-and-down movement of samples | |
| CN114508481B (en) | Reciprocating circulation peristaltic pump | |
| CN221957771U (en) | A plunger pump with high efficiency sealing | |
| CN219615572U (en) | Gun head unloading device for pipetting | |
| CN119560402B (en) | Thin film sheet separation device | |
| CN222992180U (en) | Check valves, check devices and electrical equipment | |
| CN219529229U (en) | Novel rotary plunger pump | |
| CN220792098U (en) | Electronic expansion valve, thermal management system with electronic expansion valve and vehicle | |
| CN120170460B (en) | Automatic screw locking machine for switch socket | |
| CN221640125U (en) | Assembling device for assembling adjusting screw | |
| CN221762331U (en) | A piston structure for a hydraulic cylinder |
| Date | Code | Title | Description |
|---|---|---|---|
| PB01 | Publication | ||
| PB01 | Publication | ||
| SE01 | Entry into force of request for substantive examination | ||
| SE01 | Entry into force of request for substantive examination | ||
| GR01 | Patent grant | ||
| GR01 | Patent grant |